JP4008317B2 - Air conditioner for vehicles - Google Patents

Air conditioner for vehicles Download PDF

Info

Publication number
JP4008317B2
JP4008317B2 JP2002261365A JP2002261365A JP4008317B2 JP 4008317 B2 JP4008317 B2 JP 4008317B2 JP 2002261365 A JP2002261365 A JP 2002261365A JP 2002261365 A JP2002261365 A JP 2002261365A JP 4008317 B2 JP4008317 B2 JP 4008317B2
Authority
JP
Japan
Prior art keywords
blower
intake box
air conditioner
vehicle air
hole
Prior art date
Legal status (The legal status is an assumption and is not a legal conclusion. Google has not performed a legal analysis and makes no representation as to the accuracy of the status listed.)
Expired - Fee Related
Application number
JP2002261365A
Other languages
Japanese (ja)
Other versions
JP2004098782A (en
Inventor
崇 三上
博志 赤荻
Current Assignee (The listed assignees may be inaccurate. Google has not performed a legal analysis and makes no representation or warranty as to the accuracy of the list.)
Marelli Corp
Original Assignee
Calsonic Kansei Corp
Priority date (The priority date is an assumption and is not a legal conclusion. Google has not performed a legal analysis and makes no representation as to the accuracy of the date listed.)
Filing date
Publication date
Application filed by Calsonic Kansei Corp filed Critical Calsonic Kansei Corp
Priority to JP2002261365A priority Critical patent/JP4008317B2/en
Publication of JP2004098782A publication Critical patent/JP2004098782A/en
Application granted granted Critical
Publication of JP4008317B2 publication Critical patent/JP4008317B2/en
Anticipated expiration legal-status Critical
Expired - Fee Related legal-status Critical Current

Links

Images

Classifications

    • BPERFORMING OPERATIONS; TRANSPORTING
    • B60VEHICLES IN GENERAL
    • B60HARRANGEMENTS OF HEATING, COOLING, VENTILATING OR OTHER AIR-TREATING DEVICES SPECIALLY ADAPTED FOR PASSENGER OR GOODS SPACES OF VEHICLES
    • B60H1/00Heating, cooling or ventilating [HVAC] devices
    • B60H1/32Cooling devices
    • B60H1/3233Cooling devices characterised by condensed liquid drainage means
    • BPERFORMING OPERATIONS; TRANSPORTING
    • B60VEHICLES IN GENERAL
    • B60HARRANGEMENTS OF HEATING, COOLING, VENTILATING OR OTHER AIR-TREATING DEVICES SPECIALLY ADAPTED FOR PASSENGER OR GOODS SPACES OF VEHICLES
    • B60H1/00Heating, cooling or ventilating [HVAC] devices
    • B60H1/00007Combined heating, ventilating, or cooling devices
    • B60H1/00021Air flow details of HVAC devices
    • B60H2001/00078Assembling, manufacturing or layout details
    • B60H2001/00085Assembling, manufacturing or layout details of air intake

Landscapes

  • Physics & Mathematics (AREA)
  • Thermal Sciences (AREA)
  • Engineering & Computer Science (AREA)
  • Mechanical Engineering (AREA)
  • Air-Conditioning For Vehicles (AREA)

Description

【0001】
【発明の属する技術分野】
本発明は車両用空調装置に関する。
【0002】
【従来の技術】
従来の車両用空調装置は、内外気を選択的導入するインテークボックスと、このインテークボックスから導入された空気を下流に送風するブロアと、ブロアからの空気を除湿・温調して吹き出す温調ユニットと、を備えて構成されている(例えば特許文献1参照)。なお、温調ユニットは冷房ユニットと暖房ユニットと備え、これら冷房ユニットおよび暖房ユニットは一体または別体で形成される。また、インテークボックスおよびブロアおよび温調ユニットはそれぞれ一体または別体で形成される。
【0003】
【特許文献1】
特開2002−79824号公報(図1)
【0004】
【発明が解決しようとする課題】
この種の車両用空調装置にあっては、インテークボックスに侵入する雨水への配慮が十分でなく、インテークボックスに雨水が貯留しこの貯留水によるカビ発生などの問題が懸念される。
【0005】
これを解決する方策として、インテークボックスにドレインパイプを設ける構造も考えられる。しかし、一般に冷房ユニット(温調ユニット)には、冷却用熱交換器で除湿凝縮される凝縮水を排出するため、冷却用熱交換器の下方にドレインパイプが設けられている。そのため、インテークボックスにドレインパイプを設けた構造では、空調装置として2つのドレインパイプを備える構造となり、装置が複雑化するばかりか、組立作業も煩雑化してしまう。
【0006】
本発明はこのような前記従来技術を背景に為されたものであって、その目的は、インテークボックスにドレインパイプを設けることなくインテークボックス内に雨水が貯留することを防止する車両用空調装置の提供である。
【0007】
【課題を解決するための手段】
請求項1記載の発明にあっては、内外気を選択的導入するインテークボックスと、該インテークボックスから導入された空気を下流に送風するブロアと、を有して該ブロアからの空気を除湿温調して吹き出す車両用空調装置において、前記インテークボックスの底壁部に貯留する流体をブロア内に誘導する誘導通路を、ブロアのスクロール室の吸込口側に設けたことを特徴とするものである。
【0008】
請求項2記載の発明にあっては、請求項1記載の車両用空調装置において、前記インテークボックスと前記ブロアとを区画する区画壁に透孔を設け、該透孔に、一端がインテークボックスの貯留部に配されたチューブを接続することで、前記誘導通路を形成したことを特徴とするものである。
【0009】
請求項3記載の発明にあっては、請求項1記載の車両用空調装置において、前記インテークボックスと前記ブロアとを略水平方向に連設し、前記インテークボックスとブロアとを区画する区画壁の下端部に透孔を設け、前記インテークボックスの底壁部を前記透孔に向けて下り傾斜させて構成して前記透孔がインテークボックスの貯留部に臨むように配置することで、前記誘導通路を形成したことを特徴とするものである。
【0010】
【発明の効果】
請求項1記載の発明によれば、インテークボックスの底壁部に貯留する貯留水が、インテークボックスとブロアとの差圧により、誘導通路を通じてブロアに導かれる。ブロアに導かれた水は、ファンによって下流の温調ユニットにミスト状となって送風され、温調ユニット内で冷却用熱交換器に捕獲され、凝縮水として冷却用熱交換器の下方のドレインパイプから排出される。
【0011】
このように請求項1記載の発明によれば、誘導通路を設けることで、インテークボックスのドレインパイプ構造を設けることなくインテークボックスに侵入した雨水を排水できる。
【0012】
請求項2記載の発明によれば、透孔と透孔に接続されるチューブとにより誘導通路が構成されるため、比較的簡易な構成で請求項1記載の発明を具現化できる。
【0013】
請求項3記載の発明によれば、誘導通路は透孔よりなるため、さらに簡易な構成で請求項1記載の発明を具現化できる。
【0014】
【発明の実施の形態】
以下、本発明の車両用空調装置にかかる好適な実施形態を図面に基づいて説明する。
【0015】
第1実施形態:図1〜図4は第1実施形態の車両用空調装置を示すもので、図1はこの第1実施形態の車両用空調装置を示す一部破断部を含む前面図、図2は同車両用空調装置の側断面図、図3は図1、2の車両用空調装置のブロア近傍を示す側面図、図4は同車両用空調装置のブロアの透孔の近傍を示す図であって、分図aは断面図、分図bは側面図である。
【0016】
この実施形態の車両用空調装置は、インテークボックス12と、ブロアおよびクーラおよびヒータを一体化したブロア一体型温調ユニット1と、を備えて構成されている。
【0017】
インテークボックスの基本構造
インテークボックス12は、内気導入口13と外気導入口14とを備えるケース16と、該ケース16内に軸支され且つこれら内気導入口13及び外気導入口14を選択的に開閉するドア15と、を備えて構成されて、ブロア3に吸入する内外気の吸入割合を調節するものである。このインテークボックス12は、その筒状の取付部31が、ブロア3の吸込口9aの外周側に突設された筒状の取付部32に、嵌合されている。
【0018】
ブロア一体型温調ユニットの基本構造
ブロア一体型温調ユニット1は、ユニットケース2内に、ブロア3と、エアフィルタ4と、冷却用熱交換器としてのエバポレータ5と、エアミックスドア6と、加熱用熱交換器としてのヒータコア7と、吹出モード切換ドア20、21、22と、を備えて構成される。
【0019】
ブロア3は、ユニットケース2内の送風経路の上流端部に形成され、渦巻軸の軸線方向に吸込口9aを備えるスクロール室9と、このスクロール室9に収容されたファン10と、該ファン10を駆動する図示せぬ電動モータMと、から構成され、インテークボックス12から導入した空気を下流に送風するものである。この実施形態では、ブロア3は、ブロア3の吸込口9aが水平方向に向いており、インテークボックス12と略水平方向に連設された状態で接続されている。
【0020】
エアフィルタ4は、エバポレータ5の上流側に配設され、エバポレータ5の図示せぬフィンおよびヒータコア7の図示せぬフィンに異物が堆積して冷房能力,暖房能力が落ちてしまうことを防止するとともに、車室内に塵,埃が吹き出されないようにしている。
【0021】
冷却用熱交換器としてのエバポレータ5は、図示せぬ冷凍サイクルに介装され、内部に低温低圧状態の冷媒を循環させて該冷媒に熱を吸熱させるものである。一方、加熱用熱交換器としてのヒータコア7は、図示せぬ温水ラインに介装され、エンジンの排熱によって高温になったエンジン冷却水を熱源として発熱するものである。ここで、エバポレータ5は除湿性能も備えており、インテークボックス12から導入された内外気を除湿している。このため、エバポレータ5の下方には、エバポレータ5で凝縮された凝縮水を排水するための排水構造が設けられている。具体的には、エバポレータ5の下方には、エバポレータ5の凝縮水を集水する集水部23とこの集水部23下端からユニットケース2外に凝縮水を排出する図示せぬドレインパイプとを備えている。
【0022】
エアミックスドア6は、エバポレータ5の下流側且つヒータコア7の上流側に配設され、エバポレータ5によって冷却除湿された空気をヒータコア7に流す温風通路P1とヒータコア7をバイパスするバイパス通路P2とに流れる風量を調節して、温風通路P1とバイパス通路P2との合流部に設けられたエアミックスチャンバP3で所定の吹き出し温度になるようにするものである。なお、この実施形態のエアミックスドア6は、スライド式であり、ドアケースと、ドア本体と、ドア本体をスライド移動させるスライド機構と、駆動手段と、を備えて構成されている。
【0023】
エアミックスチャンバP3の下流側には、該エアミックスチャンバP3から分岐されたデフロスタ吹出通路17およびベント吹出通路18およびフット吹出通路19が設けられている。上記デフロスタ吹出通路17の下流端部には、車両前面窓ガラスに空調風を吹き出すため図示せぬデフロスタダクトが接続され、ベント吹出通路18の下流端部には、乗員胸部に向けて空調風を吹き出すための図示せぬセンタベントダクトおよび車両側面窓ガラスに向けて空調風を吹き出すための図示せぬサイドベントダクトが接続され、フット吹出通路19の下流端部には、乗員足下に向けて空調風を吹き出すための図示せぬフロントフットダクトおよび図示せぬリアフットダクトが接続されている。
【0024】
各吹出通路17、18、19の流入端部には、モード切換ドアとしてのデフロスタドア20およびベントドア21およびフットドア22が設けられている。デフロスタドア20はデフロスタ吹出通路17を開閉し、ベントドア21はベント吹出通路18を開閉し、フットドア22はフット吹出通路19を開閉するものであり、これら各モード切換ドア20、21、22は吹き出しモードの設定または室内温度の設定などにより制御手段を介して開閉制御される。
【0025】
インテークボックスの雨水排水構造
さて、この実施形態では、インテークボックス12にドレインパイプを形成することなく、インテークボックス12に貯留してしまう雨水を排水できる構造を備えている。以下、詳しく説明する。
【0026】
図1、4に示すように、インテークボックス12の底壁部33は、ブロア3に向けて下り傾斜している。つまり、ブロア3の筒状取付部32の下端部が、インテークボックス12に侵入した雨水の貯留部34となる。ブロア3のケーシング部には、この貯留部34に臨むように「誘導通路」としての透孔35が形成されていて、ファン10を駆動するとスクロール室9内とインテークボックス12内との圧力差により、インテークボックス12の貯留部34に貯留する雨水が透孔35からスクロール室9内に吸い込まれる。スクロール室9に導かれた雨水は、ファン10によって下流にミスト状となって送風される。そして、ミスト状の雨水は下流のエバポレータ5に捕獲されて凝縮水としてエバポレータ5の下方の集水部23を介して図示せぬドレインパイプから排出される。
【0027】
このように、この実施形態の車両用空調装置によれば、透孔35(誘導通路)を設けることで、インテークボックス12のドレインパイプを設けることなく、インテークボックス12に侵入した雨水を排水できる。結果、この実施形態の車両用空調装置は、インテークボックス12に排水構造を備えつつも2つのドレインパイプを設ける構造ではないため、インテークボックス12と温調ユニット1との組立作業性が向上し、また、車体への取付作業性が向上する。
【0028】
また、この実施形態では、以下のような工夫も為されている。具体的には、ブロア3のスクロール室9の直下に送風通路が存在していることを利用して、図3に示すように、ブロア3のスクロール室9の下端に、送風通路に連通するドレイン孔36を設けてある。このように、ブロア3のスクロール室9の下端に送風通路と連通するドレイン孔36を設けてあるため、仮に、スクロール室9内に導かれた雨水をミスト状にして送風通路に送り出すことができないとき(例えばブロア3が弱送運転のとき)であっても、上記ドレイン孔36によって送風通路に雨水を落とすことができる。そのため、この実施形態の車両用空調装置によれば、上記効果に加えて、弱風運転時にブロア3内に雨水が溜まってしまうようなことを回避できる。
【0029】
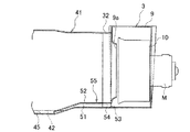
第2実施形態:図5〜図7は第2実施形態の車両用空調装置を示すものである。図5はインテークボックス近傍を示す前面図、図6はインテークボックス取付部近傍を示す側面図、図7はブロアの吸込口近傍を示す図であって分図aは縦断面図、分図bは側面図である。なお、第1実施形態と同様の構成については同一符号を付して説明を省略する。
【0030】
この第2実施形態の車両用空調装置は、インテークボックス41の雨水貯留部42が透孔43と離間し且つ透孔43より低い位置に存在する点が第1実施形態の構成と異なっている。
【0031】
インテークボックス41は、その筒状取付部44が先端側(ブロア側)に向けて先窄まり形状となっており、その底壁部45はブロア3側に向けて上がり傾斜している。そのため、インテークボックス41の雨水貯留部42は、ブロア3から離間している。
【0032】
ブロア3に設けられたインテークボックス41に臨む透孔43は、その周縁からインテークボックス41内に向けてチューブ取付用のボス47が突設されている。このボス47にはチューブ48が取付られており、チューブ48の一端は、インテークボックス41の貯留部42に配置されている。
【0033】
このような第2実施形態の車両用空調装置によれば、インテークボックス31とブロア3との差圧により、透孔43およびボス47およびチューブ48よりなる誘導通路49を通じて、インテークボックス41内に貯留する雨水をブロア3内に吸い込むことができる。これにより第1実施形態と同様の効果を得ることができる。また、このような第2実施形態の車両用空調装置によれば、第1実施形態に比べ、チューブ48を利用するため部品点数が増加するものの、チューブ48を比較的自由に配索することができるため、インテークボックス41およびブロア3の設計自由度が高まる。
【0034】
第3実施形態:図8〜図10は第3実施形態の車両用空調装置を示すものである。図8はインテークボックス近傍を示す前面図、図9はインテークボックス取付部近傍を示す側面図、図10はブロアの吸込口近傍を示す図であって分図aは縦断面図、分図bは側面図である。なお、第2実施形態と同様の構成については同一符号を付して説明を省略する。
【0035】
この第3実施形態の車両用空調装置は、前記チューブ48の代わりに、断面コ字状の樹脂製の蓋体52を利用した点で第2実施形態と相違している。
【0036】
この蓋体52は、インテークボックス41の底壁部45に取り付けられてこの底壁部45との間に通路51を形成する。この通路51は、一端が貯留部42に臨んで配置され、他端がブロア3の透孔53周縁からインテークボックス51内に向けて突設される取付部54に連結されている。これにより透孔53および取付部54および通路51によって、インテークボックス41の貯留部42に溜まる雨水をブロア3に誘導する誘導通路55が形成される。
【0037】
このような第3実施形態の車両用空調装置によれば、第1、2実施形態と同様の効果を得られる。
【0038】
以上のように、本発明によれば、インテークボックスの底壁部に貯留する流体をブロアに誘導する誘導通路を設けたため、インテークボックスの底壁部に貯留する雨水は、まずインテークボックスとブロアとの差圧によりブロアに導かれ、さらにブロアによって送風された後、冷却用熱交換器に捕獲されて凝縮水として冷却用熱交換器の下方のドレインパイプから排出される。そのため、インテークボックスにドレインパイプを設ける必要がない。結果、インテークボックスの排水構造を備えつつも、インテークボックスと空調ユニットとの取付作業性が向上し、また、車体への取付作業性が向上する。
【図面の簡単な説明】
【図1】第1実施形態の車両用空調装置を示す一部破断部を含む前面図。
【図2】同車両用空調装置の側断面図。
【図3】同車両用空調装置のブロアの取付部近傍を示す側面図。
【図4】同車両用空調装置のブロアの透孔の近傍を示す図であって、分図aは断面図、分図bは側面図。
【図5】第2実施形態の車両用空調装置の要を示す前面図。
【図6】同車両用空調装置の側面図。
【図7】同車両用空調装置のブロアの透孔の近傍を示す図であって、分図aは断面図、分図bは側面図。
【図8】第3実施形態の車両用空調装置の要を示す前面図。
【図9】同車両用空調装置の側面図。
【図10】同車両用空調装置のブロアの透孔の近傍を示す図であって、分図aは断面図、分図bは側面図。
【符号の説明】
3 ブロア
12 インテークボックス
33 底壁部
34 貯留部
35 透孔(誘導通路)
41 インテークボックス
43 透孔
45 底壁部
48 チューブ
49 誘導通路
55 誘導通路
[0001]
BACKGROUND OF THE INVENTION
The present invention relates to a vehicle air conditioner.
[0002]
[Prior art]
A conventional vehicle air conditioner includes an intake box that selectively introduces inside and outside air, a blower that blows air introduced from the intake box downstream, and a temperature control unit that dehumidifies and regulates the air from the blower. (See, for example, Patent Document 1). The temperature control unit includes a cooling unit and a heating unit, and the cooling unit and the heating unit are formed integrally or separately. Further, the intake box, the blower, and the temperature control unit are formed integrally or separately.
[0003]
[Patent Document 1]
JP 2002-79824 A (FIG. 1)
[0004]
[Problems to be solved by the invention]
In this type of vehicle air conditioner, consideration for rainwater entering the intake box is not sufficient, and there is a concern that rainwater may be stored in the intake box and mold may be generated by the stored water.
[0005]
As a measure to solve this, a structure in which a drain pipe is provided in the intake box is also conceivable. However, generally, the cooling unit (temperature control unit) is provided with a drain pipe below the cooling heat exchanger in order to discharge condensed water dehumidified and condensed by the cooling heat exchanger. Therefore, in the structure in which the drain pipe is provided in the intake box, the structure is provided with two drain pipes as an air conditioner, which not only complicates the apparatus but also complicates the assembly work.
[0006]
The present invention has been made against the background of the above-described prior art, and an object of the present invention is to provide a vehicle air conditioner that prevents rainwater from being stored in the intake box without providing a drain pipe in the intake box. Is an offer.
[0007]
[Means for Solving the Problems]
In the first aspect of the invention, the intake box for selectively introducing the inside and outside air, and a blower for blowing the air introduced from the intake box downstream, the air from the blower is dehumidified. In the vehicle air conditioner that regulates and blows out, a guide passage for guiding the fluid stored in the bottom wall portion of the intake box into the blower is provided on the suction port side of the scroll chamber of the blower. .
[0008]
According to a second aspect of the present invention, in the vehicle air conditioner according to the first aspect, a through hole is provided in a partition wall that divides the intake box and the blower, and one end of the intake box has an intake box. The guide passage is formed by connecting a tube disposed in the storage section.
[0009]
According to a third aspect of the present invention, in the vehicle air conditioner according to the first aspect, the intake box and the blower are connected in a substantially horizontal direction, and a partition wall that partitions the intake box and the blower is provided. By providing a through hole in a lower end portion, a bottom wall portion of the intake box is inclined downward toward the through hole, and arranged so that the through hole faces a storage portion of the intake box, the guide passage Is formed.
[0010]
【The invention's effect】
According to the first aspect of the present invention, the stored water stored in the bottom wall portion of the intake box is guided to the blower through the guide passage by the differential pressure between the intake box and the blower. The water guided to the blower is blown in the form of a mist to the downstream temperature control unit by the fan, captured in the heat exchanger for cooling in the temperature control unit, and drained below the heat exchanger for cooling as condensed water. Discharged from the pipe.
[0011]
As described above, according to the first aspect of the present invention, by providing the guide passage, it is possible to drain rainwater that has entered the intake box without providing the drain pipe structure of the intake box.
[0012]
According to the second aspect of the present invention, since the guide passage is constituted by the through hole and the tube connected to the through hole, the invention of the first aspect can be embodied with a relatively simple structure.
[0013]
According to the invention described in claim 3, since the guide passage is formed of a through hole, the invention described in claim 1 can be embodied with a simpler configuration.
[0014]
DETAILED DESCRIPTION OF THE INVENTION
DESCRIPTION OF EXEMPLARY EMBODIMENTS Hereinafter, preferred embodiments of a vehicle air conditioner according to the invention will be described with reference to the drawings.
[0015]
1 to 4 show a vehicle air conditioner according to a first embodiment. FIG. 1 is a front view including a partially broken portion showing the vehicle air conditioner according to the first embodiment. 2 is a side sectional view of the vehicle air conditioner, FIG. 3 is a side view showing the vicinity of the blower of the vehicle air conditioner shown in FIGS. 1 and 2, and FIG. 4 is a view showing the vicinity of the through hole of the blower of the vehicle air conditioner. The fractional diagram a is a sectional view, and the fractional diagram b is a side view.
[0016]
The vehicle air conditioner according to this embodiment includes an intake box 12 and a blower integrated temperature control unit 1 in which a blower, a cooler, and a heater are integrated.
[0017]
Basic structure of the intake box The intake box 12 includes a case 16 having an inside air inlet 13 and an outside air inlet 14, and is pivotally supported in the case 16 and selectively opens and closes the inside air inlet 13 and the outside air inlet 14. And a door 15 for adjusting the intake ratio of the inside and outside air sucked into the blower 3. The intake box 12 has a cylindrical mounting portion 31 fitted into a cylindrical mounting portion 32 protruding from the outer peripheral side of the suction port 9 a of the blower 3.
[0018]
Basic structure of blower integrated temperature control unit A blower integrated temperature control unit 1 includes a blower 3, an air filter 4, an evaporator 5 as a cooling heat exchanger, an air mix door 6, and a unit case 2. It comprises a heater core 7 as a heat exchanger for heating and blowing mode switching doors 20, 21, 22.
[0019]
The blower 3 is formed at the upstream end of the air flow path in the unit case 2 and includes a scroll chamber 9 having a suction port 9a in the axial direction of the spiral shaft, a fan 10 accommodated in the scroll chamber 9, and the fan 10 And an electric motor M (not shown) for driving the air, and the air introduced from the intake box 12 is blown downstream. In this embodiment, the blower 3 is connected with the suction port 9a of the blower 3 facing in the horizontal direction and being connected to the intake box 12 in a substantially horizontal direction.
[0020]
The air filter 4 is disposed on the upstream side of the evaporator 5, and prevents foreign matter from accumulating on the fins (not shown) of the evaporator 5 and the fins (not shown) of the heater core 7 to reduce the cooling capacity and the heating capacity. This prevents dust and dust from being blown into the passenger compartment.
[0021]
The evaporator 5 as a cooling heat exchanger is interposed in a refrigeration cycle (not shown), and circulates a refrigerant in a low-temperature and low-pressure state inside so that the refrigerant absorbs heat. On the other hand, the heater core 7 as a heat exchanger for heating is interposed in a hot water line (not shown) and generates heat using engine cooling water that has become high temperature due to exhaust heat of the engine as a heat source. Here, the evaporator 5 also has a dehumidifying performance, and dehumidifies the inside and outside air introduced from the intake box 12. For this reason, a drainage structure for draining the condensed water condensed by the evaporator 5 is provided below the evaporator 5. Specifically, below the evaporator 5, a water collecting part 23 for collecting the condensed water of the evaporator 5 and a drain pipe (not shown) for discharging the condensed water from the lower end of the water collecting part 23 to the outside of the unit case 2. I have.
[0022]
The air mix door 6 is disposed on the downstream side of the evaporator 5 and on the upstream side of the heater core 7. The flow rate of air is adjusted so that a predetermined blowing temperature is obtained in the air mix chamber P3 provided at the junction of the hot air passage P1 and the bypass passage P2. In addition, the air mix door 6 of this embodiment is a slide type, and is provided with a door case, a door body, a slide mechanism that slides and moves the door body, and drive means.
[0023]
On the downstream side of the air mix chamber P3, a defroster outlet passage 17, a vent outlet passage 18, and a foot outlet passage 19 branched from the air mix chamber P3 are provided. A defroster duct (not shown) is connected to the downstream end portion of the defroster outlet passage 17 in order to blow out the conditioned air to the front window glass of the vehicle. The downstream end portion of the vent outlet passage 18 receives the conditioned air toward the passenger chest. A center vent duct (not shown) for blowing out and a side vent duct (not shown) for blowing conditioned air toward the vehicle side window glass are connected, and the downstream end of the foot blowing passage 19 is air-conditioned toward the passenger's feet. A front foot duct (not shown) and a rear foot duct (not shown) for blowing wind are connected.
[0024]
A defroster door 20, a vent door 21, and a foot door 22 as mode switching doors are provided at the inflow ends of the blowout passages 17, 18, 19. The defroster door 20 opens and closes the defroster outlet passage 17, the vent door 21 opens and closes the vent outlet passage 18, and the foot door 22 opens and closes the foot outlet passage 19. These mode switching doors 20, 21, and 22 are in the blowing mode. Open / close control is performed via the control means according to the setting or the indoor temperature setting.
[0025]
The rainwater drainage structure of the intake box In this embodiment, the drainage pipe is not formed in the intake box 12, but the rainwater stored in the intake box 12 is drained. This will be described in detail below.
[0026]
As shown in FIGS. 1 and 4, the bottom wall portion 33 of the intake box 12 is inclined downward toward the blower 3. That is, the lower end portion of the cylindrical attachment portion 32 of the blower 3 serves as a rainwater storage portion 34 that has entered the intake box 12. A through-hole 35 as a “guide passage” is formed in the casing portion of the blower 3 so as to face the storage portion 34. When the fan 10 is driven, a pressure difference between the inside of the scroll chamber 9 and the intake box 12 is generated. Rainwater stored in the storage portion 34 of the intake box 12 is sucked into the scroll chamber 9 from the through hole 35. The rainwater guided to the scroll chamber 9 is blown in the form of a mist downstream by the fan 10. The mist-like rainwater is captured by the downstream evaporator 5 and is discharged as a condensed water from a drain pipe (not shown) through the water collecting portion 23 below the evaporator 5.
[0027]
Thus, according to the vehicle air conditioner of this embodiment, rainwater that has entered the intake box 12 can be drained without providing the drain pipe of the intake box 12 by providing the through hole 35 (guidance passage). As a result, since the vehicle air conditioner of this embodiment is not a structure in which the intake box 12 is provided with a drainage structure but two drain pipes, the assembly workability of the intake box 12 and the temperature control unit 1 is improved. In addition, the workability of attachment to the vehicle body is improved.
[0028]
Moreover, in this embodiment, the following devices are also made. Specifically, using the fact that a blower passage is present immediately below the scroll chamber 9 of the blower 3, as shown in FIG. 3, a drain communicating with the blower passage is provided at the lower end of the scroll chamber 9 of the blower 3. A hole 36 is provided. As described above, since the drain hole 36 communicating with the air passage is provided at the lower end of the scroll chamber 9 of the blower 3, the rainwater introduced into the scroll chamber 9 cannot be misted and sent to the air passage. Even when it is time (for example, when the blower 3 is in the weak feeding operation), rainwater can be dropped into the blower passage by the drain hole 36. Therefore, according to the vehicle air conditioner of this embodiment, in addition to the above effects, it can be avoided that rainwater accumulates in the blower 3 during low wind operation.
[0029]
2nd Embodiment: FIGS. 5-7 shows the vehicle air conditioner of 2nd Embodiment. 5 is a front view showing the vicinity of the intake box, FIG. 6 is a side view showing the vicinity of the intake box mounting portion, FIG. 7 is a view showing the vicinity of the suction port of the blower, a partial view a is a longitudinal sectional view, and a partial view b is It is a side view. In addition, about the structure similar to 1st Embodiment, the same code | symbol is attached | subjected and description is abbreviate | omitted.
[0030]
The vehicle air conditioner of the second embodiment is different from the configuration of the first embodiment in that the rainwater storage portion 42 of the intake box 41 is separated from the through hole 43 and exists at a position lower than the through hole 43.
[0031]
The intake box 41 has a cylindrical mounting portion 44 that is tapered toward the tip side (blower side), and a bottom wall portion 45 that is inclined upward toward the blower 3 side. Therefore, the rainwater storage part 42 of the intake box 41 is separated from the blower 3.
[0032]
A through hole 43 facing the intake box 41 provided in the blower 3 is provided with a tube mounting boss 47 projecting from the peripheral edge into the intake box 41. A tube 48 is attached to the boss 47, and one end of the tube 48 is disposed in the storage portion 42 of the intake box 41.
[0033]
According to the vehicle air conditioner of the second embodiment as described above, the pressure is stored in the intake box 41 through the guide passage 49 including the through hole 43, the boss 47 and the tube 48 due to the differential pressure between the intake box 31 and the blower 3. Rain water to be sucked into the blower 3. Thereby, the same effect as the first embodiment can be obtained. Further, according to the vehicle air conditioner of the second embodiment, the number of parts is increased because the tube 48 is used compared to the first embodiment, but the tube 48 can be routed relatively freely. Therefore, the design freedom of the intake box 41 and the blower 3 is increased.
[0034]
3rd Embodiment: FIGS. 8-10 shows the vehicle air conditioner of 3rd Embodiment. FIG. 8 is a front view showing the vicinity of the intake box, FIG. 9 is a side view showing the vicinity of the intake box mounting portion, FIG. 10 is a view showing the vicinity of the suction port of the blower, a partial view a is a longitudinal sectional view, and a partial view b is It is a side view. In addition, about the structure similar to 2nd Embodiment, the same code | symbol is attached | subjected and description is abbreviate | omitted.
[0035]
The vehicle air conditioner according to the third embodiment is different from the second embodiment in that a lid 52 made of a resin having a U-shaped cross section is used instead of the tube 48.
[0036]
The lid body 52 is attached to the bottom wall portion 45 of the intake box 41 and forms a passage 51 with the bottom wall portion 45. One end of the passage 51 is disposed so as to face the storage portion 42, and the other end is connected to a mounting portion 54 that protrudes from the periphery of the through hole 53 of the blower 3 toward the intake box 51. Thus, a guide passage 55 that guides rainwater accumulated in the storage portion 42 of the intake box 41 to the blower 3 is formed by the through hole 53, the attachment portion 54, and the passage 51.
[0037]
According to the vehicle air conditioner of the third embodiment, the same effects as those of the first and second embodiments can be obtained.
[0038]
As described above, according to the present invention, since the guide passage that guides the fluid stored in the bottom wall portion of the intake box to the blower is provided, the rainwater stored in the bottom wall portion of the intake box first includes the intake box and the blower. After being guided to the blower by the pressure difference of the pressure and further blown by the blower, it is captured by the cooling heat exchanger and discharged as condensed water from the drain pipe below the cooling heat exchanger. Therefore, it is not necessary to provide a drain pipe in the intake box. As a result, the mounting workability between the intake box and the air conditioning unit is improved while the drainage structure of the intake box is provided, and the mounting workability to the vehicle body is improved.
[Brief description of the drawings]
FIG. 1 is a front view including a partially broken portion showing a vehicle air conditioner according to a first embodiment.
FIG. 2 is a side sectional view of the vehicle air conditioner.
FIG. 3 is a side view showing the vicinity of a blower mounting portion of the vehicle air conditioner.
FIG. 4 is a view showing the vicinity of a through hole of a blower of the vehicle air conditioner, where a part a is a sectional view and a part b is a side view.
FIG. 5 is a front view showing an essential part of a vehicle air conditioner according to a second embodiment.
FIG. 6 is a side view of the vehicle air conditioner.
FIG. 7 is a view showing the vicinity of a through hole of a blower of the vehicle air conditioner, wherein a partial view a is a cross-sectional view and a partial view b is a side view.
FIG. 8 is a front view showing an essential part of a vehicle air conditioner according to a third embodiment.
FIG. 9 is a side view of the vehicle air conditioner.
FIG. 10 is a view showing the vicinity of a through hole of a blower of the vehicle air conditioner, where a part a is a sectional view and a part b is a side view.
[Explanation of symbols]
3 Blower 12 Intake box 33 Bottom wall 34 Reservoir 35 Through hole (guide passage)
41 Intake box 43 Through-hole 45 Bottom wall portion 48 Tube 49 Guide passage 55 Guide passage

Claims (3)

内外気を選択的導入するインテークボックス(12、41)と、該インテークボックス(12、41)から導入された空気を下流に送風するブロア(3)と、を有して該ブロア(3)からの空気を除湿温調して吹き出す車両用空調装置において、
前記インテークボックス(12、41)の底壁部(33、45)に貯留する流体をブロア(3)内に誘導する誘導通路(35、49、55)を、ブロア(3)のスクロール室(9)の吸込口(9a)側に設けたことを特徴とする車両用空調装置。
An intake box (12, 41) that selectively introduces internal and external air, and a blower (3) that blows air introduced from the intake box (12, 41) downstream from the blower (3). In the vehicle air conditioner that dehumidifies the temperature of the air and blows it out,
The guide passages (35, 49, 55) for guiding the fluid stored in the bottom walls (33, 45) of the intake box (12, 41) into the blower (3) are connected to the scroll chamber (9) of the blower (3). ) On the suction port (9a) side of the vehicle air conditioner.
請求項1記載の車両用空調装置において、
前記ブロア(3)に透孔(43)を設け、該透孔(43)に、一端がインテークボックス(41)の貯留部(34)に配されたチューブ(48)を接続することで、前記誘導通路(49)を形成したことを特徴とする車両用空調装置。
The vehicle air conditioner according to claim 1,
By providing a through hole (43) in the blower (3), and connecting a tube (48), one end of which is arranged in the storage part (34) of the intake box (41), to the through hole (43), A vehicle air conditioner characterized in that a guide passage (49) is formed.
請求項1記載の車両用空調装置において、
前記インテークボックス(12)と前記ブロア(3)とを略水平方向に連設し、
前記インテークボックス(12)の底壁部(33)をブロア(3)側に向けて下り傾斜させて構成することでインテークボックス(12)の貯留部(34)をブロア(3)に近接配置し、該ブロア(3)の前記貯留部(34)に臨む位置に透孔(35)を設けることで、前記誘導通路(35)を形成したことを特徴とする車両用空調装置。
The vehicle air conditioner according to claim 1,
The intake box (12) and the blower (3) are connected in a substantially horizontal direction,
By arranging the bottom wall portion (33) of the intake box (12) to be inclined downward toward the blower (3), the storage portion (34) of the intake box (12) is disposed close to the blower (3). The vehicle air conditioner is characterized in that the guide passage (35) is formed by providing a through hole (35) at a position facing the storage part (34) of the blower (3).
JP2002261365A 2002-09-06 2002-09-06 Air conditioner for vehicles Expired - Fee Related JP4008317B2 (en)

Priority Applications (1)

Application Number Priority Date Filing Date Title
JP2002261365A JP4008317B2 (en) 2002-09-06 2002-09-06 Air conditioner for vehicles

Applications Claiming Priority (1)

Application Number Priority Date Filing Date Title
JP2002261365A JP4008317B2 (en) 2002-09-06 2002-09-06 Air conditioner for vehicles

Publications (2)

Publication Number Publication Date
JP2004098782A JP2004098782A (en) 2004-04-02
JP4008317B2 true JP4008317B2 (en) 2007-11-14

Family

ID=32261762

Family Applications (1)

Application Number Title Priority Date Filing Date
JP2002261365A Expired - Fee Related JP4008317B2 (en) 2002-09-06 2002-09-06 Air conditioner for vehicles

Country Status (1)

Country Link
JP (1) JP4008317B2 (en)

Families Citing this family (5)

* Cited by examiner, † Cited by third party
Publication number Priority date Publication date Assignee Title
JP5000955B2 (en) * 2006-09-08 2012-08-15 カルソニックカンセイ株式会社 Drainage structure of vehicle air conditioner
JP4464422B2 (en) 2007-06-06 2010-05-19 カルソニックカンセイ株式会社 Drainage structure of vehicle air conditioner
DE102010062406B4 (en) * 2010-12-03 2023-08-10 Halla Visteon Climate Control Corporation Air conditioner for a vehicle
JP6706597B2 (en) * 2017-06-20 2020-06-10 株式会社ヴァレオジャパン Blower for vehicle
CN115626032A (en) * 2022-10-31 2023-01-20 重庆长安汽车股份有限公司 Air inlet box shell with double-drainage structure, heating ventilation air-conditioning assembly and vehicle

Also Published As

Publication number Publication date
JP2004098782A (en) 2004-04-02

Similar Documents

Publication Publication Date Title
US5673747A (en) Rear air-conditioning unit for use in vehicle
US7284388B2 (en) Air conditioner
JP2004218446A (en) Centrifugal blowing device
JP2001277837A (en) Air conditioning unit for automobile
JP4082121B2 (en) Air conditioner for vehicles
CN110520315A (en) Car air-conditioner
CN108698479B (en) Air conditioner for vehicle
EP2000338A1 (en) Water discharge structure of vehicle air-conditioning system
JP2010100140A (en) Vehicular air-conditioner
JP4008317B2 (en) Air conditioner for vehicles
JP3832307B2 (en) Air conditioner for vehicles
KR100590330B1 (en) Combined air conditioner
JP4682443B2 (en) Air conditioner for vehicles
JP2009023566A (en) Unit combinedly used for ventilation, air conditioning and exhaust heat recovery utilization, and air conditioner for vehicle
JP2014061790A (en) Air conditioner for vehicle
JP2018167628A (en) Ventilator for vehicle air conditioning
JP2000094946A (en) Air conditioner for vehicle
JP4016690B2 (en) Air conditioner for vehicles
JP2002331823A (en) Condensed water discharge device of cooler unit
KR101971946B1 (en) Air conditioner for vehicle
JP3785980B2 (en) Air conditioner for vehicles
JP2011157002A (en) Drain structure of air conditioner for vehicle
JP3934257B2 (en) Air conditioner for automobile
JP5092826B2 (en) Air conditioner
JP5527302B2 (en) Blower

Legal Events

Date Code Title Description
A621 Written request for application examination

Free format text: JAPANESE INTERMEDIATE CODE: A621

Effective date: 20041202

A131 Notification of reasons for refusal

Free format text: JAPANESE INTERMEDIATE CODE: A131

Effective date: 20070605

A521 Written amendment

Free format text: JAPANESE INTERMEDIATE CODE: A523

Effective date: 20070723

TRDD Decision of grant or rejection written
A01 Written decision to grant a patent or to grant a registration (utility model)

Free format text: JAPANESE INTERMEDIATE CODE: A01

Effective date: 20070821

A61 First payment of annual fees (during grant procedure)

Free format text: JAPANESE INTERMEDIATE CODE: A61

Effective date: 20070829

FPAY Renewal fee payment (event date is renewal date of database)

Free format text: PAYMENT UNTIL: 20100907

Year of fee payment: 3

R150 Certificate of patent or registration of utility model

Free format text: JAPANESE INTERMEDIATE CODE: R150

S531 Written request for registration of change of domicile

Free format text: JAPANESE INTERMEDIATE CODE: R313531

FPAY Renewal fee payment (event date is renewal date of database)

Free format text: PAYMENT UNTIL: 20100907

Year of fee payment: 3

R350 Written notification of registration of transfer

Free format text: JAPANESE INTERMEDIATE CODE: R350

FPAY Renewal fee payment (event date is renewal date of database)

Free format text: PAYMENT UNTIL: 20110907

Year of fee payment: 4

FPAY Renewal fee payment (event date is renewal date of database)

Free format text: PAYMENT UNTIL: 20130907

Year of fee payment: 6

R250 Receipt of annual fees

Free format text: JAPANESE INTERMEDIATE CODE: R250

LAPS Cancellation because of no payment of annual fees