JP3988538B2 - 連続鋳造鋳片の製造方法 - Google Patents
連続鋳造鋳片の製造方法 Download PDFInfo
- Publication number
- JP3988538B2 JP3988538B2 JP2002162630A JP2002162630A JP3988538B2 JP 3988538 B2 JP3988538 B2 JP 3988538B2 JP 2002162630 A JP2002162630 A JP 2002162630A JP 2002162630 A JP2002162630 A JP 2002162630A JP 3988538 B2 JP3988538 B2 JP 3988538B2
- Authority
- JP
- Japan
- Prior art keywords
- molten steel
- mold
- slab
- wire
- molten
- Prior art date
- Legal status (The legal status is an assumption and is not a legal conclusion. Google has not performed a legal analysis and makes no representation as to the accuracy of the status listed.)
- Expired - Fee Related
Links
Images
Landscapes
- Continuous Casting (AREA)
Description
【発明の属する技術分野】
本発明は、鋳片の内部と比較して表層部における特定の溶質元素の濃度が高い傾斜組成を有する連続鋳造鋳片の製造方法に関するものである。
【0002】
【従来の技術】
従来から、成分組成が表層部と内部で異なる鋳片を連続鋳造によって製造する方法が種々提案されている。たとえば特開平7-51801 号公報には、連続鋳造用の鋳型内へ溶鋼を気体と共に垂直方向に注入し、この溶鋼注入位置より上部で鋳型内の幅方向全幅にわたり直流磁場を付与して溶鋼の上昇流を減速し、その直流磁場の付与位置より上部の溶鋼中に溶鋼成分とは異種の合金元素を含むワイヤを添加して、注入気体の浮上攪拌により上部の溶鋼を合金溶鋼として合金鋼の表層を鋼片表面に形成することからなる複層鋼板の製造方法が記載されている。
【0003】
さらに特開平8-257692号公報には、メニスカスから一定距離下方において鋳型全幅にわたり直流磁界を印加して制動域を形成しつつ、その上下にノズル吐出孔を有する浸漬ノズルを用いて一定組成の溶鋼を注入し、さらにワイヤを用いて合金元素を制動域よりも上部の溶鋼プール内に連続的に供給しつつ溶鋼注入流による攪拌を行なうことによって、表層の合金元素濃度が均一な複層鋳片を製造する方法が開示されている。
【0004】
【発明が解決しようとする課題】
しかしながら、これらの方法では、ワイヤを添加することにより、鋳型内の溶鋼の含熱量を奪うことになるため、鋳型内部の溶鋼温度が低下し、鋳型内での皮張り等により鋳型内部での介在物やパウダーの欠陥が増加するという問題があった。また、鋳型内部の溶鋼温度が低下して、溶融温度(すなわち融点)との差が0℃近くになると鋳造が不可能になるため、添加できるワイヤ量が制限されるところにも問題を残していた。
【0005】
特許第3020127 号公報においては、タンディッシュ溶鋼中に添加するワイヤを、供給用ピンチロールと溶鋼間で電気抵抗加熱や高周波加熱によって加熱しつつ添加することが提案されている。
しかしながら本発明者らは、これらの方法について実験により詳細に調査したところ、鋳型内の溶鋼の局所的な凝固に起因した鋳片欠陥の発生を完全に防止できないことが明らかとなった。
【0006】
本発明は、上記の問題を有利に解決するもので、鋳型内部の溶鋼温度の低下に起因した鋳片欠陥の発生や生産性の低下を招くことなく、鋳片表層部における溶質元素の濃度を適切に調整することができる連続鋳造鋳片の有利な製造方法を提案することを目的とする。
【0007】
【課題を解決するための手段】
すなわち、本発明の要旨構成は次の通りである。
1.溶鋼の連続鋳造に際して、連鋳鋳型内の湯面レベルから鋳造方向に一定の距離下方の位置において鋳片の厚みを横切る向きに鋳片全幅にわたり直流磁場帯を印加した状態で該直流磁場帯内または該直流磁場帯よりも上部の溶鋼プールに浸漬ノズルを用いて溶鋼を注入すると共に、該直流磁場帯内または該直流磁場帯よりも上部の溶鋼に特定の溶質元素を添加することにより、上部プール内の溶鋼について該溶質元素の濃度を高め、もって鋳片表層部の溶質元素濃度を調整することからなる連続鋳造鋳片の製造方法において、上部プール内の溶鋼に特定の溶質元素を添加するに際し、予め該溶質元素である金属,あるいは該溶質元素を含有する合金を加熱して溶融金属とした後、該溶融金属を、保温された経路を通して鋳型内溶鋼に注入することを特徴とする連続鋳造鋳片の製造方法。
【0008】
2.前記保温された経路を、鋳型上方において下向きに湾曲させたことを特徴とする請求項1に記載の連続鋳造鋳片の製造方法。
3.前記保温された経路を鋳型内の溶鋼内まで延長し、前記溶融金属を鋳型内の溶鋼表面から下部に注入し、浸漬ノズル上部吐出口からの溶鋼流に混合させることを特徴とする請求項1または2に記載の連続鋳造鋳片の製造方法。
【0009】
4.前記合金がニッケルを主体とする合金であることを特徴とする請求項1,2または3に記載の連続鋳造鋳片の製造方法。
【0010】
【発明の実施の形態】
以下、 本発明を図面に従い説明する。
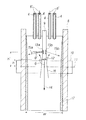
図1に、 本発明に従う鋳型内への溶質元素の添加領域の一例を模式で示す。図1中の番号1はワイヤリール,2は加熱手段としての高周波誘導加熱炉,3はその周りの耐火材,4は耐火材からなる溶融金属の導入管,5はその内部に埋め込んだ電熱線であり、これら4,5によって溶融金属の供給経路を形成している。また、6はワイヤ,6'は加熱溶解後の溶融金属であり、7は溶鋼である。
【0011】
鋳型内の溶鋼中に目的とする溶質元素を供給するに際して、溶質元素そのものからなるワイヤーや塊状物,粒状物、あるいは溶質元素を含有する合金ワイヤあるいは塊状または粒状の合金鉄を加熱手段に供給し、この加熱手段により目的とする合金を加熱して溶融金属とした後、溶鋼7内に供給する。
加熱手段にて溶融する物質の形態は、ワイヤあるいは塊状物や粒状物のいずれを使うことも可能である。コスト上は加工度の低い塊状物や粒状物が有利であるので、たとえば加熱手段において事前にこれら塊状物や粒状物を溶融して、ある程度の量の溶融金属を作っておき、その後、主たる供給はワイヤを用いるのが好ましい。
【0012】
ここではワイヤ6として、ニッケルのソリッドワイヤ(以下、 ニッケルワイヤという)を用いる例について説明する。したがって、この例では6'は加熱溶融後の溶融ニッケルであり、7は溶鋼である。なお加熱手段としては、高周波誘導加熱炉の他に溝型誘導加熱炉,タンマン炉あるいはアーク加熱炉も利用することができる。
【0013】
加熱溶融後の溶融ニッケル6'は、供給経路を経て鋳型内の溶鋼7に供給されるが、そのままでは周囲からの抜熱により半凝固状態となり、供給経路に詰まりが生じるおそれがある。したがって溶融ニッケル6'は、溶融された後、電気加熱等により保温された経路を通して溶鋼7内に注入される。
溶融ニッケル6'は、加熱炉において、加熱溶融後は速やかに溶鋼7内に供給することが望まれるので、溶融ニッケル6'の経路は鋳型上方において下方に湾曲させた形状とすることが有利である。
【0014】
本発明にしたがいワイヤ6を加熱溶融して溶鋼7に添加することにより、次の利点が期待できる。まず、添加する溶質元素をワイヤ6で供給することによって、溶質成分を一定速度で連続的に溶鋼7中に添加することが可能になる。また供給に対して複雑な注湯系統が不要である。また、ワイヤ6を加熱溶融し、溶融状態で供給するので溶鋼7の局所的な凝固を防止することができる。たとえば前述した特開平7-51801 号公報や特開平8-257692号公報に開示された技術では、ワイヤを加熱せずに溶鋼中に添加するので、周囲の溶鋼が冷却されて凝固することが避けられない。また、ワイヤを加熱して添加する特許第3020127 号公報に記載の技術においても周囲の溶鋼が凝固する問題が発生する。これは、たとえワイヤを加熱して添加したとしても、ワイヤが溶鋼中で溶解する際に周囲の溶鋼から溶解の潜熱を奪うために、溶鋼は凝固してしまうからである。
【0015】
しかしながら本発明によれば、ワイヤ6は予め溶融され、液滴ないし液流となって溶鋼7中に添加されるので、上述したような溶解潜熱を周囲の溶鋼7から奪うということがない。しかも液相状態であるが故に、溶鋼7中に添加された後、速やかに溶鋼7中に拡散するので鋳型内溶鋼プール内での溶質元素濃度の分布の均一性を向上させる効果もある。
【0016】
またワイヤ6を直接誘導加熱する方法に比べて、大型コイルにより直接溶融金属内を加熱するので、加熱効率を高めることが可能となり、ワイヤ供給速度を高めることが可能である。その結果、 従来よりもさらに表層と内部の成分濃度差を拡大することが可能となる。
以上に述べたように、本発明ではワイヤ6を加熱溶融して溶鋼7中に供給することにしたのであるが、ワイヤ6の融点が低い場合は溶融後の溶質元素が溶鋼温度に到達するまでの顕熱を周囲の溶鋼7から奪うことになり、溶鋼7の局所的凝固を招くおそれがある。したがってワイヤ6の加熱温度は、その融点以上で、かつ1400℃以上程度とすることが一層好ましい。このように加熱することによって、溶鋼7の局所的凝固を可及的に防止することが可能となる。
【0017】
誘導加熱を行なう際のコイルの周波数については、溶融効率の観点からは周波数の上限は特に制限されないが、一般に周波数が高くなると電源設備費が極端に高くなる上に、鋳型近傍で用いる湯面レベル計として用いる渦流センサーの信号(50〜60kHz )に干渉するという問題をさけるために、周波数の上限は50kHz 程度とする、ことが望ましい。また周波数の下限は一般の高周波加熱炉と同じ数キロヘルツ程度である。
【0018】
またワイヤ径については、十分な量を供給し、かつワイヤ6を供給しながら問題なく溶融するためには、ワイヤ径は3〜20mm程度とするのが有効であることが判明した。
なお加熱炉の位置については、ワイヤ6を加熱溶融した後、輸送距離があまりに長いと、その間で温度降下が生じる。 したがってワイヤ加熱位置は、極力、鋳型に近いことが望ましい。しかし一方で、鋳型のすぐ上方に高周波コイルを設置すると鋳型内の溶鋼湯面レベル検出用に設けられている渦流センサーとの干渉が大きくなるので望ましくない。
【0019】
また加熱手段を鋳型から離した状態で鋳型の上方に設置するのは、鋳型からタンディッシュまでに大幅な空間距離を採る必要が生じ、 事実上困難である。したがって図1に示すように、ワイヤリール1と鋳型上部との間に加熱炉を設置してワイヤ6を加熱溶融させた後、電気加熱等により保温された経路を通して、溶鋼7中に注入するのが好適である。そして鋳型上部とタンディッシュの限られた空間にこのような加熱装置を設けるためには、上記した経路を鋳型の直上で下向き鉛直方向に湾曲させることが有利である。
【0020】
さらに発明者らは、このようなワイヤ供給を行なう際の好適な溶鋼温度について、ワイヤ6としてニッケルワイヤを用いて調査を行なった。図2は、ニッケルワイヤ6の送給により27kg/ton のニッケル(すなわち溶鋼1ton あたりニッケル27kg)を溶鋼7内に供給するときのワイヤ供給温度と鋳型内溶鋼温度の降下量との関係を示すグラフである。
【0021】
図2から明らかなように、ニッケルワイヤ6の予熱がない場合は50℃以上もの溶鋼温度の降下が生じる。またニッケルワイヤ6の予熱を行なうことによって溶鋼7の温度降下は軽減できるが、ニッケルの融点である1450℃近くまで加熱したとしても、溶解熱を補償するために溶鋼温度は20℃近く低下する。したがってニッケルワイヤ6の供給によって溶鋼7が凝固しないようにするためには、このような溶鋼7の温度降下を見込んで、鋳型に注入される溶鋼温度を通常よりも高めておく必要があった。 通常、溶鋼7の連続鋳造では、タンディッシュから鋳型へ至る間の溶鋼温度降下があるので、これを見込んでタンディッシュ内溶鋼過熱度(=タンディッシュ内溶鋼温度−溶鋼の凝固温度)を20〜70℃程度として操業することが多いが、 前記した従来技術によるワイヤ添加を行なうときには、さらにこれに加えて20〜50℃程度高めておく必要があった。
【0022】
このことは製鋼炉である転炉や、二次精錬炉であるRH脱ガス装置やLF等の取鍋精錬炉の負荷を増大させるだけでなく、取鍋の耐火物の損耗を速めるという問題をもたらしていた。さらに鋳型内にあっては、ワイヤ6と接する領域以外の溶鋼7の温度が高いために、鋳型内面と接する部分での凝固シェルの成長が遅れ、 このためにブレークアウト,鋳片の変形,バルジングによる操業トラブル,さらには品質トラブルの発生率が増大するという問題があった。しかしながら本発明によれば、タンディッシュ内溶鋼過熱度を通常の操業に比べて特に高めておく必要がないので、上記したような二次精錬の負荷の増大や鋳造トラブルおよび品質トラブル等の発生を効果的に防止することができる。
【0023】
なお本発明の実施に際しては、図3に示すような、下部の吐出孔が単孔であり、上部の吐出孔が2孔の浸漬ノズルを備える連鋳機を用いるのが好適である。図3中の番号8は鋳型、9は浸漬ノズル、10は磁極であり、この磁極10により鋳型の厚み方向に鋳片全幅にわたって直流磁場帯を印加できるようになっている。そして11は、磁極10の高さ中心を示す。また,12は浸漬ノズル9の下部吐出孔、13a,13b はそれぞれ浸漬ノズル9の上部吐出孔、14は下部吐出孔12からの溶鋼噴流、15a,15b はそれぞれ上部吐出孔13a,13b からの溶鋼噴流、16は直流磁場帯の下部プールから上部プールへの逆流を示す。17は凝固シェルである。
【0024】
なお図3中のwは鋳型の幅,θ,θ’はそれぞれ浸漬ノズル9の下部吐出孔12および上部吐出孔13a,13b からの溶鋼噴流の吐出角度(すなわち水平方向を0°とした下向きの角度)、hは下部吐出孔12下端から磁極10の高さ中心までの距離、h’は上部吐出孔13a,13b 中心から磁極10の高さ中心までの距離である。
図3に示すように、浸漬ノズル9の下部吐出孔12から供給された溶鋼噴流14は一旦直流磁場帯の下部プールに流入するが、上部プールへの溶鋼の供給速度を上部プール内で凝固して消費される速度よりも少なくし、一旦下部プールに流入した溶鋼のうち、上部プールでの不足分だけは自然に再度上部プールに逆流させることにより、溶鋼の供給速度の制御に関する問題を生じさせない。なお、下部プールに供給する溶鋼噴流14の周りに逆流が生じやすいようにするためには、下部吐出孔12を適切な位置に配置することが重要である。
【0025】
そこで、この点について種々検討した結果、 下部吐出孔12の位置および吐出角度と直流磁場の印加位置について次の関係を満足させるのが好ましいことが判明した。
h<(w/2)× tanθ ・・・ (1)
0<h≦ 0.3 ・・・ (2)
θ:下部吐出孔からの吐出角度(°)
w:鋳型の幅方向の長さ(m)
h:下部吐出孔の下端から磁極の高さ中心までの距離(m)
距離hが (1)式を満たさない場合は、溶鋼噴流14が直流磁場帯を十分に貫通する前に両端の壁面に衝突してしまい、十分に下部プールからの逆流を引き起こすことができない。また距離hが (2)式を満たさない場合は、直流磁場帯を貫通する前に溶鋼噴流14が拡散し、やはり逆流を十分に引き起こすことができない。
【0026】
一方、 上部吐出孔13a,13b からの溶鋼噴流15a,15b は下部プールに流出させないようにする必要があり、 そのためには下記の (3)式を満足することが好ましい。また下部プールから流入する溶鋼を十分に引き込ませるためには下記の (4)式を満足することが好ましい。
h’>(w/2)× tanθ’ ・・・ (3)
0<h’≦ 0.3 ・・・ (4)
θ’:上部吐出孔からの吐出角度(°)
w :鋳型の幅方向の長さ(m)
h’:上部吐出孔の中心から磁極の高さ中心までの距離(m)
また上部吐出孔13a,13b からの溶鋼噴流15a,15b の供給速度は、上部吐出孔13a,13b と下部吐出孔12からの溶鋼の供給比の変動を考慮して、上部プールで凝固により消費される速度よりも小さく設定する必要がある。しかしながら、この溶鋼の供給速度が上部プールでの溶鋼の消費速度の 0.3倍に満たない場合には、たとえ (4)式を満足する条件下であっても、下部プールから供給される溶鋼や添加された溶質元素を引き込み、 両者を混合するのに十分な噴流速度が得られない場合がある。
【0027】
したがって上部吐出孔13a,13b から供給する溶鋼噴流15a,15b の供給速度Q’( ton/min )と、上方の溶鋼プールにて凝固する溶鋼の消費速度Q( ton/min )については、下記の (5)式を満足させることが好適である。
0.3Q≦Q’≦ 0.9Q ・・・ (5)
Q :磁極の高さ中心より上方の溶鋼プールにて凝固する溶鋼の消費速度( ton/min )
Q’:上部吐出孔からの溶鋼噴流の供給速度( ton/min )
また鋳片表層の溶質濃度を均一にするためには、加熱溶解した添加元素(たとえばニッケル)を上部吐出孔13a,13b からの噴流に引き込まれやすい位置に添加することが好ましい。さらに、この点について詳しく検討した結果、 下記の (6)式を満足する条件下で添加することが有効であることが判明した。
【0028】
0<z≦ 0.6 ・・・ (6)
z:溶質元素の添加位置から磁極の高さ中心までの距離(m)
溶質元素の添加位置を調整して距離z(m)を好適範囲に維持するためには、電気加熱等によって保温した経路をそのまま延ばして溶鋼内に浸漬する方法を採るのが最も簡便である。そして (1)〜(6) 式を満足する条件下で操業を行なった場合には、鋳片表層部の溶質元素の濃度が均一な鋳片を高い歩留りをもって製造できることが究明されたのである。
【0029】
なお、通常の連続鋳造で用いられるような2孔ノズル等の場合でも、上記の(1) ,(2) 式を満足すれば、所望の局所的な流入部位を効果的に生成させることが可能である。また局所的な流入部位の形成効果と、溶鋼噴流の減衰効果を一層大きくするためには、上部吐出孔13a,13b および下部吐出孔12の位置は磁極10の中心から上方に配置することが好ましい。
【0030】
印加する直流磁場の強さについては、あまりに小さいと、直流磁場による制動効果が弱くなって、上部プールと下部プールの溶鋼が混合するおそれが生じる。一方、 強すぎると、上部プール内への流入が強くなりすぎ、必要以上の溶鋼が上部プールに供給されることになるため、結果として、流入位置から離れた部位において上部プールの溶鋼が流出するおそれがある。したがって印加する直流磁場は、上部プールと下部プールの溶鋼の混合や溶質元素の不均一な溶解を防止するための適切な強さにすることが重要である。通常、 0.1〜0.5 T程度とするのが好ましい。
【0031】
また同様に、ノズルに注入されるArガスの流量が多すぎると、上部プールへのArガスの流入が強くなりすぎ、気泡性欠陥を発生しやすくなるため、Arガス流量は、20 liter/min 以下とすることが望ましい。
さらに印加する直流磁場帯の幅(すなわち高さ方向)については、あまりに小さいと、制動効果が十分に得られない。一方、 あまりに大きいと、直流磁場を発生させるのに必要な電源容量あるいはコイルサイズが大きいものとなり、設備コストが増大するので、磁極10の高さ方向の幅で 0.1〜0.5 m程度とするのが好適である。
【0032】
また直流磁場の幅を制御するために、図4に示すように、上下にNS極を有する2段の鉄心(すなわち磁極10と上部磁極19)を有する直流磁場を用いるのが好ましい。
以上ではワイヤ6としてニッケルのソリッドワイヤを使用した場合の例について説明したが、ソリッドワイヤだけではなく、合金鉄粉等を薄鋼板で被覆した鉄被覆ワイヤも使用可能である。
【0033】
なお加熱炉の下からの注入については、注湯量が極めて少ないことから、通常の連続鋳造で用いられるスライディングノズル等は使用せずに、ストッパ等を用いて開孔のみを行ない、その後は供給量と溶解量をバランスさせることにより、供給量を制御するのが容易である。
また、ここではニッケルを溶融して供給する方法を例にとって説明したが、本発明では他の溶質元素も適用可能である。ただし鉄基ベースの合金等では大気による鉄酸化が生じ、 鋳片内に欠陥原因を作る危険もあるので、炉内の自由表面をシールする等の対策が必要となる。
【0034】
【実施例】
図1に示す連鋳鋳型を用い、 耐候性鋼用素材の連鋳スラブを製造した。溶鋼7の組成は、表1に示す通りである。
【0035】
【表1】
【0036】
なお連鋳の操業条件は、下記に列挙する通りである。
(a) 鋳型の内寸:
長辺 0.4m(鋳型の幅方向の長さw)
短辺 0.11 m
(b) 直流磁場:
印加位置 鋳型内湯面レベルから磁極の高さ中心までの距離 0.347m
磁場の強さ 0.3T
磁極の高さ 0.15 m
(c) 浸漬ノズル:
ノズル内径: 40mm
(d) 上部吐出孔(2孔):
吐出孔の形状 1辺10mmの正方形
吐出角度θ’ 0°(水平)
浸漬深さ 0.177m(鋳型内湯面レベルから上部吐出孔中心までの距離)
距離h’ 0.170m
(e) 下部吐出孔(単孔):
吐出孔の形状 直径28mmの円形
吐出角度θ 90°(鉛直下向き)
浸漬深さ 0.34 m(鋳型内湯面レベルから下部吐出孔下端までの距離)
距離h 0.007m
(f) 連続鋳造:
鋳造速度 1.6m/min (鋳造量 0.55 ton/min )
上部吐出孔からの溶鋼供給速度Q’= 0.76 Q
(g) 溶質元素:
素材 純Niペレットおよび純Niワイヤを後述の高周波誘導加熱炉で溶融し
て使用
溶融Niの供給位置 上部吐出孔から両端方向への水平距離 0.1m
溶融Ni供給管の浸漬位置 上部吐出孔までの高さ方向の距離 0.12 m
なお、凝固シェルの成長厚d(m)は下記の (7)式で与えられる。
【0037】
d= 0.022×(L/VC )0.5 ・・・ (7)
L :湯面レベルから下段磁極の高さ中心までの距離(m)
VC :鋳造速度(m/min )
したがって上下プール境界部での凝固シェル厚さは、 (7)式から10.2mm程度であることが分かる。その結果、 Q=0.125ton/min となる。一方、Q’については水モデル等から全スループットの17.5%であることが分かっており、Q’= 0.0963ton/min となる。したがってQ’=0.77Qである。
【0038】
なお鋳造時のタンディッシュ内溶鋼過熱度は25〜65℃の範囲であった。さて、上記した鋳造条件の下で、加熱手段として図1に示すような高周波誘導加熱炉(周波数 10kHz)を用い、事前に純ニッケルペレット等を投入し溶融しておく。この高周波誘導加熱炉に直径8mmのニッケルワイヤ6を2本それぞれ10.4m/min の速度(合計 9.4kg/min )の速度で供給しつつ加熱溶融しながら、溶鋼7中に供給した。
【0039】
ニッケルワイヤ6を2本供給する理由は、ニッケルワイヤ6の供給速度があまりに速いと、高周波誘導加熱炉で十分に溶融する時間を維持するのが困難であるからである。本発明では、必要とする表層部への溶質元素(たとえばニッケル)の添加量に応じて適宜ワイヤ径と供給本数を制御する。
なお溶融したニッケルは、保温された経路としてカンタル線または白金線で1450℃以上に加熱した Si3N4 (+BN)またはAlON(+BN)等の導入管を通して鋳型内の溶鋼7中に注入した。耐火材は、耐熱衝撃性に優れ、熱伝導性および濡れ性が低いという観点で決定した。
【0040】
以上の連続鋳造を発明例とする。
一方、 比較例として、発明例と同一の条件でニッケルワイヤ6を鋳型内の溶鋼7に直接供給して連続鋳造を行なった。この比較例では、鋳型内の溶鋼温度の低下が著しかったので、ニッケルワイヤ6の供給速度を1kg/min に制限した。
発明例と比較例について、得られた鋳片(すなわち連鋳スラブ)の不良発生状況を調査した。その結果を図5に示す。鋳片の不良発生状況は、鋳片表面を観察して 500μm以上の大きさの介在物やパウダー性欠陥の個数(以下、 不良個数という)を測定し、発明例の不良個数を1として相対値で評価した。
【0041】
図5から明らかなように、発明例は、比較例に比べて鋳片表層部の不良個数が大幅に低減している。観察された欠陥は、パウダーの巻き込みによるパウダー性欠陥やアルミナ性欠陥であった。比較例ではニッケルワイヤ6を加熱せずに溶鋼7に供給したために、未溶融のパウダーの巻き込みが増加したことに加えて、鋳型内の溶鋼温度が低下することによって溶融層厚みが減少し、アルミナのパウダーへの吸収が減少したために、不良個数が増加したものと考えられる。
【0042】
また発明例の鋳片の上面側と下面側の長辺面から、各々幅方向に5点ずつ分析用の試料を切り出し、スケールを除去した後、 カントバック分析を行なった。 平均分析結果を表2に示し、鋳片表面のニッケル濃度分析値の鋳片幅方向の分布を図6に示す。
【0043】
【表2】
【0044】
図6から明らかなように、発明例では鋳片表面のニッケル濃度のばらつきが少なく、耐候性鋼としての要求を満たしている。さらに発明例の鋳片を板厚25mmまで圧延した後、断面を観察した結果では、表層部2mmは鋳片表面と実質的に均質な成分となっており、耐候性鋼として十分な機能を有することが確認された。また鋼板の超音波探傷検査を行なった結果では、格落ち等につながる欠陥は認められなかった。
【0045】
さらに暴露試験を行ない、本発明で得られた耐候性鋼の鋳片は、大幅に耐候性が向上されることが確かめられた。これは、従来の耐候性鋼に比べて、本発明の耐候性鋼の鋳片表層部のニッケル濃度が高くなるからである。つまり本発明の耐候性鋼の鋳片は、海岸向けの耐候性鋼として使用できる可能性があることが分かった。 したがって本発明によって、従来より優れた耐候性鋼を製造することが可能となる。
【0046】
【発明の効果】
本発明によれば、鋳型内の上部プールへ多量の合金元素を安定して供給することが可能となり、その結果、 鋳片表層部の溶質元素の濃度ばらつきが極めて少ない均質な鋳片を安定して製造できる。
また本発明によれば、合金元素の添加によっても鋳造温度の低下を招くことがないので、鋳片欠陥の発生や生産性の低下を招くことのない安定した連続鋳造が可能となる。
【図面の簡単な説明】
【図1】本発明を適用する装置の例を模式的に示す断面図である。
【図2】ワイヤ加熱温度と鋳型内溶鋼の温度との関係を示すグラフである。
【図3】3孔ノズルを用いて溶鋼を注入する例を模式的に示す断面図である。
【図4】3孔ノズルを用いて溶鋼を注入する他の例を模式的に示す断面図である。
【図5】鋳片欠陥の発生状況を示すグラフである。
【図6】本発明の連続鋳造による鋳片表面のニッケル濃度分析値のばらつきの分布を示すグラフである。
【符号の説明】
1 ワイヤリール
2 高周波誘導加熱コイル
3 耐火材
4 溶融金属の導入管
5 電熱線
6 ワイヤ
6' 溶融金属
7 溶鋼
8 鋳型
9 浸漬ノズル
10 磁極
11 磁極の高さ中心
12 下部吐出孔
13a 上部吐出孔
13b 上部吐出孔
14 下部吐出孔からの溶鋼噴流
15a 上部吐出孔からの溶鋼噴流
15b 上部吐出孔からの溶鋼噴流
16 下部プールから上部プールへの逆流
17 凝固シェル
18 上部磁極の高さ中心
19 上部磁極
Claims (4)
- 溶鋼の連続鋳造に際して、連鋳鋳型内の湯面レベルから鋳造方向に一定の距離下方の位置において鋳片の厚みを横切る向きに鋳片全幅にわたり直流磁場帯を印加した状態で該直流磁場帯内または該直流磁場帯よりも上部の溶鋼プールに浸漬ノズルを用いて溶鋼を注入すると共に、該直流磁場帯内または該直流磁場帯よりも上部の溶鋼に特定の溶質元素を添加することにより、上部プール内の溶鋼について該溶質元素の濃度を高め、もって鋳片表層部の溶質元素濃度を調整することからなる連続鋳造鋳片の製造方法において、上部プール内の溶鋼に特定の溶質元素を添加するに際し、予め該溶質元素である金属、あるいは該溶質元素を含有する合金を加熱して溶融金属とした後、該溶融金属を、保温された経路を通して鋳型内溶鋼に注入することを特徴とする連続鋳造鋳片の製造方法。
- 前記保温された経路を、鋳型上方において下向きに湾曲させたことを特徴とする請求項1に記載の連続鋳造鋳片の製造方法。
- 前記保温された経路を鋳型内の溶鋼内まで延長し、前記溶融金属を鋳型内の溶鋼表面から下部に注入し、浸漬ノズル上部吐出口からの溶鋼流に混合させることを特徴とする請求項1または2に記載の連続鋳造鋳片の製造方法。
- 前記合金がニッケルを主体とする合金であることを特徴とする請求項1、2または3に記載の連続鋳造鋳片の製造方法。
Priority Applications (1)
| Application Number | Priority Date | Filing Date | Title |
|---|---|---|---|
| JP2002162630A JP3988538B2 (ja) | 2002-06-04 | 2002-06-04 | 連続鋳造鋳片の製造方法 |
Applications Claiming Priority (1)
| Application Number | Priority Date | Filing Date | Title |
|---|---|---|---|
| JP2002162630A JP3988538B2 (ja) | 2002-06-04 | 2002-06-04 | 連続鋳造鋳片の製造方法 |
Publications (2)
| Publication Number | Publication Date |
|---|---|
| JP2004009064A JP2004009064A (ja) | 2004-01-15 |
| JP3988538B2 true JP3988538B2 (ja) | 2007-10-10 |
Family
ID=30431324
Family Applications (1)
| Application Number | Title | Priority Date | Filing Date |
|---|---|---|---|
| JP2002162630A Expired - Fee Related JP3988538B2 (ja) | 2002-06-04 | 2002-06-04 | 連続鋳造鋳片の製造方法 |
Country Status (1)
| Country | Link |
|---|---|
| JP (1) | JP3988538B2 (ja) |
Cited By (1)
| Publication number | Priority date | Publication date | Assignee | Title |
|---|---|---|---|---|
| CN106424680A (zh) * | 2016-08-30 | 2017-02-22 | 湖北立晋钢铁集团有限公司 | 一种方坯浇钢操作工艺流程 |
Families Citing this family (5)
| Publication number | Priority date | Publication date | Assignee | Title |
|---|---|---|---|---|
| CN100333861C (zh) * | 2005-09-13 | 2007-08-29 | 上海大学 | 高温度梯度逐层凝固连铸方法及其连铸结晶器系统 |
| JP4765774B2 (ja) * | 2006-05-29 | 2011-09-07 | 住友金属工業株式会社 | 複層鋳片の連続鋳造方法 |
| KR100749027B1 (ko) | 2006-06-23 | 2007-08-13 | 주식회사 포스코 | 용융 몰드플럭스를 이용한 연속 주조 장치 및 방법 |
| CN107150116B (zh) * | 2017-05-10 | 2018-11-06 | 辽宁科技大学 | 一种电磁调控自孕育处理制造大型铸锭的方法 |
| CN115896396A (zh) * | 2022-12-29 | 2023-04-04 | 包头钢铁(集团)有限责任公司 | 一种结晶器喂稀土丝的方法 |
-
2002
- 2002-06-04 JP JP2002162630A patent/JP3988538B2/ja not_active Expired - Fee Related
Cited By (1)
| Publication number | Priority date | Publication date | Assignee | Title |
|---|---|---|---|---|
| CN106424680A (zh) * | 2016-08-30 | 2017-02-22 | 湖北立晋钢铁集团有限公司 | 一种方坯浇钢操作工艺流程 |
Also Published As
| Publication number | Publication date |
|---|---|
| JP2004009064A (ja) | 2004-01-15 |
Similar Documents
| Publication | Publication Date | Title |
|---|---|---|
| TWI673122B (zh) | 鋼的連續鑄造方法及薄鋼板的製造方法 | |
| KR19990008228A (ko) | 스틸 스트립 연속 주조방법 | |
| US2882571A (en) | Method of casting metals | |
| JP3988538B2 (ja) | 連続鋳造鋳片の製造方法 | |
| US6557623B2 (en) | Production method for continuous casting cast billet | |
| JP2017080788A (ja) | 複層鋳片の連続鋳造方法及び連続鋳造装置 | |
| JP4562347B2 (ja) | 液体鋼の連続鋳造方法と装置 | |
| JP2018114549A (ja) | 複層鋳片の連続鋳造方法及び連続鋳造装置 | |
| JP4725244B2 (ja) | 連続鋳造用取鍋及び鋳片の製造方法 | |
| KR101239537B1 (ko) | 침지노즐의 침적깊이 최적화에 의한 주편 표면 결함 저감방법 | |
| JP4998705B2 (ja) | 鋼の連続鋳造方法 | |
| JP2003080352A (ja) | 連続鋳造鋳片の製造方法 | |
| JP2011194420A (ja) | 高清浄度鋼の製造方法 | |
| JP2661797B2 (ja) | 複層鋳片鋳造方法 | |
| JP3573096B2 (ja) | 連続鋳造鋳片の製造方法 | |
| JP4508209B2 (ja) | 複層鋳片の連続鋳造方法及び鋳片 | |
| Dutta et al. | Continuous casting (concast) | |
| CN101410204B (zh) | 用于连续或半连续铸造金属的装置 | |
| JPH0133271B2 (ja) | ||
| JPH09168845A (ja) | 介在物と気泡のない溶湯の連続鋳造法および装置 | |
| JPS595056B2 (ja) | 鋼ストランドの連続鋳造のための方法および装置 | |
| JP2017030013A (ja) | 複層鋳片の連続鋳造方法及び連続鋳造装置 | |
| AU694654B2 (en) | Casting steel strip | |
| FI69972C (fi) | Kontinuerlig metallgjutning | |
| JPH0852534A (ja) | 半凝固金属の連続鋳造方法 |
Legal Events
| Date | Code | Title | Description |
|---|---|---|---|
| A621 | Written request for application examination |
Free format text: JAPANESE INTERMEDIATE CODE: A621 Effective date: 20050531 |
|
| A977 | Report on retrieval |
Free format text: JAPANESE INTERMEDIATE CODE: A971007 Effective date: 20070615 |
|
| TRDD | Decision of grant or rejection written | ||
| A01 | Written decision to grant a patent or to grant a registration (utility model) |
Free format text: JAPANESE INTERMEDIATE CODE: A01 Effective date: 20070626 |
|
| A61 | First payment of annual fees (during grant procedure) |
Free format text: JAPANESE INTERMEDIATE CODE: A61 Effective date: 20070709 |
|
| FPAY | Renewal fee payment (event date is renewal date of database) |
Free format text: PAYMENT UNTIL: 20100727 Year of fee payment: 3 |
|
| R150 | Certificate of patent or registration of utility model |
Free format text: JAPANESE INTERMEDIATE CODE: R150 |
|
| FPAY | Renewal fee payment (event date is renewal date of database) |
Free format text: PAYMENT UNTIL: 20100727 Year of fee payment: 3 |
|
| FPAY | Renewal fee payment (event date is renewal date of database) |
Free format text: PAYMENT UNTIL: 20110727 Year of fee payment: 4 |
|
| FPAY | Renewal fee payment (event date is renewal date of database) |
Free format text: PAYMENT UNTIL: 20110727 Year of fee payment: 4 |
|
| FPAY | Renewal fee payment (event date is renewal date of database) |
Free format text: PAYMENT UNTIL: 20120727 Year of fee payment: 5 |
|
| FPAY | Renewal fee payment (event date is renewal date of database) |
Free format text: PAYMENT UNTIL: 20120727 Year of fee payment: 5 |
|
| FPAY | Renewal fee payment (event date is renewal date of database) |
Free format text: PAYMENT UNTIL: 20130727 Year of fee payment: 6 |
|
| LAPS | Cancellation because of no payment of annual fees |
