JP3979868B2 - 合流式下水道の特殊人孔の構造 - Google Patents

合流式下水道の特殊人孔の構造 Download PDF

Info

Publication number
JP3979868B2
JP3979868B2 JP2002104602A JP2002104602A JP3979868B2 JP 3979868 B2 JP3979868 B2 JP 3979868B2 JP 2002104602 A JP2002104602 A JP 2002104602A JP 2002104602 A JP2002104602 A JP 2002104602A JP 3979868 B2 JP3979868 B2 JP 3979868B2
Authority
JP
Japan
Prior art keywords
door body
special
human hole
hole
sewage
Prior art date
Legal status (The legal status is an assumption and is not a legal conclusion. Google has not performed a legal analysis and makes no representation as to the accuracy of the status listed.)
Expired - Fee Related
Application number
JP2002104602A
Other languages
English (en)
Other versions
JP2003301510A (ja
Inventor
榮一 大久保
利和 田中
正 高島
清治 清水
進一 木津
Current Assignee (The listed assignees may be inaccurate. Google has not performed a legal analysis and makes no representation or warranty as to the accuracy of the list.)
Maezawa Industries Inc
Original Assignee
Maezawa Industries Inc
Priority date (The priority date is an assumption and is not a legal conclusion. Google has not performed a legal analysis and makes no representation as to the accuracy of the date listed.)
Filing date
Publication date
Application filed by Maezawa Industries Inc filed Critical Maezawa Industries Inc
Priority to JP2002104602A priority Critical patent/JP3979868B2/ja
Publication of JP2003301510A publication Critical patent/JP2003301510A/ja
Application granted granted Critical
Publication of JP3979868B2 publication Critical patent/JP3979868B2/ja
Anticipated expiration legal-status Critical
Expired - Fee Related legal-status Critical Current

Links

Images

Classifications

    • YGENERAL TAGGING OF NEW TECHNOLOGICAL DEVELOPMENTS; GENERAL TAGGING OF CROSS-SECTIONAL TECHNOLOGIES SPANNING OVER SEVERAL SECTIONS OF THE IPC; TECHNICAL SUBJECTS COVERED BY FORMER USPC CROSS-REFERENCE ART COLLECTIONS [XRACs] AND DIGESTS
    • Y02TECHNOLOGIES OR APPLICATIONS FOR MITIGATION OR ADAPTATION AGAINST CLIMATE CHANGE
    • Y02ATECHNOLOGIES FOR ADAPTATION TO CLIMATE CHANGE
    • Y02A10/00TECHNOLOGIES FOR ADAPTATION TO CLIMATE CHANGE at coastal zones; at river basins
    • Y02A10/30Flood prevention; Flood or storm water management, e.g. using flood barriers

Landscapes

  • Sewage (AREA)
  • Underground Structures, Protecting, Testing And Restoring Foundations (AREA)

Description

【0001】
【発明の属する技術分野】
本発明は、生活排水等の汚水と雨水とが合流して流れる合流式下水道の幹線管路の途中に設けられた特殊人孔の構造に関する。
【0002】
【従来の技術】
従来、合流式下水道の幹線管路においては、晴天時には、生活排水等の汚水が流れて下水処理場へ送られている。また、雨天時においては、上記生活排水に雨水が合流し、下水処理場へ送られる。この際、流れ込んだ雨水によって増量した下水が幹線管路を流れてそのまま一気に下水処理場へ送水されると、下水処理場の処理能力を超えてしまうため、上記下水を処理せずにそのまま公共水域(河川や海等)へ排出していた。このように、未処理のまま下水を公共水域へ排出すると、公共水域の水質が未処理の下水によって汚濁する恐れがあった。
【0003】
上記のような問題点の対策として、別途、滞水池や貯留管等を設け、降雨によって増量した下水を一時的に上記滞水池や貯留管に貯留し、徐々に滞水池や貯留管から下水処理場へ送水して処理している。
【0004】
【発明が解決しようとする課題】
しかしながら上記従来形式では、近年、上記のような滞水池や貯留管といった一時貯留のための特別な施設の建設には膨大な費用を要し、また、建設用地の確保も困難であるといった問題がある。
【0005】
本発明は、滞水池や貯留管といった特別な貯留施設を別途設けることを不要にし得る(或いは貯留施設の数を低減し得る)合流式下水道の特殊人孔の構造を提供することを目的とする。
【0006】
【課題を解決するための手段】
上記目的を達成するために本第1発明では、合流式下水道の幹線管路の途中に設けられた特殊人孔の構造であって、上記特殊人孔内に、降雨量、降雨時に幹線管路を流れる下水の流量もしくは水位の何れかを指標として開閉制御する扉体を有する流量制御手段を設け、流量制御手段が特殊人孔の底部に当接する扉体の縁部に小開口を有し、かつ幹線管路を流れる下水の流量もしくは水位の何れかが設定量未満の場合に扉体を閉じて扉体を堰として扉体の上流側の幹線管路に貯留域を形成し、扉体を閉じた状態で下水を小開口から扉体の下流側へ流すものである。
【0007】
これによると、降雨量や降雨時に幹線管路を流れる下水の流量もしくは水位の何れかが設定量未満の場合、扉体を閉じる。これにより、扉体が堰の役割を果たして、扉体の上流側の幹線管路に貯留域が形成され、この貯留域に下水(すなわち生活排水や雨水)が一時貯留される。したがって、小雨時等において、下水が増量しても、上記貯留域に一時貯留されるため、従来のような特別な貯留施設を別途設ける必要はない。
下水は閉じた扉体の上流側の貯留域から小開口を通って扉体の下流側へ流れる。これにより、扉体を閉じた状態で、処理可能な量の下水を小開口から下水処理場へ送水することができる。
【0008】
本第2発明では、豪雨等によって、降雨量や降雨時に幹線管路を流れる下水の流量もしくは水位の何れかが設定量以上に増加した場合、扉体を開く。これにより、上記貯留域に貯留されていた下水が扉体の上流側から下流側へ流れるため、扉体の上流側の生活施設が浸水するのを防止することができる。
【0010】
本第3発明では、扉体に、小開口を流れる流水の流量を調整する小扉体が設けられているものである。
これによると、下水処理場の処理能力等に応じて、小開口を流れる下水の流量を調整することができる。
【0011】
本第4発明では、特殊人孔の側壁面に、流水を扉体の上流面側へ向けて案内するガイド板を設けたものである。
これによると、幹線管路から特殊人孔へ流れ込んだ下水はガイド板によって扉体の上流面側へ向けて案内されるため、扉体のサイズを小型化することができる。
【0012】
本第5発明では、特殊人孔に出入り用の人孔が形成され、扉体は上記人孔を通過可能な形状の複数のブロックの集合体からなり、上記各ブロック同士が着脱自在に連結されているものである。
【0013】
これによると、扉体を複数のブロックに分割し、各ブロックを人孔から特殊人孔内に搬入し、各ブロック同士を連結することにより、特殊人孔内で扉体を組立てることができる。
【0014】
本第6発明では、流量制御手段はフラップゲートからなり、扉体に浮力を与える浮体を設けたものである。
これによると、浮体の浮力を扉体の開方向へ働くようにすることで、扉体の開動作に要する駆動力が減少する。
【0015】
本第7発明では、特殊人孔内に、扉体を開方向へ付勢するカウンターウェイトと、このカウンターウェイトの付勢力に抗して扉体を開閉させるシリンダ装置とが設けられ、上記カウンターウェイトは、流水の流れを阻害しない位置に設けられているものである。
【0016】
これによると、シリンダ装置のピストンロッドを出退させることにより、扉体が開閉する。この際、停電や故障等で扉体を開くことができない場合、ピストンロッドの出退をフリーな状態にすることによって、扉体がカウンターウェイトの付勢力により緊急に開かれる。
【0017】
また、カウンターウェイトは下水の流れを阻害しないため、下水はスムーズに特殊人孔内を流れる。
本第8発明では、扉体は特殊人孔の上流側に開口した流入口と下流側に開口した排出口との間の中央部に配置されているものである。
【0018】
これによると、上記のような配置によって、流入口から閉位置の扉体の上方を越えて排出口へ連通する流通空間が形成される。したがって、万一、故障等によって扉体を開くことができない場合でも、下水は流入口から流通空間を通り扉体からオーバーフローして排出口へ流れるため、特殊人孔の上流側の幹線管路内の下水が地上へ溢れ出すのを防止することができる。
【0019】
【発明の実施の形態】
以下、本発明における実施の形態を図面に基づいて説明する。
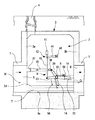
図1,図5,図6に示すように、1は地中に形成された合流式下水道の幹線管路であり、この幹線管路1の途中には竪坑式の特殊人孔2が形成されている。この特殊人孔2はコンクリート製の地下構造物3によって形成され、上部には、地上に連通する出入り用の人孔4(マンホール)が形成されている。また、地下構造物3の上流側の壁3aには流入口5が形成され、下流側の壁3bには排出口6が形成されている。この排出口6の下流には下水処理場(図示省略)が設置されている。また、地下構造物3のインバート3c(底部)には、水路7の左右両側部に位置する側部底面3dと、上記水路7の底面であり且つ側部底面3dよりも一段低い中央部底面3eとが形成されている。
【0020】
特殊人孔2内には、開閉自在な扉体8とこの扉体8を開閉させる油圧シリンダ装置15とを有するフラップゲート9(流量制御手段の一例)が設置されている。すなわち、上記扉体8は特殊人孔2の左右方向(幅方向)に設けられた支軸10に取付けられている。図7,図8に示すように、この支軸10は、左右方向の軸心11回りに回動自在であり、その両端が軸受け12によって支持されている。上記両軸受け12は軸受台13に設けられ、これら軸受台13は複数の支持フレーム14によって特殊人孔2内に支持され固定されている。
【0021】
上記のようなフラップゲート9の詳細な構成を以下に説明する。
図9に示すように、上記扉体8は正面視において中央部が左右両側部よりも下方へ突出した形状を有している。扉体8の中央部の下縁部には、四角形の小開口17が形成されている。また、扉体8は、左右方向において分割可能な複数のブロック18の集合体から構成されている。図10,図11に示すように、各ブロック18は、背面側に開口部19を有する縦長の四角形の箱体20と、上記開口部19を閉じる蓋板21とで構成されている。蓋板21は、複数のボルト22と箱体20に溶接された複数のナット23とによって、着脱自在に箱体20に取付けられる。また、各ブロック18同士はそれぞれ複数のボルト24,ナット25によって着脱自在に連結されている。さらに、各ブロック18は、複数のボルト26,ナット27によって、支軸10に設けられた取付用ブラケット28に着脱自在に連結されている。尚、上記ナット27は取付用ブラケット28に溶接されている。
【0022】
さらに、互いに隣接したブロック18の正面側には、両ブロック18の接合部に亘って接合板69が当て付けられ、各接合板69はボルト70とナット71を介して着脱自在にブロック18に連結されている。
【0023】
上記各ブロック18は人孔4を通過可能なサイズに形成されている。また、各ブロック18の内部には、扉体8に浮力を与える発泡スチロール30(浮体の一例)が挿入されている。尚、図1に示すように、扉体8は、特殊人孔2の流入口5と排出口6との前後間のほぼ中央部に位置している。
【0024】
図5,図9,図12に示すように、上記扉体8には、小開口17を流れる下水Wの流量を調整する小扉体32が複数のボルト33,ナット34を介して取付けられている。このうち、上記ボルト33は、小開口17の天井部に左右一対溶接等で取付け固定されて下方へ垂下しており、小扉体32の上板部32aのボルト孔に挿通されている。上記ナット34は、ボルト33に螺合され、小扉体32の上板部32aを上下両方から挟むようにして保持している。これらナット34を回すことによって、小扉体32が閉位置Sの扉体8に対して上下移動する。尚、上記小扉体32は、扉体8と同様に、箱体20と蓋板21とで構成されており、内部に発泡スチロール30を備えている。また、図13に示すように、小扉体32と扉体8には、ガイド溝35と、このガイド溝35に差し込まれたガイド体36とが設けられており、小扉体32はガイド溝35とガイド体36とによって上下方向へ案内される。
【0025】
図1,図6に示すように、上記油圧シリンダ装置15は、取付台37を介して、地下構造物3の上流側の壁3aに取付けられている。油圧シリンダ装置15のピストンロッド38の先端は、支軸10の一端部に設けられたクランクアーム39に連結されている。図1,図2に示すように、ピストンロッド38を突出させることにより、支軸10と共に扉体8が閉位置Sまで回動してほぼ下向き姿勢となり、図3,図4に示すように、ピストンロッド38を退入させることにより、支軸10と共に扉体8が全開位置Oまで回動してほぼ水平姿勢となる。
【0026】
上記油圧シリンダ装置15を作動させる油圧回路(図示省略)には、作動油を油圧シリンダ装置15へ供給する油圧ポンプ(図示省略)と、図14に示すように作動油の供給を油圧シリンダ装置15のテール側とロッド側とに切換えさらにはピストンロッド38の出退をフリーに切換える制御弁63とが設けられている。また、特殊人孔2の上流側の幹線管路1には、幹線管路1内を流れる下水Wの水位を検出する水位検出計64が設けられている。この水位検出計64で検出された水位に基づいて上記制御弁63を切換える制御装置65が備えられている。
【0027】
また、図1〜図6に示すように、支軸10には、扉体8を開方向へ付勢するカウンターウェイト41がリンク機構42を介して取付けられている。上記リンク機構42は、支軸10の両端部に設けられた左右一対の下部リンクアーム43と、両下部リンクアーム43の上方に設けられた左右一対の上部リンクアーム44と、これらアーム43,44の遊端部間に連結された左右一対の縦杆材45とで構成されている。尚、上記上部リンクアーム44は、取付台46を介して地下構造物3の左右両側壁3fに、上下揺動自在に取付けられている。また、上記カウンターウェイト41は、両縦杆材45の上端部間に設けられており、幹線管路1よりも高い位置に設定されている。
【0028】
また、扉体8の下縁部と左右両側縁部とは、閉位置Sにおいて、シール材でそれぞれ水密にシールされる。すなわち、図5,図12に示すように、上記扉体8の上流面(正面)側の中央下部には、平板状の中央下部止水ゴム48(シール材の一例)が押え板49で押えられて取付けられている。また、図2,図5,図12に示すように、インバート3cの左右の側部底面3dと水路7の両側面とにはそれぞれ、く形状に屈曲した側下部止水ゴム50(シール材の一例)が押え板51で押えられて取付けられている。さらに、図5,図16に示すように、左右両側壁3fの下部には取付台52が設けられており、これら両取付台52の先端部には、く形状に屈曲した側部止水ゴム53(シール材の一例)が押え板54で押えられて取付けられている。上記扉体8が閉位置Sまで回動した場合、図12に示すように、上記中央下部止水ゴム48がインバート3cの中央部底面3eに当接するとともに、図15に示すように、上記扉体8の上流面(正面)の側下部が上記側下部止水ゴム50に当接し、さらに、図16に示すように、扉体8の上流面(正面)の左右両側部が上記側部止水ゴム53に当接する。
【0029】
図6,図16に示すように、地下構造物3の左右両側壁3fには、流入口5から流れ込んだ下水を閉位置Sの扉体8の上流面側へ向けて案内するガイド板56が設けられている。すなわち、両ガイド板56はそれぞれ、上流側から下流側に亘って傾斜しており、上流側端部が側壁3fに据付けられ、下流側端部が上記取付台52に据付けられている。これにより、両ガイド板56の左右間隔は下流側ほど次第に縮小する。
【0030】
また、図4,図6に示すように、左右両側壁3fに設けられた取付ブラケット57には、扉体8の開方向への回動を全開位置Oで規制するストッパー58が取付けられている。これら両ストッパー58はゴム等の弾性体で形成されている。
【0031】
また、図7,図8に示すように、上記両軸受台13にはそれぞれ、軸受け12の上流側の止水を行う止水カバー59が設けられている。これら両止水カバー59の先端部には、支軸10の両端部の外周面の上流側に当接する止水ゴム60が押え板61で押えられて取付けられている。尚、上記軸受け12と軸受台13、および、軸受台13と支持フレーム14、および、支持フレーム14と地下構造物3はそれぞれ、ボルト,ナット(図示省略)等を介して着脱自在に連結されている。
【0032】
以下、上記構成における作用を説明する。
晴天時の場合は、水位検出計64によって検出される水位が設定水位未満となり、制御装置65が制御弁63を切換えて油圧シリンダ装置15のテール側に作動油を供給し、ピストンロッド38が突出して、図1,図2に示すように、扉体8が閉位置Sまで回動する。これにより、扉体8が堰の役割を果たして、扉体8の上流側の幹線管路1に貯留域Aが形成される。この際、図1の実線で示すように、下水Wは、上流側の幹線管路1から特殊人孔2の水路7を流れ、上記扉体8の小開口17を通って下流側の排出口6へ流れる。
【0033】
また、小雨時の場合、下水Wが増量しても、水位検出計64によって検出される水位が設定水位未満であれば、下水Wは図1の仮想線で示すように上記貯留域Aに一時貯留されるため、従来のような特別な貯留施設を別途設ける必要はない(或いは貯留施設の数を低減することができる)。
【0034】
この際、下水Wは上記貯留域Aから扉体8の小開口17を通って下流側の排出口6へ流れる。これにより、扉体8を閉じた状態で、処理可能な量の下水Wを小開口17から下水処理場へ送水することができる。
【0035】
また、上記のように扉体8を閉じた場合、図12に示すように中央下部止水ゴム48がインバート3cの中央部底面3eに当接するとともに、図15に示すように扉体8の上流面の側下部が側下部止水ゴム50に当接し、さらに、図16に示すように扉体8の上流面の左右両側部が側部止水ゴム53に当接するため、扉体8の下縁部と各底面3d,3eとの隙間、並びに、扉体8の側縁部と取付台52との隙間がシールされる。したがって、貯留域Aの下水Wがこれら隙間を通って扉体8の下流側へ流出するのを防止することができ、上記小開口17以外から下水Wが勝手に下流側へ流出することを防ぐことができる。
【0036】
また、図16に示すように、流入口5から特殊人孔2へ流れ込んだ下水Wは両ガイド板56によって扉体8の上流面側へ向けて案内され、この際、両ガイド板56の下流側ほど下水Wの流れが左右方向において絞られる。これにより、扉体8の左右方向のサイズを小型化することができ、さらに、下水Wが両ガイド板56によって整流されて円滑に流れる。
【0037】
また、豪雨等によって、水位検出計64で検出された水位が設定水位以上に増加した場合、制御装置65は制御弁63を切換えて油圧シリンダ装置15のロッド側に作動油を供給し、ピストンロッド38が退入して、図3,図4に示すように、扉体8が閉位置Sから全開位置Oまで回動する。これにより、上記貯留域Aに貯留されていた下水Wが扉体8の上流側から下流側へ流れるため、扉体8の上流側の生活施設が浸水するのを防止することができる。
【0038】
また、上記のように扉体8を閉位置Sから全開位置Oまで回動させる際、発泡スチロール30によって生じた浮力が扉体8の開方向へ働くため、扉体8の開動作に要する駆動力が減少し、これにともなって、油圧シリンダ装置15の容量を小さくして小型化を図ることができる。
【0039】
また、扉体8を閉じた状態で、万一、停電や故障等により油圧ポンプ等が停止して油圧シリンダ装置15が作動不能となり、扉体8を開くことができない異常事態に陥った場合であっても、制御弁63によってピストンロッド38の出退をフリーな状態に切換えることにより、図3に示すように、扉体8がカウンターウェイト41の付勢力によって緊急に開かれる。この際、扉体8はストッパー58に当接することで全開位置Oに規制される。したがって、豪雨等によって下水Wの流量が増加している時に上記のような異常事態に陥っても、扉体8の上流側の生活施設が浸水するのを防止することができる。さらに、発泡スチロール30によって生じた浮力が扉体8の開方向へ働くため、カウンターウェイト41の重量を減らして小型軽量化を図ることができる。
【0040】
また、カウンターウェイト41は幹線管路1よりも高い位置に設定されているため、カウンターウェイト41によって下水Wの流れが阻害されることはなく、スムーズに特殊人孔2内を流れる。
【0041】
また、図1に示すように、扉体8を流入口5と排出口6との前後間のほぼ中央部に配置したことによって、流入口5から閉位置Sの扉体8の上方を越えて排出口6へ連通する流通空間B(点線矢印部分)が形成される。したがって、万一、故障等によって扉体8を開くことができない場合でも、下水Wは流入口5から流通空間Bを通り扉体8からオーバーフローして排出口6へ流れるため、特殊人孔2の上流側の幹線管路1内の下水Wが地上へ溢れ出すのを防止することができる。
【0042】
また、上記のようなフラップゲート9を特殊人孔2内に設置する場合、図11に示すように各ボルト22,24,26,70とナット25,71と接合板69とを取外して、図9(b)に示すように扉体8を個々のブロック18に分割するとともに、各箱体20から蓋板21を取外し、この状態で、個々のブロック18を地上から人孔4を通して特殊人孔2内に搬入する。そして、特殊人孔2内で、各ボルト22,24,26,70とナット25,71と接合板69とを取付けて、各箱体20に蓋板21を取付けるとともに各ブロック18同士を連結することにより、扉体8を組立てることができる。尚、上記各ボルト24,26とナット25,71との着脱は開口部19を通して行う。
【0043】
さらに、支軸10と軸受け12と軸受台13と支持フレーム14といった各部材をそれぞれ個別に地上から人孔4を通して特殊人孔2内に搬入し、特殊人孔2内で上記各部材同士をボルト,ナット(図示省略)等で連結してフラップゲート9を組立てる。
【0044】
尚、上記のようにしてフラップゲート9を組立てて据付ける際、図12に示すように、ナット34を回して、小扉体32を扉体8に対して上下移動させることにより、小扉体32の下方の開口面積を増減することができる。これにより、下水処理場の処理能力等に応じて、小開口17(すなわち小扉体32の下方)を流れる下水Wの流量を調整することができる。
【0045】
上記実施の形態では、浮体の一例として発泡スチロール30を用いたが、木片等を用いてもよい。また、各ブロック18内に水密な空洞部を形成して、扉体8に浮力を与えてもよい。
【0046】
上記実施の形態では、流量制御手段の一例としてフラップゲート9を挙げたが、フラップゲート9に限定されるものではなく、可動堰、制水扉、起伏ゲート等であってもよい。
【0047】
上記実施の形態では、異常等の発生により、制御弁63によってピストンロッド38の出退をフリーな状態に切換えた場合、扉体8がカウンターウェイト41の付勢力によって開かれるように構成されているが、カウンターウェイト41の代わりにアキュムレーターを設け、アキュムレーターから油圧シリンダ装置15へ作動油を供給して、ピストンロッド38を強制的に退入させ、扉体8を開けるように構成してもよい。
【0048】
上記実施の形態では、油圧シリンダ装置15を用いて扉体8を開閉しているが、エアシリンダ装置を用いてもよい。また、上記扉体8の開閉を1台の油圧シリンダ装置15で行っているが、2台の油圧シリンダ装置15で行ってもよい。この場合、両油圧シリンダ装置15のピストンロッド38はそれぞれクランクアーム39を介して支軸10の両端部に連結される。
【0049】
上記実施の形態では、図12に示すように、ボルト33とナット34とを用いて、小扉体32を閉位置Sの扉体8に対して上下移動させているが、上記ボルト33,ナット34の代わりにシリンダを用いて小扉体32を上下移動させてもよい。
【0050】
上記実施の形態では、図14の実線に示すように、幹線管路1内を流れる下水Wの水位を水位検出計64で検出し、検出された水位に基づいて扉体8を開閉する制御を行っているが、水位の代わりに下水Wの流量を流量計で測定し、測定された流量が設定流量未満である場合、扉体8を閉じ、設定流量以上の場合、扉体8を全開させてもよい。また、上記水位検出計64の代わりに、図14の仮想線で示すように、地上に降雨量測定装置67を設置し、上記降雨量測定装置67で測定された降雨量が設定降雨量未満である場合、扉体8を閉じ、設定降雨量以上の場合、扉体8を全開させてもよい。さらに、上記のように実際に下水の水位や降雨量を検出するのではなく、天気予報における降雨量の予測データに基づいて、扉体8を開閉してもよい。
【0051】
【発明の効果】
以上のように本発明によれば、降雨量や降雨時に幹線管路を流れる下水の流量もしくは水位の何れかが設定量未満の場合、扉体を閉じる。これにより、扉体が堰の役割を果たして、扉体の上流側の幹線管路に貯留域が形成され、この貯留域に下水(生活排水や雨水)が一時貯留される。したがって、小雨時等において、下水が増量しても、上記貯留域に一時貯留されるため、従来のような特別な貯留施設を別途設ける必要はない(或いは貯留施設の数を低減することができる)。
【0052】
また、豪雨等によって、降雨量や降雨時に幹線管路を流れる下水の流量もしくは水位の何れかが設定量以上に増加した場合、扉体を開く。これにより、上記貯留域に貯留されていた下水が扉体の上流側から下流側へ流れるため、扉体の上流側の生活施設が浸水するのを防止することができる。
【図面の簡単な説明】
【図1】本発明の実施の形態における特殊人孔の側面から見た断面図であり、扉体を閉じた状態を示す。
【図2】図1における扉体部分の拡大図である。
【図3】同、特殊人孔の側面から見た断面図であり、扉体を全開した状態を示す。
【図4】図3における扉体部分の拡大図である。
【図5】同、特殊人孔の正面から見た断面図であり、扉体を閉じた状態を示す。
【図6】同、特殊人孔の上方から見た断面図であり、扉体を閉じた状態を示す。
【図7】同、特殊人孔のフラップゲートの軸受け部分の平面図である。
【図8】同、特殊人孔のフラップゲートの軸受け部分の側面図である。
【図9】同、特殊人孔の扉体の正面図であり、(a)は組立てた状態、(b)は分解した状態を示す。
【図10】同、特殊人孔の扉体と支軸との連結部の断面図である。
【図11】図10におけるX−X矢視図である。
【図12】同、特殊人孔の扉体の小開口部分の側面断面図である。
【図13】図9におけるX−X矢視図である。
【図14】同、特殊人孔のフラップゲートの制御系のブロック図である。
【図15】同、特殊人孔の扉体の側下部のシール構造を示す側面図である。
【図16】同、特殊人孔の扉体の側部のシール構造を示す平面図である。
【符号の説明】
1 幹線管路
2 特殊人孔
3f 側壁
4 人孔
5 流入口
6 排出口
8 扉体
9 フラップゲート(流量制御手段)
15 シリンダ装置
17 小開口
18 ブロック
30 発泡スチロール(浮体)
32 小扉体
41 カウンターウェイト
56 ガイド板

Claims (8)

  1. 合流式下水道の幹線管路の途中に設けられた特殊人孔の構造であって、上記特殊人孔内に、降雨量、降雨時に幹線管路を流れる下水の流量もしくは水位の何れかを指標として開閉制御する扉体を有する流量制御手段を設け、流量制御手段が特殊人孔の底部に当接する扉体の縁部に小開口を有し、かつ幹線管路を流れる下水の流量もしくは水位の何れかが設定量未満の場合に扉体を閉じて扉体を堰として扉体の上流側の幹線管路に貯留域を形成し、扉体を閉じた状態で下水を小開口から扉体の下流側へ流すことを特徴とする合流式下水道の特殊人孔の構造。
  2. 流量制御手段は、幹線管路を流れる下水の流量もしくは水位の何れかが設定量以上に増加した場合に扉体を開くことを特徴とする請求項1に記載の合流式下水道の特殊人孔の構造。
  3. 扉体に、小開口を流れる流水の流量を調整する小扉体が設けられていることを特徴とする請求項1に記載の合流式下水道の特殊人孔の構造。
  4. 特殊人孔の側壁面に、流水を扉体の上流面側へ向けて案内するガイド板を設けたことを特徴とする請求項1から請求項3のいずれかに記載の合流式下水道の特殊人孔の構造。
  5. 特殊人孔に出入り用の人孔が形成され、扉体は上記人孔を通過可能な形状の複数のブロックの集合体からなり、上記各ブロック同士が着脱自在に連結されていることを特徴とする請求項1から請求項4のいずれかに記載の合流式下水道の特殊人孔の構造。
  6. 流量制御手段はフラップゲートからなり、扉体に浮力を与える浮体を設けたことを特徴とする請求項1から請求項5のいずれかに記載の合流式下水道の特殊人孔の構造。
  7. 特殊人孔内に、扉体を開方向へ付勢するカウンターウェイトと、このカウンターウェイトの付勢力に抗して扉体を開閉させるシリンダ装置とが設けられ、上記カウンターウェイトは、流水の流れを阻害しない位置に設けられていることを特徴とする請求項1から請求項6のいずれかに記載の合流式下水道の特殊人孔の構造。
  8. 扉体は特殊人孔の上流側に開口した流入口と下流側に開口した排出口との間の中央部に配置されていることを特徴とする請求項1から請求項7のいずれかに記載の合流式下水道の特殊人孔の構造。
JP2002104602A 2002-04-08 2002-04-08 合流式下水道の特殊人孔の構造 Expired - Fee Related JP3979868B2 (ja)

Priority Applications (1)

Application Number Priority Date Filing Date Title
JP2002104602A JP3979868B2 (ja) 2002-04-08 2002-04-08 合流式下水道の特殊人孔の構造

Applications Claiming Priority (1)

Application Number Priority Date Filing Date Title
JP2002104602A JP3979868B2 (ja) 2002-04-08 2002-04-08 合流式下水道の特殊人孔の構造

Publications (2)

Publication Number Publication Date
JP2003301510A JP2003301510A (ja) 2003-10-24
JP3979868B2 true JP3979868B2 (ja) 2007-09-19

Family

ID=29389746

Family Applications (1)

Application Number Title Priority Date Filing Date
JP2002104602A Expired - Fee Related JP3979868B2 (ja) 2002-04-08 2002-04-08 合流式下水道の特殊人孔の構造

Country Status (1)

Country Link
JP (1) JP3979868B2 (ja)

Families Citing this family (4)

* Cited by examiner, † Cited by third party
Publication number Priority date Publication date Assignee Title
KR101215187B1 (ko) 2012-03-26 2012-12-24 장경란 차집시설 유량조절장치
KR101185905B1 (ko) 2012-06-29 2012-09-26 주식회사 엔포텍디에스 우수 토실 유량 제어 장치
KR101313175B1 (ko) 2013-06-10 2013-09-30 전영빈 자동거치 플랩밸브조립체
CN111877530B (zh) * 2020-07-30 2022-05-06 中国一冶集团有限公司 一种排水管道自动冲洗装置

Also Published As

Publication number Publication date
JP2003301510A (ja) 2003-10-24

Similar Documents

Publication Publication Date Title
US6338594B1 (en) Movable barrier wall
KR101557744B1 (ko) 저층수 배출이 가능한 가동보 수문
JP3283209B2 (ja) 防水板の自動操作機構
KR101129042B1 (ko) 수문 구조체
JP3979868B2 (ja) 合流式下水道の特殊人孔の構造
KR200355906Y1 (ko) 수문의 구조
KR102176605B1 (ko) 양방향 이중개폐식 저층수 배출장치
KR101428633B1 (ko) 부력을 이용한 수문 개폐장치
JP3711502B2 (ja) 堰等の水位の変化を利用した無動力自動起立倒伏ゲート
JP4073195B2 (ja) 水圧駆動式の防水装置
JP3976605B2 (ja) 合流式下水道における流量制御方法
JP4550233B2 (ja) 可動防水装置
KR101922437B1 (ko) 부력을 이용한 플랩형도어를 갖는 배수펌프장 수문
KR20120040301A (ko) 자동식 회전형 수문 장치
KR20040042669A (ko) 댐 수위 자동 조절장치
KR20040108445A (ko) 부력식 가동보
KR20170081378A (ko) 저층수 배출용 배수도어를 갖춘 수문배수장치
KR200371612Y1 (ko) 지수막 가스켓을 이용한 이탈방지 및 역류방지용 하천수문
KR102681742B1 (ko) 측면 농수로용 수량 감응형 수문
JP2007205212A (ja) 発電装置付きゲート
KR20210048828A (ko) 무동력 자동수문
KR101017404B1 (ko) 복개천 방류부 개폐 장치
JP3088524U (ja) 補助ゲート付きゲートポンプ設備
JP3742776B2 (ja) 制水扉付きゲートポンプ設備
KR200395475Y1 (ko) 수로 개폐장치

Legal Events

Date Code Title Description
A621 Written request for application examination

Free format text: JAPANESE INTERMEDIATE CODE: A621

Effective date: 20050302

A977 Report on retrieval

Free format text: JAPANESE INTERMEDIATE CODE: A971007

Effective date: 20061212

A131 Notification of reasons for refusal

Free format text: JAPANESE INTERMEDIATE CODE: A131

Effective date: 20061219

A521 Written amendment

Free format text: JAPANESE INTERMEDIATE CODE: A523

Effective date: 20070219

A711 Notification of change in applicant

Free format text: JAPANESE INTERMEDIATE CODE: A711

Effective date: 20070405

TRDD Decision of grant or rejection written
A521 Written amendment

Free format text: JAPANESE INTERMEDIATE CODE: A821

Effective date: 20070405

A01 Written decision to grant a patent or to grant a registration (utility model)

Free format text: JAPANESE INTERMEDIATE CODE: A01

Effective date: 20070529

A61 First payment of annual fees (during grant procedure)

Free format text: JAPANESE INTERMEDIATE CODE: A61

Effective date: 20070626

R150 Certificate of patent or registration of utility model

Free format text: JAPANESE INTERMEDIATE CODE: R150

FPAY Renewal fee payment (event date is renewal date of database)

Free format text: PAYMENT UNTIL: 20100706

Year of fee payment: 3

S531 Written request for registration of change of domicile

Free format text: JAPANESE INTERMEDIATE CODE: R313531

FPAY Renewal fee payment (event date is renewal date of database)

Free format text: PAYMENT UNTIL: 20100706

Year of fee payment: 3

R350 Written notification of registration of transfer

Free format text: JAPANESE INTERMEDIATE CODE: R350

FPAY Renewal fee payment (event date is renewal date of database)

Free format text: PAYMENT UNTIL: 20110706

Year of fee payment: 4

FPAY Renewal fee payment (event date is renewal date of database)

Free format text: PAYMENT UNTIL: 20110706

Year of fee payment: 4

FPAY Renewal fee payment (event date is renewal date of database)

Free format text: PAYMENT UNTIL: 20120706

Year of fee payment: 5

FPAY Renewal fee payment (event date is renewal date of database)

Free format text: PAYMENT UNTIL: 20130706

Year of fee payment: 6

R250 Receipt of annual fees

Free format text: JAPANESE INTERMEDIATE CODE: R250

LAPS Cancellation because of no payment of annual fees