JP3978451B2 - 発光装置 - Google Patents

発光装置 Download PDF

Info

Publication number
JP3978451B2
JP3978451B2 JP2005217626A JP2005217626A JP3978451B2 JP 3978451 B2 JP3978451 B2 JP 3978451B2 JP 2005217626 A JP2005217626 A JP 2005217626A JP 2005217626 A JP2005217626 A JP 2005217626A JP 3978451 B2 JP3978451 B2 JP 3978451B2
Authority
JP
Japan
Prior art keywords
light
light emitting
emitting element
translucent
translucent part
Prior art date
Legal status (The legal status is an assumption and is not a legal conclusion. Google has not performed a legal analysis and makes no representation as to the accuracy of the status listed.)
Expired - Lifetime
Application number
JP2005217626A
Other languages
English (en)
Other versions
JP2007035951A (ja
Inventor
智也 田淵
徹 三宅
大輔 作本
Current Assignee (The listed assignees may be inaccurate. Google has not performed a legal analysis and makes no representation or warranty as to the accuracy of the list.)
Kyocera Corp
Original Assignee
Kyocera Corp
Priority date (The priority date is an assumption and is not a legal conclusion. Google has not performed a legal analysis and makes no representation as to the accuracy of the date listed.)
Filing date
Publication date
Application filed by Kyocera Corp filed Critical Kyocera Corp
Priority to JP2005217626A priority Critical patent/JP3978451B2/ja
Publication of JP2007035951A publication Critical patent/JP2007035951A/ja
Application granted granted Critical
Publication of JP3978451B2 publication Critical patent/JP3978451B2/ja
Anticipated expiration legal-status Critical
Expired - Lifetime legal-status Critical Current

Links

Images

Classifications

    • H10W70/655
    • H10W74/00
    • H10W90/724

Landscapes

  • Led Device Packages (AREA)
  • Fastening Of Light Sources Or Lamp Holders (AREA)

Description

本発明は、発光素子から発光される光を蛍光体で波長変換し、外部に放射する発光装置に関する。
従来の発光ダイオード(LED)等の発光素子214を収容するための発光装置211を図18に示す。図18に示すように、発光装置は、上面の中央部に発光素子214を載置するための搭載部212aを有し、搭載部212aおよびその周辺から発光装置の内外を電気的に導通接続するリード端子やメタライズ配線等からなる配線導体(図示せず)が形成された絶縁体から成る基体212と、基体212の上面に接着固定され、中央部に発光素子214を収納するための貫通孔が形成された、金属、樹脂またはセラミックス等から成る枠体213とから主に構成される。
基体212は、酸化アルミニウム質焼結体(アルミナセラミックス)や窒化アルミニウム質焼結体、ムライト質焼結体、ガラスセラミックス等のセラミックス、またはエポキシ樹脂等の樹脂から成る。基体212がセラミックスから成る場合、その上面にメタライズ配線層がタングステン(W)、モリブデン(Mo)−マンガン(Mn)等から成る金属ペーストを高温で焼成して形成される。また、基体212が樹脂から成る場合、基体212をモールド成型する際に、銅(Cu)や鉄(Fe)−ニッケル(Ni)合金等から成るリード端子が基体212の内部に一端部が突出するように固定される。
また、枠体213は、アルミニウム(Al)やFe−Ni−コバルト(Co)合金等の金属、アルミナ質焼結体等のセラミックスまたはエポキシ樹脂等の樹脂から成り、切削加工や金型成型、押し出し成型等により形成される。さらに、枠体213の中央部には上方に向かうに伴って外側に広がる貫通孔が形成されており、貫通孔の内周面の光の反射率を向上させる場合、この内周面にAl等の金属が蒸着法やメッキ法により被着される。そして、枠体213は、半田、銀ロウ等のロウ材または樹脂接着剤により、基体212の上面に接合される。
そして、基体212表面に形成した配線導体(図示せず)と発光素子214の電極とをボンディングワイヤ(図示せず)を介して電気的に接続し、しかる後、発光素子214の表面に蛍光体層217を形成した後に、枠体213の内側に透明樹脂215を充填し熱硬化させることで、発光素子214からの光を蛍光体層217により波長変換し所望の波長スペクトルを有する光を取り出せる発光装置と成すことができる。また、発光素子214として発光波長が300〜400nmの紫外領域を含むものを選び、蛍光体層217に含まれる赤、青、緑の3原色の蛍光体粒子の混合比率を調整することで色調を自由に設計することができる。
また一般的に蛍光体粒子は粉体であり、蛍光体単独では蛍光体層217の形成が困難なため、樹脂もしくはガラスなどの透明部材中に蛍光体粒子を混入して発光素子214の表面に塗布し蛍光体層217とするのが一般的である。
特許第3065263号公報 特開2003−110146号公報
しかし、従来の発光装置211の場合、蛍光体層217で波長変換された後に蛍光体層217の下側に発光される光や、発光素子から発光された後に蛍光体層217の上面で下側に反射される光は、枠体213の内側で反射が繰り返されて減衰したり、基体212や発光素子214によって吸収され、その結果、光損失が著しく増加するという問題点を有していた。
また、発光素子214から斜め上方向に発光された光は、枠体213で反射されることなく発光装置211の外側に大きな放射角度で放射されるため、放射角度が大きくなって軸上光度が低いという問題点も有していた。
したがって、本発明は上記従来の問題点に鑑みて完成されたものであり、その目的は、光取り出し効率を向上させ、放射光強度、軸上光度および輝度が高い発光装置を提供することである。
本発明に係る発光装置は、基体と、
該基体上に搭載された発光素子と、
前記基体上に配置されており、前記発光素子を囲む反射面と、
該反射面の内側に前記発光素子を覆って設けられた第1の透光性部と、
該第1の透光性部の上方に設けられており、前記発光素子から放射された光を波長変換する第2の透光性部と、
前記第1の透光性部と前記第2の透光性部との間に設けられた気体層とを備えており、
前記第1の透光性部の上面と前記第2の透光性部の下面との間の距離が、全面的に同じであり、
前記反射面は、前記気体層の下側でかつ発光素子の搭載領域の上側に、前記第1の透光性部に接する傾斜領域を有していることを特徴とする。
また本発明において、前記第1の透光性部は、前記反射面の内側の全体にわたって平坦な上面を有することが好ましい。
また本発明において、前記発光素子が、近紫外域または紫外域に発光ピーク波長を有する発光ダイオードであることが好ましい。
本発明によれば、反射面は、気体層の下側でかつ発光素子の搭載領域の上側に、第1の透光性部に接する傾斜領域を有することによって、発光素子を覆う第1の透光性部から放射される光の進行方向を制御して、第2の透光性部における光波長の変換むらを低減させることができる。その結果、発光装置の発光特性を向上させることができる。
さらに、前記発光素子は、近紫外域または紫外域に主発光ピークを有する発光ダイオードであることが好ましい。これにより外部に放出される可視光は、全て第2の透光性部に含有されている蛍光体によって波長変換された光に由来することになる。その結果、光の混色割合を設計する際、発光素子からの光の影響が小さくなり、蛍光体の成分調整だけで済むようになる。
(第1実施形態)
図1Aおよび図1Bは、本発明の第1実施形態を示す断面図である。まず図1Aに示すように、発光装置1は、基体2と、発光素子4と、第1の透光性部5と、第2の透光性部7と、第3の透光性部Gなどで構成される。
基体2は、上面から下面または側面にかけて、発光素子4に電流を供給するための配線導体が形成される。
発光素子4は、基体2の配線導体と電気的に接続されるように、基体2の上面に搭載される。
第1の透光性部5は、透光性材料で形成されており、発光素子4を被覆する。
第2の透光性部7は、発光素子4が発光する光を波長変換する蛍光体を含有した透光性材料で形成されており、第1の透光性部5の上方に、第1の透光性部5を覆うように設けられる。
第3の透光性部Gは、第1の透光性部5と第2の透光性部7との間に設けられる。
第1の透光性部5、第2の透光性部7および第3の透光性部Gは、発光素子4を中心とした曲面状に形成している。
本実施形態では、第1の透光性部5の屈折率をn1、第2の透光性部7の屈折率をn2、第3の透光性部Gの屈折率をn3としたとき、n3<n1およびn3<n2の関係を満たすように、第1の透光性部5、第2の透光性部7および第3の透光性部Gの材質を選定している。
具体的には、第1の透光性部5として、シリコーン樹脂(屈折率:1.41〜1.52)、エポキシ樹脂(屈折率:1.55〜1.61)、アクリル樹脂(屈折率:約1.48)、フッ素樹脂(屈折率:約1.31)、ポリカーボネート樹脂(屈折率:約1.59)、ポリイミド樹脂(屈折率:約1.68)等が使用できる。
また、第2の透光性部7として、シリコーン樹脂(屈折率:1.41〜1.52)、エポキシ樹脂(屈折率:1.55〜1.61)、アクリル樹脂(屈折率:約1.48)、フッ素樹脂(屈折率:約1.31)、ポリカーボネート樹脂(屈折率:約1.59)等が使用でき、さらに第2の透光性部7に含有される蛍光体として、LaS:Eu、LiEuW、ZnS:Ag、SrAl:Eu、ZnS:Cu,Al、ZnCdS:Ag、ZnS:Cu、(BaMgAl)1012:Eu、SrCaS:Eu、(Sr,Ca,Ba,Mg)10(POCl:Eu等が使用できる。
また、第3の透光性部Gとして、シリコーン樹脂やエポキシ樹脂、フッ素樹脂等が使用でき、あるいは空気等からなる気体層で構成することもできる。いずれの場合も、n3<n1およびn3<n2の関係を満たすよう材料を選定する。例えば、発光素子から発せられる光が紫外域から近紫外域に主発光ピークを有する場合、紫外域から近紫外域において透過率が高く、黄変や強度劣化の生じ難いシリコーン樹脂を用いるのがよく、この場合、第1および第2の透光性部5,7として、屈折率が1.52であるシリコーン樹脂を用い、第3の透光性部として、屈折率が1.41であるシリコーン樹脂を用いる。これにより、本発明の発光装置を構成することができる。
こうした構成によって、蛍光体を含有する第2の透光性部7は、第2の透光性部7よりも屈折率の低い第3の透光性部Gに接しているため、第2の透光性部7の中に含有される蛍光体で波長変換された後、蛍光体から下側方向に発せられる光および第2の透光性部7の上面で下側方向に反射された光の大部分は、全反射等によって第2の透光性部7の下面によって反射され、上方に向けて光を進行させることができる。
また、外部から発光装置内部へ入射する光の大部分は、全反射等によって第2の透光性部7と第3の透光性部Gとの界面で反射されることから、外部光に起因する部材の劣化、例えば、第1の透光性部5の強度や透過率、接着強度の劣化を抑制することができる。
また、第1の透光性部5全体を覆うように蛍光体含有の第2の透光性部7が設けられていることから、発光素子4から出た光が漏れなく第2の透光性部7に入射して波長変換されるため、発光効率が上がる。
さらに、第3の透光性部Gとして、屈折率が1.0前後の気体層で構成することが好ましく、屈折率が1.5前後である樹脂などを充填する場合と比べて、第2の透光性部7の中に含有される蛍光体で波長変換された後、蛍光体から下側方向に発せられる光および第2の透光性部7の上面で下側方向に反射された光の大部分を第2の透光性部7の下面でより多く反射でき、上方に光を進行させることができる。
また、外部環境から発光素子4までの間に第3の透光性部Gとして気体層を設けることにより、断熱効果が得られる。そのため外部環境からの熱が発光素子4に伝達されることを抑制することができる。その結果、発光素子4の温度変動に起因した波長変動が抑制され、発光装置から放出される光の色変動が抑制される。
さらに本実施形態において、第3の透光性部Gの厚みは略一定であることが好ましい。第3の透光性部Gの厚みは、第1の透光性部5の上面と第2の透光性部7の下面との間の距離に相当し、全体として±5%の誤差の範囲であることが好ましい。
仮に、第3の透光性部Gの上面または下面に凹凸などがあり、厚みが略一定でないとすると、上下面で屈折が起きて、光の強度分布が変動する可能性がある。そのため第3の透光性部Gの厚みを略一定とすることで、第1の透光性部5から第2の透光性部7に入射する光の強度分布が変動しなくなるため、第2の透光性部7で波長変換される光量分布もほぼ均一となり、発光面における色バラツキや色むらを抑制することができる。
次に図1Bにおいては、基体2の形状を工夫しており、発光素子4を搭載する基体2の上面はフラットで、発光素子4が搭載される基板1の上面から周辺に向かって上方に傾斜した円錐面を形成している。こうした傾斜面を設けることによって、発光素子4から放射された光は上方に指向するようになるため、光の利用効率が向上する。
(第2実施形態)
図2は、本発明の第2実施形態を示す断面図である。発光装置1は、基体2と、枠体3と、発光素子4と、第1の透光性部5と、第2の透光性部7と、第3の透光性部Gなどで構成される。
基体2は、上面から下面または側面にかけて、発光素子4に電流を供給するための配線導体が形成される。
発光素子4は、基体2の配線導体と電気的に接続されるように、基体2の上面に搭載される。
枠体3は、基体2の上に固定され、発光素子4を取り囲むように上向きに傾斜した内面を有する。枠体3の内面は、光利用効率の点で光反射性であることが好ましい。
第1の透光性部5は、透光性材料で形成されており、発光素子4を被覆する。
第2の透光性部7は、発光素子4が発光する光を波長変換する蛍光体を含有した透光性材料で形成されており、第1の透光性部5の上方に、第1の透光性部5を覆うように設けられる。
第3の透光性部Gは、第1の透光性部5と第2の透光性部7との間に設けられる。
第1の透光性部5、第2の透光性部7および第3の透光性部Gは、基体2の上面とほぼ平行な多層構成が得られるように、水平な界面を有する。
本実施形態では、第1の透光性部5の屈折率をn1、第2の透光性部7の屈折率をn2、第3の透光性部Gの屈折率をn3としたとき、n3<n1およびn3<n2の関係を満たすように、第1の透光性部5、第2の透光性部7および第3の透光性部Gの材質を選定している。具体的な材質は、上述の実施形態で列挙したものが使用でき、これらの材質を適宜組合せることによって、n3<n1およびn3<n2の関係を満たすことが可能である。
こうした構成によって、蛍光体を含有する第2の透光性部7は、第2の透光性部7よりも屈折率の低い第3の透光性部Gに接しているため、第2の透光性部7の中に含有される蛍光体で波長変換された後、蛍光体から下側方向に発せられる光および第2の透光性部7の上面で下側方向に反射された光の大部分は、全反射等によって第2の透光性部7の下面によって反射され、上方に向けて光を進行させることができる。
また、外部から発光装置内部へ入射する光の大部分は、全反射等によって第2の透光性部7と第3の透光性部Gとの界面で反射されることから、外部光に起因する部材の劣化、例えば、第1の透光性部5の強度や透過率、接着強度の劣化を抑制することができる。
また、第1の透光性部5全体を覆うように蛍光体含有の第2の透光性部7が設けられていることから、発光素子4から出た光が漏れなく第2の透光性部7に入射して波長変換されるため、発光効率が上がる。
さらに、第3の透光性部Gとして、屈折率が1.0前後の気体層で構成することが好ましく、屈折率が1.5前後である樹脂などを充填する場合と比べて、第2の透光性部7の中に含有される蛍光体で波長変換された後、蛍光体から下側方向に発せられる光および第2の透光性部7の上面で下側方向に反射された光の大部分を第2の透光性部7の下面でより多く反射でき、上方に光を進行させることができる。
また、外部環境から発光素子4までの間に第3の透光性部Gとして気体層を設けることにより、断熱効果が得られる。そのため外部環境からの熱が発光素子4に伝達されることを抑制することができる。その結果、発光素子4の温度変動に起因した波長変動が抑制され、発光装置から放出される光の色変動が抑制される。
さらに本実施形態において、第3の透光性部Gの厚みは略一定であることが好ましい。第3の透光性部Gの厚みは、第1の透光性部5の上面と第2の透光性部7の下面との間の距離に相当し、全体として±5%の誤差の範囲であることが好ましい。
仮に、第3の透光性部Gの上面または下面に凹凸などがあり、厚みが略一定でないとすると、上下面で屈折が起きて、光の強度分布が変動する可能性がある。そのため第3の透光性部Gの厚みを略一定とすることで、第1の透光性部5から第2の透光性部7に入射する光の強度分布が変動しなくなるため、第2の透光性部7で波長変換される光量分布もほぼ均一となり、発光面における色バラツキや色むらを抑制することができる。
(第3実施形態)
図3Aおよび図3Bは、本発明の第3実施形態を示す断面図である。まず図3Aに示すように、発光装置1は、基体2と、枠体3と、発光素子4と、第1の透光性部5と、第2の透光性部7と、第3の透光性部Gなどで構成される。
基体2は、上面から下面または側面にかけて、発光素子4に電流を供給するための配線導体が形成される。
発光素子4は、基体2の配線導体と電気的に接続されるように、基体2の上面に搭載される。
枠体3は、基体2の上に固定され、発光素子4を取り囲むように上向きに傾斜した内面を有する。枠体3の内面は、光利用効率の点で光反射性であることが好ましい。
第1の透光性部5は、透光性材料で形成されており、発光素子4を被覆する。
第2の透光性部7は、発光素子4が発光する光を波長変換する蛍光体を含有した透光性材料で形成されており、第1の透光性部5の上方に、第1の透光性部5を覆うように設けられる。
第3の透光性部Gは、第1の透光性部5と第2の透光性部7との間に設けられる。
本実施形態では、第1の透光性部5の屈折率をn1、第2の透光性部7の屈折率をn2、第3の透光性部Gの屈折率をn3としたとき、n3<n1およびn3<n2の関係を満たすように、第1の透光性部5、第2の透光性部7および第3の透光性部Gの材質を選定している。具体的な材質は、上述の実施形態で列挙したものが使用でき、これらの材質を適宜組合せることによって、n3<n1およびn3<n2の関係を満たすことが可能である。こうした関係を満たすことによって、上述したように、光の利用効率が向上する。
さらに、図3Aに示すように、第1の透光性部5の下面、第2の透光性部7の上面、第2の透光性部7と第3の透光性部Gの界面は、基体2の上面とほぼ平行な界面を有し、第1の透光性部5の上面形状は、凹面状であることが好ましい。これにより第1の透光性部5と第3の透光性部Gとの界面は、光を拡散する凹レンズとして機能するようになる。そのため発光素子4からの光は、第2の透光性部7全体を均等に照らすようになり、発光装置1の発光分布が均一化される。
この代替として、図3Bに示すように、第1の透光性部5の上面形状は、凸面状であることが好ましい。これにより第1の透光性部5と第3の透光性部Gとの界面は、光を集光する凸レンズとして機能するようになる。そのため発光素子4からの光は、第2の透光性部7に効率よく入射するようになり、発光装置1の発光強度が向上する。
以下、具体的な実施例について説明する。
(実施例11)
発光素子が搭載される基体の上面から基体の外表面にかけて配線導体が形成された、幅15mm×奥行き15mm×厚さ1mmの板状のアルミナセラミックス基板を準備した。
また、発光素子が搭載される基体は、上面に発光素子の電極と接続される一対の円形パッドを有しており、Mo−Mn粉末を焼成して得られたメタライズ層によって成形されている。
またさらに、この一対の円形パッドの表面には、厚さ3μmのNiメッキ層と厚さ3μmのAuメッキ層とを電解メッキ法によって順次被着している。
そして、上述の基体の上面に、発光素子を取り囲むように、アクリル樹脂から成る接着材を介して、15mm×15mm×厚さ5mmの表面を化学研磨したAl(アルミニウム)から成る枠状の反射部材を取着した。なお、この反射部材は、下端部の内周径φが5mm、上端部の内周径φが10mmの、内周面が上端部に向かうに従って広がる直線状の傾斜面が形成された貫通孔を有している。
次に、上述の円形パッドにAgペーストを介して、405nmの波長にピークを有する近紫外光を発する、0.35mm×0.35mm×厚さ0.1mmの窒化物系化合物半導体から成る発光素子の一対の電極を接着固定した。
その後、シリコーン樹脂から成る屈折率n1=1.41の第1の透光性部5を、ディスペンサーを用いて発光素子を覆うように反射部材の内側に厚さ2.5mmとなるように滴下し、熱硬化した。
一方、LaS:Eu(赤色蛍光体)、ZnS:Cu,Al(緑色蛍光体)、(BaMgAl)1012:Eu(青色蛍光体)をエポキシ樹脂に含有させた、屈折率n2=1.55で、厚み0.5mmの板状の第2の透光性部7を形成した。この第2の透光性部を、第1の透光性部5全体を覆うように、第1の透光性部5の上方に配置させ、反射部材に接着させることによって、発光装置を形成した。このとき、第1の透光性部5と第2の透光性部7とは、2mmの隙間を空けるようにして設けられており、この隙間が屈折率n3=1の第3の透光性部Gとして機能する。以下の実施例においても同様である。
(実施例12)
厚みが0.5mmで、シリコーン樹脂から成る屈折率n4=1.41の板状に形成された第4の透光性部6を、第2の透光性部7の下面に密着させた以外は、実施例11と同様にして、発光装置を形成した。ここで、第4の透光性部6の屈折率n4が、第2の透光性部7の屈折率n2に比べて小さいことが、実施例11との違いである。
(比較例11)
反射部材の内周面と第2の透光性部7で取り囲まれる発光装置の内部に第1の透光性部5を充填し、第3の透光性部Gおよび第4の透光性部6を設けない以外は、実施例12と同様にして発光装置を形成した。
実施例11,12および比較例11の各全光束量を測定したところ、実施例11の全光束量は、比較例11に対して約3%程度多く、実施例12の全光束量は、比較例11に対し約7%程度多かった。よって、実施例11および実施例12は比較例11に比べて発光効率が良好であることが確認された。
(第4実施形態)
図4は、本発明の第4実施形態を示す断面図である。発光装置1は、基体2と、枠体3と、発光素子4と、第1の透光性部5と、第2の透光性部7と、第3の透光性部Gと、第4の透光性部6などで構成される。
基体2は、アルミナセラミックス,窒化アルミニウム質焼結体,ムライト質焼結体,ガラスセラミックス等のセラミックス、エポキシ樹脂等の樹脂、または金属から成り、発光素子4を支持する支持部材として機能する。
基体2がセラミックスの場合、発光素子4が電気的に接続されるための配線導体(図示せず)が基体2の上面やその周辺に形成されている。この配線導体が基体2の外表面に導出されて外部電気回路基板に接続されることにより、発光素子4と外部電気回路基板とが電気的に接続されることとなる。
発光素子4を配線導体に接続する方法としては、ワイヤボンディング(図示せず)を介して接続する方法、または、発光素子4の下面で半田バンプ(図示せず)により接続するフリップチップボンディング方式を用いた方法等が用いられる。好ましくは、フリップチップボンディング方式により接続するのがよい。これにより、配線導体を発光素子4の直下に設けることができるため、発光素子4の周辺の基体2の上面に配線導体を設けるためのスペースを設ける必要がなくなる。よって、発光素子4から発光された光がこの基体2の配線導体用のスペースで吸収されて放射光強度が低下するのを有効に抑制することができるとともに発光装置1を小型にすることができる。
この配線導体は、基体2がセラミックスから成る場合、例えば、W,Mo,Cu,銀(Ag)等の金属粉末のメタライズ層により形成される。または、配線導体が形成された絶縁体から成る入出力端子を基体2に設けた貫通孔に嵌着接合させることによって設けられる。また、基体2が樹脂から成る場合、例えば、Fe−Ni−Co合金等のリード端子を埋設することによって形成される。
なお、配線導体の露出する表面には、Niや金(Au)等の耐食性に優れる金属を1〜20μm程度の厚さで被着させておくのが良く、配線導体の酸化腐食を有効に防止し得るともに、発光素子4と配線導体との接続を強固にし得る。したがって、配線導体の露出表面には、例えば、厚さ1〜10μm程度のNiメッキ層と厚さ0.1〜3μm程度のAuメッキ層とが電解メッキ法や無電解メッキ法により順次被着されているのがより好ましい。
また、枠体3は、AlやFe−Ni−Co合金等の金属、アルミナセラミックス等のセラミックスまたはエポキシ樹脂等の樹脂から成り、切削加工、金型成型、押し出し成型等により形成される。
また、枠体3の内周面の表面は、その表面の算術平均粗さRaが、0.1μm以下であるのが好ましく、これにより発光素子4の光を良好に発光装置1の上側に反射することができる。Raが0.1μmを超える場合、発光素子4の枠体3の内周面で光を上側に反射し難くなるとともに発光装置1の内部で乱反射し易くなる。その結果、発光装置1の内部における光の伝搬損失が大きく成り易いとともに、所望の放射角度で光を発光装置1の外部に出射することが困難になる。
また、第2の透光性部7は、エポキシ樹脂、シリコーン樹脂、アクリル樹脂、または、ガラス等の透光性部中に、例えば、赤、青、緑の3原色の蛍光体を混入して、第2の透光性部の上面に塗布または載置することで形成される。蛍光体としては様々な材料が用いられており、例えば、赤はLaS:Eu(EuドープLaS)の蛍光体、緑はZnS:Cu,Alの蛍光体、青は(BaMgAl)1012:Euの蛍光体等の粒子状のものを用いる。さらに、このような蛍光体は1種類に限らず、複数のものを任意の割合で配合することにより、所望の発光スペクトルと色を有する光を出力することができる。
また、第2の透光性部7の厚みは0.1〜1mmであるのが好ましい。これにより、発光素子4から発光された光を効率よく波長変換させることができる。蛍光体層7の厚みが0.1mm未満であると、発光素子4から発せられた光のうち、蛍光体層7で波長変換されずに蛍光体層7を透過する割合が高くなり、波長変換効率が低下しやすくなる。また、1mmを超えると、蛍光体層7で波長変換された光が蛍光体層7で吸収されやすくなり、放射光強度が低下しやすくなる。
また、第1の透光性部5は、発光素子4を覆うように形成されている。第1の透光性部5は、発光素子4との屈折率差が小さく、紫外線領域から可視光領域の光に対して透過率の高いものから成るのがよく、例えば、第1の透光性部5は、シリコーン樹脂,エポキシ樹脂等の透明樹脂や、低融点ガラス、ゾル−ゲルガラス等から成る。これにより、発光素子4と第1の透光性部5との屈折率差により光の反射損失が発生するのを有効に抑制することができる。
好ましくは、第1の透光性部5がシリコーン樹脂から成るのが好ましい。シリコーン樹脂は発光素子4から発せられる紫外光などの光に対して劣化しにくいため、封止の信頼性の高い発光装置を提供することができる。
また、図5に示すように、第1の透光性部5が半球状であるのが好ましい。これにより、発光素子4から発せられる光の進行方向は、第1の透光性部5の上面との間の角度を直交にすることができるため、第1の透光性部5の上面で全反射することなく光を効率よく取り出すことができ、放射光強度の高い発光装置1とすることができる。
また、第3の透光性部Gとして、シリコーン樹脂やエポキシ樹脂、フッ素樹脂等が使用でき、あるいは空気等からなる気体層で構成することもできる。いずれの場合も、n3<n1およびn3<n2の関係を満たすよう材料を選定する。例えば、発光素子から発せられる光が紫外域から近紫外域に主発光ピークを有する場合、紫外域から近紫外域において透過率が高く、黄変や強度劣化の生じ難いシリコーン樹脂を用いるのがよく、この場合、第1および第2の透光性部5,7として、屈折率が1.52であるシリコーン樹脂を用い、第3の透光性部として、屈折率が1.41であるシリコーン樹脂を用いる。これにより、本発明の発光装置を構成することができる。
第2の透光性部7の下面に第4の透光性部6が形成されているのが好ましい。これにより、第2の透光性部7の下面に蛍光体が露出していたとしても、その露出した蛍光体を第4の透光性部6で覆うことにより、蛍光体から発せられた光を第4の透光性部6の下面で良好に全反射させて上側に光を進行させることができる。よって、蛍光体から直接隙間に光が発せられて光が基体2や発光素子4に吸収されるのを有効に防止し、より光取り出し効率を向上することが可能な発光装置1とすることができる。
このような第4の透光性部6は、第1の透光性部5との間に隙間をあけて第1の透光性部5を覆うように設けられ、紫外線領域から可視光領域の光に対して透過率が高いものから成るのがよい。このように、第4の透光性部6が第1の透光性部との間に隙間をあけて第1の透光性部を覆うように設けられているので、第1の透光性部5の上面から広範囲に出射した光を第4の透光性部6の下面に入射する際に基体2に対して直角な上側方向に進行させることができる。よって、第2の透光性部7中を透過する光路長を第2の透光性部7全体において近似させて波長変換効率の差によって色むらが生じるのを有効に防止することができるとともに、発光装置1の軸上へ指向性よく光を放射させて放射光強度、軸上光度および輝度を高めることができる。
さらに、第4の透光性部6の下面は、より屈折率の低い空気層等からなる第3の透光性部Gと接しているので、第2の透光性部7中の蛍光体から下側方向に発せられる光や、第2の透光性部7の上面で下側方向に反射された光の多くを第4の透光性部6の下面で全反射させることができ、光が枠体3の内側で反射を繰り返して減衰したり、基体2や発光素子4に吸収されるのを有効に防止して、光取り出し効率が低下するのを有効に抑制することができる。
なお、第3の透光性部G、即ち、第1の透光性部5と第2の透光性部7との間の隙間、または第1の透光性部5と第4の透光性部6との間の隙間は、第1の透光性部5や第4の透光性部6、蛍光体層を構成する第2の透光性部7の屈折率よりも小さくなっていればよく、必ずしも空気層である必要はない。例えば、他の気体の層であってもよく、低屈折率の透光性部の層であってもよい。
第4の透光性部6は、第2の透光性部7との屈折率差が小さく、紫外線領域から可視光領域の光に対して透過率の高いものから成るのがよく、例えば、第4の透光性部6は、シリコーン樹脂,エポキシ樹脂等の透明樹脂や、低融点ガラス、ゾル−ゲルガラス等から成る。第4の透光性部6は、蛍光体層を構成する第2の透光性部7と同じ材料であるのが好ましい。これにより、第2の透光性部7と第4の透光性部6との界面で光を良好に透過させて光損失を小さくすることができるとともに、第2の透光性部7と第4の透光性部6との熱膨張係数差による応力でこれらが剥離するのを有効に防止できる。
また、第1の透光性部5をシリコーン樹脂とするのが好ましい。シリコーン樹脂は発光素子4から発せられる紫外光などの光に対して劣化しにくいため、封止の信頼性の高い発光装置を提供することができる。
また、第1の透光性部5の厚みや、第1の透光性部5と第2の透光性部7との間隔(隙間の幅)、第1の透光性部5と第4の透光性部6との間隔(隙間の幅)、第4の透光性部6の厚みは、第1の透光性部5と第2の透光性部7の界面や第1の透光性部5と第4の透光性部6の界面における反射効率を考慮して適切に選択すれば良い。
また、発光装置の厚みが同じと仮定した場合、好ましくは、図7に示すように、第3の透光性部Gの厚さ、即ち、第1の透光性部5の上面と第2の透光性部7との間隔(隙間の幅)、または第1の透光性部5の上面と第4の透光性部6との間隔(隙間の幅)は、第1の透光性部5の厚みよりも小さくするのがよい。これにより、隙間の熱膨張を小さくするとともに隙間の熱膨張による応力を第1の透光性部5で十分吸収して発光素子4に応力が生じて発光素子4の発光特性が変化するのを良好に防止できる。
一方、光損失を低減するという観点からは、発光装置の厚みが同じと仮定した場合、第1の透光性部5と第2の透光性部6の厚みの合計(第2の透光性部6がない場合は、第1の透光性部5の厚み)が、隙間の幅(第1の透光性部5と第2の透光性部6との間隔、または第1の透光性部5と第2の透光性部7との間隔)よりも、小さくなっているのがよい。これにより、発光素子4から発光された光が外部に放出されるまでに通過する経路において、透過率が高い空気層の割合を大きくすることができ、発光装置内で閉じ込められたり、乱反射を繰り返すことによって生じる光の伝搬損失を抑制することができる
また、図6に示すように、枠体3の上面に、ガラス、サファイア、石英、またはエポキシ樹脂,シリコーン樹脂,アクリル樹脂、ポリカーボネート樹脂、ポリイミド樹脂等の樹脂(プラスチック)などの透明部材から成る蓋体8を載置固定しても良い。この場合、枠体3の内側に設置された、発光素子4、配線導体、ボンディングワイヤ、第1の透光性部5、第4の透光性部6を保護するとともに、発光装置1内部を気密に封止し、発光素子4を長期に安定した動作をさせることができる。また、蓋体8をレンズ状に形成して光学レンズの機能を付加することによって、光を集光または分散させて所望の放射角度、強度分布で光を発光装置1の外部に取りだすことができる。
また、本発明の発光装置1は、1個のものを所定の配置となるように設置して光源として用いたことにより、または複数個を、例えば、格子状や千鳥状,放射状,複数の発光装置から成る、円状や多角形状の発光装置群を同心状に複数群形成したもの等所定の配置となるように設置して光源として用いたことにより、本発明の照明装置とすることができる。これにより、光取り出し効率を向上させ、放射光強度、軸上光度および輝度が高い照明装置を提供することができる。
また、半導体から成る発光素子4の電子の再結合による発光を利用しているため、従来の放電を用いた照明装置よりも低消費電力かつ長寿命とすることが可能であり、発熱の小さな小型の照明装置とすることができる。その結果、発光素子4から発生する光の中心波長の変動を抑制することができ、長期間にわたり安定した放射光強度かつ放射光角度(配光分布)で光を照射することができるとともに、照射面における色むらや照度分布の偏りが抑制された照明装置とすることができる。
また、本発明の照明装置は、複数個の発光装置1を所定の配置となるように設置したものだけでなく、1個の発光装置1を所定の配置となるように設置したものでもよい。
以下、具体的な実施例について説明する。
(実施例21)
まず、基体2となるアルミナセラミックス基板を準備した。基体2は、幅8mm×奥行き8mm×厚さ0.5mmの直方体とした。
また、発光素子4が搭載される基体2の上面から基体2の外表面にかけて配線導体を形成した。発光素子4が搭載される基体2の上面の配線導体は、Mo−Mn粉末からなるメタライズ層により直径0.1mmの円形パッドに成形され、その表面には厚さ3μmのNiメッキ層が被着された。また、基体2内部の配線導体は、貫通導体からなる電気接続部、いわゆるスルーホールによって形成された。このスルーホールについてもMo−Mn粉末からなるメタライズ導体で成形された。
さらに、基体2と枠体3を接着剤で接合し、しかる後、屈折率が1.61のエポキシ系樹脂から成る第1の透光性部5を、発光素子4を覆うように枠体3の内部に半径0.4mmの半球形状となるように載置し、さらに、その半球形状の天頂部より高さ方向へ1.1mmの隙間を設け、その上方に屈折率が1.41のシリコーン樹脂から成る、厚みが0.1mmの板状の第4の透光性部6を、第1の透光性部5を覆うように枠体3の内側に接着した。そして、第4の透光性部6の上面に、赤はLaS:Eu、緑はZnS:Cu,Al、青は(BaMgAl)1012:Euから成る蛍光体をシリコーン樹脂から成る透光性部材に含有して成る第2の透光性部7を被覆させることで本発明の発光装置1を構成した。
(比較例21)
一方、比較例21として、枠体3の内部に、第1の透光性部5を厚さ1.5mmで充填して構成したこと以外は、実施例21と同一条件のものを構成した。
このようにして作製した実施例21と比較例21について、各全光束量を測定したところ、実施例21の全光束量が、比較例21に対し約10%程度多くなり、実施例21の方が優れていることが分かった。
(第5実施形態)
図8〜図10は、本発明の第5実施形態を示す断面図である。発光装置1は、基体2と、発光素子4と、第1の透光性部5と、第2の透光性部7と、第3の透光性部Gなどで構成される。
基体2は、アルミナセラミックス,窒化アルミニウム質焼結体,ムライト質焼結体,ガラスセラミックス等のセラミックス、エポキシ樹脂等の樹脂、または金属から成り、発光素子4を支持する支持部材として機能する。
基体2がセラミックスの場合、発光素子4が電気的に接続されるための配線導体(図示せず)基体2の上面やその周辺に形成されている。この配線導体が基体2の外表面に導出されて外部電気回路基板に接続されることにより、発光素子4と外部電気回路基板とが電気的に接続されることとなる。
第1の透光性部5は、透光性材料で形成されており、発光素子4の上面を被覆する。
第2の透光性部7は、発光素子4が発光する光を波長変換する蛍光体を含有した透光性材料で形成されており、第1の透光性部5の上方に、第1の透光性部5を覆うように設けられる。
第3の透光性部Gは、第1の透光性部5と第2の透光性部7との間に設けられる。
本実施形態では、第1の透光性部5の屈折率をn1、第2の透光性部7の屈折率をn2、第3の透光性部Gの屈折率をn3としたとき、n3<n1およびn3<n2の関係を満たすように、第1の透光性部5、第2の透光性部7および第3の透光性部Gの材質を選定している。具体的な材質は、上述の実施形態で列挙したものが使用でき、これらの材質を適宜組合せることによって、n3<n1およびn3<n2の関係を満たすことが可能である。こうした関係を満たすことによって、上述したように、光の利用効率が向上する。
また、図8〜図10において、基体2の表面や内部には、発光装置1の内外を電気的に導通接続するためのW、Mo、Mn等の金属粉末を用いたメタライズ等の導電路18が形成されており、この導電路18の基体2の上面に露出した部位に発光素子4の電極が電気的に接続される。また、この導電路18は基体2の下面等の外部に露出した部位が、Cu、Fe−Ni合金等の金属から成るリード端子などを介して外部電気回路に接続される。これにより、発光素子4が導電路18を介して外部電気回路と電気的に接続される。
なお、導電路18は、その露出する表面にNiや金(Au)等の耐食性に優れる金属を1〜20μm程度の厚みで被着させておくのがよく、導電路18が酸化腐食するのを有効に防止できるとともに、導電路18と発光素子4との電気的な接続および導電路18と導電性接着部材17との接続を強固にすることができる。従って、導電路18の露出表面には、厚さ1〜10μm程度のNiメッキ層と厚さ0.1〜3μm程度のAuメッキ層とが電解メッキ法や無電解メッキ法により順次被着されていることがより好ましい。
枠体3は、アルミニウム(Al)やFe−Ni−コバルト(Co)合金等の金属、アルミナ質焼結体等のセラミックスまたはエポキシ樹脂等の樹脂から成り、切削加工や金型成形、押し出し成型等の成形技術により枠状に形成される。また、枠体3の中央部は、上方に向かうに伴って外側に広がる貫通孔が形成されており、貫通孔の内周面は光反射面とされている。
このような光反射面は、切削加工や金型成形、押し出し成型等の成形技術により内周面を平滑化したり、内周面にAl等の金属を蒸着法やメッキ法により被着したりすることにより形成される。そして、枠体3は、半田、銀ロウ等のロウ材または樹脂接着剤により、基体2の上側主面に接合される。
本発明の発光素子4は、図8〜図10に示すようにAu−Sn共晶半田などの導電性接着部材17を介したフリップチップボンディングにより、基体2の上面に形成された導電路18に接続されることによって基体2に搭載される。あるいは基体2の上面に半田やゾルゲルガラス,低融点ガラスなどの無機接着剤、もしくはエポキシ樹脂などの有機接着剤で取り付けられ、発光素子4の電極がボンディングワイヤを介して導電路18に電気的に接続される。
そして、図8〜図10に示すように、発光素子4が導電路18にフリップチップ実装される場合、発光素子4の下面側には第1の透光性部5が存在せず、第1の透光性部5よりも小さい屈折率を有し、シリコーン樹脂等から成る第3の透光性部Gが形成されているのがよい。これにより、発光素子4から発せられる光は、屈折率差の大きい発光素子4の下面から第3の透光性部Gへ進行するよりも、屈折率差の小さい発光素子4の上面または側面から第1の透光性部5へ進行し、第3の透光性部Gへと進行しやすくなる。その結果、発光素子4から発せられた光が、発光素子の下方にある電極と導電路18とを接続する、例えばAu−Sn合金のようなAuを含有したろう材等の導電性接着部材17に吸収されて発光効率が低下するのを有効に防止できる。
また、図8は、発光素子4の上面に第1の透光性部5が設けられ、この第1の透光性部の上方に第1の透光性部全体を覆うように第2の透光性部が設けられている。これにより、発光素子4から発せられる光を発光素子4の上方へ良好に進行させて、導電性接着部材17に吸収されるのを抑制するとともに、n3<n1およびn3<n2の関係をみたすことによって、発光素子4からの光をより効率よく放出させることができる。
また、図9および図10では、発光素子4の上面および側面が第1の透光性部5によって被覆されている。これにより、発光素子4から発せられる光を発光素子4の上方および側方に良好に進行させることができるので、導電性接着部材17に吸収されるのを抑制するとともに、n3<n1およびn3<n2の関係をみたすことによって、発光素子4からの光をより効率よく放出させることができる。
また、上述の図8〜図10において、第3の透光性部Gを気体層とするのが好ましい。すなわち、発光素子4の下側に第3の透光性部Gとして樹脂等から成る透明材料が配置される場合と比べて、発光素子4から生じる熱によって発光素子4の下方に形成された第3の透光性部Gが熱膨張すること等がなく、これにより、第3の透光性部Gの熱膨脹によって生じる応力により発光素子4が導電路18から剥がされることを抑制でき、電気的な導通を良好とし、発光装置を正常に作動させることができる。
第2の透光性部7は、第1の透光性部5全体を覆うように形成され、その設置方法としては、蛍光体を透明材料に含有して成る第2の透光性部7を予め所望の形状に成形した後、第1の透光性部5の上に隙間を空けて搭載することによって、または第1の透光性部5の上に第3の透光性部Gとなるシリコーン樹脂等を所望の厚さまで塗布するとともに順次熱硬化させ、その上に、蛍光体と透明材料とを混練後、液状の波長変換部材前駆体の状態でディスペンサを用いて第2の透光性部7を形成し、オーブンで硬化させる方法等によって行われる。
また、第1の透光性部5は、発光素子4を基体2に接合する前に発光素子4に被着させておいたほうが簡易に形成でき、より好ましい。例えば、サファイア等の透明基板のウエハ上にn型窒化ガリウムおよびp型窒化ガリウムなどの発光層を形成するための半導体をエピ成長し、その後、電極を形成し発光素子4のウエハを得ることができる。そして、紫外線硬化フィルムなどの支持部材上にサファイアウエハを貼り付けた状態で第1の透光性部5となる液状の透光性部材前駆体をスピンコータ法や、スプレー法で塗布することで一度に大量の発光素子4上に第1の透光性部5を被着させることができる。その後、サファイアウエハをダイサーにより個片に切断し基体2に設置することで上面に第1の透光性部5が形成された発光素子4を容易かつ低コストに再現性良く得ることができる。
または、上記発光素子4のウエハを切断して互いに間隔をあけて個々の発光素子4に分離した状態で第1の透光性部5を個々の発光素子4に一度に設けることにより、容易かつ低コストに再現性良く発光素子4の上面または上面と側面とを第1の透光性部5で取り囲むことができる。
このように第1の透光性部5を、発光素子4を基体2に接合する前に発光素子4に被着させておくことにより、個々の発光素子4を発光素子収納用パッケージに搭載した後に第1の透光性部5を形成した場合のように第1の透光性部5の厚みが所望のものとならずに不良品となって、発光素子4だけでなく発光素子収納用パッケージまで無駄となるのを防止でき、製造歩留まりを向上させることができる。
また、本実施形態において、第1の透光性部5は、図9に示すように発光素子4上の領域を含む表面の少なくとも一部が曲面状であるのが好ましい。より好ましくは、第1の透光性部5の全体形状が発光素子4の発光部の重心を中心とした半球状であるのがよい。これにより、発光素子4から第1の透光性部5に放出された光の進行方向と第1の透光性部5および第3の透光性部Gの界面との成す角度を90度に近づけることができ、光がこの界面で反射される確率を格段に低くすることができる。
このような半球状の第1の透光性部5は、液状の透光性材料前駆体を発光素子4の上面から側面にかけて被着させ、発光素子4の角部に働く表面張力を利用することで、容易に発光素子4を中心とした半球状とすることができ、これを硬化させて第1の透光性部5とすることができる。なお、第1の透光性部5の形状は発光素子4の直方体形状をできる限り半球状に近づけることができればよく、ここで言う半球状とは図10に示すような、半球を歪めた、曲面形状も含まれる。
また、本発明の発光装置1は、1個のものを所定の配置となるように設置し、本発明の発光装置1を光源として用いたことにより、または複数個を、例えば、格子状や千鳥状,放射状,複数の発光装置から成る、円状や多角形状の発光装置群を同心状に複数群形成したもの等所定の配置となるように設置し、本発明の発光装置1を光源として用いたことにより、照明装置とすることができる。これにより、半導体から成る発光素子4の電子の再結合による発光を利用しているため、従来の放電を用いた照明装置よりも低消費電力かつ長寿命とすることが可能であり、発熱の小さな小型の照明装置とすることができる。その結果、発光素子4から発生する光の中心波長の変動を抑制することができ、長期間にわたり安定した放射光強度かつ放射光角度(配光分布)で光を照射することができるとともに、照射面における色むらや照度分布の偏りが抑制された照明装置とすることができる。
(第6実施形態)
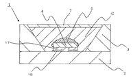
図11は、本発明の第6実施形態を示す断面図である。発光装置1は、基体2と、枠体3と、発光素子4と、第1の透光性部5と、第2の透光性部7と、第3の透光性部Gと、弾性部材14などで構成され、全体として発光素子収納パッケージを構成している。
枠体3は、基体2の上面に取着され、発光素子4を取り囲む反射面3aを有する。枠体3の外周面と下面との間には、切り欠き部3bが形成される。
弾性部材14は、逆L字状の断面を有するリング状部材であり、弾性部材14の上部は切り欠き部3bに埋入されるとともに、弾性部材14の下部は基体2の側方に配置される。
第1の透光性部5は、透光性材料で形成されており、発光素子4を被覆する。
第2の透光性部7は、発光素子4が発光する光を波長変換する蛍光体を含有した透光性材料で形成されており、第1の透光性部5の上方に、第1の透光性部5を覆うように設けられる。
第3の透光性部Gは、第1の透光性部5と第2の透光性部7との間に設けられる。
本実施形態では、第1の透光性部5の屈折率をn1、第2の透光性部7の屈折率をn2、第3の透光性部Gの屈折率をn3としたとき、n3<n1およびn3<n2の関係を満たすように、第1の透光性部5、第2の透光性部7および第3の透光性部Gの材質を選定している。具体的な材質は、上述の実施形態で列挙したものが使用でき、これらの材質を適宜組合せることによって、n3<n1およびn3<n2の関係を満たすことが可能である。こうした関係を満たすことによって、上述したように、光の利用効率が向上する。
基体2は、発光素子4を支持し搭載するための支持部材および発光素子4の熱を放熱させるための放熱部材として機能する。基体2の上面には、発光素子4が樹脂接着剤や錫(Sn)−鉛(Pb)半田、Au−Sn等の低融点ロウ材等を介して取着される。そして、発光素子4の熱は、樹脂接着剤や低融点ロウ材を介して基体2に伝達され、外部に効率よく放散されることにより、発光素子4の作動性を良好に維持する。また、発光素子4から出射される光は、反射面3aで反射されて外部に放射される。
また、基体2は、酸化アルミニウム質焼結体(アルミナセラミックス)、窒化アルミニウム質焼結体、ガラスセラミックス等のセラミックス等から成る。また、発光素子4が搭載される基体2の上面の近傍からは、発光素子収納パッケージの外側にかけて導出する配線導体が形成されている。
また、基体2に形成した配線導体は、例えば、W,Mo,Mn,Cu等のメタライズ層で形成しており、例えば、W等の粉末に有機溶剤、溶媒を添加混合して得た金属ペーストを、所定パターンに印刷塗布し焼成することによって基体2に形成させる。この配線導体の表面には、酸化防止のためとボンディングワイヤ(図示せず)を強固に接続するために、厚さ0.5〜9μmのNi層や厚さ0.5〜5μmのAu層等の金属層をメッキ法により被着させておくことが好ましい。
また、枠体3は、基体2の上面に発光素子4を取り囲むように形成されており、枠体3の下面と外周面との間には、切り欠き部3bが形成されている。そして、枠体3は、Al,ステンレス(SUS),Ag,鉄(Fe)−Ni−コバルト(Co)合金,Fe−Ni合金等の金属や樹脂、セラミックス等からなり、枠体3が金属からなる場合、内周面を研磨等の方法で鏡面化することにより、内周面を発光素子4から発せられる可視光を良好に反射することのできる反射面3aとすることができる。
また、枠体3が樹脂やセラミックスからなる場合、内周面にメッキや蒸着等で金属層を形成することにより、内周面を発光素子4から発せられる可視光を良好に反射することのできる反射面3aとすることができる。発光素子4からの可視光の反射効率の高い反射面3aをより簡単に製造することができるという観点、および酸化等による腐食を防止することができるという観点からは、枠体3はAlやSUSから成ることが好ましい。
また、このような枠体3は、金属からなる場合、その材料のインゴットに切削加工、圧延加工や打ち抜き加工等の従来周知の金属加工を施すことによって、上記の所定形状に形成される。
本発明の弾性部材14は、その縦弾性率が枠体3の縦弾性率よりも小さい材料から成る。好ましくは、弾性部材14の縦弾性率が枠体3の縦弾性率の1/5倍以下であるのがよい。枠体3よりも小さい縦弾性率を有することにより、基体2および枠体3に、発光素子4が作動時に発生する熱や外部環境の温度変化等が繰り返し印加されて、基体2および枠体3が膨張あるいは収縮しても、歪みによって生じる応力を弾性部材14により有効に緩和して、枠体3に及ぼす影響を非常に低減することができる。
また、弾性部材14は、枠体3の切り欠き部3bに上部を埋入させるとともに、下部を基体2の側方に配して枠体3に取着させており、例えば、エポキシ樹脂や液晶ポリマー(LCP)などの高耐熱性の熱硬化性樹脂や熱可塑性樹脂から成り、弾性部材14の縦弾性率は10[MPa]〜20[MPa]の値をもつのがよい。なぜなら、上記のような縦弾性率の値をもつことによって、弾性部材14が緩衝材となり、発光素子4の作動時に発生する熱や、外部環境の温度変化等が基体2に繰り返し印加されたとしても、大きな熱応力が発生することは抑制されるので、基体2にクラックが生じたり、基体2と枠体3とが剥離することを有効に防止できるからである。
その結果、配線導体等に断線等の電気的接続不良が生じることを抑制でき、発光素子4から発せられて枠体3で反射される光束(光ビーム)のパターンが一定になり、光の放射角度が安定で、単一の光束またはそれらの集合体で表される光強度分布を所望の値およびパターンとできる。
なお、弾性部材14の縦弾性率が70[MPa]よりも大きい値であると、発光素子4の発熱時に基体2と枠体3とに生じる応力を緩和し難く不向きとなる傾向がある。また、弾性部材14の縦弾性率が5[MPa]よりも小さい値であると、枠体3を弾性部材14が支持する効果が小さくなり、枠体3を基体2上に安定に固定できなくなる傾向がある。よって、弾性部材14の縦弾性率は、5[MPa]〜70[MPa]が好ましく、より好適には10[MPa]〜20[MPa]の値とするのが良い。
また、図11で示すように、弾性部材14を基体2の上面に接着させ、熱伝導率が枠体3よりも低い弾性部材14を用いる場合、基体2から枠体3への熱伝導を、熱伝導率の低い弾性部材によって抑制でき、枠体3が熱により歪むのを特に有効に防止でき好ましい。たとえ、発光素子4の熱によって基体2が歪んだとしても、歪みによって生じる応力を基体2と枠体3とに接着された弾性部材14により緩和して、枠体3におよぼす影響を非常に低減することができる。従って、発光素子収納パッケージから放出される光の強度分布や照射面における照度分布にムラが生じず、安定した光を出力し、発光装置を長期間にわたり高信頼性でかつ安定して作動することができる。
また、発光素子収納パッケージを外部接続基板と接続する際には、基体2の下面に、一端部が平面視で基体2より外方に飛び出すように外部接続端子を設けて接続したり、あるいは基体2の下面に形成した接続パッドに直接、導電性接合材を設けて接続する場合が多い。これらのうち、例えば、図13に示すように、外部接続端子としてL字型のリード端子21を、基体2と弾性部材14の下面に設けた場合では、たとえ発光素子4の発熱時に生じた応力でL字型のリード端子21が基体2にぶつかろうとしても、L字型のリード端子21は、基体2の側方に形成された弾性部材14と接触して基体2との接触が防止され、あるいはぶつかったとしてもその応力が弾性部材14によって緩衝されるため、L字型のリード端子21と基体2との接触による基体2の欠けや割れ、クラック等の発生を有効に防止できるからである。その結果、発光素子4を気密に収容することができ、発光素子4を長期間にわたり正常かつ安定に作動させることができる。
また、このようにL字型のリード端子21を基体2の下面に設ける場合には、図13に示したように、基体2の中央部よりもリード端子21の接合部が上方に位置するように段差部を設け、その段差部にL字型のリード端子21を接続するのが好ましい。段差部にL字型のリード端子21を設けることで、外部接続基板とL字型のリード端子21との短絡を抑制することができる。
また、基体2の下面に形成した接続パッドに直接、導電性接合材を設けて発光素子収納パッケージと外部接続基板とを取着させる場合、導電性接合材を溶融したときに、たとえ外部接続基板と発光素子収納パッケージの間から導電性接合材がはみ出し、基体2を伝わって這い上がろうとしても、従来では枠体3であった部分に本発明では弾性部材14が存在するため、枠体3と導電性接合材は接触しにくい。よって、枠体3が金属等からなるとしても、枠体3と導電性接合材が容易には接触しないため、電気的な短絡を有効に防止できる。
また、基体2がセラミックスからなる場合においては、弾性部材14の下部を基体2の側方に配して枠体3に取着させたことにより、側方にある弾性部材14の下部によってセラミック基体2の側面から外部に漏れ出ていた光は進行を妨げられ、外部に漏れ出るのを防ぐことができる。その結果、本発明の発光装置を表示装置として用いても、光がぼやけず良好な視認性を得ることができる。
また、弾性部材14の下部と基体2の側方との間に隙間が設けられていることが好ましく、発光素子4から発生した熱が基体2に伝わり、基体2と弾性部材14の隙間から、その熱を放熱することができるためよい。また、放熱性が高まることによって、発光素子4の劣化を防止し、さらに熱による発光素子収納パッケージの変形も有効に防止できるため、より好ましいといえる。
また、さらに好ましくは、枠体3の切り欠き部3bは、枠体3の外周面に沿って環状に周設されているのがよい。これにより、基体2と枠体3の間に、環状に切り欠き部3bが周設される前よりも容量の大きい外気層が存在することとなり、発光素子4の作動時に発生する熱が基体2から枠体3に伝達するのを有効に防止できる。その結果、枠体3から基体2に伝わる曲げモーメントを抑制でき、基体2にクラックや割れが発生するのを有効に防止できる。
また更に、枠体3の体積を小さくし、基体2と枠体3との接する面積を小さくすることができ、発光装置を作動させる際に発光素子4より発生する熱により、基体2や枠体3との接合部に集中する応力が抑制される。その結果、基体2や、基体2と枠体3との接合部におけるクラックや剥離をさらに抑制できる。
また、弾性部材14を枠体3の外周面に沿って環状に周設すると、基体2の下面に一端部が平面視で基体2より外方に飛び出すように外部接続端子を設けて、発光素子収納パッケージを外部接続基板接合した場合に、たとえ発光素子4の発熱時に生じた応力等で外部接続端子がどのような位置にずれたとしても、弾性部材14が基体2にぶつかって生じる応力は、環状に形成された弾性部材14によって緩衝されるため、さらに好ましい。その結果、基体2や基体2の外周部に生じる欠けや割れ、クラック等の発生を、より有効に防止でき、発光素子4を気密に収容して、発光素子4を長期間にわたり正常かつ安定に作動させることができる。
また、枠体3は、切り欠き部3bの上面のみが弾性部材14に接合されているのが好ましい。これにより、枠体3が適度に変形しやすくなり、弾性部材14による拘束を適度に開放することができる。その結果、弾性部材14や基体2が歪んだとしてもその歪みによって枠体3も歪むのを有効に抑制できる。また、枠体3の下面の弾性部材14よりも内側に位置する部位と、基体2の上面との間に隙間を形成するのがよい。これにより、基体2から反射面3aに熱が伝わり難くすることができるため好ましい。
また、反射面3aは、図11に示すように、第3の透光性部Gの下側でかつ発光素子4の搭載領域の上側に、第1の透光性部5に接する傾斜領域を有しており、基体2の上面に対して35〜70度の角度で傾斜しているのが好ましい。これにより、基体2の上面に搭載した発光素子4の光を、傾斜した反射面3aで良好に反射させ、外部に放射角度45度以内の範囲で光を良好に放射することができ、本発明の発光素子収納パッケージを使用した発光装置の発光効率や輝度、光度を極めて高いものとすることができる。なお、光の放射角度とは、発光素子4の中心を通る基体2に直交する平面上での光の広がりの角度のことであり、枠体3の横断面における開口形状が円形状であれば放射角度は、反射面3aの全周にわたって一定である。また、枠体3の横断面における開口形状が楕円形状などの偏りがある場合は、放射角度はその最大値である。
また、反射面3aは、基体2の上面となす角度が35度未満になると、放射角度が45度を超えて広がり、分散した光の量が多くなり、光の輝度や光度が低下しやすくなる。一方、角度が70度を超えると、発光素子収納パッケージの外部に発光素子4の光が良好に放射されずに発光素子収納パッケージ内で乱反射しやすくなる。
なお、反射面3aの形状が逆円錐状である場合は、反射面3aと基体2の上面とのなす角度を全周にわたって35〜70度とするのが好ましい。また、反射面3aの形状が四角錐状である場合は、少なくとも一対の対向する内面が基体2の上面に対して35〜70度で傾斜しているのが好ましい。内面の全面が基体2の上面に対して35〜70度で傾斜することにより、発光効率をきわめて高いものとすることができる。
また、反射面3aの算術平均粗さRaは、0.004〜4μmとするのが好ましい。即ち、反射面3aの算術平均粗さRaが4μmを超える場合、発光素子収納パッケージに収容された発光素子4の光を正反射させて発光素子収納パッケージの上方に出射させることが困難になり、光強度が減衰したり偏りが発生しやすくなる。また、反射面3aの算術平均粗さRaが0.004μm未満の場合、このような面を安定かつ効率よく形成することが困難となるとともに、製品コストが高くなりやすい。なお、反射面3aのRaを上記の範囲とするには、従来周知の電解研磨加工,化学研磨加工もしくは切削加工により形成することができる。また、金型の面精度を利用した転写加工により形成する方法を用いてもよい。
さらに枠体3と弾性部材14との接合や、枠体3と基体2との接合は、シリコーン系やエポキシ系等の樹脂接着剤や、Ag−Cuロウ等の金属ロウ材やPb−Au−Sn−Au−Sn−ケイ素(Si),Sn−Ag−Cu等の半田等により行われる。なお、このような接着剤や半田等の接合材は、基体2、弾性部材14および枠体3の材質や熱膨張係数等を考慮して適宜選定すればよく、特に限定されるものではない。また、基体2と弾性部材14、および弾性部材14と枠体3との接合の高信頼性が必要とされる場合、好ましくは金属ロウ材や半田により接合するのがよい。
また、発光装置の特性を重要視する場合は、接合材によって枠体3と弾性部材14がずれるのを防止するため、かしめ方法により接合するのがよい。かしめ方法では、枠体3の位置決めが一義的に行なわれ、発光素子収納パッケージの製造工程における枠体3の位置ずれや傾きを抑制できるとともに、弾性部材14と枠体3との中心軸とを高精度に一致させ接合できる。その結果、発光素子4の光軸と光を反射する枠体3の中心軸とを発光素子収納パッケージ製造工程において高精度に一致させることができる。従って、所望の光強度分布や照度分布、発光色が得られる発光装置を製造することができる。
また、弾性部材14と枠体3との熱膨張係数の関係式は、弾性部材14の熱膨張係数をα1、枠体3の熱膨張係数をα2としたときに、α1<α2であることがよい。これにより、枠体3と基体2との熱膨張係数差を弾性部材14により緩和して、熱膨張差による応力が基体2や枠体3、弾性部材14に生じるのを有効に抑制することができる。よって、発光素子収納パッケージの製造工程や発光装置を作動させる際の熱膨張、熱吸収により生じる応力を緩和できるとともに、枠体3の傾きや変形を抑制することができる。
かくして、本発明の発光素子収納パッケージは、基体2の上面に発光素子4を搭載するとともに、発光素子4をAuやAl等のボンディングワイヤおよび配線導体を介して発光素子収納パッケージの外部の外部電気回路に電気的に導通させることができる。そして、枠体3の内側に透明樹脂等の透光性材料を充填し硬化させて、発光素子4の側面や上面、あるいは、発光素子4全体を覆うように、第1の透光性部5を形成する。そして、図11に示すように、第1の透光性部5と隙間を空けて、第3の透光性部Gとして気体層が存在するように、第2の透光性部7を形成し、必要に応じて枠体3の上面に透光性の蓋体(図示せず)を半田や樹脂接着剤等で接合することにより本発明の発光装置となる。このとき第1の透光性部5の上面と第2の透光性部7の下面との間の距離が、全面的に同じであることが好ましい。また、第1の透光性部5は、反射面3aの内側の全体にわたって平坦な上面を有することが好ましい。あるいは、第1の透光性部5を形成した後、シリコーン樹脂等から成る第3の透光性部Gを形成し、その上に、第1の透光性部5全体を覆うようにして第2の透光性部7を形成し、必要に応じて、枠体3の上面に透光性の蓋体を半田や樹脂接着剤等で接合することにより、発光素子4の光を蛍光体により波長変換し、所望の波長スペクトルを有する光を取り出すことができる発光装置となる。


また、本発明の発光装置は、1個のものを光源として所定の配置となるように設置したことにより、または複数個を、例えば、格子状や千鳥状,放射状,複数の発光装置から成る、円状や多角形状の発光装置群を同心状に複数群形成したもの等の所定の配置となるように設置したことにより、照明装置とすることができる。これにより、従来の照明装置よりも強度ムラの抑制されたものとすることができる。
また、本発明の発光装置を光源として所定の配置に設置するとともに、これらの発光装置の周囲に任意の形状に光学設計した反射治具や光学レンズ、光拡散板等を設置することにより、任意の配光分布の光を放射できる照明装置とすることができる。
なお、本発明は上記の実施の形態に限定されず、本発明の要旨を逸脱しない範囲内で種々の変更を行うことは何等支障ない。例えば、発光装置より出射される光を任意に集光し拡散させる光学レンズや平板状の透光性の蓋体を半田や樹脂接合剤等で接合することにより、所望する放射角度で光を取り出すことができ長期信頼性が向上する。また、ボンディングワイヤによる光損失を抑制するために、基板1にメタライズ配線を形成し、そのメタライズ配線に半田を介して発光素子3を電気的に接続するフリップチップ実装をした発光装置でもよい。
上述した各実施形態に係る発光装置1は、光源として所定の配置に設置するとともに、これらの発光装置1の周囲に任意の形状に光学設計した反射治具や光学レンズ、光拡散板等を設置することにより、任意の配光分布の光を放射できる照明装置とすることができる。
例えば、図14に示す平面図および図15に示す断面図のように、複数個の発光装置1が発光装置駆動回路基板10に複数列に配置され、発光装置1の周囲に任意の形状に光学設計した反射治具9が設置されて成る照明装置の場合、隣接する一列上に配置された複数個の発光装置1において、隣り合う発光装置1との間隔が最短に成らないような配置、いわゆる千鳥状とすることが好ましい。
即ち、発光装置1が格子状に配置される際には、光源となる発光装置1が直線上に配列されることによりグレアが強くなり、このような照明装置が人の視覚に入ってくることにより、不快感を起こしやすくなるのに対し、千鳥状とすることにより、グレアが抑制され人間の目に対しても不快感を低減することができる。
さらに、隣り合う発光装置1間の距離が長くなることにより、隣接する発光装置1間の熱的な干渉が有効に抑制され、発光装置1が実装された発光装置駆動回路基板10内における熱のこもりが抑制され、発光装置1の外部に効率よく熱が放散される。その結果、人の目に対しても不快感を与えずに長期間にわたり光学特性の安定した長寿命の照明装置を作製することができる。
また、照明装置が、図16に示す平面図および図17に示す断面図のように、発光装置駆動回路基板10上に複数の発光装置1から成る円状や多角形状の発光装置1群を、同心状に複数群形成した照明装置の場合、1つの円状や多角形状の発光装置1群における発光装置1の配置数を照明装置の中央側より外周側ほど多くすることが好ましい。これにより、発光装置1同士の間隔を適度に保ちながら発光装置1をより多く配置することができ、照明装置の照度をより向上させることができる。
また、照明装置の中央部の発光装置1の密度を低くして発光装置駆動回路基板10の中央部における熱のこもりを抑制することができる。よって、発光装置駆動回路基板10内における温度分布が一様となり、照明装置を設置した外部電気回路基板やヒートシンクに効率よく熱が伝達され、発光装置1の温度上昇を抑制することができる。その結果、発光装置1は長期間にわたり安定して動作することができるとともに長寿命の照明装置を作製することができる。
このような照明装置としては、例えば、室内や室外で用いられる、一般照明用器具、シャンデリア用照明器具、住宅用照明器具、オフィス用照明器具、店装,展示用照明器具、街路用照明器具、誘導灯器具及び信号装置、舞台及びスタジオ用の照明器具、広告灯、照明用ポール、水中照明用ライト、ストロボ用ライト、スポットライト、電柱等に埋め込む防犯用照明、非常用照明器具、懐中電灯、電光掲示板等や、調光器、自動点滅器、ディスプレイ等のバックライト、動画装置、装飾品、照光式スイッチ、光センサ、医療用ライト、車載ライト等が挙げられる。
なお、本発明は以上の実施の形態の例および実施例に限定されず、本発明の要旨を逸脱しない範囲内であれば種々の変更を行なうことは何等支障ない。
本発明によれば、高い光取り出し効率、放射光強度、軸上光度および輝度を有する発光装置および照明装置を提供することができ、産業上極めて有用である。
本発明の第1実施形態を示す断面図である。 本発明の第1実施形態を示す断面図である。 本発明の第2実施形態を示す断面図である。 本発明の第3実施形態を示す断面図である。 本発明の第3実施形態を示す断面図である。 本発明の第4実施形態を示す断面図である。 第1の透光性部が半球状である例を示す断面図である。 レンズ状の蓋体を載置した例を示す断面図である。 第3の透光性部が薄い例を示す断面図である。 本発明の第5実施形態を示す断面図である。 透光性部材が半球状である例を示す断面図である。 透光性部材が曲面形状である例を示す断面図である。 本発明の第6実施形態を示す断面図である。 図11に示す発光装置の各透光性部を省略した破断斜視図である。 L字型のリード端子を基体下面に設けた例を示す断面図である。 本発明に係る発光装置をアレイ状に配列した照明装置の一例を示す平面図である。 図14に示す照明装置の断面図である。 本発明に係る発光装置を円形状に配列した照明装置の他の例を示す平面図である。 図16に示す照明装置の断面図である。 従来の発光装置の一例を示す断面図である。
符号の説明
1 発光装置
2 基体
3 枠体
3a 反射面
3b 切り欠き部
4 発光素子
5 第1の透光性部
6 第4の透光性部
7 第2の透光性部
G 第3の透光性部
9 反射治具
10 発光装置駆動回路基板
14 弾性部材
17 導電性接着部材
18 導電路
21 リード端子


Claims (3)

  1. 基体と、
    該基体上に搭載された発光素子と、
    前記基体上に配置されており、前記発光素子を囲む反射面と、
    該反射面の内側に前記発光素子を覆って設けられた第1の透光性部と、
    該第1の透光性部の上方に設けられており、前記発光素子から放射された光を波長変換する第2の透光性部と、
    前記第1の透光性部と前記第2の透光性部との間に設けられた気体層とを備えており、
    前記第1の透光性部の上面と前記第2の透光性部の下面との間の距離が、全面的に同じであり、
    前記反射面は、前記気体層の下側でかつ発光素子の搭載領域の上側に、前記第1の透光性部に接する傾斜領域を有していることを特徴とする発光装置。
  2. 前記第1の透光性部は、前記反射面の内側の全体にわたって平坦な上面を有することを特徴とする請求項1記載の発光装置。
  3. 前記発光素子が、近紫外域または紫外域に発光ピーク波長を有する発光ダイオードであることを特徴とする請求項1記載の発光装置。
JP2005217626A 2005-07-27 2005-07-27 発光装置 Expired - Lifetime JP3978451B2 (ja)

Priority Applications (1)

Application Number Priority Date Filing Date Title
JP2005217626A JP3978451B2 (ja) 2005-07-27 2005-07-27 発光装置

Applications Claiming Priority (1)

Application Number Priority Date Filing Date Title
JP2005217626A JP3978451B2 (ja) 2005-07-27 2005-07-27 発光装置

Related Child Applications (4)

Application Number Title Priority Date Filing Date
JP2006153636A Division JP5036222B2 (ja) 2006-06-01 2006-06-01 発光装置
JP2006153631A Division JP4847793B2 (ja) 2006-06-01 2006-06-01 発光装置
JP2007117276A Division JP2007214592A (ja) 2007-04-26 2007-04-26 発光装置
JP2007117279A Division JP2007194675A (ja) 2007-04-26 2007-04-26 発光装置

Publications (2)

Publication Number Publication Date
JP2007035951A JP2007035951A (ja) 2007-02-08
JP3978451B2 true JP3978451B2 (ja) 2007-09-19

Family

ID=37794835

Family Applications (1)

Application Number Title Priority Date Filing Date
JP2005217626A Expired - Lifetime JP3978451B2 (ja) 2005-07-27 2005-07-27 発光装置

Country Status (1)

Country Link
JP (1) JP3978451B2 (ja)

Cited By (1)

* Cited by examiner, † Cited by third party
Publication number Priority date Publication date Assignee Title
WO2009072589A1 (ja) 2007-12-07 2009-06-11 Panasonic Electric Works Co., Ltd. 発光装置

Families Citing this family (24)

* Cited by examiner, † Cited by third party
Publication number Priority date Publication date Assignee Title
JP4886253B2 (ja) * 2005-09-09 2012-02-29 パナソニック電工株式会社 発光装置
EP1974389A4 (en) 2006-01-05 2010-12-29 Illumitex Inc SEPARATE OPTICAL DEVICE FOR LIGHT ORIENTATION OF ONE LED
JP2008010749A (ja) * 2006-06-30 2008-01-17 Fine Rubber Kenkyusho:Kk 発光装置およびその製造方法
JP4986735B2 (ja) * 2007-06-25 2012-07-25 京セラ株式会社 照明用光源
US7868341B2 (en) 2007-06-27 2011-01-11 The Regents Of The University Of California Optical designs for high-efficacy white-light emitting diodes
JP4290753B2 (ja) * 2007-08-10 2009-07-08 シャープ株式会社 Led光源、led光源の製造方法、面光源装置、および映像表示装置
TWI382569B (zh) * 2007-09-21 2013-01-11 Toshiba Kk Lighting with white light and the use of its lighting equipment
JP2009099759A (ja) * 2007-10-17 2009-05-07 Fine Rubber Kenkyusho:Kk 発光装置
JP2009206383A (ja) * 2008-02-29 2009-09-10 Sharp Corp Ledモジュール及びそれを備えるled点灯装置
DE102008021436A1 (de) * 2008-04-29 2010-05-20 Schott Ag Optik-Konverter-System für (W)LEDs
DE102008045331A1 (de) * 2008-09-01 2010-03-04 Osram Opto Semiconductors Gmbh Optoelektronisches Bauelement
JP4514825B2 (ja) * 2009-03-31 2010-07-28 シャープ株式会社 Led光源、led光源の製造方法、面光源装置、および映像表示装置
US8585253B2 (en) 2009-08-20 2013-11-19 Illumitex, Inc. System and method for color mixing lens array
TW201126114A (en) * 2009-08-20 2011-08-01 Illumitex Inc System and method for a phosphor coated lens
DE102011114882A1 (de) * 2010-10-15 2012-04-19 Ceramtec Gmbh LED-Leuchte mit integriertem Treiber
JP2012195350A (ja) * 2011-03-15 2012-10-11 Stanley Electric Co Ltd 発光装置及びその製造方法
US9241388B2 (en) 2011-06-29 2016-01-19 Panasonic Intellectual Property Management Co., Ltd. Method and apparatus for manufacturing a light-emitting device including correction of an application amount of a fluorescent resin based on a fluorescent particle concentration
US8974077B2 (en) 2012-07-30 2015-03-10 Ultravision Technologies, Llc Heat sink for LED light source
WO2016021354A1 (ja) * 2014-08-06 2016-02-11 シャープ株式会社 発光装置、照明装置、および発光装置の製造方法
JP2016184653A (ja) * 2015-03-26 2016-10-20 京セラ株式会社 発光素子収納用パッケージおよび発光装置
KR20190019918A (ko) * 2016-06-21 2019-02-27 도레이 카부시키가이샤 발광체, 그리고 그것을 사용한 광원 유닛, 디스플레이 및 조명 장치
JP6800703B2 (ja) * 2016-11-08 2020-12-16 スタンレー電気株式会社 半導体発光装置
KR102401826B1 (ko) * 2017-09-15 2022-05-25 쑤저우 레킨 세미컨덕터 컴퍼니 리미티드 발광소자 패키지 및 이를 포함하는 조명장치
JP2022074868A (ja) * 2020-11-05 2022-05-18 シチズン電子株式会社 受光装置

Cited By (1)

* Cited by examiner, † Cited by third party
Publication number Priority date Publication date Assignee Title
WO2009072589A1 (ja) 2007-12-07 2009-06-11 Panasonic Electric Works Co., Ltd. 発光装置

Also Published As

Publication number Publication date
JP2007035951A (ja) 2007-02-08

Similar Documents

Publication Publication Date Title
JP3978451B2 (ja) 発光装置
TWI433344B (zh) 發光裝置及照明裝置
CN101447543B (zh) 发光装置以及照明装置
KR100620844B1 (ko) 발광장치 및 조명장치
JP4789672B2 (ja) 発光装置および照明装置
JP4675906B2 (ja) 発光素子搭載用基板、発光素子収納用パッケージ、発光装置および照明装置
JP2007194675A (ja) 発光装置
KR20050041986A (ko) 발광소자 수납용 패키지, 발광장치, 및 조명장치
JP2006237264A (ja) 発光装置および照明装置
JP2007214592A (ja) 発光装置
JP3921474B2 (ja) 発光装置および照明装置
JP3898721B2 (ja) 発光装置および照明装置
JP2006066657A (ja) 発光装置および照明装置
JP2005210042A (ja) 発光装置および照明装置
JP5036222B2 (ja) 発光装置
JP2006049814A (ja) 発光装置および照明装置
JP4847793B2 (ja) 発光装置
JP2006100441A (ja) 発光素子収納用パッケージおよび発光装置ならびに照明装置
JP4948818B2 (ja) 発光装置および照明装置
JP4948841B2 (ja) 発光装置および照明装置
JP4624069B2 (ja) 発光装置およびその製造方法ならびに照明装置
JP2006156604A (ja) 発光装置および照明装置
JP4593974B2 (ja) 発光装置および照明装置
JP2006295230A (ja) 発光装置および照明装置
JP2006270120A (ja) 発光ダイオード装置

Legal Events

Date Code Title Description
A521 Request for written amendment filed

Free format text: JAPANESE INTERMEDIATE CODE: A523

Effective date: 20061030

RD03 Notification of appointment of power of attorney

Free format text: JAPANESE INTERMEDIATE CODE: A7423

Effective date: 20061030

A02 Decision of refusal

Free format text: JAPANESE INTERMEDIATE CODE: A02

Effective date: 20070227

A521 Request for written amendment filed

Free format text: JAPANESE INTERMEDIATE CODE: A523

Effective date: 20070426

A911 Transfer to examiner for re-examination before appeal (zenchi)

Free format text: JAPANESE INTERMEDIATE CODE: A911

Effective date: 20070511

TRDD Decision of grant or rejection written
A01 Written decision to grant a patent or to grant a registration (utility model)

Free format text: JAPANESE INTERMEDIATE CODE: A01

Effective date: 20070619

A61 First payment of annual fees (during grant procedure)

Free format text: JAPANESE INTERMEDIATE CODE: A61

Effective date: 20070625

FPAY Renewal fee payment (event date is renewal date of database)

Free format text: PAYMENT UNTIL: 20100629

Year of fee payment: 3

R150 Certificate of patent or registration of utility model

Ref document number: 3978451

Country of ref document: JP

Free format text: JAPANESE INTERMEDIATE CODE: R150

Free format text: JAPANESE INTERMEDIATE CODE: R150

FPAY Renewal fee payment (event date is renewal date of database)

Free format text: PAYMENT UNTIL: 20110629

Year of fee payment: 4

FPAY Renewal fee payment (event date is renewal date of database)

Free format text: PAYMENT UNTIL: 20120629

Year of fee payment: 5

FPAY Renewal fee payment (event date is renewal date of database)

Free format text: PAYMENT UNTIL: 20120629

Year of fee payment: 5

FPAY Renewal fee payment (event date is renewal date of database)

Free format text: PAYMENT UNTIL: 20130629

Year of fee payment: 6