JP3972045B2 - 積層型ランゲカプラ - Google Patents

積層型ランゲカプラ Download PDF

Info

Publication number
JP3972045B2
JP3972045B2 JP2005083728A JP2005083728A JP3972045B2 JP 3972045 B2 JP3972045 B2 JP 3972045B2 JP 2005083728 A JP2005083728 A JP 2005083728A JP 2005083728 A JP2005083728 A JP 2005083728A JP 3972045 B2 JP3972045 B2 JP 3972045B2
Authority
JP
Japan
Prior art keywords
lines
multilayer
lange coupler
coupled
coupled lines
Prior art date
Legal status (The legal status is an assumption and is not a legal conclusion. Google has not performed a legal analysis and makes no representation as to the accuracy of the status listed.)
Expired - Fee Related
Application number
JP2005083728A
Other languages
English (en)
Other versions
JP2006270349A (ja
Inventor
恵理子 味岡
Current Assignee (The listed assignees may be inaccurate. Google has not performed a legal analysis and makes no representation or warranty as to the accuracy of the list.)
TDK Corp
Original Assignee
TDK Corp
Priority date (The priority date is an assumption and is not a legal conclusion. Google has not performed a legal analysis and makes no representation as to the accuracy of the date listed.)
Filing date
Publication date
Application filed by TDK Corp filed Critical TDK Corp
Priority to JP2005083728A priority Critical patent/JP3972045B2/ja
Publication of JP2006270349A publication Critical patent/JP2006270349A/ja
Application granted granted Critical
Publication of JP3972045B2 publication Critical patent/JP3972045B2/ja
Anticipated expiration legal-status Critical
Expired - Fee Related legal-status Critical Current

Links

Images

Landscapes

  • Production Of Multi-Layered Print Wiring Board (AREA)
  • Waveguides (AREA)

Description

本発明はランゲカプラに関し、特に、複数の結合線路を2つの配線層に形成した積層型のランゲカプラに関する。
従来より、高周波伝送信号を分配するための素子としてカプラが広く用いられており、中でも、ランゲカプラは広帯域特性を有するカプラとして知られている。ランゲカプラには種々のタイプが存在するが、いずれのタイプも、複数の結合線路を平行に近接配置した構造を有している(特許文献1参照)。しかしながら、通常のランゲカプラは、基板上に各結合線路が平面的に配置されていることから、結合線路間の一部接続にボンディングワイヤを使用する必要があり、このため、製造工程が複雑化するなどの問題があった。
このような問題を解決したランゲカプラとして、いわゆる「積層型ランゲカプラ」が知られている。積層型ランゲカプラは、複数の結合線路を2つの配線層に形成することにより、結合線路間における結合を一部立体化した構造を有している。これにより、ボンディングワイヤによる接続が不要となり、製造工程をより簡素化することが可能となる。積層型ランゲカプラとしては、例えば、特許文献2に開示されたものが知られている。
特開平6−232658号公報 特公平8−28609号公報
しかしながら、特許文献1,2に記載されたランゲカプラは、いずれも結合線路が基板上に露出しているため、該ランゲカプラが搭載された高周波回路全体を例えばシールドケースなどグランド電位が与えられる導電部材で覆うと、この導電部材がカプラの特性に大きな影響を与え、実際の特性が設計値から大きくずれるという問題があった。一方、シールドケースなどで覆われていない場合には、実使用時に金属板などのグランド面を近づけるとインピーダンスが変化するなど、使用環境によって特性が変動するという問題が生じてしまう。さらに、結合線路が基板上に露出しているために、放射損失が大きいという問題もあった。
しかも、特許文献2に記載された積層型ランゲカプラは、結合線路が立体的に形成されていることから、結合線路間を立体的に分離する絶縁層の厚さを十分に薄くしなければ、1層目の結合線路からグランド面までの距離と、2層目の結合線路からグランド面までの距離に大きな差が生じてしまい、結合線路間の対称性が損なわれるという問題もあった。
本発明は、このような問題点を解決すべくなされたものであって、設計値により近い特性を得ることができ、且つ、使用環境による特性の変動が小さい積層型ランゲカプラを提供することを目的とする。
また、本発明の他の目的は、結合線路間の対称性に優れた積層型ランゲカプラを提供することである。
本発明による積層型ランゲカプラは、第1の配線層に形成された互いに平行な第1及び第2の結合線路であって、一端が第1のポートに共通接続され、他端が第2のポートに共通接続された第1及び第2の結合線路と、前記第1の配線層とは異なる第2の配線層に形成された互いに平行な第3及び第4の結合線路であって、一端が第3のポートに共通接続され、他端が第4のポートに共通接続された第3及び第4の結合線路と、前記第1乃至第4の結合線路を挟み込むように形成された第1及び第2のグランドパターンとを備えることを特徴とする。
本発明によれば、グランドパターンによって結合線路が挟み込まれた構造を有していることから、積層型ランゲカプラが搭載された高周波回路全体をシールドケースによって覆った場合であっても、このシールドケースが特性に与える影響はほとんどなく、設計値に近い特性を得ることが可能となる。しかも、実使用時に金属板などのグランド面を近づけたり遠ざけたりしても、これによりインピーダンスが変化するようなことはほとんどなく、使用環境に応じた特性の変動を抑制することが可能となる。さらに、放射損失についても低減される。
第1乃至第4の結合線路の長さは、いずれも伝送信号の1/4波長に相当する長さに設定されていることが好ましい。これによれば、目的とする周波数にて良好な結合特性を得ることが可能となる。
第1の配線層から第1のグランドパターンまでの距離と、第2の配線層から第2のグランドパターンまでの距離は、実質的に等しいことが好ましい。これによれば、結合線路間における高い対称性を得ることが可能となり、その結果、良好な結合特性を得ることが可能となる。
また、本発明による積層型ランゲカプラは、第1及び第2の結合線路の前記一端及び他端の近傍、並びに、第3及び第4の結合線路の前記一端及び他端の近傍に、インピーダンス調整パターンが形成されていることが好ましい。これによれば、結合線路の幅などを本来の設計値とは異なる幅に設定することが可能となり、その結果、設計の自由度が増大する。
インピーダンス調整パターンは、第1及び第2の結合線路の前記一端及び他端、並びに、第3及び第4の結合線路の前記一端及び他端からみて、伝送信号の1/4波長に相当する距離以内の位置に形成されていることが好ましい。インピーダンス調整パターンをこの範囲内に形成すれば、インピーダンス調整パターンによる高い調整効果を得ることが可能となる。
インピーダンス調整パターンは、オープンスタブであることが好ましい。これによれば、高いインピーダンス調整効果を最も簡単に得ることが可能となる。
オープンスタブの長さは、伝送信号の1/4波長に相当する長さ以内に設定することが好ましい。オープンスタブの長さを上記の長さに設定すれば、積層型ランゲカプラの平面形状を必要以上に大型化することなく、高い調整効果を得ることが可能となる。
このように、本発明によれば、グランドパターンによって結合線路が挟み込まれた構造を有していることから、積層型ランゲカプラが搭載された高周波回路全体をシールドケースによって覆った場合であっても、このシールドケースが特性に与える影響はほとんどなく、設計値に近い特性を得ることが可能となる。しかも、実使用時に金属板などのグランド面を近づけたり遠ざけたりしても、これによりインピーダンスが変化するようなことはほとんどなく、使用環境に応じた特性の変動を抑制することが可能となる。さらに、放射損失についても低減される。
特に、インピーダンス調整パターンを設ければ、結合線路の幅などを本来の設計値とは異なる幅に設定することが可能となるため、作製精度の限界により、本来の設計値では結合線路を形成困難な積層型ランゲカプラであっても、これを容易に作製することが可能となる。
以下、添付図面を参照しながら、本発明の好ましい実施の形態について詳細に説明する。
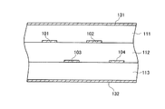
図1は、本発明の好ましい第1の実施形態にかかる積層型ランゲカプラ100の構造を示す透視平面図であり、図2は、図1に示すA−A線に沿った略断面図である。
図1及び図2に示すように、本実施形態による積層型ランゲカプラ100は、絶縁層111と絶縁層112との間に存在する配線層(第1の配線層)に形成された第1及び第2の結合線路101,102と、絶縁層112と絶縁層113との間に存在する配線層(第2の配線層)に形成された第3及び第4の結合線路103,104とを備えている。これら第1乃至第4の結合線路101〜104は、互いに平行に配置されており、このうち、第1及び第2の結合線路101,102の一端は第1のポート121に共通接続され、他端は第2のポート122に共通接続されている。また、第3及び第4の結合線路103,104の一端は第3のポート123に共通接続され、他端は第4のポート124に共通接続されている。
さらに、本実施形態による積層型ランゲカプラ100は、絶縁層111の表面に形成された第1のグランドパターン131と、絶縁層113の表面に形成された第2のグランドパターン132とを備えており、これによって、第1乃至第4の結合線路101〜104は、第1及び第2のグランドパターン131,132によって挟み込まれた構造を有している。
図3は、本実施形態による積層型ランゲカプラ100の回路構成を模式的に示す図である。
図3に示すように、積層型ランゲカプラ100に含まれる第1乃至第4の結合線路101〜104は、第1の結合線路101、第3の結合線路103、第2の結合線路102、第4の結合線路104の順に平行配置されており、隣り合う結合線路が容量的に結合される。第1乃至第4の結合線路101〜104の長さLは互いに等しく、いずれも伝送信号の1/4波長に相当する長さに設定されている。例えば、伝送信号が24GHzである場合、絶縁層111〜113の比誘電率を6.3とすると、結合線路の長さLは約1.2mmとなる。また、第1乃至第4のポート121〜124は、1つが入力ポート、2つが出力ポートとして用いられ、残りの1つは例えば50Ωに終端される。
第1乃至第4の結合線路101〜104の幅Wや、隣り合う結合線路間の間隔Sについても、伝送信号の周波数などに応じて設定されるが、隣り合う結合線路が異なる配線層に形成されていることから、結合線路間の間隔Sについては非常に自由度が高い。したがって、結合線路を形成する際の精度限界によって、平面的には形成不可能な狭い間隔であっても、これを実現することが可能となる。
上述のとおり、本実施形態による積層型ランゲカプラ100は、第1及び第2のグランドパターン131,132によって、第1乃至第4の結合線路101〜104が挟み込まれた構造を有している。つまり、各結合線路101〜104は、マイクロストリップ線路ではなく、ストリップ線路として機能する。このため、本実施形態による積層型ランゲカプラ100が搭載された高周波回路全体をシールドケースによって覆った場合であっても、このシールドケースが特性に与える影響はほとんどなく、設計値に近い特性を得ることが可能となる。しかも、実使用時に金属板などのグランド面を近づけたり遠ざけたりしても、これによりインピーダンスが変化するようなことはほとんどなく、使用環境に応じた特性の変動を抑制することが可能となる。さらに、第1及び第2のグランドパターン131,132によって結合線路101〜104が挟み込まれているため、放射損失についても低減される。
ここで、第1の配線層に形成された第1及び第2の結合線路101,102から第1のグランドパターン131までの距離と、第2の配線層に形成された第3及び第4の結合線路103,104から第2のグランドパターン132までの距離は、実質的に等しいことが好ましい。これによれば、結合線路間における高い対称性を得ることが可能となり、その結果、良好な結合特性を得ることが可能となる。このことは、第1及び第2の結合線路101,102が形成された第1の配線層と、第3及び第4の結合線路103,104が形成された第2の配線層とを分離する絶縁層112の膜厚を十分に確保可能であることを意味し、これにより十分な製造マージンを確保することができるとともに、製品の信頼性を高めることが可能となる。
次に、本発明の好ましい第2の実施形態について説明する。
図4は、本発明の好ましい第2の実施形態にかかる積層型ランゲカプラ200の構造を示す透視平面図である。図4のA−A線に沿った断面は、図2に示す構造と全く同じである。
図4に示すように、本実施形態による積層型ランゲカプラ200は、第1及び第2の結合線路101,102の分岐領域近傍、並びに、第3及び第4の結合線路103,104の分岐領域近傍に、オープンスタブ型のインピーダンス調整パターン201〜204が形成されている点において、上記実施形態による積層型ランゲカプラ100と異なる。その他の点は、上記実施形態による積層型ランゲカプラ100と同じであることから、同一の構成要素には同一の符号を付し、重複する説明は省略する。
第1及び第2の結合線路101,102の分岐領域とは、第1及び第2の結合線路101,102の一端及び他端を指し、この近傍にインピーダンス調整パターン201,202が形成されている。同様に、第3及び第4の結合線路103,104の分岐領域とは、第3及び第4の結合線路103,104の一端及び他端を指し、この近傍にインピーダンス調整パターン203,204が形成されている。
インピーダンス調整パターン201〜204は、第1乃至第4のポート121〜124から見た各結合線路101〜104のインピーダンスを調整する役割を果たす。つまり、伝送信号の周波数が高くなるほど、結合線路101〜104の幅Wを細くする必要が生じるが、結合線路101〜104の幅Wは作製時の精度限界によって制限されるため、所定幅未満に細くすることができない。このため、目的とする周波数が非常に高い場合には、所望のインピーダンスを得ることができないケースが考えられる。特に、本発明による積層型ランゲカプラのように、第1乃至第4の結合線路の上下をグランドパターンで挟み込む構造を採用すると、グランドパターンを一方の面のみに形成する場合に比べて、結合線路幅をより細くする必要が生じることから、作製時の精度限界の影響を受けやすいものと考えられる。
このような場合であっても、結合線路101〜104の幅Wを敢えて理論値よりも幅広に設定し、これによる特性のずれをインピーダンス調整パターン201〜204によって補償すれば、目的とする周波数にて所望のインピーダンスを得ることが可能となる。一例として、伝送信号を24GHz、絶縁層111〜113の比誘電率を6.3とすると、インピーダンス調整パターン201〜204を設けない場合(図1参照)においては、良好な特性を得るためには結合線路101〜104の幅Wを約16μmに設定する必要があるが、インピーダンス調整パターン201〜204を設けた場合(図4参照)には、結合線路101〜104の幅Wを約60μmに設定することによって良好な特性が得られる。これにより、製造に際して要求される微細加工のレベルが緩和されることから、製造コストを削減することが可能となる。
インピーダンス調整パターン201〜204は、分岐領域からみて、伝送信号の1/4波長に相当する距離以内の位置に形成されていることが好ましい。インピーダンス調整パターン201〜204をこの範囲内に形成すれば、インピーダンス調整パターン201〜204による高い調整効果を得ることが可能となる。
また、本実施形態では、インピーダンス調整パターン201〜204として、オープンスタブ型のパターンを用いているが、これは、高い調整効果を最も簡単に得るためである。オープンスタブの長さPとしては、伝送信号の1/4波長に相当する長さ以内に設定することが好ましい。オープンスタブの長さPを上記の長さに設定すれば、積層型ランゲカプラ200の平面形状を必要以上に大型化することなく、高い調整効果を得ることが可能となる。
但し、本発明において、インピーダンス調整パターン201〜204としてオープンスタブ型のパターンを用いることは必須でなく、例えば、図5に示すようにショートスタブ型のパターンであっても構わないし、図6に示すようにポート121〜124の一部を幅広としたパターンであっても構わないし、図7に示すようにポート121〜124の一部を幅細としたパターンであっても構わない。
以上、本発明の好ましい実施形態について説明したが、本発明は、上記の実施形態に限定されることなく、本発明の主旨を逸脱しない範囲で種々の変更が可能であり、それらも本発明の範囲内に包含されるものであることはいうまでもない。
本発明の好ましい第1の実施形態にかかる積層型ランゲカプラ100の構造を示す透視平面図である。 図1に示すA−A線に沿った略断面図である。 本実施形態による積層型ランゲカプラ100の回路構成を模式的に示す図である。 本発明の好ましい第2の実施形態にかかる積層型ランゲカプラ200の構造を示す透視平面図である。 インピーダンス調整パターン201〜204をショートスタブ型のパターンとした例を示す部分平面図である。 インピーダンス調整パターン201〜204を幅広パターンとした例を示す部分平面図である。 インピーダンス調整パターン201〜204を幅細パターンとした例を示す部分平面図である。
符号の説明
100,200 積層型ランゲカプラ
101〜104 結合線路
111〜113 絶縁層
121〜124 ポート
131,132 グランドパターン
201〜204 インピーダンス調整パターン
L 結合線路の長さ
W 結合線路の幅
S 結合線路間の間隔
P オープンスタブの長さ

Claims (3)

  1. 第1の配線層に形成された互いに平行な第1及び第2の結合線路であって、一端が第1のポートに共通接続され、他端が第2のポートに共通接続された第1及び第2の結合線路と、
    前記第1の配線層とは異なる第2の配線層に形成された互いに平行な第3及び第4の結合線路であって、一端が第3のポートに共通接続され、他端が第4のポートに共通接続された第3及び第4の結合線路と、
    前記第1乃至第4の結合線路を挟み込むように形成された第1及び第2のグランドパターンとを備えることを特徴とする積層型ランゲカプラ。
  2. 前記第1及び第2の結合線路の前記一端及び他端の近傍、並びに、前記第3及び第4の結合線路の前記一端及び他端の近傍に、インピーダンス調整パターンが形成されていることを特徴とする請求項1に記載の積層型ランゲカプラ。
  3. 前記インピーダンス調整パターンは、前記第1及び第2の結合線路の前記一端及び他端、並びに、前記第3及び第4の結合線路の前記一端及び他端からみて、伝送信号の1/4波長に相当する距離以内の位置に形成されていることを特徴とする請求項2に記載の積層型ランゲカプラ。
JP2005083728A 2005-03-23 2005-03-23 積層型ランゲカプラ Expired - Fee Related JP3972045B2 (ja)

Priority Applications (1)

Application Number Priority Date Filing Date Title
JP2005083728A JP3972045B2 (ja) 2005-03-23 2005-03-23 積層型ランゲカプラ

Applications Claiming Priority (1)

Application Number Priority Date Filing Date Title
JP2005083728A JP3972045B2 (ja) 2005-03-23 2005-03-23 積層型ランゲカプラ

Publications (2)

Publication Number Publication Date
JP2006270349A JP2006270349A (ja) 2006-10-05
JP3972045B2 true JP3972045B2 (ja) 2007-09-05

Family

ID=37205859

Family Applications (1)

Application Number Title Priority Date Filing Date
JP2005083728A Expired - Fee Related JP3972045B2 (ja) 2005-03-23 2005-03-23 積層型ランゲカプラ

Country Status (1)

Country Link
JP (1) JP3972045B2 (ja)

Families Citing this family (1)

* Cited by examiner, † Cited by third party
Publication number Priority date Publication date Assignee Title
JP2015056793A (ja) * 2013-09-12 2015-03-23 三菱電機株式会社 方向性結合器

Also Published As

Publication number Publication date
JP2006270349A (ja) 2006-10-05

Similar Documents

Publication Publication Date Title
US7319370B2 (en) 180 degrees hybrid coupler
US7009467B2 (en) Directional coupler
JP4004048B2 (ja) 高周波伝送線路
US11909088B2 (en) Transmission line member including first and third transmission line portions connected by a second coplanar waveguide portion of reduced thickness and greater width
CN101533944A (zh) 定向耦合器
JP2011010209A (ja) 差動信号線路及び配線基板
JP4854622B2 (ja) 方形導波管部と差動線路部との接続構造
CN113764877A (zh) 天线装置
WO2005083832A1 (ja) 変換回路
US8154364B2 (en) High-frequency transmission line having ground surface patterns with a plurality of notches therein
JP4198912B2 (ja) 対称ストリップラインと非対称ストリップラインの間の遷移構造
JP6230248B2 (ja) 方向性結合器
US7688164B2 (en) High frequency circuit board converting a transmission mode of high frequency signals
JP2008219476A (ja) 伝送線路変換部並びにこれを有する高周波回路及び高周波モジュール
JP3972045B2 (ja) 積層型ランゲカプラ
WO2019216188A1 (ja) 伝送線路及びその実装構造
US11335987B2 (en) Directional coupler
JP7641808B2 (ja) アンテナ装置
JP4526713B2 (ja) 高周波回路
JP2025043950A (ja) 方向性結合器
JP2008060915A (ja) ハイブリッド回路
JPH09321505A (ja) マイクロ波回路
JP6919768B2 (ja) ミリ波モジュール
JP4718510B2 (ja) 180°ハイブリッドカプラ
JP3966235B2 (ja) 方向性結合器

Legal Events

Date Code Title Description
TRDD Decision of grant or rejection written
A01 Written decision to grant a patent or to grant a registration (utility model)

Free format text: JAPANESE INTERMEDIATE CODE: A01

Effective date: 20070605

A61 First payment of annual fees (during grant procedure)

Free format text: JAPANESE INTERMEDIATE CODE: A61

Effective date: 20070611

R150 Certificate of patent or registration of utility model

Free format text: JAPANESE INTERMEDIATE CODE: R150

Ref document number: 3972045

Country of ref document: JP

Free format text: JAPANESE INTERMEDIATE CODE: R150

FPAY Renewal fee payment (event date is renewal date of database)

Free format text: PAYMENT UNTIL: 20110615

Year of fee payment: 4

FPAY Renewal fee payment (event date is renewal date of database)

Free format text: PAYMENT UNTIL: 20120615

Year of fee payment: 5

FPAY Renewal fee payment (event date is renewal date of database)

Free format text: PAYMENT UNTIL: 20120615

Year of fee payment: 5

FPAY Renewal fee payment (event date is renewal date of database)

Free format text: PAYMENT UNTIL: 20130615

Year of fee payment: 6

FPAY Renewal fee payment (event date is renewal date of database)

Free format text: PAYMENT UNTIL: 20140615

Year of fee payment: 7

LAPS Cancellation because of no payment of annual fees