JP3914675B2 - 浴室暖房乾燥機 - Google Patents
浴室暖房乾燥機 Download PDFInfo
- Publication number
- JP3914675B2 JP3914675B2 JP2000011444A JP2000011444A JP3914675B2 JP 3914675 B2 JP3914675 B2 JP 3914675B2 JP 2000011444 A JP2000011444 A JP 2000011444A JP 2000011444 A JP2000011444 A JP 2000011444A JP 3914675 B2 JP3914675 B2 JP 3914675B2
- Authority
- JP
- Japan
- Prior art keywords
- ventilation
- main body
- bathroom
- air
- ventilation unit
- Prior art date
- Legal status (The legal status is an assumption and is not a legal conclusion. Google has not performed a legal analysis and makes no representation as to the accuracy of the status listed.)
- Expired - Fee Related
Links
- 238000010438 heat treatment Methods 0.000 title claims description 21
- 238000009423 ventilation Methods 0.000 claims description 112
- 239000000428 dust Substances 0.000 claims description 6
- 238000007599 discharging Methods 0.000 claims description 4
- 238000001035 drying Methods 0.000 description 13
- 238000007689 inspection Methods 0.000 description 7
- 238000010276 construction Methods 0.000 description 6
- 230000000694 effects Effects 0.000 description 5
- 239000011347 resin Substances 0.000 description 3
- 229920005989 resin Polymers 0.000 description 3
- RYGMFSIKBFXOCR-UHFFFAOYSA-N Copper Chemical compound [Cu] RYGMFSIKBFXOCR-UHFFFAOYSA-N 0.000 description 2
- 229910052802 copper Inorganic materials 0.000 description 2
- 239000010949 copper Substances 0.000 description 2
- 238000010586 diagram Methods 0.000 description 2
- 238000010981 drying operation Methods 0.000 description 2
- 238000009434 installation Methods 0.000 description 2
- XLYOFNOQVPJJNP-UHFFFAOYSA-N water Substances O XLYOFNOQVPJJNP-UHFFFAOYSA-N 0.000 description 2
- 239000002537 cosmetic Substances 0.000 description 1
- 238000003795 desorption Methods 0.000 description 1
- 230000006866 deterioration Effects 0.000 description 1
- 238000012423 maintenance Methods 0.000 description 1
- 238000000034 method Methods 0.000 description 1
- 230000000149 penetrating effect Effects 0.000 description 1
- 239000000725 suspension Substances 0.000 description 1
Images
Landscapes
- Accessory Of Washing/Drying Machine, Commercial Washing/Drying Machine, Other Washing/Drying Machine (AREA)
- Drying Of Solid Materials (AREA)
Description
【発明の属する技術分野】
本発明は浴室の天井裏に設けられ、浴室を暖房するとともに、浴室内の衣類を乾燥し、浴室と浴室とは異なる別室を換気することができる多室換気機能付き浴室暖房乾燥機に関する。
【0002】
【従来の技術】
近年、夫婦共働きの増加に伴い洗濯物を室内にて乾かしたいという要望が多くなり、浴室を洗濯物の乾燥の場所として利用する浴室暖房乾燥機が普及している。
【0003】
また、この浴室暖房乾燥機を利用し浴室以外の部屋も換気するタイプも増加の傾向にある。
【0004】
従来この種の浴室暖房乾燥機は、浴室の換気風路として温風吹出口の横のスペースを利用していた(特開平9−243127号公報)。
【0005】
また、換気ユニットの取付については換気ユニットにフランジを設けこのフランジを本体に取り付けていた(特開平10−73296号公報)。
【0006】
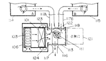
以下、その構成について図7〜図10を参照しながら説明する。
【0007】
図に示すように、下面を開口し内部に温水コイルよりなる熱交換器101と浴室102の空気を循環させる循環用送風機103により形成される循環用風路104を設け、側面にこの循環風路104の外側に形成される換気通路A122、換気通路B123、換気通路C124に連通する換気接続口105を設けた本体106と、この本体106の下面開口を覆う形状でフィルター107を有した吸込口108および吹出口109を形成した化粧パネル110と、内部に換気用送風機111を設け本体106取付け用のフランジ112を有する枠体113で覆い、前記浴室102および別室A114、別室B115の空気を吸込み、排気口116、ダクト117を介して屋外に排出する風路を形成した換気ユニット118を前記本体106側面に取り付ける構成としていた。
【0008】
上記構成において、浴室暖房乾燥機を乾燥運転すると、循環用送風機103により本体106の下面に設けられた化粧パネル110の吸込口108より浴室102の空気が本体106に吸い込まれ、熱交換器101で熱交換され温められた温風を吹出口109より吹き出し、浴室102内に吊り下げられた洗濯物120に当て乾燥していた。
【0009】
そして、洗濯物120より除去された水分により浴室102内の空気の絶対湿度が上昇するため、換気用送風機111により、温風の吹き出す化粧パネル110の吹出口109から一部を換気通路A122から吸込む。また、吸込口108からも浴室102内の湿った空気を吸込み、本体102の換気接続口105、ダクト117を介して屋外に排出して浴室102内の絶対湿度の上昇を抑え洗濯物120の乾燥をおこなっていた。
【0010】
また、換気ユニット118の取り付けは、浴室102の天井面に設けられた点検口121からおこなっていた。
【0011】
【発明が解決しようとする課題】
このような従来の本体内換気風路の構成を持つ浴室暖房乾燥機では、吹出口109より換気通路A122を介して吸込むため温風の一部を屋外に排出することとなりエネルギーの損失が発生する。また、吹出口109より換気風路A122を通り吸込む関係でフィルター107を通らない空気が換気ユニット118に吸込まれファンに付着する埃の量が増える。
【0012】
本発明はこのような従来の課題を解決するものであり、乾燥運転時の換気による熱ロスを減少させ、換気ユニットの汚れを軽減できる浴室暖房乾燥機を提供することを目的としている。
【0013】
また、一部の空気は吸込口108から熱交換器101の横の換気通路B123、換気通路C124を通って換気ユニット118に吸い込まれるが、熱交換器101の側面には温水が流れる銅管が多数露出している為、この部分で熱交換し熱ロスが発生する。また、熱交換器101から出ている銅管が本体106の外郭に当たらないように設けられたスペースを換気の風路として利用しているが、風路としての面積が充分取れないため、風に対する抵抗が大きく、この部分だけで換気風量を確保することが困難であった。
【0014】
本発明はこのような従来の課題を解決するものであり、換気ユニットの脱着を容易にすることによりメンテナンスしやすい浴室暖房乾燥機を提供することを目的としている。
【0015】
また、換気ユニット118の取り付けは点検口121からおこなうが、排気ダクト117、吸込ダクト117A、吸込ダクト117Bが換気ユニット118の左右に設置されているため、取り付けのためのねじ止めが困難であった。
【0016】
本発明はこのような従来の課題を解決するものであり、換気ユニットの取り付け時、換気ユニットに無理な力がかからず、施工の確実さが増す浴室暖房乾燥機を提供することを目的としている。
【0017】
また、換気ユニットの取り付け時、長尺ねじの頭の浮きを隠すことにより誤って長尺ねじのねじ山を潰すことを防ぎ、施工の確実さが増す浴室暖房乾燥機を提供することを目的としている。
【0018】
また、長尺ねじに外れ防止を施すと共に、この外れ防止が潰れない構造とすることにより、施工の確実さが増す浴室暖房乾燥機を提供することを目的としている。
【0019】
【課題を解決するための手段】
上記課題を解決するための本発明の浴室暖房乾燥機の一つの手段は、本体の内部に熱交換器と浴室の空気を循環させる循環用送風機により形成する循環用風路を設け、さらにこの循環用風路と本体の外郭を形成するフレーム間に換気吸込風路を形成し、前記本体の下面開口を覆う形状でフィルターを有した吸込口および吹出口を形成した化粧パネルを設け、前記本体側面に換気接続口を設け、この換気接続口に内部には換気用送風機を設けた換気ユニットを取り付け、前記浴室および別室の空気を外部に排出する風路を形成した構成において、前記循環用送風機によって、前記吸込口より流入した前記浴室内の空気は、前記フィルターにより塵埃を除かれた後、前記熱交換器を通過して熱交換され、温風となって前記吹出口より吹き出し、一方、前記換気用送風機によって、前記吸込口より流入した前記浴室内の空気は、前記フィルターにより塵埃を除かれた後、前記本体内の前記換気吸込風路、前記換気接続口を通り屋外へ排出される構成としたものである。
【0020】
本発明によれば上記手段により、乾燥運転時の換気による熱ロスを減少させ、換気ユニットの汚れを軽減できる浴室暖房乾燥機が得られる。
【0021】
また、他の手段は、本体の側面に換気ユニット固定用の掛片およびねじ孔を設け、前記換気ユニットの枠体に前記掛片に嵌合する受部と長尺ねじを保持するための本体側ガイドと取付側ガイドを形成した構成としたものである。
【0022】
そして本発明によれば上記手段により、換気ユニットの脱着を容易にすることによりメンテナンスしやすい浴室暖房乾燥機が得られる。
【0023】
また、他の手段は、本体と換気ユニットを固定する長尺ねじの形状を先端段付きねじとしたものである。
【0024】
そして本発明によれば上記手段により、換気ユニットの取り付け時、換気ユニットに無理な力がかからず、施工の確実さが増す浴室暖房乾燥機が得られる。
【0025】
また、他の手段は、換気ユニットの取付側ガイドに長尺ねじの頭部が沈み込む形状になる凹部Aを設けた構成としたものである。
【0026】
そして本発明によれば上記手段により、換気ユニットの取り付け時、長尺ねじの頭の浮きを隠すことにより誤って長尺ねじのねじ山を潰すことを防ぎ、施工の確実さが増す浴室暖房乾燥機が得られる。
【0027】
また、他の手段は、長尺ねじに外れ防止用のワッシャーを取り付けると共に、ワッシャーの潰れ防止用に換気ユニットの本体側ガイドに凹部Bを設ける構成としたものである。
【0028】
そして本発明によれば上記手段により、長尺ねじに外れ防止を施すと共に、この外れ防止が潰れない構造とすることにより、施工の確実さが増す浴室暖房乾燥機が得られる。
【0029】
【発明の実施の形態】
本発明の請求項1に記載の発明は、本体の内部に熱交換器と浴室の空気を循環させる循環用送風機により形成する循環用風路を設け、さらにこの循環用風路と本体の外郭を形成するフレーム間に換気吸込風路を形成し、前記本体の下面開口を覆う形状でフィルターを有した吸込口および吹出口を形成した化粧パネルを設け、前記本体側面に換気接続口と換気ユニット固定用の掛片およびねじ孔を設け、この換気接続口に内部には換気用送風機を設けた換気ユニットを取り付け、前記換気ユニットの枠体に前記掛片に嵌合する受部と長尺ねじを保持するための本体側ガイドと取付側ガイドを形成し、前記浴室および別室の空気を外部に排出する風路を形成した構成において、前記循環用送風機によって、前記吸込口より流入した前記浴室内の空気は、前記フィルターにより塵埃を除かれた後、前記熱交換器を通過して熱交換され、温風となって前記吹出口より吹き出し、一方、前記換気用送風機によって、前記吸込口より流入した前記浴室内の空気は、前記フィルターにより塵埃を除かれた後、前記本体内の前記換気吸込風路、前記換気接続口を通り屋外へ排出される浴室暖房乾燥機であって、前記長尺ねじに外れ防止用のワッシャーを取り付けると共に、前記ワッシャーの潰れ防止用に前記換気ユニットの前記本体側ガイドに凹部Bを設けるものであり、換気のための空気はすべて温風の吹き出す吹出口から離れた吸込口から吸い込まれ、フィルターにより徐塵された後、換気用送風機により屋外に排出し、かつ、換気ユニットの取り付け時、長尺ねじに設けられたワッシャーにより長尺ねじが抜け落ちることを防ぎ、本体側ガイドに設けられた凹部Bにより前記ワッシャーが潰れるのを防ぐという作用を有する。
【0034】
以下、本発明の実施例について図面を参照しながら説明する。
【0035】
(実施例1)
図1に示すように、本体106の内部に熱交換器101と浴室102の空気を循環させる循環用送風機103により形成する循環用風路104を設け、この循環用風路104と本体の外郭を形成するフレーム1の間に換気吸込風路2を形成している。
【0036】
また、本体106の下面開口を覆う形でフィルター107を有した吸込口108および吹出口109を形成した化粧パネル110を設けている。
【0037】
また、本体106の側面に換気接続口105を設け、この換気接続口105に内部に換気用送風機111を設けた換気ユニット118を取り付け、浴室および別室の空気を外部に排出する風路を形成している。
【0038】
上記構成において、浴室102内の吊下棒に吊り下げられた洗濯物(図示せず)を乾燥させるべく浴室暖房乾燥機を運転すると、循環用送風機103によって吸込口108より流入した浴室102内の空気は、フィルター107により塵埃を除かれた後、熱交換器101を通過して熱交換され、温風となって吹出口109より吹き出し洗濯物を乾燥することになる。
【0039】
一方、洗濯物より除去された水分による湿った空気の一部は吸込口108よりフィルター107により塵埃を除かれた後、本体106内の換気吸込風路2、換気接続口105を通り、換気用送風機111により屋外へ排出される。
【0040】
(実施例2)
図2および図3に示すように、浴室暖房乾燥機の本体106の換気接続口105を設けた側面に、換気ユニットの固定用の掛片3とねじ孔8を設け、換気ユニットの本体106側の枠体113には前記掛片3に嵌合する受部4と、枠体113を貫通する長尺ねじ5を保持する本体側ガイド6と取付側ガイド7を設けた構成とする。
【0041】
上記構成において、換気ユニットを予め設けられた浴室102の点検口から本体106に取り付ける時は、本体106に設けられた掛片3に換気ユニットの枠体113に設けられた受部4を嵌め込み位置決めをした後、枠体113を貫通する長尺ねじ5を本体のねじ孔8に締込み、取付側ガイド7を押さえる形で換気ユニットを固定することとなる。
【0042】
また、メンテナンスは点検口より長尺ねじ5を外し、換気ユニットを持ち上げて、本体106との嵌合部を外した後、点検口から下に降ろしておこなうこととなる。
【0043】
(実施例3)
図4に示すように、本体と換気ユニットを固定する長尺ねじの形状を先端段付きねじ5Aとしたものである。
【0044】
上記構成において、換気ユニットを本体に取り付ける場合、先端段付長尺ねじ5Aの段付き部分が換気ユニットの本体側ガイド6を押え込み換気ユニットを本体側に固定することとなる。
【0045】
(実施例4)
図5に示すように、換気ユニット118の取付側ガイド7に長尺ねじ5の頭が沈み込む形状となる凹部A9を設ける構成とする。
【0046】
上記構成において、換気ユニット118を本体106に取り付ける場合、長尺ねじ5の段付き部分が換気ユニット118の本体側ガイド6を押え込み、換気ユニット118を本体側に固定する。この時長尺ねじ5の頭部は取付側ガイド7から浮いているが取付側ガイド7に設けられた凹部A9により外部から長尺ねじ5の頭の浮きが認識されないこととなる。
【0047】
(実施例5)
図6に示すように、換気ユニット118の枠体113を貫通する長尺ねじ5の先端ねじ部にねじ山が食いつく内寸法の樹脂製ワッシャー10を取り付けると共に、本体側ガイド6のワッシャー10に対応する部分に凹部B11を設ける構成とする。
【0048】
上記構成において、樹脂製ワッシャー10が長尺ねじ5のねじ部に取り付けてあるため、長尺ねじが枠体113から抜け落ちない、また本体側ガイド6の凹部B11があるため長尺ねじ5を締め込んだ場合にもワッシャー10が潰れることがない。
【0049】
【発明の効果】
以上の実施例から明かなように本発明によれば、換気のための空気はすべて温風の吹き出す吹出口から離れた吸込口から取り入れ、フィルターにより徐塵した後、換気用送風機により屋外に排出するため、換気による熱ロスの発生を抑えるとともに換気用送風機の汚れや目詰まりによる換気性能の低下を防ぐことができるという有利な効果が得られる。
【0050】
また、換気ユニットの本体への取り付けを長尺ねじで行う為、点検口のすぐ近くで作業をおこなうことができ、点検口からの脱着が容易になり、メンテナンスがしやすくなるという有利な効果が得られる。
【0051】
また、本体に換気ユニットを取り付けるための長尺ねじを段付きにすることにより換気ユニットに無理な力がかかり、傾いて取り付くなどの不具合が発生したりするのを防ぐことができるという有利な効果が得られる。
【0052】
また、取付側ガイドに長尺ねじの頭部が沈み込む形状となる凹部Aを設けることにより、作業者が長尺ねじの頭が取付側ガイドから浮いているのを認識した場合、ねじが十分締まっていないと誤認し無理やり締め込むことによりねじ山を潰してしまうことを防ぐことができるという有利な効果が得られる。
【0053】
また、長尺ねじに樹脂製ワッシャーを取り付け、このワッシャーに対応する本体側ガイドに設けた凹部Bにより、換気ユニットを本体に取り付ける際ねじが抜け落ちないので取り付け作業が容易であり、またワッシャーの潰れ等を防ぐことができるという有利な効果が得られる。
【図面の簡単な説明】
【図1】本発明の実施例1の浴室暖房乾燥機の構成を示す断面図
【図2】同実施例2の浴室暖房乾燥機の本体の換気接続口側側面を示す詳細斜視図
【図3】同浴室暖房乾燥機の換気ユニットを示す構造図
【図4】同実施例3の浴室暖房乾燥機の先端段付長尺ねじの形状および取付方法を示す斜視図
【図5】同実施例4の浴室暖房乾燥機の換気ユニットの形状および取付図
【図6】同実施例5の浴室暖房乾燥機の長尺ねじの取付図
【図7】従来の浴室暖房乾燥機の構成を示す縦断面図
【図8】同浴室暖房乾燥機の構成を示す横断面図
【図9】同浴室暖房乾燥機の本体と換気ユニットの取り付けを示す斜視図
【図10】同浴室暖房乾燥機の風の流れを示す構成図
【符号の説明】
1 フレーム
2 換気吸込風路
3 掛片
4 受部
5 長尺ねじ
5A 先端段付きねじ
6 本体側ガイド
7 取付側ガイド
8 ねじ孔
9 凹部A
10 ワッシャー
11 凹部B
101 熱交換器
102 浴室
103 循環用送風機
104 循環用風路
105 換気接続口
106 本体
107 フィルター
108 吸込口
109 吹出口
110 化粧パネル
111 換気用送風機
118 換気ユニット
Claims (1)
- 本体の内部に熱交換器と浴室の空気を循環させる循環用送風機により形成する循環用風路を設け、さらにこの循環用風路と本体の外郭を形成するフレーム間に換気吸込風路を形成し、前記本体の下面開口を覆う形状でフィルターを有した吸込口および吹出口を形成した化粧パネルを設け、前記本体側面に換気接続口と換気ユニット固定用の掛片およびねじ孔を設け、この換気接続口には内部に換気用送風機を設けた換気ユニットを取り付け、前記換気ユニットの枠体に前記掛片に嵌合する受部と長尺ねじを保持するための本体側ガイドと取付側ガイドを形成し、前記浴室および別室の空気を外部に排出する風路を形成した構成において、前記循環用送風機によって、前記吸込口より流入した前記浴室内の空気は、前記フィルターにより塵埃を除かれた後、前記熱交換器を通過して熱交換され、温風となって前記吹出口より吹き出し、一方、前記換気用送風機によって、前記吸込口より流入した前記浴室内の空気は、前記フィルターにより塵埃を除かれた後、前記本体内の前記換気吸込風路、前記換気接続口を通り屋外へ排出される浴室暖房乾燥機であって、前記長尺ねじに外れ防止用のワッシャーを取り付けると共に、前記ワッシャーの潰れ防止用に前記換気ユニットの前記本体側ガイドに凹部Bを設ける構成とした浴室暖房乾燥機。
Priority Applications (1)
| Application Number | Priority Date | Filing Date | Title |
|---|---|---|---|
| JP2000011444A JP3914675B2 (ja) | 2000-01-20 | 2000-01-20 | 浴室暖房乾燥機 |
Applications Claiming Priority (1)
| Application Number | Priority Date | Filing Date | Title |
|---|---|---|---|
| JP2000011444A JP3914675B2 (ja) | 2000-01-20 | 2000-01-20 | 浴室暖房乾燥機 |
Publications (2)
| Publication Number | Publication Date |
|---|---|
| JP2001201258A JP2001201258A (ja) | 2001-07-27 |
| JP3914675B2 true JP3914675B2 (ja) | 2007-05-16 |
Family
ID=18539306
Family Applications (1)
| Application Number | Title | Priority Date | Filing Date |
|---|---|---|---|
| JP2000011444A Expired - Fee Related JP3914675B2 (ja) | 2000-01-20 | 2000-01-20 | 浴室暖房乾燥機 |
Country Status (1)
| Country | Link |
|---|---|
| JP (1) | JP3914675B2 (ja) |
Families Citing this family (1)
| Publication number | Priority date | Publication date | Assignee | Title |
|---|---|---|---|---|
| JP2010276290A (ja) * | 2009-05-29 | 2010-12-09 | Panasonic Corp | 浴室暖房乾燥機 |
-
2000
- 2000-01-20 JP JP2000011444A patent/JP3914675B2/ja not_active Expired - Fee Related
Also Published As
| Publication number | Publication date |
|---|---|
| JP2001201258A (ja) | 2001-07-27 |
Similar Documents
| Publication | Publication Date | Title |
|---|---|---|
| JP3914675B2 (ja) | 浴室暖房乾燥機 | |
| CN112647263B (zh) | 一种用于衣物护理的冷凝器、烘干装置及衣物护理装置 | |
| JP6442862B2 (ja) | 送風装置 | |
| JP3973807B2 (ja) | 浴室用乾燥機 | |
| JPH1033896A (ja) | 衣類乾燥機 | |
| CN214899498U (zh) | 一种用于配电柜的除湿装置 | |
| JP4314879B2 (ja) | 浴室換気乾燥機 | |
| JP2001046799A (ja) | 補助乾燥室付き衣類乾燥機 | |
| CN213811435U (zh) | 一种红木家具生产用烘干装置 | |
| US20170254014A1 (en) | Venting laundry dryer with two fans | |
| CN100513902C (zh) | 一种能向室内吹热风的除湿器 | |
| CN219328140U (zh) | 一种具有新型降温结构的除湿机 | |
| CN221881950U (zh) | 一种温度可调节的羽绒烘毛机 | |
| CN220156776U (zh) | 一种消防电器控制装置 | |
| CN210463779U (zh) | 一种建筑工程设备高效防潮处理装置 | |
| JP3693513B2 (ja) | 壁面設置式浴室乾燥機 | |
| CN109537253A (zh) | 一种具有液压缸和液压杆的衣物烘干装置 | |
| JPH09313794A (ja) | 衣類乾燥機 | |
| CN210394910U (zh) | 一种洗衣机加热管装置 | |
| JPH09108497A (ja) | 衣類乾燥機 | |
| CN212521706U (zh) | 一种烘干机 | |
| JP3655941B2 (ja) | 浴室換気乾燥装置 | |
| KR102426815B1 (ko) | 건조선반 및 이를 포함하는 건조기 | |
| JPS6024320Y2 (ja) | 衣類乾燥機 | |
| JPH0814740A (ja) | 浴室乾燥装置 |
Legal Events
| Date | Code | Title | Description |
|---|---|---|---|
| A621 | Written request for application examination |
Free format text: JAPANESE INTERMEDIATE CODE: A621 Effective date: 20040315 |
|
| RD01 | Notification of change of attorney |
Free format text: JAPANESE INTERMEDIATE CODE: A7421 Effective date: 20050620 |
|
| A977 | Report on retrieval |
Free format text: JAPANESE INTERMEDIATE CODE: A971007 Effective date: 20060519 |
|
| A131 | Notification of reasons for refusal |
Free format text: JAPANESE INTERMEDIATE CODE: A131 Effective date: 20060606 |
|
| A521 | Written amendment |
Free format text: JAPANESE INTERMEDIATE CODE: A523 Effective date: 20060726 |
|
| A131 | Notification of reasons for refusal |
Free format text: JAPANESE INTERMEDIATE CODE: A131 Effective date: 20060905 |
|
| A521 | Written amendment |
Free format text: JAPANESE INTERMEDIATE CODE: A523 Effective date: 20061106 |
|
| TRDD | Decision of grant or rejection written | ||
| A01 | Written decision to grant a patent or to grant a registration (utility model) |
Free format text: JAPANESE INTERMEDIATE CODE: A01 Effective date: 20070116 |
|
| A61 | First payment of annual fees (during grant procedure) |
Free format text: JAPANESE INTERMEDIATE CODE: A61 Effective date: 20070205 |
|
| R150 | Certificate of patent or registration of utility model |
Free format text: JAPANESE INTERMEDIATE CODE: R150 |
|
| FPAY | Renewal fee payment (event date is renewal date of database) |
Free format text: PAYMENT UNTIL: 20100209 Year of fee payment: 3 |
|
| S533 | Written request for registration of change of name |
Free format text: JAPANESE INTERMEDIATE CODE: R313533 |
|
| FPAY | Renewal fee payment (event date is renewal date of database) |
Free format text: PAYMENT UNTIL: 20100209 Year of fee payment: 3 |
|
| R350 | Written notification of registration of transfer |
Free format text: JAPANESE INTERMEDIATE CODE: R350 |
|
| FPAY | Renewal fee payment (event date is renewal date of database) |
Free format text: PAYMENT UNTIL: 20100209 Year of fee payment: 3 |
|
| FPAY | Renewal fee payment (event date is renewal date of database) |
Free format text: PAYMENT UNTIL: 20110209 Year of fee payment: 4 |
|
| FPAY | Renewal fee payment (event date is renewal date of database) |
Free format text: PAYMENT UNTIL: 20120209 Year of fee payment: 5 |
|
| FPAY | Renewal fee payment (event date is renewal date of database) |
Free format text: PAYMENT UNTIL: 20130209 Year of fee payment: 6 |
|
| FPAY | Renewal fee payment (event date is renewal date of database) |
Free format text: PAYMENT UNTIL: 20130209 Year of fee payment: 6 |
|
| FPAY | Renewal fee payment (event date is renewal date of database) |
Free format text: PAYMENT UNTIL: 20140209 Year of fee payment: 7 |
|
| LAPS | Cancellation because of no payment of annual fees |