JP3847499B2 - 二段圧縮冷凍冷蔵装置 - Google Patents
二段圧縮冷凍冷蔵装置 Download PDFInfo
- Publication number
- JP3847499B2 JP3847499B2 JP28651799A JP28651799A JP3847499B2 JP 3847499 B2 JP3847499 B2 JP 3847499B2 JP 28651799 A JP28651799 A JP 28651799A JP 28651799 A JP28651799 A JP 28651799A JP 3847499 B2 JP3847499 B2 JP 3847499B2
- Authority
- JP
- Japan
- Prior art keywords
- stage compression
- low
- compression element
- valve
- condenser
- Prior art date
- Legal status (The legal status is an assumption and is not a legal conclusion. Google has not performed a legal analysis and makes no representation as to the accuracy of the status listed.)
- Expired - Fee Related
Links
- 230000006835 compression Effects 0.000 title claims description 143
- 238000007906 compression Methods 0.000 title claims description 143
- 238000005057 refrigeration Methods 0.000 title claims description 39
- 239000003507 refrigerant Substances 0.000 description 37
- 238000001816 cooling Methods 0.000 description 35
- 238000010257 thawing Methods 0.000 description 16
- 238000007710 freezing Methods 0.000 description 13
- 230000008014 freezing Effects 0.000 description 13
- 238000010586 diagram Methods 0.000 description 8
- 230000000694 effects Effects 0.000 description 7
- 238000010438 heat treatment Methods 0.000 description 7
- VZSRBBMJRBPUNF-UHFFFAOYSA-N 2-(2,3-dihydro-1H-inden-2-ylamino)-N-[3-oxo-3-(2,4,6,7-tetrahydrotriazolo[4,5-c]pyridin-5-yl)propyl]pyrimidine-5-carboxamide Chemical compound C1C(CC2=CC=CC=C12)NC1=NC=C(C=N1)C(=O)NCCC(N1CC2=C(CC1)NN=N2)=O VZSRBBMJRBPUNF-UHFFFAOYSA-N 0.000 description 1
- 239000002826 coolant Substances 0.000 description 1
- 230000006866 deterioration Effects 0.000 description 1
- 230000008020 evaporation Effects 0.000 description 1
- 238000001704 evaporation Methods 0.000 description 1
- 239000000446 fuel Substances 0.000 description 1
- 239000007788 liquid Substances 0.000 description 1
- 238000000034 method Methods 0.000 description 1
Images
Classifications
-
- F—MECHANICAL ENGINEERING; LIGHTING; HEATING; WEAPONS; BLASTING
- F25—REFRIGERATION OR COOLING; COMBINED HEATING AND REFRIGERATION SYSTEMS; HEAT PUMP SYSTEMS; MANUFACTURE OR STORAGE OF ICE; LIQUEFACTION SOLIDIFICATION OF GASES
- F25B—REFRIGERATION MACHINES, PLANTS OR SYSTEMS; COMBINED HEATING AND REFRIGERATION SYSTEMS; HEAT PUMP SYSTEMS
- F25B47/00—Arrangements for preventing or removing deposits or corrosion, not provided for in another subclass
- F25B47/02—Defrosting cycles
- F25B47/022—Defrosting cycles hot gas defrosting
-
- F—MECHANICAL ENGINEERING; LIGHTING; HEATING; WEAPONS; BLASTING
- F25—REFRIGERATION OR COOLING; COMBINED HEATING AND REFRIGERATION SYSTEMS; HEAT PUMP SYSTEMS; MANUFACTURE OR STORAGE OF ICE; LIQUEFACTION SOLIDIFICATION OF GASES
- F25B—REFRIGERATION MACHINES, PLANTS OR SYSTEMS; COMBINED HEATING AND REFRIGERATION SYSTEMS; HEAT PUMP SYSTEMS
- F25B2400/00—General features or devices for refrigeration machines, plants or systems, combined heating and refrigeration systems or heat-pump systems, i.e. not limited to a particular subgroup of F25B
- F25B2400/13—Economisers
-
- F—MECHANICAL ENGINEERING; LIGHTING; HEATING; WEAPONS; BLASTING
- F25—REFRIGERATION OR COOLING; COMBINED HEATING AND REFRIGERATION SYSTEMS; HEAT PUMP SYSTEMS; MANUFACTURE OR STORAGE OF ICE; LIQUEFACTION SOLIDIFICATION OF GASES
- F25B—REFRIGERATION MACHINES, PLANTS OR SYSTEMS; COMBINED HEATING AND REFRIGERATION SYSTEMS; HEAT PUMP SYSTEMS
- F25B2600/00—Control issues
- F25B2600/25—Control of valves
- F25B2600/2511—Evaporator distribution valves
-
- F—MECHANICAL ENGINEERING; LIGHTING; HEATING; WEAPONS; BLASTING
- F25—REFRIGERATION OR COOLING; COMBINED HEATING AND REFRIGERATION SYSTEMS; HEAT PUMP SYSTEMS; MANUFACTURE OR STORAGE OF ICE; LIQUEFACTION SOLIDIFICATION OF GASES
- F25D—REFRIGERATORS; COLD ROOMS; ICE-BOXES; COOLING OR FREEZING APPARATUS NOT OTHERWISE PROVIDED FOR
- F25D2400/00—General features of, or devices for refrigerators, cold rooms, ice-boxes, or for cooling or freezing apparatus not covered by any other subclass
- F25D2400/28—Quick cooling
Landscapes
- Engineering & Computer Science (AREA)
- Physics & Mathematics (AREA)
- Mechanical Engineering (AREA)
- Thermal Sciences (AREA)
- General Engineering & Computer Science (AREA)
- Devices That Are Associated With Refrigeration Equipment (AREA)
- Defrosting Systems (AREA)
Description
【発明の属する技術分野】
本発明は、2つの圧縮要素を持つ二段圧縮機を備えた二段圧縮冷凍冷蔵装置に関するものである。
【0002】
【従来の技術】
近年、冷蔵室と冷凍室を備えた家庭用の冷凍冷蔵庫は、省エネルギーや各庫内の温度制御の精度向上が求められている。その中で、低段側圧縮部と高段側圧縮部により構成された圧縮機と、凝縮器、第一の膨張手段、冷蔵室用冷却器、第二の膨張手段及び冷凍室用冷却器とから構成された二段圧縮冷凍サイクルを備えている冷凍冷蔵庫が提案されている。
【0003】
そのような冷凍冷蔵庫として、例えば特開平11−223397号公報に示されているものがある。
【0004】
以下、図面を参照しながら上記従来の冷凍冷蔵庫を説明する。
【0005】
図4は従来の冷凍冷蔵庫の冷媒回路図である。図4において、冷凍装置1を構成する圧縮機2の吐出管3は、配管4を経て凝縮器5の入口に接続され、この凝縮器5の出口側は二方に分岐し、一方は第一の膨張手段としてのキャピラリチューブ6に接続され、他方は分岐配管7となって冷蔵室用冷却器8内を熱交換的に通過した後、第二の膨張手段としてのキャピラリチューブ9に接続されている。そして、キャピラリチューブ6の出口は冷蔵室用冷却器8に接続される。この冷蔵室用冷却器8の出口側配管10は合流器11内に上方から挿入され、内部にて開口されている。また、キャピラリチューブ9の出口に冷凍室用冷却器12が接続され、冷凍室用冷却器12の出口に接続された配管13は圧縮機2の吸入管14に連通されている。圧縮機2は低段側圧縮部15、高段側圧縮部16を備え、低段側圧縮部15の吐出側と高段側圧縮部16の吸入側は配管17、合流器11、吸入管18を介して接続されている。
【0006】
以上のように構成された冷凍冷蔵庫について、以下にその動作を説明する。
【0007】
圧縮機が運転されると、低段側圧縮部15は吸入管14から冷媒を吸引して圧縮(一段圧縮)し、配管17に吐出する。配管17に吐出された一段圧縮ガス冷媒は、合流器11を経て吸入管18から高段側圧縮部16に吸引される。そこで圧縮(二段圧縮)された二段圧縮ガス冷媒は、吐出管3から配管4に吐出される。そして、凝縮器5に流入し、そこで放熱して凝縮された後、凝縮器5から流出して分流され、一方はキャピラリチューブ6にて減圧された後、冷蔵室用冷却器8内に流入して蒸発する。このときに周囲から熱を奪うことによって、冷蔵室用冷却器8は冷却作用を発揮し冷蔵室内は所定の温度に冷却される。尚、このときに蒸発する冷媒温度は−10 ℃〜0 ℃の範囲となるようにキャピラリチューブ6の絞り量を選定している。そして、冷蔵室用冷却器8を出た低温ガス冷媒は出口側配管10を通って合流器11に流入する。そこで、後述する如く低段側圧縮部15から吐出された一段圧縮ガス冷媒と合流した後、共に吸入管18から高段側圧縮部16に吸引され、再び圧縮されることになる。一方、凝縮器5から分岐配管7に流入した液冷媒は、冷蔵室用冷却器8内を通過する過程で過冷却された後、キャピラリチューブ9にて減圧されて、冷凍室用冷却器12に流入し、そこで蒸発する。このときの蒸発温度は−20 ℃以下となり、周囲から熱を奪うことによって冷凍室用冷却器12は冷却作用を発揮し、冷凍室内は所定の温度に冷却される。そして、冷凍室用冷却器12を出た低温ガス冷媒は配管13を経て圧縮機2に帰還し、吸入管14から低段側圧縮部15に再び吸い込まれる。この低段側圧縮部15から吐出された一段圧縮ガス冷媒は前述した如く合流器11にて冷蔵室用冷却器8を出た低温ガス冷媒と合流した後、共に吸入管18から高段側圧縮部16に吸引され、再び圧縮されることになる。
【0008】
尚、冷蔵室用冷却器8は図示しない冷凍冷蔵庫の冷蔵室内に設置されると共に、この冷蔵室用冷却器8と熱交換した冷気は例えば送風機によって冷蔵室内に循環される。また、冷凍室用冷却器12は冷凍冷蔵庫の冷凍室内に設置されると共に、この冷凍室用冷却器12と熱交換した冷気も例えば送風機によって冷凍室内に循環される。これらによって各室をそれぞれ各冷却器によって直接冷却するものである。
【0009】
【発明が解決しようとする課題】
しかしながら上記従来の構成では、圧縮機運転中は冷凍室と冷蔵室を同時に冷却し、各室の冷凍能力の比率はほぼ一定に保たれるため、冷凍室と冷蔵室の冷却負荷がアンバランスになったとき、片方の庫内が冷凍能力不足になったり、冷凍能力過剰になったりして、各庫内を適正に冷却できなくなると共に、冷凍サイクルの効率が悪くなる可能性があるという欠点があった。 また、冷蔵室用冷却器8あるいは冷凍室用冷却器12の片方だけの冷却ができないため、冷却器の性能低下を防止するために行う冷蔵室用冷却器8と冷凍室用冷却器12における霜取りにおいて冷凍室と冷蔵室の両冷却を停止しなければならないという欠点があった。
【0010】
本発明は従来の課題を解決するもので、冷凍室と冷蔵室の冷却負荷がアンバランスになったときでも、片方の庫内が冷凍能力不足になったり、冷凍能力過剰になったりすることを防止して、各庫内を適正に冷却できるようにすると共に、冷凍サイクルの効率を良くし、更に冷蔵室用冷却器(中間圧用蒸発器)と冷凍室用冷却器(低圧用蒸発器)における霜取りにおいて冷凍室と冷蔵室の片側のみ冷却を停止することができる二段圧縮冷凍冷蔵装置を提供することを目的とする。
【0011】
また、上記従来の構成は、冷却器の性能低下を防止するために行う冷蔵室用冷却器と冷凍室用冷却器における霜取りにおいて冷凍室と冷蔵室の両冷却を停止し、かつヒーター等の外部からの加熱手段を用いて行わなければならず消費電力が多くなる欠点があった。
【0012】
本発明の他の目的は、冷蔵室用冷却器(中間圧用蒸発器)と冷凍室用冷却器(低圧用蒸発器)における霜取りにおいて冷凍室と冷蔵室の片側のみ冷却を停止することができ、更に外部からの加熱手段を用いずに霜取りを行うことができる消費電力が少ない二段圧縮冷凍冷蔵装置を提供することである。
【0013】
また、上記従来の構成は、圧縮機2の低段側圧縮部15と高段側圧縮部16が直列接続であるため、並列接続を行う同一サイズの圧縮機と比べ圧縮機最大能力が小さくなり、ドアの開閉や庫内に入れる食品の違いによる冷凍室、あるいは冷蔵室庫内の冷凍負荷が著しく増大したときに対応できず庫内各部の温度が不均一になったり、庫内温度が上昇してしまう可能性があるという欠点があった。
【0014】
本発明の他の目的は、冷凍室、冷蔵室庫内の冷却負荷の変化に対応し庫内各部の温度の均一化が図れ、更に冷凍室と冷蔵室の冷凍負荷の著しい増大への対応と、急速冷却を選択的に行うことのできる効率的な二段圧縮冷凍冷蔵装置を提供することである。
【0015】
【課題を解決するための手段】
この目的を達成するために本発明は、密閉容器内にモーターと低段圧縮要素と高段圧縮要素とを備えた往復動式の二段圧縮機と、前記高段圧縮要素の吐出側と配管接続した凝縮器と、前記凝縮器の出口側と配管接続した中間圧用膨張装置と、入口側が前記中間圧用膨張装置と配管接続され、出口側が前記低段圧縮要素の吐出側ならびに前記高段圧縮要素の吸入側と共に連通する中間圧用蒸発器と、前記凝縮器の出口側あるいは前記中間圧用膨張装置の出口側と配管接続した低圧用膨張装置と、前記低圧用膨張装置と前記低段圧縮要素の吸入側との間に配管接続された低圧用蒸発器と、前記凝縮器と前記中間圧用蒸発器との間に設けられた第一開閉弁、あるいは前記凝縮器と前記低圧用蒸発器との間に設けられた第二開閉弁との少なくともどちらか一方の開閉弁とからなる構成としたのである。
【0016】
これにより、冷凍室と冷蔵室の冷却負荷がアンバランスになったときでも、片方の庫内が冷凍能力不足になったり、冷凍能力過剰になったりすることを防止して、各庫内を適正に冷却できるようにすると共に、冷凍サイクルの効率を良くする、更に中間圧用蒸発器(冷蔵庫用)と低圧用蒸発器(冷凍庫用)における霜取りにおいて冷凍室と冷蔵室の片側のみ冷却を停止することができる。
【0017】
また、本発明は、更に中間圧用蒸発器と高段圧縮要素との間に設けられた第三開閉弁、あるいは低圧用蒸発器と低段圧縮要素との間に設けられた第四開閉弁との少なくともどちらか一方の開閉弁とを備えた構成としたのである。
【0018】
これにより、中間圧用蒸発器(冷蔵庫用)と低圧用蒸発器(冷凍庫用)における霜取りにおいて冷凍室と冷蔵室の片側のみ冷却を停止することができ、更に外部からの加熱手段を用いずに霜取りを行うことができ、消費電力を小さくすることができる。
【0019】
また、本発明は、更に低段圧縮要素の吐出側と高段圧縮要素の吸入側とを連通する配管に設けられた第五開閉弁と、前記低段圧縮要素の吐出側と高段圧縮要素の吐出側とを連通する第一バイパス通路と、前記第一バイパス通路に設けられた第六開閉弁と、前記低段圧縮要素の吸入側と前記高段圧縮要素の吸入側とを連通する第二バイパス通路と、前記第二バイパス通路に設けられた第七開閉弁とを備えた構成としたのである。
【0020】
これにより、冷凍室、冷蔵室庫内の冷却負荷の変化に対応し庫内各部の温度の均一化が図れ、更に冷凍室と冷蔵室の冷却負荷の著しい増大への対応と、急速冷却を選択的に行うことができる。
【0021】
【発明の実施の形態】
本発明の請求項1に記載の発明は、密閉容器内にモーターと低段圧縮要素と高段圧縮要素とを備えた往復動式の二段圧縮機と、前記高段圧縮要素の吐出側と配管接続した凝縮器と、前記凝縮器の出口側と配管接続した中間圧用膨張装置と、入口側が前記中間圧用膨張装置と配管接続され、出口側が前記低段圧縮要素の吐出側ならびに前記高段圧縮要素の吸入側と共に連通する中間圧用蒸発器と、前記凝縮器の出口側あるいは前記中間圧用膨張装置の出口側と配管接続した低圧用膨張装置と、前記低圧用膨張装置と前記低段圧縮要素の吸入側との間に配管接続された低圧用蒸発器と、前記凝縮器と前記中間圧用蒸発器との間に設けられた第一開閉弁、あるいは前記凝縮器と前記低圧用蒸発器との間に設けられた第二開閉弁との少なくともどちらか一方の開閉弁とからなる構成としたものであり、冷凍室と冷蔵室の冷却負荷がアンバランスになったとき、第一開閉弁を開け、第二開閉弁を閉じることにより冷蔵室片側の冷却を行うことができ、あるいは第二開閉弁を開け、第一開閉弁を閉じることにより冷凍室片側の冷却を行うことができる。従って、片方の庫内が冷凍能力不足になったり、冷凍能力過剰になったりすることを防止して、各庫内を適正に冷却できるようにすると共に、余分な圧縮機仕事を節約し、冷凍サイクルの効率を良くする。更に中間圧用蒸発器と低圧用蒸発器における霜取りにおいて冷凍室と冷蔵室の片側のみ冷却を停止することにより、冷凍室と冷蔵室の冷却負荷のバランスを保ちつつ霜取りを行い蒸発器の性能低下を防止するという作用を有する。
【0022】
請求項2に記載の発明は、請求項1に記載の発明に、さらに、中間圧用蒸発器と高段圧縮要素との間に設けられた第三開閉弁、あるいは低圧用蒸発器と低段圧縮要素との間に設けられた第四開閉弁との少なくともどちらか一方の開閉弁とを備えた構成としたものであり、中間圧用蒸発器と低圧用蒸発器における霜取りにおいて冷凍室と冷蔵室の片側のみ冷却を停止することができ、更に二段圧縮機運転中に第一開閉弁を開き、第三開閉弁を閉じることにより、冷凍サイクルの高温冷媒が中間圧用蒸発器に流入し、外部からの加熱手段を用いずに中間圧用蒸発器の霜取りを行うことができ、第二開閉弁を開き、第四開閉弁を閉じることにより同様に外部からの加熱手段を用いずに冷凍サイクルの高温冷媒を用いて低圧用蒸発器の霜取りを行うことができるという作用を有する。
【0023】
請求項3に記載の発明は、請求項1あるいは請求項2に記載の発明に、さらに、低段圧縮要素の吐出側と高段圧縮要素の吸入側とを連通する配管に設けられた第五開閉弁と、前記低段圧縮要素の吐出側と前記高段圧縮要素の吐出側とを連通する第一バイパス通路と、前記第一バイパス通路に設けられた第六開閉弁と、前記低段圧縮要素の吸入側と前記高段圧縮要素の吸入側とを連通する第二バイパス通路と、前記第二バイパス通路に設けられた第七開閉弁とを備えた構成としたものであり、冷凍室、冷蔵室庫内の冷却負荷の変化に対応し庫内各部の温度の均一化が図れ、更に第四開閉弁、第六開閉弁、第七開閉弁を開き、第三開閉弁と第五開閉弁を閉じることにより、低段圧縮要素と高段圧縮要素の並列運転となり冷媒循環量が大きくなるため、冷凍室の急速冷却ができ、第三開閉弁、第六開閉弁、第七開閉弁を開き、第四開閉弁と第五開閉弁を閉じることにより、同様に低段圧縮要素と高段圧縮要素の並列運転となり、冷媒循環量が大きくなるため冷蔵室の急速冷却ができ、各庫内の冷却負荷の著しい増大への対応と、急速冷却を選択的に行うことができるという作用を有する。
【0024】
【実施例】
以下、本発明による二段圧縮冷凍冷蔵装置の実施例について、図面を参照しながら説明する。尚、従来と同一構成については、同一符号を付して詳細な説明を省略する。
【0025】
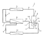
(実施例1)
図1は本発明の実施例1による二段圧縮冷凍冷蔵装置の冷媒回路図を示す。
【0026】
図1において、19は、密閉容器20内にモーター21と低段圧縮要素22と高段圧縮要素23とを備えた二段圧縮機であり、24は高段圧縮要素23の吐出側と配管接続した凝縮器である。25は凝縮器24の出口側と配管接続した中間圧用膨張装置であり、26は入口側が中間圧用膨張装置25と配管接続され、出口側が低段圧縮要素22の吐出側ならびに高段圧縮要素23の吸入側と共に連通する中間圧用蒸発器であり、27は凝縮器24の出口側と配管接続した低圧用膨張装置である。28は低圧用膨張装置27と低段圧縮要素22の吸入側との間に配管接続された低圧用蒸発器である。29は凝縮器24と中間圧用蒸発器26との間に設けられた第一開閉弁29であり、30は凝縮器24と低圧用蒸発器28との間で低圧用膨張装置27の入口側に設けられた第二開閉弁である。
【0027】
以上のように構成された二段圧縮冷凍冷蔵装置について、以下その動作を説明する。
【0028】
第一開閉弁29と第二開閉弁30が開いた状態で二段圧縮機19を運転させると従来例と同様に二段圧縮サイクルが形成される。そして、二段圧縮機19の運転中に、第一開閉弁29を開け、第二開閉弁30を閉じると、凝縮器24から流出した冷媒は第一開閉弁29の方にのみ流れて、中間圧用膨張装置25にて減圧された後、中間圧用蒸発器26内に流入して蒸発し、冷蔵室のみの冷却を行う。そして、中間圧用蒸発器26を出た低温ガス冷媒は高段圧縮要素23に吸引され、圧縮されて凝縮器24へと送られる。一方、低段圧縮要素22は冷媒を吸引して、密閉容器20内に吐出するため、低圧用蒸発器28内は真空に近くなる。このように冷蔵室のみの冷却運転となる。
【0029】
また、二段圧縮機19の運転中に、第二開閉弁30を開け、第一開閉弁29を閉じると、凝縮器24から流出した冷媒は第二開閉弁30の方にのみ流れて、低圧用膨張装置27にて減圧された後、低圧用蒸発器28内に流入して蒸発し、冷凍室のみの冷却を行う。そして、低圧用蒸発器28を出た低温ガス冷媒は低段圧縮要素22に吸引され、密閉容器20内に吐出する。高段圧縮要素23は密閉容器20内の冷媒を吸引して、圧縮し凝縮器24に送る。このように冷凍室のみの冷却運転となる。
【0030】
このように第一開閉弁、第二開閉弁の制御を冷凍室と冷蔵室の負荷に応じて行うことにより、各庫内を適正に冷却でき、かつ消費電力を小さくすることができる。また、冷凍室側あるいは冷蔵室側どちらかのみの運転をしているときに、運転していない蒸発器の霜取りを行うことができる。
【0031】
以上のように本実施例の二段圧縮冷凍冷蔵装置は、密閉容器20内にモーター21と低段圧縮要素22と高段圧縮要素23とを備えた二段圧縮機19と、高段圧縮要素23の吐出側と配管接続した凝縮器24と、凝縮器24の出口側と配管接続した中間圧用膨張装置25と、入口側が中間圧用膨張装置25と配管接続され、出口側が低段圧縮要素22の吐出側ならびに高段圧縮要素23の吸入側と共に連通する中間圧用蒸発器26と、凝縮器24の出口側と配管接続した低圧用膨張装置27と、低圧用膨張装置27と低段圧縮要素22の吸入側との間に配管接続された低圧用蒸発器28と、凝縮器24と中間圧用蒸発器26との間に設けられた第一開閉弁29と、凝縮器24と低圧用蒸発器28との間に設けられた第二開閉弁30とを備えているので、冷凍室と冷蔵室の冷却負荷がアンバランスになったときでも、片方の庫内が冷凍能力不足になったり、冷凍能力過剰になったりすることを防止して、各庫内を適正に冷却できるようにすると共に、冷凍サイクルの効率を良くする、更に中間圧用冷却器と低圧用冷却器における霜取りにおいて冷凍室と冷蔵室の片側のみ冷却を停止することができる。
【0032】
尚、本実施例では、第二開閉弁30は凝縮器24と低圧用蒸発器28との間で低圧用膨張装置27の入口側に設けたが、第二開閉弁30を凝縮器24と低圧用蒸発器28との間であればどこに設けても、同様の効果が得られる。
【0033】
尚、本実施例では、低圧用膨張装置27は凝縮器24の出口側と配管接続され、第一開閉弁29は凝縮器24と中間圧用蒸発器26との間に設けられ、第二開閉弁30は凝縮器24の出口側と低圧用蒸発器28との間で低圧用膨張装置27の入口側に設けたが、低圧用膨張装置27は中間圧用膨張装置25の出口側と配管接続され、第一開閉弁29は中間圧用膨張装置25の出口側と中間圧用蒸発器26との間に設けられ、第二開閉弁30は凝縮器24と低圧用蒸発器28との間で中間圧用膨張装置25の出口側と低圧用蒸発器28との間であればどこに設けてもよい。低圧用膨張装置27は中間圧用膨張装置25の出口側と配管接続され、第一開閉弁29は中間圧用膨張装置25の出口側と中間圧用蒸発器26との間に設けられ、第二開閉弁30は凝縮器24と低圧用蒸発器28との間で中間圧用膨張装置25の出口側と低圧用蒸発器28との間に設けると同様の効果が得られる。
【0034】
尚、本実施例では、密閉容器20内にモーター21と低段圧縮要素22と高段圧縮要素23とを備えた二段圧縮機19としたが、低段圧縮要素22を備えた圧縮機と、高段圧縮要素23を備えた圧縮機の2つの圧縮機で構成しても同様の効果が得られる。
【0035】
(実施例2)
図2は本発明の実施例2による二段圧縮冷凍冷蔵装置の冷媒回路図を示す。尚、実施例1と同一構成については、同一符号を付して詳細な説明を省略する。
【0036】
図2において、31は中間圧用蒸発器26と二段圧縮機19との間に設けられた第三開閉弁であり、32は低圧用蒸発器28と二段圧縮機19との間に設けられた第四開閉弁である。
【0037】
以上のように構成された二段圧縮冷凍冷蔵装置について、以下その動作を説明する。
【0038】
第三開閉弁31と第四開閉弁32が開いた状態で二段圧縮機19を運転させると実施例1と同様な二段圧縮冷凍装置が形成される。そして、二段圧縮機19の運転中に、第一開閉弁29を開き、第三開閉弁31を閉じることにより、凝縮器24から出た高温冷媒が中間圧用蒸発器26に流入し、中間圧用蒸発器26の霜取りが行われる。
【0039】
また、第二開閉弁30を開き、第四開閉弁32を閉じることにより、凝縮器24から出た高温冷媒が低圧用蒸発器28に流入し、低圧用蒸発器28の霜取りが行われる。
【0040】
このように第一開閉弁、第二開閉弁、第三開閉弁、第四開閉弁の制御を中間圧用蒸発器あるいは低圧用蒸発器の霜取りに応じて行うことにより、外部からの加熱手段を用いずに中間圧用蒸発器あるいは低圧用蒸発器の霜取りを行うことができ、かつ消費電力を小さくすることができる。
【0041】
以上のように本実施例の二段圧縮冷凍冷蔵装置は、中間圧用蒸発器26と二段圧縮機19との間に設けられた第三開閉弁31と、低圧用蒸発器28と二段圧縮機19との間に設けられた第四開閉弁32とを備えているので、実施例1の効果に加えて、外部からの加熱手段を用いずに霜取りを行うことができ、かつ消費電力を小さくすることができる。
【0042】
(実施例3)
図3は本発明の実施例3による二段圧縮冷凍冷蔵装置の冷媒回路図を示す。尚、実施例1、実施例2と同一構成については、同一符号を付して詳細な説明を省略する。
【0043】
図3において、33は低段圧縮要素22の吐出側と高段圧縮要素23の吸入側とを連通する配管34に設けられた第五開閉弁である。35は低段圧縮要素22の吐出側と高段圧縮要素23の吐出側とを連通する第一バイパス通路であり、36は第一バイパス通路35に設けられた第六開閉弁である。37は低段圧縮要素22の吸入側と高段圧縮要素23の吸入側とを連通する第二バイパス通路であり、38は第二バイパス通路37に設けられた第七開閉弁である。
【0044】
以上のように構成された二段圧縮冷凍冷蔵装置について、以下その動作を説明する。
【0045】
第五開閉弁33と第六開閉弁36と第七開閉弁38が閉じた状態で二段圧縮機19を運転させると実施例1および実施例2と同様な二段圧縮冷凍冷蔵装置が形成される。そして二段圧縮機19の運転中に、第三開閉弁31、第六開閉弁36、第七開閉弁38を開らき、第四開閉弁32と第五開閉弁33を閉じると、凝縮器24から流出した冷媒は第一開閉弁29の方にのみ流れて、中間圧用膨張装置25にて減圧された後、中間圧用蒸発器26内に流入して蒸発し、冷蔵室のみの急速冷却を行う。そして、中間圧用蒸発器26を出た低温ガス冷媒は分岐される。一方は高段圧縮要素23に吸引され、圧縮されて凝縮器24へと送られる。また他方は第二バイパス通路37を経て、低段圧縮要素22に吸引され、圧縮されて第一バイパス通路35に吐出される。そして凝縮器24へ送られる。このように低段圧縮要素22と高段圧縮要素23の並列接続を使った冷蔵室のみの急速冷却運転となる。
【0046】
また、二段圧縮機19の運転中に、第四開閉弁32、第六開閉弁36、第七開閉弁38を開らき、第三開閉弁31と第五開閉弁33を閉じると、凝縮器24から流出した冷媒は第二開閉弁30の方にのみ流れて、低圧用膨張装置27にて減圧された後、低圧用蒸発器28内に流入して蒸発し、冷凍室のみの急速冷却を行う。そして、低圧用蒸発器28を出た低温ガス冷媒は分岐される。他方は第二バイパス通路37を経て、高段側圧縮要素22に吸引され、圧縮されて凝縮器24へと送られる。また他方は、低段圧縮要素22に吸引され、圧縮されて第一バイパス通路35に吐出される。そして凝縮器24へ送られる。このように低段圧縮要素22と高段圧縮要素23の並列接続を使った冷凍室のみの急速冷却運転となる。
【0047】
このように第五開閉弁、第六開閉弁、第七開閉弁の制御を冷凍室と冷蔵室の負荷に応じて行うことにより、各庫内を選択的に急速冷却でき、かつ消費電力を小さくすることができる。
【0048】
以上のように本実施例の二段圧縮冷凍冷蔵装置は、低段圧縮要素22の吐出側と高段圧縮要素23の吸入側とを連通する配管34に設けられた第五開閉弁33と、低段圧縮要素22の吐出側と高段圧縮要素23の吐出側とを連通する第一バイパス通路35と、第一バイパス通路35に設けられた第六開閉弁36と、低段圧縮要素22の吸入側と高段圧縮要素23の吸入側とを連通する第二バイパス通路37と、第二バイパス通路38に設けられた第七開閉弁38とを備えているので、冷凍室、冷蔵室庫内の冷却負荷の変化に対応し庫内各部の温度の均一化が図れ、更に冷凍室と冷蔵室の冷却負荷の著しい増大への対応と、急速冷却を選択的に行うことができる。
【0049】
【発明の効果】
以上説明したように請求項1に記載の発明は、密閉容器内にモーターと低段圧縮要素と高段圧縮要素とを備えた往復動式の二段圧縮機と、前記高段圧縮要素の吐出側と配管接続した凝縮器と、前記凝縮器の出口側と配管接続した中間圧用膨張装置と、入口側が前記中間圧用膨張装置と配管接続され、出口側が前記低段圧縮要素の吐出側ならびに前記高段圧縮要素の吸入側と共に連通する中間圧用蒸発器と、前記凝縮器の出口側あるいは前記中間圧用膨張装置の出口側と配管接続した低圧用膨張装置と、前記低圧用膨張装置と前記低段圧縮要素の吸入側との間に配管接続された低圧用蒸発器と、前記凝縮器と前記中間圧用蒸発器との間に設けられた第一開閉弁、あるいは前記凝縮器と前記低圧用蒸発器との間に設けられた第二開閉弁との少なくともどちらか一方の開閉弁とからなる構成としたので、冷凍室と冷蔵室の冷却負荷がアンバランスになったときでも、片方の庫内が冷凍能力不足になったり、冷凍能力過剰になったりすることを防止して、各庫内を適正に冷却できるようにすると共に、冷凍サイクルの効率を良くする、更に中間圧用蒸発器と低圧用蒸発器における霜取りにおいて冷凍室と冷蔵室の片側のみ冷却を停止することができる。
【0050】
また、請求項2に記載の発明は、請求項1に記載の発明に、さらに、中間圧用蒸発器と高段圧縮要素との間に設けられた第三開閉弁、あるいは低圧用蒸発器と低段圧縮要素との間に設けられた第四開閉弁との少なくともどちらか一方の開閉弁とを備えた構成としたので、中間圧用蒸発器と低圧用蒸発器における霜取りにおいて冷凍室と冷蔵室の片側のみ冷却を停止することができ、更に外部からの加熱手段を用いずに霜取りを行うことができ、消費電力を小さくすることができる。
【0051】
また、請求項3に記載の発明は、請求項1あるいは請求項2に記載の発明に、さらに、低段圧縮要素の吐出側と高段圧縮要素の吸入側とを連通する配管に設けられた第五開閉弁と、前記低段圧縮要素の吐出側と前記高段圧縮要素の吐出側とを連通する第一バイパス通路と、前記第一バイパス通路に設けられた第六開閉弁と、前記低段圧縮要素の吸入側と前記高段圧縮要素の吸入側とを連通する第二バイパス通路と、前記第二バイパス通路に設けられた第七開閉弁とを備えた構成としたので、冷凍室、冷蔵室庫内の冷凍負荷の変化に対応し庫内各部の温度の均一化が図れ、更に冷凍室と冷蔵室の冷凍負荷の著しい増大への対応と、急速冷却を選択的に行うことができる。
【図面の簡単な説明】
【図1】本発明による二段圧縮冷凍冷蔵装置の実施例1の冷媒回路図
【図2】本発明による二段圧縮冷凍冷蔵装置の実施例2の冷媒回路図
【図3】本発明による二段圧縮冷凍冷蔵装置の実施例3の冷媒回路図
【図4】従来の二段圧縮機を使用した冷蔵冷凍庫の配管系統図
【符号の説明】
19 二段圧縮機
20 密閉容器
21 モータ
22 低段圧縮要素
23 高段圧縮要素
24 凝縮器
25 中間圧用膨張装置
26 中間圧用蒸発器
27 低圧用膨張装置
28 低圧用蒸発器
29 第一開閉弁
30 第二開閉弁
31 第三開閉弁
32 第四開閉弁
33 第五開閉弁
34 配管
35 第一バイパス通路
36 第六開閉弁
37 第二バイパス通路
38 第七開閉弁
Claims (3)
- 密閉容器内にモーターと低段圧縮要素と高段圧縮要素とを備えた往復動式の二段圧縮機と、前記高段圧縮要素の吐出側と配管接続した凝縮器と、前記凝縮器の出口側と配管接続した中間圧用膨張装置と、入口側が前記中間圧用膨張装置と配管接続され、出口側が前記低段圧縮要素の吐出側ならびに前記高段圧縮要素の吸入側と共に前記密閉容器内空間に連通する中間圧用蒸発器と、前記凝縮器の出口側あるいは前記中間圧用膨張装置の出口側と配管接続した低圧用膨張装置と、前記低圧用膨張装置と前記低段圧縮要素の吸入側との間に配管接続された低圧用蒸発器と、前記凝縮器と前記中間圧用蒸発器との間に設けられた第一開閉弁、あるいは前記凝縮器と前記低圧用蒸発器との間に設けられた第二開閉弁との少なくともどちらか一方の開閉弁とからなる二段圧縮冷凍冷蔵装置。
- 中間圧用蒸発器と高段圧縮要素との間に設けられた第三開閉弁、あるいは低圧用蒸発器と低段圧縮要素との間に設けられた第四開閉弁との少なくともどちらか一方の開閉弁とを備えた請求項1に記載の二段圧縮冷凍冷蔵装置。
- 低段圧縮要素の吐出側と高段圧縮要素の吸入側とを連通する配管に設けられた第五開閉弁と、前記低段圧縮要素の吐出側と前記高段圧縮要素の吐出側とを連通する第一バイパス通路と、前記第一バイパス通路に設けられた第六開閉弁と、前記低段圧縮要素の吸入側と前記高段圧縮要素の吸入側とを連通する第二バイパス通路と、前記第二バイパス通路に設けられた第七開閉弁とを備えた請求項1または請求項2に記載の二段圧縮冷凍冷蔵装置。
Priority Applications (1)
| Application Number | Priority Date | Filing Date | Title |
|---|---|---|---|
| JP28651799A JP3847499B2 (ja) | 1999-10-07 | 1999-10-07 | 二段圧縮冷凍冷蔵装置 |
Applications Claiming Priority (1)
| Application Number | Priority Date | Filing Date | Title |
|---|---|---|---|
| JP28651799A JP3847499B2 (ja) | 1999-10-07 | 1999-10-07 | 二段圧縮冷凍冷蔵装置 |
Publications (2)
| Publication Number | Publication Date |
|---|---|
| JP2001108345A JP2001108345A (ja) | 2001-04-20 |
| JP3847499B2 true JP3847499B2 (ja) | 2006-11-22 |
Family
ID=17705443
Family Applications (1)
| Application Number | Title | Priority Date | Filing Date |
|---|---|---|---|
| JP28651799A Expired - Fee Related JP3847499B2 (ja) | 1999-10-07 | 1999-10-07 | 二段圧縮冷凍冷蔵装置 |
Country Status (1)
| Country | Link |
|---|---|
| JP (1) | JP3847499B2 (ja) |
Families Citing this family (11)
| Publication number | Priority date | Publication date | Assignee | Title |
|---|---|---|---|---|
| US7128540B2 (en) * | 2001-09-27 | 2006-10-31 | Sanyo Electric Co., Ltd. | Refrigeration system having a rotary compressor |
| CN1423055A (zh) * | 2001-11-30 | 2003-06-11 | 三洋电机株式会社 | 回转压缩机、其制造方法、及使用该压缩机的除霜装置 |
| US7353660B2 (en) * | 2004-09-13 | 2008-04-08 | Carrier Corporation | Multi-temperature cooling system with unloading |
| EP1686330A2 (en) * | 2005-01-31 | 2006-08-02 | Sanyo Electric Co., Ltd. | Refrigerating device, refrigerator, compressor, and gas-liquid separator |
| JP2006214703A (ja) * | 2005-02-07 | 2006-08-17 | Fuji Electric Retail Systems Co Ltd | 冷媒回路および飲料供給装置 |
| ES2402711T3 (es) | 2008-08-01 | 2013-05-08 | Thermo King Corporation | Sistema de control de múltiples temperaturas |
| KR20160011001A (ko) * | 2014-07-21 | 2016-01-29 | 엘지전자 주식회사 | 냉장고 및 그 제어방법 |
| CN108662799A (zh) | 2017-03-31 | 2018-10-16 | 开利公司 | 多级制冷系统及其控制方法 |
| CN107238124B (zh) * | 2017-06-21 | 2023-06-30 | 珠海格力电器股份有限公司 | 一种制热机组及其控制方法 |
| CN115540408A (zh) * | 2021-06-30 | 2022-12-30 | 青岛海尔电冰箱有限公司 | 用于冷藏冷冻装置的制冷系统及冷藏冷冻装置 |
| CN118224664A (zh) * | 2022-12-20 | 2024-06-21 | 青岛海尔空调器有限总公司 | 换热系统、空调和冷藏一体机及其控制方法、控制装置 |
-
1999
- 1999-10-07 JP JP28651799A patent/JP3847499B2/ja not_active Expired - Fee Related
Also Published As
| Publication number | Publication date |
|---|---|
| JP2001108345A (ja) | 2001-04-20 |
Similar Documents
| Publication | Publication Date | Title |
|---|---|---|
| CN1289033B (zh) | 冰箱 | |
| US20040112082A1 (en) | Regfrigerating device | |
| KR100648457B1 (ko) | 냉동 장치 | |
| JP3847499B2 (ja) | 二段圧縮冷凍冷蔵装置 | |
| JP3975664B2 (ja) | 冷凍冷蔵庫、冷凍冷蔵庫の運転方法 | |
| US5916254A (en) | Method of circulating refridgerant for defrosting and refrigerator employing the same | |
| JP4178646B2 (ja) | 冷蔵庫 | |
| US20090126399A1 (en) | Refigeration system | |
| KR20020078094A (ko) | 김치보관용 냉장고의 운전제어방법 | |
| US20140284024A1 (en) | Method for controlling refrigerator | |
| JP2004324902A (ja) | 冷凍冷蔵庫 | |
| CN100572992C (zh) | 冰箱 | |
| JP4169080B2 (ja) | 冷凍冷蔵庫 | |
| JP4123257B2 (ja) | 冷凍装置 | |
| JP2001201194A (ja) | 冷凍冷蔵装置 | |
| KR0182726B1 (ko) | 독립냉각방식 냉장고의 제상장치 | |
| JPH04288454A (ja) | 毛細管と吸引ラインとの熱伝達を利用する冷凍装置 | |
| JP4240715B2 (ja) | 冷凍冷蔵装置 | |
| JP4618313B2 (ja) | 冷凍装置 | |
| JP4284789B2 (ja) | 冷蔵庫 | |
| KR100394008B1 (ko) | 냉장고용 냉동사이클 및 그 제어방법 | |
| JP5062079B2 (ja) | 冷凍装置 | |
| JP3710353B2 (ja) | 冷蔵庫 | |
| KR102494567B1 (ko) | 냉장고 및 그 제어방법 | |
| KR102901010B1 (ko) | 냉동싸이클 시스템의 수액기 온도를 낮추기 위한 냉매순환장치 및 냉매순환방법 |
Legal Events
| Date | Code | Title | Description |
|---|---|---|---|
| A621 | Written request for application examination |
Free format text: JAPANESE INTERMEDIATE CODE: A621 Effective date: 20050217 |
|
| RD01 | Notification of change of attorney |
Free format text: JAPANESE INTERMEDIATE CODE: A7421 Effective date: 20050622 |
|
| A871 | Explanation of circumstances concerning accelerated examination |
Free format text: JAPANESE INTERMEDIATE CODE: A871 Effective date: 20051115 |
|
| A975 | Report on accelerated examination |
Free format text: JAPANESE INTERMEDIATE CODE: A971005 Effective date: 20051124 |
|
| A131 | Notification of reasons for refusal |
Free format text: JAPANESE INTERMEDIATE CODE: A131 Effective date: 20060221 |
|
| A521 | Written amendment |
Free format text: JAPANESE INTERMEDIATE CODE: A523 Effective date: 20060424 |
|
| TRDD | Decision of grant or rejection written | ||
| A01 | Written decision to grant a patent or to grant a registration (utility model) |
Free format text: JAPANESE INTERMEDIATE CODE: A01 Effective date: 20060725 |
|
| A61 | First payment of annual fees (during grant procedure) |
Free format text: JAPANESE INTERMEDIATE CODE: A61 Effective date: 20060823 |
|
| R150 | Certificate of patent or registration of utility model |
Free format text: JAPANESE INTERMEDIATE CODE: R150 |
|
| FPAY | Renewal fee payment (event date is renewal date of database) |
Free format text: PAYMENT UNTIL: 20090901 Year of fee payment: 3 |
|
| S111 | Request for change of ownership or part of ownership |
Free format text: JAPANESE INTERMEDIATE CODE: R313111 |
|
| FPAY | Renewal fee payment (event date is renewal date of database) |
Free format text: PAYMENT UNTIL: 20090901 Year of fee payment: 3 |
|
| R350 | Written notification of registration of transfer |
Free format text: JAPANESE INTERMEDIATE CODE: R350 |
|
| FPAY | Renewal fee payment (event date is renewal date of database) |
Free format text: PAYMENT UNTIL: 20090901 Year of fee payment: 3 |
|
| FPAY | Renewal fee payment (event date is renewal date of database) |
Free format text: PAYMENT UNTIL: 20100901 Year of fee payment: 4 |
|
| FPAY | Renewal fee payment (event date is renewal date of database) |
Free format text: PAYMENT UNTIL: 20100901 Year of fee payment: 4 |
|
| FPAY | Renewal fee payment (event date is renewal date of database) |
Free format text: PAYMENT UNTIL: 20110901 Year of fee payment: 5 |
|
| LAPS | Cancellation because of no payment of annual fees |