JP3813660B2 - 容器 - Google Patents

容器 Download PDF

Info

Publication number
JP3813660B2
JP3813660B2 JP09174996A JP9174996A JP3813660B2 JP 3813660 B2 JP3813660 B2 JP 3813660B2 JP 09174996 A JP09174996 A JP 09174996A JP 9174996 A JP9174996 A JP 9174996A JP 3813660 B2 JP3813660 B2 JP 3813660B2
Authority
JP
Japan
Prior art keywords
container
lid
opening
container body
lids
Prior art date
Legal status (The legal status is an assumption and is not a legal conclusion. Google has not performed a legal analysis and makes no representation as to the accuracy of the status listed.)
Expired - Fee Related
Application number
JP09174996A
Other languages
English (en)
Other versions
JPH09255032A (ja
Inventor
潔 竹内
Current Assignee (The listed assignees may be inaccurate. Google has not performed a legal analysis and makes no representation or warranty as to the accuracy of the list.)
Kao Corp
Original Assignee
Kao Corp
Priority date (The priority date is an assumption and is not a legal conclusion. Google has not performed a legal analysis and makes no representation as to the accuracy of the date listed.)
Filing date
Publication date
Application filed by Kao Corp filed Critical Kao Corp
Priority to JP09174996A priority Critical patent/JP3813660B2/ja
Publication of JPH09255032A publication Critical patent/JPH09255032A/ja
Application granted granted Critical
Publication of JP3813660B2 publication Critical patent/JP3813660B2/ja
Anticipated expiration legal-status Critical
Expired - Fee Related legal-status Critical Current

Links

Images

Landscapes

  • Closures For Containers (AREA)
  • Containers Having Bodies Formed In One Piece (AREA)
  • Packages (AREA)

Description

【0001】
【発明の属する技術分野】
本発明は容器に係り、特に、異なる種類の複数の物品を区分けして収納するに好適な容器に関する。
【0002】
【従来の技術】
一般に、容器は容器本体の開口を蓋体が覆うものであり、この蓋体が容器本体にヒンジにて連結されたものがある。このような容器は、例えば特開平6-226833号公報に記載されている。
【0003】
【発明が解決しようとする課題】
【0004】
上述の容器では、物品は容器本体内にのみ収納されるものが一般的である。従って、異なる種類の複数の物品を区分けして収納するためには、容器本体を面積的に大きくしなければならず、容器のコンパクト化を図ることができない。
【0005】
本発明の課題は、上述の事情を考慮してなされたものであり、種類の異なる複数の物品を区分けして収納できるとともに、非使用時の小型化を達成できる容器を提供することにある。
【0006】
【課題を解決するための手段】
請求項1に記載の発明は、物品を収納可能とする容器本体の開口を覆う蓋体がヒンジを介して上記容器本体に連結された容器において、上記蓋体のヒンジは、蓋体から帯状に延在し上記容器本体の側面部に連結され、上記容器本体の開口を形成する開口縁部にシール材が接着されるとともに、上記蓋体の開口を形成する開口縁部にシール材が接着され、閉蓋時にシール材により蓋体内に収納された物品の落下が防止されるように構成されてなるものである。
【0012】
【発明の実施の形態】
以下、本発明の実施の形態を、図面に基づいて説明する。
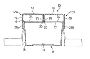
図1は、本発明に係る容器の一つの実施の形態の開蓋状態を示す斜視図である。図2は、図1の容器の閉蓋状態を示す斜視図である。図3は、図2のIII-III 線に沿う断面図である。
【0013】
容器10は、物品としての食品(不図示)を収納可能とする容器本体11と、この容器本体11の開口13を覆う一対の蓋体12A及び12Bとを有して構成され、これらの蓋体12A及び12Bも食品を収納可能とする。
【0014】
上記容器本体11、蓋体12A及び12B、並びに後述のヒンジ22A及び22Bは、バリヤ層の両側に未延伸ナイロン或いは未延伸ポリプロピレン(CPP)等の材質からなる成形層が積層された3層構造体から構成され、肉厚が約0.5 〜1.0mm である。上記バリヤ層は、酸素や水蒸気を通過させにくい材質からなり、例えば塩化ビニリデン、エチレン−ビニルアルコール共重合体(EVOH)又は特殊ナイロン等が好適である。このバリヤ層の肉厚は、約350 〜450 μm である。
【0015】
さて、容器本体11の底面部14から側面部15が立設して設けられ、上記開口13は側面部15の開口縁部16にて構成される。容器本体11内に食品が収納された後に、この開口縁部16にシール材17が接着される。
【0016】
また、夫々の蓋体12A、12Bは、天面部18から側面部19が立設され、この側面部19の開口縁部20にて、蓋体12A、12Bの開口21が形成されたものである。これらの蓋体12A、12Bは、夫々のヒンジ22A、22Bを介して容器本体11の側面部15に連結される。これらの蓋体12A及び12Bは、閉蓋状態で容器本体11の開口13を閉塞し、観音開きに開いて、容器本体11の開口を解放する。
【0017】
上記ヒンジ22A及び22Bは帯状に延び、閉蓋状態で、蓋体12A及び12Bの開口縁部20が、容器本体11の開口縁部16上に載置し得る最小の長さに設定される。また、このヒンジ22Aとヒンジ22Bとの少なくとも一方にはミシン目23が刻設されて切断可能とされ、蓋体12Aと蓋体12Bとの少なくとも一方が容器本体11から分離可能に構成される。
【0018】
上記蓋体12A及び12Bには、蓋体12A、12B内への食品の収納後、側面部19の開口縁部20にシール材24が接着される。このシール材24により、蓋体12A、12B内の食品は閉蓋時に、これらの蓋体12A、12B内に保持され、落下することが防止される。
【0019】
上記シール材24は、容器本体11側の前記シール材17と同一の材質であり、ヒートシール性を有する材質にて構成される。例えば、シール材24及び17は、ポリエチレンテレフタレート(PET)とポリ塩化ビニリデン(PVDC)又はエチレン−ビニルアルコール共重合体(PVDC)と未延伸ポリプロピレン(CPP)との3層構造の積層体にて構成される。従って、シール材17、24は、容器本体11の開口縁部16、蓋体12A及び12Bの開口縁部20に加熱により接着される。
【0020】
上記蓋体12A、12Bには、閉蓋状態で互いに対向する側面部19に係止凸部25、係止凹部26がそれぞれ形成される。閉蓋時に係止凸部25が係止凹部26に嵌合して(図3)、蓋体12A及び12Bによる閉蓋状態が保持される。また、この閉蓋状態では、容器10の外側全体がシュリンクフィルム27にて包装されて、上記閉蓋状態の確実化が図られる。
【0021】
上述のように構成された容器10にてカレーを収納する場合には、容器本体11内にライスを収納してシール材17にて開口13を閉塞し、蓋体12A又は12Bの一方(12A)にカレーのルーを収納してシール材24にて開口21を閉塞し、蓋体12A又は12Bの他方(12B)に福神漬やラッキョウを収納してシール材24にて開口21を閉塞し、蓋体12A及び12Bにて容器10を閉蓋状態とし、シュリンクフィルム27にて包装して物流過程に乗せる。
【0022】
容器10の使用時にはシュリンクフィルム27を取り去り、蓋体12A及び12Bの係止凸部25及び係止凹部26による係止状態を解除して開蓋状態とし、福神漬やラッキョウを収納した蓋体12B側のヒンジ22Bを切断し、容器本体11及び蓋体12Aのみを電子レンジ或いは湯煎鍋等にて加熱する。
【0023】
容器10にスパゲティを収納する場合には、容器本体11内にヌードルを収納し、蓋体12A或いは12Bの一方(12A)にミートソース等のパスタを収納し、他方(12B)にタラコや切り海苔等を収納し、上述のカレーの場合と同様にシート材17、24を接着し、蓋体12A及び12Bを閉じて閉蓋状態とする。この容器10の使用時にも、タラコや切り海苔を収納した蓋体12B側のヒンジ22Bを切断して、容器本体11及び蓋体12Aのみを加熱する。
【0024】
上記実施の形態によれば、容器本体11ばかりか蓋体12A及び12Bも食品を収納可能としたので、種類の異なる複数の食品を容器本体11の内部と蓋体12A及び12Bの内部とに区分けして収納できる。
【0025】
また、容器本体11の開口13を覆う蓋体12A及び12Bに食品を収納可能としたので、種類の異なる食品を区分けして収納するために容器本体11を面積的に拡大させる必要がなく、容器10の非使用時(閉蓋時)の小型化を達成できる。
【0026】
更に、ヒンジ22A、22Bがミシン目23にて切断可能に設けられて、容器本体11と蓋体12A、12Bとが分離可能に構成されたので、容器10の使用時に、加熱したい食品と加熱したくない食品とが収納された場合に、加熱したくない食品が収納された蓋体12A又は12B側のヒンジ22A又は22Bを切断して、加熱を必要とする食品のみを電子レンジ等にて加熱させることができる。
【0027】
また、電子レンジ等による加熱時に、蓋体12A及び12Bを広げて容器10を開蓋状態とすれば、蓋体12A、12B及び容器本体11内の食品の加熱を容易に実施できる。
【0028】
尚、上記実施の形態では、物品が食品の場合を述べたが、薬品等の他の物品であってもよい。また、上記実施の形態では、蓋体12A、12Bが 2個の場合を述べたが、蓋体が 1個或いは 3個以上の複数個であってもよい。複数個の場合には、これら複数個の蓋体の全てによって容器本体11の開口13が閉塞される。
【0029】
【発明の効果】
以上のように、本発明に係る容器によれば、種類の異なる複数の物品を区分けして収納できるとともに、非使用時の小型化を達成できる。
【図面の簡単な説明】
【図1】図1は、本発明に係る容器の一つの実施の形態の開蓋状態を示す斜視図である。
【図2】図2は、図1の容器の閉蓋状態を示す斜視図である。
【図3】図3は、図2のIII-III 線に沿う断面図である。
【符号の説明】
10 容器
11 容器本体
12A、12B 蓋体
13 容器本体の開口
20 開口縁部
21 蓋体の開口
22A、22B ヒンジ
23 ミシン目
24 シール材

Claims (3)

  1. 物品を収納可能とする容器本体の開口を覆う蓋体がヒンジを介して上記容器本体に連結された容器において、
    上記蓋体のヒンジは、蓋体から帯状に延在し上記容器本体の側面部に連結され、
    上記容器本体の開口を形成する開口縁部にシール材が接着されるとともに、
    上記蓋体の開口を形成する開口縁部にシール材が接着され、閉蓋時にシール材により蓋体内に収納された物品の落下が防止されるように構成されてなる容器。
  2. 上記容器本体の開口を覆う蓋体は複数個であり、閉蓋状態で互いに対向する側面部に係止凸部と係止凹部がそれぞれ形成され、係止凸部と係止凹部が閉蓋時に嵌合しうる請求項1に記載の容器。
  3. 蓋体の容器本体に連結するヒンジが切断可能に設けられて、上記蓋体と上記容器本体とが分離可能に構成された請求項1又は2に記載の容器。
JP09174996A 1996-03-22 1996-03-22 容器 Expired - Fee Related JP3813660B2 (ja)

Priority Applications (1)

Application Number Priority Date Filing Date Title
JP09174996A JP3813660B2 (ja) 1996-03-22 1996-03-22 容器

Applications Claiming Priority (1)

Application Number Priority Date Filing Date Title
JP09174996A JP3813660B2 (ja) 1996-03-22 1996-03-22 容器

Publications (2)

Publication Number Publication Date
JPH09255032A JPH09255032A (ja) 1997-09-30
JP3813660B2 true JP3813660B2 (ja) 2006-08-23

Family

ID=14035189

Family Applications (1)

Application Number Title Priority Date Filing Date
JP09174996A Expired - Fee Related JP3813660B2 (ja) 1996-03-22 1996-03-22 容器

Country Status (1)

Country Link
JP (1) JP3813660B2 (ja)

Families Citing this family (1)

* Cited by examiner, † Cited by third party
Publication number Priority date Publication date Assignee Title
KR101202904B1 (ko) * 2010-12-24 2012-11-19 주식회사 니프코코리아 자동차용 에어댐퍼

Also Published As

Publication number Publication date
JPH09255032A (ja) 1997-09-30

Similar Documents

Publication Publication Date Title
KR100244695B1 (ko) 마이크로파 가열가능한 냉동 내충격성 기밀밀봉 식품 포장 용기
EP1422163A1 (en) Food package for heating in an oven
JP2003506267A (ja) ラミネートされた密封フィルムを有する合成樹脂容器
JP2022002984A (ja) 電子レンジ用パウチ
JP3282923B2 (ja) 包装用袋体
WO2008053927A1 (en) Package body and container
USRE31571E (en) Multiple compartment packaging
US20050111764A1 (en) Dual compartment plastic bag
US4232787A (en) Food packaging
JP3813660B2 (ja) 容器
JP6326911B2 (ja) 電子レンジ用容器及び電子レンジ用包装体
JP3866019B2 (ja) 包装容器
JP2001055241A (ja) 冷凍保存用容器
KR102305454B1 (ko) 화장품 밀폐용기
JP3047150B2 (ja) 二重蓋付容器
GB2396854A (en) Food container having compartments
JPH09301446A (ja) レトルトパウチ
JP2004123111A (ja) ブリスター包装容器
JPH0418274A (ja) 成形容器と袋の組合せ包装体
JP4170518B2 (ja) 蓋材
JPH07223653A (ja) 包装用袋体
US20050029254A1 (en) Microwave reflecting container
JP3154418U (ja) 惣菜等の閉鎖材付き包装容器およびそれを用いた包装体
JP3215748U (ja) 防災備蓄用乾燥食品
JP2019189292A (ja) 包装容器

Legal Events

Date Code Title Description
A977 Report on retrieval

Free format text: JAPANESE INTERMEDIATE CODE: A971007

Effective date: 20050804

A131 Notification of reasons for refusal

Free format text: JAPANESE INTERMEDIATE CODE: A131

Effective date: 20050817

A521 Written amendment

Free format text: JAPANESE INTERMEDIATE CODE: A523

Effective date: 20051014

TRDD Decision of grant or rejection written
A01 Written decision to grant a patent or to grant a registration (utility model)

Free format text: JAPANESE INTERMEDIATE CODE: A01

Effective date: 20060529

A61 First payment of annual fees (during grant procedure)

Free format text: JAPANESE INTERMEDIATE CODE: A61

Effective date: 20060601

FPAY Renewal fee payment (event date is renewal date of database)

Free format text: PAYMENT UNTIL: 20100609

Year of fee payment: 4

FPAY Renewal fee payment (event date is renewal date of database)

Free format text: PAYMENT UNTIL: 20100609

Year of fee payment: 4

FPAY Renewal fee payment (event date is renewal date of database)

Free format text: PAYMENT UNTIL: 20110609

Year of fee payment: 5

LAPS Cancellation because of no payment of annual fees