JP3787628B2 - 間欠式自動潅水装置 - Google Patents
間欠式自動潅水装置 Download PDFInfo
- Publication number
- JP3787628B2 JP3787628B2 JP2002374747A JP2002374747A JP3787628B2 JP 3787628 B2 JP3787628 B2 JP 3787628B2 JP 2002374747 A JP2002374747 A JP 2002374747A JP 2002374747 A JP2002374747 A JP 2002374747A JP 3787628 B2 JP3787628 B2 JP 3787628B2
- Authority
- JP
- Japan
- Prior art keywords
- water
- irrigation
- storage tank
- liquid fertilizer
- amount
- Prior art date
- Legal status (The legal status is an assumption and is not a legal conclusion. Google has not performed a legal analysis and makes no representation as to the accuracy of the status listed.)
- Expired - Lifetime
Links
Images
Classifications
-
- A—HUMAN NECESSITIES
- A01—AGRICULTURE; FORESTRY; ANIMAL HUSBANDRY; HUNTING; TRAPPING; FISHING
- A01G—HORTICULTURE; CULTIVATION OF VEGETABLES, FLOWERS, RICE, FRUIT, VINES, HOPS OR SEAWEED; FORESTRY; WATERING
- A01G25/00—Watering gardens, fields, sports grounds or the like
- A01G25/16—Control of watering
- A01G25/165—Cyclic operations, timing systems, timing valves, impulse operations
-
- A—HUMAN NECESSITIES
- A01—AGRICULTURE; FORESTRY; ANIMAL HUSBANDRY; HUNTING; TRAPPING; FISHING
- A01G—HORTICULTURE; CULTIVATION OF VEGETABLES, FLOWERS, RICE, FRUIT, VINES, HOPS OR SEAWEED; FORESTRY; WATERING
- A01G27/00—Self-acting watering devices, e.g. for flower-pots
- A01G27/003—Control of self-acting watering devices
-
- Y—GENERAL TAGGING OF NEW TECHNOLOGICAL DEVELOPMENTS; GENERAL TAGGING OF CROSS-SECTIONAL TECHNOLOGIES SPANNING OVER SEVERAL SECTIONS OF THE IPC; TECHNICAL SUBJECTS COVERED BY FORMER USPC CROSS-REFERENCE ART COLLECTIONS [XRACs] AND DIGESTS
- Y02—TECHNOLOGIES OR APPLICATIONS FOR MITIGATION OR ADAPTATION AGAINST CLIMATE CHANGE
- Y02P—CLIMATE CHANGE MITIGATION TECHNOLOGIES IN THE PRODUCTION OR PROCESSING OF GOODS
- Y02P60/00—Technologies relating to agriculture, livestock or agroalimentary industries
- Y02P60/20—Reduction of greenhouse gas [GHG] emissions in agriculture, e.g. CO2
- Y02P60/21—Dinitrogen oxide [N2O], e.g. using aquaponics, hydroponics or efficiency measures
Landscapes
- Engineering & Computer Science (AREA)
- Water Supply & Treatment (AREA)
- Life Sciences & Earth Sciences (AREA)
- Environmental Sciences (AREA)
- Fertilizing (AREA)
Description
【発明の属する技術分野】
本発明は自動潅水装置に関し、特に、節水潅漑に適した自動潅水装置に関する。
【0002】
【従来の技術】
潅漑方法として、従来から、畝間潅水やホース潅水が行われている。近年になり、いわゆる節水潅漑法として、点滴潅水技術が提案されている。この技術は、チューブ上あるいは、チューブに内蔵されたドリッパー装置を介して、ドリッパー当たりの潅水量を0.8L〜3L/時間程度の少量に制限し、広範囲に均等潅水を行うものである。この手法は、主にイスラエル等乾燥地での農業潅漑を目的として開発されたものでり、液肥を混入することにより、液肥潅漑にも用いられている。
【0003】
点滴潅水技術は典型的な節水潅漑技術であるが、それでも、前記のように、ドリッパー当たりの潅水量は0.8L〜3L/時間であり、通常20〜30cmに一つのドリッパーが設置されているため、チューブ長100m当たりでは毎分10L程度の流量が必要になる。1ha規模の潅水を行うためには毎分1000Lもの流量が必要となり、送水用のポンプの吐出能力や液肥混入機の能力(毎分100L程度が限界)を考えると、電磁弁とコントローラを用いて、小区画ごとに潅水を分施する方法で実施されている。吐出能力の大きなポンプ、能力の大きな液肥混入装置、電磁弁、コントローラ等は潅水装置全体のコストを大幅に引き上げるため、企業的な規模の農家にのみ普及しているのが現状である。
【0004】
また、点滴潅水により、長時間の潅水を行い、ドリッパー当たりの潅水量を数リットルにすると、横方向への浸透より、重力方向である土壌の深部への浸透が多くなるため、水や、液肥成分の流亡が問題となる。また、雨天や曇天により、蒸発散量が低い場合でも、コントローラまかせの潅水指令が発せられるため、必ずしも作物体の必要量に応じた潅水や施肥が行われているとはいえない。降雨センサー、土壌水分センサー等と組み合わせることにより、より精密な制御が可能となるが、さらなるコスト高となる。
【0005】
節水潅漑技術の他の態様として、一日のうちに間欠的に少量の潅水施肥を繰り返し行い、それにより土壌上層部(作物の根群が分布する領域)のみに有効に潅水して、水、液肥の土壌の深部への流亡をきわめて少なくした潅水施肥システムが提案されている(特許文献1(WO98/54953号公報)参照)。このシステムは、複数個のローカルサブシステムを備え、それぞれが遠隔操作により制御される。各ローカルサブシステムは、少なくとも1サイクルに放出する量の水(および液肥)を蓄積できる容量の貯水タンクと、制御装置からの信号を受けて散水量を制御しかつ制御量を放出する散水装置と、放水頻度と時間を決定するための電子的制御装置と、水を潅水場所へ案内するチューブ潅水系とを備える。
【0006】
貯水タンクへの給水はポンプで行い、満水時に給水を停止し、あらかじめプログラムされた日時に電磁弁が開閉することにより、広い面積へのチューブ潅水が行われる。制御用の信号や電磁弁の開閉のための動力は、ソーラーパネルからの電力によっており、エコロジカルな潅水設備となっている。また、液肥は水流の圧力差を利用して、濃厚液肥を引き込み希釈するベンチュリー方式を採用できるとしている。
【0007】
さらに、ソーラーパネルからの電源を利用した自動潅水装置として、特許文献2(特開平8−238031号公報)には、一日のうちの一定の時間帯にのみ太陽光を受光できるようにして太陽電池アレイを設置し、太陽電池アレイが発生する直流出力で直接駆動する直流ブラシレスモータポンプを用いて、受水槽に貯水されている潅漑水を汲み出し、散水ホースを通して緑地に潅水するものが記載されている。この自動潅水装置によれば、面倒なタイマーの設定を行うことなく、一日のうちの一定の時間帯に自動潅水をすることができる。
【0008】
【特許文献1】
WO98/54953号公報
【特許文献2】
特開平8−238031号公報
【0009】
【発明が解決しようとする課題】
上記した点滴潅漑施設は節水潅水技術して多くの利点を備える。しかし、作物体に適したかつ無駄のない潅水・施肥を行うためには、多くの高価なセンサーや電磁弁あるいは制御機構を必要とする。また、適量の液肥を混入しようとすると、制御がデリケートな液肥混入機を必要とする。特許文献1(WO98/54953号公報)に記載される潅水施肥システムにおいても、あらかじめプログラムされた日時に電磁弁が開閉することにより、貯水タンクに蓄えてある水を広い面積へチューブ潅水するようにしている。そのために、気候状況に応じて、作物体に合った最適の潅水・施肥環境を得るためには、電磁弁の開閉タイミングや時間等の制御のための高度な制御システムを必要とし、高コストのものとなる。また、液肥は水流の圧力差を利用して濃厚液肥を引き込み希釈するベンチュリー方式を採用しているが、この方式は高い精度を上げることが困難である。
【0010】
特許文献2(特開平8−238031号公報)に記載の自動潅水装置は、太陽電池アレイが発生する直流出力で直接駆動する直流ブラシレスモータポンプを用いて、受水槽に貯水されている潅漑水を汲み出し潅水するものであり、一定の時間帯に自動潅水をすることができる。しかし、一日のうちの一定の時間帯にのみ太陽光を受光できるように太陽電池アレイを設置するのに、複雑な機構を必要とする。また、その日の気候状況に応じて、作物体に合った最適の潅水・施肥環境を設定することについては、何の配慮もされていない。
【0011】
本発明は、上記のような事情に鑑みてなされたものであり、潅水面積の大小に関わりなく、潅水量を調整したり断続するための電磁弁やモーターを制御のための複雑な制御機構や、ソーラーパネルの受光量制御のための機構、等を用いることなく、その日の気候状況(日射量)に応じて、作物体が必要とする水分を節水状態で供給することのできる自動潅水装置を提供することを目的とする。また、他の目的は、簡単な機構を用いて、水と共に、作物体が必要とする量の肥料をも供給することのできる自動潅水装置を提供することを目的とする。
【0012】
【課題を解決するための手段】
本発明による自動潅水装置は、ソーラーパネルが発生する電力で直接駆動するモーターポンプと、該モーターポンプが汲み上げた水源からの水を貯留する貯水タンクと、貯水タンクに所定量の水が貯水されたときに排水を開始し貯水のすべてを連続的に排水する排水手段と、排水手段により排出される水を潅水場所へ案内するチューブ潅水系とを少なくとも備えることを特徴とする。
【0013】
本発明による自動潅水装置では、水源(潅漑用水路や池沼等)からの潅漑水の汲み上げ(貯水タンクへの給水)は、ソーラーパネルが発生する電力で直接駆動するモーターポンプのみによって行うようにしており、構成はきわめて簡単である。そして、ソーラーパネルのみに依存していることから、日射量に応じた給水量が確実に実現される。作物体は日射量が多いほど蒸発散が多くなり多くの水分を必要とし、雨天の日や夜間にはほとんど潅水を必要としない。多く潅水することはむしろ作物体の生育に害を及ぼす。すなわち、作物体が必要とする水分量は実質的に日照量に比例しているところ、本発明によれば、作物体が必要とするときに必要なだけの(日照に比例した)潅水を確保することが、特別な制御装置を必要とすることなく、容易に実現できる。
【0014】
本発明による自動潅水装置において、モーターポンプで汲み上げられる潅漑水は、一旦、貯水タンクに貯められる。貯水タンク内に所定量の水が貯水された時点で、適宜の排水手段によって、貯水のすべては連続的に排水されて、一サイクルは終了する。一サイクル分の排水は適宜のチューブ潅水系を介して潅水場所へ案内されて、潅漑水となる。
【0015】
日照がありソーラーパネルがモーターポンプが駆動するための最低限の発電を継続している限り、排水中も貯水タンクへの給水は継続する。貯水タンクからの単位時間当たりの排水量はモーターポンプからの給水量に比較して大きく、一サイクル終了の時点で、貯水タンクへの次サイクルの貯水が始まる。そのときには、排水手段の作用により、排水は停止している。以下、このサイクルが必要な日照が得られている限り、反復して行われる。すなわち、日照量に比例した潅水が、特別の制御機構や電磁弁等を用いることなく、容易にかつ確実に実行される。灌漑水量は貯水タンクの容量にもっぱら規制されるので、チューブ潅水系に流量を規制する手段を設ける必要はなく、システム全体の構成の簡素化が可能となる。
【0016】
貯水タンクの容量は、潅漑を要する面積に応じて適宜定められるが、貯水タンクの容量とモーターポンプの容量(給水量)を適宜設定するだけで、潅水場所に応じたあるいは作物体に応じた、最適の間欠的潅水状態を容易に確保することができる。
【0017】
日射量の大小により、モーターポンプの汲み上げ量が変化する。従って、一日間の潅水回数は、日射量が多いほど、つまり蒸発散が多いほど多くなり潅水量も大きくなる。一方、日射量が少ない場合には、潅水間隔が長くなり、総潅水量は抑制される。雨天、夜間については、特別な制御装置を必要とすることなく、潅水は停止することとなる。すなわち、前記したように、本発明によれば、作物体が必要とするときに必要なだけの潅水を確保することが可能となる。
【0018】
上記のように、本発明の自動潅水装置では、潅水面積に応じた容量の貯水タンクヘ低流速により給水し、所定量の給水が完了した時点で、チューブ潅水系に一斉配水する。従って、供給量が限られた水源からも、あるいは、小規模な井戸、小流量の水流のみで比較的広い面積への潅水が可能となる。そのために、従来の節水潅漑技術でもって大規模潅水を行うために必要とした、複雑なコントロール手段を要することなく、単に複数個の装置を個々に配置するのみで、広い面積に節水潅漑を行うことが可能となるとともに、同じ装置を室内観賞用園芸や家庭菜園等でも有効に使用することができる。
【0019】
本発明による自動潅水装置において、用いるチューブ潅水系に特に制限はなく、従来知られたものを適宜用いることができる。従来知られたドリッパー装置を備えたチューブを用いてもよい。いずれにしても、少量、多回数の潅水(施肥)により、水(や液肥成分)の重力方向への縦浸透が抑えられ、横方向への浸透が進むため、チューブ潅水における水の吐出口当たりの水(液肥)分布特性が改善され、すなわち、地表から浅い部分(地表〜30cm以内の部分)が広く潅水され、少ない吐出口数で広い面積の潅水施肥が可能となる。作土層からの水(や液肥成分)の流亡が抑制される。
【0020】
結果として、気相に富み、根が発達するのに好適な、作物の有効根群域(標的域)が効果的に潅水されるため、作物体が乾燥ストレスを受けることがなくなり、作物収量を上げることが可能となる。特に、乾燥地域では飛躍的な収量増が期待できる。さらに、潅水域が地表面浅層域に限定されるたあ、品質の制御がし易くなる利点もある。
【0021】
また、上記したように、通常の点滴潅水に比較した場合、一分間当たりの潅水流量は数十リットル〜数百リットル必要とされるが、本発明による自動潅水装置では、給水と配水の時間差を利用し、給水速度は比較的低くても配水速度を早くすることが可能であり、一般的に潅漑速度の制限因子となる水源の水供給速度が少なくても大面積の潅水が可能となる。例えば、貯水タンクが満水になるまでの時間を1時間とした場合、10a当たりの一回の潅水に必要な水量は300L〜500Lであり、毎分10L以下の給水量によって一斉潅水が可能となる。これを慣行的な点滴潅水手法で行おうとすると、10台の電磁弁による分施潅水が必要となる。このように、本発明による自動潅水装置では、水量が巨大なダムやパイプライン等による大容量の送水システムを必要とせず、小川の流れのような小水量からの給水によっても大面積の潅水が可能となる。
【0022】
本発明の自動潅水装置は、貯水タンク内の貯留水に液肥を混入するための液肥混入装置をさらに備えることができる。この態様により、間欠的な節水型の潅水施肥を行うことができる。液肥混入装置は任意のものを用い得るが、区分けされた液肥室と水室とを備えており、水室にはモーターポンプが汲み上げた水の一部が分流して流入し、流入水に比例した量の液肥が液肥室から排出されて貯水タンクに流入するようになっている構造のものを用いることは、効果的である。
【0023】
このような構造の液肥混入装置を用いることにより、正確かつ高希釈倍率の液肥を、必要なときに必要なだけ、作物体に供給できるようになる。その際に、濃厚液肥は大気圧と平衛な貯水タンクの中で給水と混合されるため、従来のピストン式液肥混入機やベンチュリー管による吸い込み液肥混入装置に必要とされていた圧力差を必要とせず、簡単な構成でもって、効果的に高希釈倍率の液肥を調整することが可能となる。
【0024】
【発明の実施の形態】
以下、本発明による自動潅水装置を図面を参照しつつ好ましい実施の形態により説明する。図1は自動潅水装置の全体を概略的に示す図であり、図2はそこで用いる液肥混入装置を示す概略図である。自動潅水装置1は、基本的に、ソーラーパネル10が発生する電力で直接駆動するモーターポンプ20と、該モーターポンプ20が汲み上げた水源からの水を貯留する貯水タンク30とを備える。
【0025】
ソーラーパネル10は太陽電池アレイが必要個数直列に接続した形態の従来知られたものであり、使用するモーターポンプ20を駆動できるだけの電力を出力できるものであればよい。モーターポンプ20もソーラーパネル10が発生する直流電流で駆動するものであればよく、軸流型ポンプが好ましいが、他の形態のものでもよい。モーターポンプ20の吸い込み側はホース21を介して適宜の水源40に接続している。本発明の自動潅水装置1では、前記したように、水源40は小川の流れのような小水量のものであっても差し支えない。
【0026】
貯水タンク30は、天井面に大気への開放口31を持つ開放型のものであり、天井面にはホース案内口32も形成されている。モーターポンプ20の吐出側に接続されたホース22の他方端は、該ホース案内口32に接続している。従って、ソーラーパネル10に太陽光が照射してモーターポンプ20を駆動できるだけの電力が発電している状態では、水源40の水はモーターポンプ20の作動により汲み上げられ、ホース22を介して、貯水タンク30内に貯水される。夜間や雨天時(すなわち、作物体が水を必要としないとき)にはモーターポンプ20が作動することはなく、揚水は停止する。
【0027】
貯水タンク30は、貯水タンク30に所定量の水が貯水されたときに排水を開始し貯水のすべてを連続的に排水する排水手段50を備える。排水手段50は任意のものでよいが、この例では、逆U字管51を利用してサイホンの原理により、所要の排水を行うようにしている。逆U字管51は、その一端52を貯水タンク30の底に近い部分に配置し、そこから所定高さまで立ち上がり、そこを頂部53として下方に折り曲げている。モーターポンプ20の作動により貯水タンク30内に給水される水の水位が、逆U字管51の頂部53のレベルまで達すると、サイホンの原理で逆U字管51を介しての放水が始まり、貯水のすべてが連続して排水される。逆U字管51の頂部53の高さ位置を適宜調整することにより、排水の開始時(すなわち、貯水タンク30内での最大貯水量)を容易に変更することができる。排水が終了しても、モーターポンプ20が継続して作動している場合には、貯水タンク30への給水は継続して進行し、再度所定の貯水量に達した時点で、同じようにして排水が始まる。このサイクルが、日照量に応じて繰り返されるので、貯水タンク30からの総排水量は日照量(時間)に比例することとなる。
【0028】
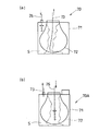
逆U字管51の排水側は、貯水タンク30から排水される水を潅水場所へ案内するチューブ潅水系60に接続している。チューブ潅水系60は従来の潅漑施設におけると同様なものであってよく、潅水口61から好適な潅水量が得られるように、チューブの管径62や潅水口61の大きさが設定される。場合によっては、従来知られたドリッパー装置をチューブに備えるようにしてもよい。なお、上記の逆U字管51を使用した排水手段50は1つの例示であって、他に、図2に示すようなフロート弁を用いた排水手段、図3に示すような適宜のレベルセンサと開閉弁とからなる排水手段など、任意の手段を用いることができる。
【0029】
図2において、貯水タンク30はモーターポンプ20の作動により汲み上げられる水の導入孔であるホース案内口32と排水口33を備え、排水口33はチューブ潅水系60に接続している。貯水タンク30は内部に排水手段50Aを備える。排水手段50Aは主フロート室501を有し、主フロート室501の上端近傍には導水孔502が形成されている。主フロート室501の下方域には第1フロート弁503が設けてあり、その下方に位置する第2フロート弁504が浮上することにより上方に移動して主フロート室501を閉鎖する。第1フロート弁503の上方には第3フロート弁505が位置しており、該第3フロート弁505はリンクを介して排水口33を開閉する第4フロート弁506に作動が連動する状態で繋がっている。なお、第4フロート弁506と第1フロート弁503とはほぼ同じレベルに置かれている。
【0030】
貯水タンク30が空の状態でホース22からタンク内に水が徐々に入り始める。流入する水は第2フロート弁504を押し上げる。第2フロート弁504がラインAのレベルに達すると、第1フロート弁503は第2フロート弁504により押し上げられ、主フロート室501を閉鎖する。水の流入は継続しており、次第に貯水タンク30内の水位レベルは上昇する。水位レベルがラインBに達すると、水は導水孔502から主フロート室501の中に流入し始める。主フロート室501内に入り込んだ水の浮力により第3フロート弁505は押し上げられ、その移動に連動して第4フロート弁506が開方向に移動する。第4フロート弁506が開くことにより、貯水タンク30内の水は排水口33からチューブ潅水系60に排水される。排水により水位レベルがラインAまで下がると第4フロート弁506は下降して排水口33を閉鎖する。それと相前後して、第1フロート弁503が下降してし主フロート室501を開放する。それにより、主フロート室501内の水も排出されて、当初の状態に戻る。以下、このサイクルがホース22からの水の流入が続く限り繰り返される。
【0031】
図3は適宜のレベルセンサと開閉弁とからなる排水手段50Bを備えた貯水タンク30を示す。貯水タンク30には、下位水位であるレベルAを検知する第1レベルセンサ511と、上位水位であるレベルBを検知する第2レベルセンサ512が備えられ、排水口33には該レベルセンサからの信号を受けて開閉する電磁弁513が設けてある。チューブ潅水系60への排水が進行して水位がレベルAまで低下すると、それを第1レベルセンサ511が感知し、その信号により電磁弁513は排水口33を閉じる。ホース22から水は継続して流入しており、水位がレベルBに達すると、それを第2レベルセンサ512が感知し、その信号により電磁弁513は排水口33を開く。それにより、チューブ潅水系60への排水が再開し、再び、水位はレベルAにまで低下して電磁弁513は閉じ、貯水が始まる。以下、このサイクルがホース22からの水の流入が続く限り繰り返される。なお、この例では、レベルセンサとして電極棒を用いているが、上位水位であるレベルBを検知する第2レベルセンサ512については、フロート式のセンサを用いることもできる。
【0032】
上記のように、本発明による自動潅水装置1では、一回に潅水する水量を貯水タンク30側で規制することができ、しかも、複雑な制御装置や電磁弁などを使用することなく、潅水は所要の間隔をおいて繰り返し行うことができる。それにより、潅水場所に応じたあるいは作物体に応じた、最適の間欠的な節水潅水状態を容易に確保することが可能となる。また、少量、多回数の潅水を行うにより、水が重力方向へ縦浸透するのを抑えることができ、チューブ潅水における水の吐出口当たりの水分布特性も改善できる。それにより、前記したように、例えば地表から30cm以内の部分が広く潅水され、少ない吐出口数で広い面積の潅水施肥が可能となり、作土層からの水(や液肥成分)の流亡が抑制される。
【0033】
さらに、モーターポンプ20の駆動はソーラーパネル10からの電力にのみ依存しており、結果として、前記したように、日射量の大小により、モーターポンプ20の汲み上げ量が変化する。従って、一日間の潅水回数は、日射量が多いほど、つまり蒸発散が多いほど多くなり潅水量も大きくなる。日射量が少ない場合には潅水間隔が長くなり、潅水量も少なくなる。結果として、作物体が必要とするときに必要なだけの潅水を確実に確保することが可能となる。
【0034】
場合によっては、貯水タンク30の容量とモーターポンプ20の送り込み量との関係で、潅水回数が必要以上となり、作土層からの水や液肥成分の流亡が生じることが起こり得る。それを回避するために、モーターポンプ20の吐き出し側のホース22から還流ホース23を分岐させ、必要以上の水は水源側に還流できるようにすることもできる。その場合には、図示しないが、水の流れ方向下流側に、減圧弁や適宜の圧力計を配置し、還流量を適宜設定する。
【0035】
本発明による自動潅水装置1において、好ましくは、貯水タンク30内の貯留水に液肥を混入するための液肥混入装置がさらに備えられる。それにより、容易に間欠的潅水施肥を行うことができるようになる。液肥混入装置に特に制限はないが、図4a,b示すような形態の液肥混入装置70、70Aを用いることは有効である。
【0036】
図4aに示す液肥混入装置70は、外容器71と内容器72を備える。外容器71は剛性容器であるが、内容器72は可撓性シート(例えば、樹脂シート)で作られており、内容積が可変となっている。内容器72は液肥室とされ濃厚液肥が充填される。外容器71と内容器72との間の空間Sは水室とされ水が充填される。内容器72に挿入されたホース73の他端は、前記した貯水タンク30の天井面に形成したホース案内口32に入り込んでいる。一方、前記したホース22には適宜の流量調整弁25を介して分水ホース26が分岐しており、その先端は外容器71と内容器72との間の空間Sに開放している。
【0037】
上記の構成であり、内容器72に濃厚液肥を、外容器71と内容器72との間の空間Sに水をそれぞれ充満させた状態とし、その状態で、分水ホース26にホース22を流れる潅水の一部を分流させると、分流した水は前記空間S内に流入する。それにより、等容積だけ内容器72は収縮し、収縮分の濃厚液肥はホース73を介して貯水タンク30内に流入する。それにより、貯水タンク30内の水は適量の液肥を含んだ潅漑水となる。流量調整弁25を、ホース22を流れる流量に比例した量を分水ホース26に分水するようにセットすることにより、潅漑水の流量に比例した量の濃厚液肥が貯水タンク30内に送り込まれることとなり、常時、ほぼ一定濃度の液肥を含んだ潅漑水をチューブ潅水系60に送り出すことができる。
【0038】
図4bに示す液肥混入装置70Aは、装置の構成は図4aに示したものと同じであるが、分水ホース26の放出端が内容器72に開放していて、内容器72が水室とされており、外容器71と内容器72との間の空間Sには濃厚液肥が充填されて液肥室とされており、そこに挿入されたホース73の他端が貯水タンク30の天井面に形成したホース案内口32に入り込んでいる点で、液肥混入装置70と相違している。このような使用態様とすることにより、濃厚液肥補給が容易になる等の利点がある。
【0039】
上記の構造の液肥混入装置70、70Aを用いることにより、正確かつ高稀釈倍率の液肥を必要なときに、必要なだけの作物体に供給できるようになる。その際に、濃厚液肥は大気圧と平衡な貯水タンク30の中で水と混合されるため、前記したように、従来のピストン式液肥混入機やベンチュリー管による吸い込み液肥混入装置に必要とされていた圧力差を必要とせず、簡単な構成でもって、効果的に高希釈倍率の液肥を調整することが可能となる。
【0040】
上記のようであり、本発明による自動潅水装置は、貯水タンク30の容量を適切に設定することにより、室内観賞用園芸、家庭菜園(10a以下)、小規模営農(10a〜2ha)、大規模営農(2ha以上)のあらゆる場面に適応可能となる。また、ハウス栽培などの施設園芸においても有効に用いられる。概ね必要とされるタンク貯水容量は、室内観賞用園芸で5L〜10L、家庭菜園で100L〜300L、小規模営農で300L〜5t、大規模営農で5t×ha、程度である。同じ圃場において、複数個の自動潅水装置を同時に使用するようにしてもよい。
【0041】
【発明の効果】
上記のように、本発明による自動潅水装置では、簡単な構成でありながら、潅水面積の大小に関わりなく、その日の気候状況(日射量)に応じて、作物体が必要とする水分(および液肥)を節水状態で間欠的に供給することが可能となる。
【図面の簡単な説明】
【図1】本発明による自動潅水装置の全体を概略的に示す図。
【図2】自動潅水装置に用いられる排水手段の他の例を示す図。
【図3】自動潅水装置に用いられる排水手段のさらに他の例を示す図。
【図4】本発明による自動潅水装置で用いる液肥混入装置の一例を示す概略図。
【符号の説明】
1…本発明による自動潅水装置、10…ソーラーパネル、20…モーターポンプ、22…ホース、23…還流ホース、26…分水ホース、30…貯水タンク、40…水源、50…排水手段、51…逆U字管(サイホン)、60…チューブ潅水系、61…潅水口、62…チューブ、70、70A…液肥混入装置、71…外容器、72…内容器、73…ホース
Claims (4)
- ソーラーパネルが発生する電力で直接駆動するモーターポンプと、該モーターポンプが汲み上げた水源からの水を貯留する貯水タンクと、貯水タンクに所定量の水が貯水されたときに排水を開始し貯水のすべてを連続的に排水する排水手段と、排水手段により排出される水を潅水場所へ案内するチューブ潅水系とを少なくとも備えることを特徴とする自動潅水装置。
- 貯水タンク内の貯留水に液肥を混入するための液肥混入装置をさらに備えることを特徴とする請求項1に記載の自動潅水装置。
- 液肥混入装置は区分けされた液肥室と水室とを備えており、水室にはモーターポンプが汲み上げた水の一部が分流して流入し、流入水に比例した量の液肥が液肥室から排出されて貯水タンクに流入するようになっていることを特徴とする請求項2に記載の自動潅水装置。
- ソーラーパネルが発生する電力で直接駆動するモーターポンプにより日照量に比例した水量の灌漑水を水源からくみ上げ、該モーターポンプが汲み上げた水源からの灌漑水を貯水タンクに貯水し、貯水タンクに所定量の水が貯水されたときに貯水タンクから排水を開始して貯水のすべてを連続的に排水することを、モーターポンプが駆動している間、反復して繰り返すと共に、排水された水をチューブ潅水系をとおして潅水場所へ案内することを特徴とする間欠式自動潅水方法。
Priority Applications (3)
| Application Number | Priority Date | Filing Date | Title |
|---|---|---|---|
| JP2002374747A JP3787628B2 (ja) | 2002-12-25 | 2002-12-25 | 間欠式自動潅水装置 |
| US10/739,121 US7201333B2 (en) | 2002-12-25 | 2003-12-19 | Intermittent automatic irrigation system |
| IL159518A IL159518A (en) | 2002-12-25 | 2003-12-22 | Intermittent automatic irrigation system |
Applications Claiming Priority (1)
| Application Number | Priority Date | Filing Date | Title |
|---|---|---|---|
| JP2002374747A JP3787628B2 (ja) | 2002-12-25 | 2002-12-25 | 間欠式自動潅水装置 |
Publications (2)
| Publication Number | Publication Date |
|---|---|
| JP2004201583A JP2004201583A (ja) | 2004-07-22 |
| JP3787628B2 true JP3787628B2 (ja) | 2006-06-21 |
Family
ID=32812675
Family Applications (1)
| Application Number | Title | Priority Date | Filing Date |
|---|---|---|---|
| JP2002374747A Expired - Lifetime JP3787628B2 (ja) | 2002-12-25 | 2002-12-25 | 間欠式自動潅水装置 |
Country Status (3)
| Country | Link |
|---|---|
| US (1) | US7201333B2 (ja) |
| JP (1) | JP3787628B2 (ja) |
| IL (1) | IL159518A (ja) |
Cited By (3)
| Publication number | Priority date | Publication date | Assignee | Title |
|---|---|---|---|---|
| JP2010193805A (ja) * | 2009-02-25 | 2010-09-09 | Putio:Kk | ねじ式流量調節器および点滴灌水用ドリッパ |
| JP2010193804A (ja) * | 2009-02-25 | 2010-09-09 | Putio:Kk | 日射量対応灌水装置 |
| CN106538315A (zh) * | 2016-10-13 | 2017-03-29 | 南京君源环保工程有限公司 | 一种人工降雨实验装置用的降雨器 |
Families Citing this family (55)
| Publication number | Priority date | Publication date | Assignee | Title |
|---|---|---|---|---|
| US7469844B2 (en) | 2002-11-08 | 2008-12-30 | S.C. Johnson & Son, Inc. | Diffusion device and method of diffusing |
| US7389943B2 (en) | 2004-06-30 | 2008-06-24 | S.C. Johnson & Son, Inc. | Electromechanical apparatus for dispensing volatile substances with single dispensing mechanism and cartridge for holding multiple receptacles |
| US7622073B2 (en) | 2005-04-12 | 2009-11-24 | S.C. Johnson & Son, Inc. | Apparatus for and method of dispensing active materials |
| US20080098652A1 (en) * | 2006-10-30 | 2008-05-01 | Kenneth Thomas Weinbel | Sport playing field |
| US11309832B2 (en) * | 2006-12-06 | 2022-04-19 | Solaredge Technologies Ltd. | Distributed power harvesting systems using DC power sources |
| US7857546B2 (en) * | 2007-02-27 | 2010-12-28 | Brian Scott Furrer | Method and apparatus for controlling drainage and irrigation of fields |
| US8320751B2 (en) | 2007-12-20 | 2012-11-27 | S.C. Johnson & Son, Inc. | Volatile material diffuser and method of preventing undesirable mixing of volatile materials |
| USD584809S1 (en) | 2008-02-04 | 2009-01-13 | S. C. Johnson & Son, Inc. | Dispensing device |
| AU2009245572B2 (en) * | 2008-05-06 | 2013-09-12 | Irrigatia Ltd | Liquid irrigation system |
| JP5286205B2 (ja) * | 2009-09-07 | 2013-09-11 | 有限会社ジーアンドエフコーポレーション | 土壌への潅水方法 |
| US8337170B2 (en) * | 2010-01-27 | 2012-12-25 | Abdullah Mohammad A | System for raising water from an underground source |
| US9265374B2 (en) * | 2010-03-03 | 2016-02-23 | Marc Rasschaert | Trunk mounted Christmas tree water level measuring and alarm device |
| USD639923S1 (en) | 2010-04-15 | 2011-06-14 | S.C. Johnson & Son, Inc. | Dispensing device |
| US10673229B2 (en) | 2010-11-09 | 2020-06-02 | Solaredge Technologies Ltd. | Arc detection and prevention in a power generation system |
| JP5850360B2 (ja) * | 2011-03-22 | 2016-02-03 | 国立研究開発法人農業・食品産業技術総合研究機構 | 自動潅水方法及びその装置 |
| CN103444494A (zh) * | 2012-06-04 | 2013-12-18 | 徐志强 | 一种简易灌溉装置 |
| EP2697435B1 (de) * | 2012-07-06 | 2015-04-15 | Küpper-Weisser GmbH | Verfahren zum befüllen und entleeren eines flüssigkeitstanks eines streugeräts für winterdienstfahrzeuge sowie streugerät |
| CN103651063A (zh) * | 2012-09-22 | 2014-03-26 | 秦皇岛万全电子科技有限责任公司 | 太阳能自动灌溉系统 |
| ITMO20120268A1 (it) * | 2012-10-31 | 2014-05-01 | Fabrizio Comastri | Sistema di irrigazione. |
| CN103907500A (zh) * | 2013-01-04 | 2014-07-09 | 张振华 | 一种串联调压式负压渗灌系统 |
| CN103053384A (zh) * | 2013-01-04 | 2013-04-24 | 张振华 | 一种压力可调式地下渗灌系统 |
| CN103283567A (zh) * | 2013-05-14 | 2013-09-11 | 上海龙人建设集团有限公司 | 应用太阳能光伏发电的垂直及屋面绿化智能灌溉系统 |
| US20150289463A1 (en) * | 2014-04-09 | 2015-10-15 | David Moriarty | Hydroponic grow system |
| CN104303677B (zh) * | 2014-10-27 | 2017-01-11 | 宿州学院 | 一种水肥一体化的微喷灌溉施肥系统 |
| US10104844B2 (en) * | 2015-02-22 | 2018-10-23 | Mauel Jose Caceres | Indoor irrigation system |
| JP6406632B2 (ja) * | 2015-03-05 | 2018-10-17 | 国立研究開発法人農業・食品産業技術総合研究機構 | 灌水制御装置 |
| CN104719095A (zh) * | 2015-03-24 | 2015-06-24 | 国网吉林省电力有限公司电力科学研究院 | 一种基于太阳能光伏发电的智能滴灌系统 |
| CN104957005B (zh) * | 2015-07-22 | 2017-08-25 | 甘肃润瑞农业节水工程有限公司 | 简易农业浇灌装置 |
| US10206343B2 (en) * | 2015-10-27 | 2019-02-19 | Ewersmith Enterprises, Llc | Nutrient delivery system |
| WO2017203530A1 (en) * | 2016-05-25 | 2017-11-30 | Nudell Miran | Autonomic drip irrigation device exploiting hydroelectric power |
| US10757874B2 (en) * | 2016-10-26 | 2020-09-01 | Andrew Purcell | Self watering planter assembly |
| CN106942029A (zh) * | 2017-03-27 | 2017-07-14 | 武汉理工大学 | 一种盆栽自动浇水设备和方法 |
| CN107409583A (zh) * | 2017-06-01 | 2017-12-01 | 青海顺泰农牧开发有限公司 | 一种水肥一体化灌溉装置 |
| CN107642202B (zh) * | 2017-09-14 | 2018-11-02 | 厦门合立道工程设计集团股份有限公司 | 利用结构梁板进行雨水蓄滞和自动浇灌的雨水花园 |
| CN108200851A (zh) * | 2017-11-21 | 2018-06-26 | 黎仲炜 | 一种农业灌溉设备 |
| CN108317087B (zh) * | 2018-01-31 | 2019-06-28 | 嵊州摩天自动化设备有限公司 | 一种太阳能水泵装置 |
| CN108278212B (zh) * | 2018-01-31 | 2018-12-28 | 徐州立新灌排设备有限公司 | 一种太阳能水泵设备 |
| CN107996358A (zh) * | 2018-02-05 | 2018-05-08 | 福州清河源环保科技有限公司 | 一种园林绿化灌溉装置 |
| CN108283046A (zh) * | 2018-04-26 | 2018-07-17 | 中国农业科学院农田灌溉研究所 | 适用于密植作物水肥一体化的高效灌溉系统 |
| CN110270132A (zh) * | 2018-07-20 | 2019-09-24 | 何晴雪 | 一种甜叶菊糖液提取装置的使用方法 |
| CN108633436B (zh) * | 2018-07-25 | 2023-06-20 | 中国农业科学院农田灌溉研究所 | 一种用于温室地下滴灌的水肥气一体化系统 |
| CN108812618A (zh) * | 2018-08-31 | 2018-11-16 | 芜湖玖荣生物科技有限公司 | 一种小型化多功能灌溉设备 |
| KR102259537B1 (ko) * | 2018-10-31 | 2021-06-01 | 충남대학교산학협력단 | 무동력 일사 비례제어 자동 관수시스템 |
| US11205896B2 (en) | 2018-11-21 | 2021-12-21 | Black & Decker Inc. | Solar power system |
| CN109511350A (zh) * | 2019-01-03 | 2019-03-26 | 南京瑞吾电气有限公司 | 一种纳米气泡水肥协调灌溉系统 |
| CN111247935B (zh) * | 2020-03-20 | 2024-04-19 | 广西春之蓝农业科技有限公司 | 水肥一体化灌溉系统 |
| CN113039916B (zh) * | 2021-04-07 | 2022-01-14 | 中国农业科学院农田灌溉研究所 | 一种水肥一体化智能补给灌溉系统及方法 |
| CN113455342B (zh) * | 2021-07-06 | 2022-07-08 | 南昌工程学院 | 用于边坡水土养护的节水灌溉系统 |
| CN114679947A (zh) * | 2022-04-28 | 2022-07-01 | 广州大学 | 一种光伏驱动超声水肥灌溉系统 |
| CN114931082B (zh) * | 2022-05-26 | 2023-10-20 | 内蒙古天之风科技有限责任公司 | 一种太阳能生态农业节水灌溉设备及灌溉方法 |
| CN115777492B (zh) * | 2022-11-09 | 2024-10-15 | 西北农林科技大学 | 一种利用柔性水袋调节能量的光伏微喷灌和滴灌复合装置 |
| CN117084038B (zh) * | 2023-09-01 | 2024-02-13 | 广东省林业科学研究院 | 山地雨水再利用水肥一体灌溉系统 |
| CN117337746B (zh) * | 2023-10-31 | 2025-08-19 | 浙江大学 | 一种用于山区的压力自平衡滴灌管件 |
| CN117397453B (zh) * | 2023-12-14 | 2024-02-23 | 内蒙古农业大学 | 一种水肥一体化设备、监测系统及全追肥方法 |
| CN117751743A (zh) * | 2023-12-27 | 2024-03-26 | 梧州市竹茗茶业有限公司 | 一种山地茶园补偿式光伏自循环肥水一体灌溉系统及方法 |
Family Cites Families (11)
| Publication number | Priority date | Publication date | Assignee | Title |
|---|---|---|---|---|
| US3876146A (en) * | 1973-12-06 | 1975-04-08 | Manuel Pacheco | Automatic plant waterer and fertilizing system |
| US4315599A (en) * | 1980-03-03 | 1982-02-16 | Biancardi Robert P | Apparatus and method for automatically watering vegetation |
| US4396149A (en) * | 1980-12-30 | 1983-08-02 | Energy Management Corporation | Irrigation control system |
| JPS5931631U (ja) * | 1982-08-25 | 1984-02-27 | 三菱鉱業セメント株式会社 | かんがい用散水装置 |
| JPS6318015A (ja) | 1986-07-09 | 1988-01-25 | Nippon Kokan Kk <Nkk> | 転炉吹錬におけるマンガン濃度の推定方法 |
| JPH03219812A (ja) * | 1990-01-23 | 1991-09-27 | Mikio Sakurai | 灌漑システム |
| JPH08238031A (ja) | 1995-03-02 | 1996-09-17 | Ebara Corp | 太陽電池駆動自動潅水装置 |
| JPH09189287A (ja) | 1996-01-04 | 1997-07-22 | Canon Inc | 非安定電池電源を電源とする給液装置 |
| JPH10113082A (ja) | 1996-10-11 | 1998-05-06 | G F Gijutsu Kaihatsu:Kk | 自動容器反転装置及びこれを用いた給水装置 |
| AR003907A1 (es) * | 1997-06-05 | 1998-09-30 | Rosenfeld Bernardo Raul | Sistema de riego ecologico autonomo |
| US6419422B1 (en) * | 2000-02-14 | 2002-07-16 | International Water & Energy Savers, Ltd. | Underground irrigation method and system |
-
2002
- 2002-12-25 JP JP2002374747A patent/JP3787628B2/ja not_active Expired - Lifetime
-
2003
- 2003-12-19 US US10/739,121 patent/US7201333B2/en not_active Expired - Fee Related
- 2003-12-22 IL IL159518A patent/IL159518A/en not_active IP Right Cessation
Cited By (4)
| Publication number | Priority date | Publication date | Assignee | Title |
|---|---|---|---|---|
| JP2010193805A (ja) * | 2009-02-25 | 2010-09-09 | Putio:Kk | ねじ式流量調節器および点滴灌水用ドリッパ |
| JP2010193804A (ja) * | 2009-02-25 | 2010-09-09 | Putio:Kk | 日射量対応灌水装置 |
| CN106538315A (zh) * | 2016-10-13 | 2017-03-29 | 南京君源环保工程有限公司 | 一种人工降雨实验装置用的降雨器 |
| CN106538315B (zh) * | 2016-10-13 | 2019-03-22 | 南京君源环保工程有限公司 | 一种人工降雨实验装置用的降雨器 |
Also Published As
| Publication number | Publication date |
|---|---|
| US7201333B2 (en) | 2007-04-10 |
| US20040195372A1 (en) | 2004-10-07 |
| IL159518A (en) | 2010-06-16 |
| IL159518A0 (en) | 2004-06-01 |
| JP2004201583A (ja) | 2004-07-22 |
Similar Documents
| Publication | Publication Date | Title |
|---|---|---|
| JP3787628B2 (ja) | 間欠式自動潅水装置 | |
| CN107223484B (zh) | 倾斜式大棚系统及大棚种植方法 | |
| CN107231974B (zh) | 滴灌供水农业大棚系统及大棚种植方法 | |
| KR102046601B1 (ko) | 증발작용 또는 빗물을 이용한 지중 관수장치 | |
| CN104686290B (zh) | 一种节能、生态自动灌溉系统 | |
| CN103053389B (zh) | 一种自动灌溉装置 | |
| CN106069381B (zh) | 一种温室大棚集雨节灌自动控制系统及方法 | |
| WO2020143359A1 (zh) | 滴灌管及大棚 | |
| CN1726762A (zh) | 一种负压调控的封闭式栽培系统及其操作方法 | |
| US3902825A (en) | Temperature controlled automatic water dispenser to provide subsurface irrigation for orchard, farm & vineyard plants | |
| KR101549189B1 (ko) | 수경재배장치 | |
| CN207083745U (zh) | 一种潮汐式种植装置 | |
| RU2137354C1 (ru) | Устройство для орошения теплиц, парников и садовых участков | |
| CN117941605A (zh) | 一种地下自动分层滴灌装置 | |
| CN110432136B (zh) | 一种灌排自动切换装置 | |
| CN210406527U (zh) | 一种挡土墙温控式绿化装置 | |
| CN214709397U (zh) | 一种苗圃盆套盆育苗潮汐式灌溉系统 | |
| CN222869595U (zh) | 一种柑橘苗木水肥潮汐灌溉设备 | |
| RU61504U1 (ru) | Система полива растений | |
| JPH1033074A (ja) | 自動潅水式プランター | |
| SU794111A1 (ru) | Дренажно-увлажнительна система | |
| CN221127956U (zh) | 一种水肥一体化灌溉装置 | |
| CN117204333B (zh) | 一体化智能多级节水水培装置 | |
| CN215223631U (zh) | 一种潮汐式灌溉栽培系统 | |
| CN216492492U (zh) | 一种无动力自灌装配式植物栅栏 |
Legal Events
| Date | Code | Title | Description |
|---|---|---|---|
| A977 | Report on retrieval |
Free format text: JAPANESE INTERMEDIATE CODE: A971007 Effective date: 20050218 |
|
| A131 | Notification of reasons for refusal |
Free format text: JAPANESE INTERMEDIATE CODE: A131 Effective date: 20050222 |
|
| A521 | Request for written amendment filed |
Free format text: JAPANESE INTERMEDIATE CODE: A523 Effective date: 20050412 |
|
| TRDD | Decision of grant or rejection written | ||
| A01 | Written decision to grant a patent or to grant a registration (utility model) |
Free format text: JAPANESE INTERMEDIATE CODE: A01 Effective date: 20060221 |
|
| R150 | Certificate of patent or registration of utility model |
Ref document number: 3787628 Country of ref document: JP Free format text: JAPANESE INTERMEDIATE CODE: R150 Free format text: JAPANESE INTERMEDIATE CODE: R150 |
|
| R154 | Certificate of patent or utility model (reissue) |
Free format text: JAPANESE INTERMEDIATE CODE: R154 |
|
| S533 | Written request for registration of change of name |
Free format text: JAPANESE INTERMEDIATE CODE: R313533 |
|
| R350 | Written notification of registration of transfer |
Free format text: JAPANESE INTERMEDIATE CODE: R350 |
|
| EXPY | Cancellation because of completion of term |