JP3665036B2 - プリント配線板の製造方法及びプリント配線板 - Google Patents
プリント配線板の製造方法及びプリント配線板 Download PDFInfo
- Publication number
- JP3665036B2 JP3665036B2 JP2002110990A JP2002110990A JP3665036B2 JP 3665036 B2 JP3665036 B2 JP 3665036B2 JP 2002110990 A JP2002110990 A JP 2002110990A JP 2002110990 A JP2002110990 A JP 2002110990A JP 3665036 B2 JP3665036 B2 JP 3665036B2
- Authority
- JP
- Japan
- Prior art keywords
- insulating substrate
- printed wiring
- wiring board
- pad portion
- conductive material
- Prior art date
- Legal status (The legal status is an assumption and is not a legal conclusion. Google has not performed a legal analysis and makes no representation as to the accuracy of the status listed.)
- Expired - Fee Related
Links
- 238000004519 manufacturing process Methods 0.000 title claims description 26
- 239000000758 substrate Substances 0.000 claims description 76
- 239000004020 conductor Substances 0.000 claims description 72
- 238000007747 plating Methods 0.000 claims description 42
- 238000007772 electroless plating Methods 0.000 claims description 17
- 230000002093 peripheral effect Effects 0.000 claims description 14
- 229910000679 solder Inorganic materials 0.000 claims description 7
- 238000000151 deposition Methods 0.000 claims description 2
- 238000009413 insulation Methods 0.000 claims 1
- RYGMFSIKBFXOCR-UHFFFAOYSA-N Copper Chemical compound [Cu] RYGMFSIKBFXOCR-UHFFFAOYSA-N 0.000 description 34
- 239000010410 layer Substances 0.000 description 27
- 238000000034 method Methods 0.000 description 26
- 229910052802 copper Inorganic materials 0.000 description 19
- 239000010949 copper Substances 0.000 description 19
- 239000011889 copper foil Substances 0.000 description 15
- 239000000853 adhesive Substances 0.000 description 8
- 230000001070 adhesive effect Effects 0.000 description 8
- 239000000654 additive Substances 0.000 description 5
- 230000000996 additive effect Effects 0.000 description 5
- 239000003054 catalyst Substances 0.000 description 5
- 230000000630 rising effect Effects 0.000 description 4
- 238000005530 etching Methods 0.000 description 3
- 230000015572 biosynthetic process Effects 0.000 description 2
- 230000018109 developmental process Effects 0.000 description 2
- 230000000694 effects Effects 0.000 description 2
- 235000015842 Hesperis Nutrition 0.000 description 1
- 235000012633 Iberis amara Nutrition 0.000 description 1
- 230000007547 defect Effects 0.000 description 1
- 230000008021 deposition Effects 0.000 description 1
- 238000007731 hot pressing Methods 0.000 description 1
- 239000011810 insulating material Substances 0.000 description 1
- 239000011229 interlayer Substances 0.000 description 1
- 230000007261 regionalization Effects 0.000 description 1
- 238000005476 soldering Methods 0.000 description 1
Images
Landscapes
- Printing Elements For Providing Electric Connections Between Printed Circuits (AREA)
- Manufacturing Of Printed Wiring (AREA)
Description
【発明の属する技術分野】
本発明は、主に電子機器等に用いられ、絶縁基板の両面に形成された導体パターンを要所で層間接続させたプリント配線板の製造方法及びプリント配線板に関するものである。
【0002】
【従来の技術】
現在、プリント配線板は、生産性の向上、量産品質の確保、信頼性の向上等を目的として、テレビ等の量産機器からロケット等の高い信頼性を要求される機器まで、あらゆる電子機器に使用されている。近年、電子機器の小型化が進み、それに伴いプリント配線板の高精度化及び高密度化が要求されている。
一般に、このプリント配線板は、絶縁基板の両面に形成された導体パターンを要所で層間接続させた構成をなし、該配線板の一端側には、例えばマザーボードとハンダ接合するためのボールパッド部が設けられている。このボールパッド部は、ハンダ接合される際、200°以上熱せられることから、熱ひずみが発生し、これにより、該パッド部の上記絶縁基板からの剥離が発生する虞があるため、ボールパッド部の絶縁基板への接着強度は高い方が望ましい。
従来から、この種のプリント配線板の製造方法としては、サブトラクティブ法とアディティブ法とが知られている。
【0003】
サブトラクティブ法とは、絶縁基板表面に銅箔が被着された積層板において、上記銅箔の不要部分を、例えばエッチングなどにより、選択的に除去し、導体パターンを形成するプリント配線板の製造方法を言う。
ここで、上記積層板は、絶縁基板表面に上記銅箔を熱プレスにより圧着し、形成されるものであり、該絶縁基板が熱せられた際の軟化と、上記銅箔表面の微細な凹凸形状とに起因して、上記銅箔表面の凹凸部が絶縁基板表面に食込んだ構成となっている。そのため、上記銅箔と上記絶縁基板との接着強度は強く、ピール強度は1.0kN/m以上になる。
【0004】
図2にサブトラクティブ法によるプリント配線板の製造方法を示す。以下、高精密、高密度パターン形成に適用される写真法について説明する。
まず、絶縁基板1表面に銅箔2が貼着された積層板30の表面に、形成される導体パターンを層間接続させるための貫通孔3を穿設し、その後、積層板30表面及び貫通孔3内周面に、後述する無電解銅鍍金の付着性を向上させるための触媒11を塗布する(図2(A))。
【0005】
その後、積層板30表面及び貫通孔3内周面上に無電解銅鍍金を施し、該各面上に銅鍍金層12を形成した後、その表面に感光レジスト層4を形成し、さらにその表面に、要求する導体パターンと対応した穴5が形成されたドライフィルム6を載置する。そして、ドライフィルム6の外部から紫外線7を照射して、ドライフィルム6の穴5に相当する部分の感光レジスト層4を露光、硬化させる(図2(B))。
【0006】
その後、現像処理を行い、露光されない部分、すなわちドライフィルム6に覆われた部分の感光レジスト層4を除去し、露光され硬化した感光レジスト層4を残す。その後、エッチング液8を噴射し(図2(C))、導体パターン部以外の露出不要銅箔2及び銅鍍金層12を溶解除去することで、導体パターン13が形成されるとともに、貫通孔3内周面に銅鍍金層12が析出したバイアホール3aが形成される(図2(D))。これにより、要求する導体パターン13と、該導体パターン13を層間接続するバイアホール3aとを備えたプリント配線板が形成される。ここで、導体パターン13の一部が、上述したボールパッド部として使用される。
【0007】
アディティブ法とは、絶縁基板上に導電性材料を、例えば無電解銅鍍金などを施し、選択的に析出させて、導体パターンを形成するプリント配線板の製造方法を言う。図3にアディティブ法によるプリント配線板の製造方法を示す。
【0008】
まず、絶縁基板1表面に形成される導体パターンを層間接続させるための貫通孔3を穿設した後、絶縁基板1表面及び貫通孔3内周面に、上記触媒11を塗布する(図3(A))。その後、要求する導体パターン以外の個所に印刷法等適宜方法により鍍金レジストパターン9を形成した後(図3(B))、絶縁基板1表面に無電解銅鍍金を施す。この際、無電解銅鍍金は、鍍金レジストパターン9には付着しないため、導体パターン部、すなわち絶縁基板1表面において鍍金レジストパターン9の導体同士の間に銅鍍金層が析出し、これが導体パターン12となり、貫通孔3内周面に銅鍍金層が析出したバイアホール3aとなる(図3(C))。以上により、要求する導体パターン12と、導体パターン12を層間接続するバイアホール3aとを備えたプリント配線板が形成される。ここで、導体パターン12の一部が上記ボールパッド部として使用される。
【0009】
【発明が解決しようとする課題】
ところで、図2に示す上記従来のサブトラクティブ法によるプリント配線板の製造方法によれば、導体パターン13の断面形状が、その突端部から絶縁基板1表面に向かうに従い漸次その幅が大となる関係を有し形成される。この場合、導体パターン13の導体同士の間隔を狭く形成できないばかりか、導体を幅広に形成できないため、電子機器の小型化及び電力の大容量化への対応が困難である問題がある。その反面、上記ボールパッド部と、絶縁基板1との接着強度が高い(ピール強度1.0kN/m以上)という利点がある。
【0010】
また、図3に示す上記従来のアディティブ法によるプリント配線板の製造方法によれば、上記サブトラクティブ法により生じる不具合、すなわち導体パターン12の突端部から絶縁基板1に向かうに従い漸次その幅が大となる関係を有し形成されるという問題が解消される反面、導体パターン12が無電解鍍金により形成されるため、上記ボールパッド部と、絶縁基板1との接着強度が低い(ピール強度0.6kN/m以下)という問題がある。
【0011】
本発明は、このような事情を考慮してなされたもので、導体パターンの絶縁基板からの立ち上がりを急峻に形成することが可能になるとともに、ボールパッド部の絶縁基板への接着強度を高くすることが可能なプリント配線板の製造方法及びプリント配線板を提供することを目的とする。
【0012】
【課題を解決するための手段】
上記課題を解決して、このような目的を達成するために、本発明は以下の手段を提案している。
請求項1に係る発明は、絶縁基板表面に導体パターンを形成し、ハンダ接合用のパッド部を有するプリント配線板の製造方法であって、絶縁基板表面に導電材料が貼着された積層板を用い、上記導電材料の一部を残して除去した後、上記絶縁基板表面に鍍金レジストパターンを形成し、その後、無電解鍍金により、上記絶縁基板表面及び残存させた前記導電材料表面に鍍金層を析出させて導体パターンを形成し、鍍金された前記導電材料を前記パッド部とすることを特徴とする。
【0013】
この発明に係るプリント配線板の製造方法によれば、上記絶縁基板表面に導電材料が貼着された積層板を用い、上記導電材料の少なくとも一部以外を除去した後、上記絶縁基板表面に鍍金レジストパターンを形成し、その後、無電解鍍金により、上記絶縁基板表面上に導体パターンを形成するため、上記残存した導電材料をボールパッド部とすることで、ボールパッド部と絶縁基板との接着強度を高くすることが可能になり、これにより、ハンダ接合の際の熱ひずみに起因したボールパッド部の上記絶縁基板からの剥離を抑制することが可能になる。さらに、上記導体パターンの上記絶縁基板表面からの立ち上がりを急峻に形成することが可能になる。また、上記導電材料の残存部表面にも、無電解鍍金を施し、鍍金層を形成するため、新たに鍍金レジストパターンを形成する必要がなく、プリント配線板の容易な形成が可能になるとともに、上記残存部を含めた上記絶縁基板表面に一様に無電解鍍金処理を施すことが可能になり、上記残存部と、上記導体パターンとの導通信頼性を得ることが可能になる。
以上により、製造上の不具合発生を削減でき且つ電子機器の小型化及び電力の大容量化に対応できるプリント配線板を形成することが可能になる。
【0014】
請求項2に係る発明は、請求項1記載のプリント配線板の製造方法であって、上記積層板表面に貫通孔を形成するとともに、上記導電材料の一部を残して除去した後、上記絶縁基板表面に鍍金レジストパターンを形成し、その後、無電解鍍金により、上記絶縁基板表面及び上記貫通孔内周面に鍍金層を形成することを特徴とする。
【0015】
この発明に係るプリント配線板の製造方法によれば、請求項1記載の製造方法による作用と同様の作用を奏するのに加え、上記積層板表面に貫通孔を形成するとともに、上記導電材料の少なくとも一部以外を除去した後、上記絶縁基板表面に鍍金レジストパターンを形成し、その後、無電解鍍金により、上記絶縁基板表面及び上記貫通孔内周面に鍍金層を形成するため、上記絶縁基板の一方の面及び他方の面双方に形成された導体パターンを接続する鍍金層の厚さを上記導体パターンの厚さと略同等に形成することが可能になる。従って、高周波数回路に対応可能なプリント配線板を形成することが可能になる。
【0018】
請求項3に係る発明は、絶縁基板表面に導電材料が貼着された積層板を用いて製造され、前記絶縁基板上に導体パターンを備えたプリント配線板であって、ハンダ接合用のパッド部が、前記導電材料上に無電解鍍金によって前記絶縁基板に向かうに従いその幅が大となるように形成され、前記パッド部を除く前記導体パターンが、前記導電材料を除去した前記絶縁基板表面に、無電解鍍金により形成されていることを特徴とする。
【0019】
この発明に係るプリント配線板によれば、上記導体パターンの上記少なくとも一部を、ボールパッド部とすることにより、ボールパッド部と上記絶縁基板との接着強度を高くすることができ、ハンダ接合の際の熱ひずみに起因したボールパッド部の剥離を抑制することが可能になる。さらに、上記少なくとも一部以外を、無電解鍍金により形成するため、上記ボールパッド部を除く上記導体パターンの、上記絶縁基板表面からの立ち上がりを急峻に形成することが可能になる。以上により、製造上の不具合発生を削減でき且つ電子機器の小型化及び電力の大容量化に対応できるプリント配線板を提供することが可能になる。
【0020】
【発明の実施の形態】
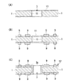
以下、図面を参照し、この発明の実施の形態について説明する。図1は、この発明の一実施形態として示したプリント配線板の製造方法及びプリント配線板を説明するための説明図を示すものである。
【0021】
図1において、まず、絶縁基板1表面に銅箔2を貼着した積層板30表面に、形成される導体パターンを層間接続させるための貫通孔3を穿設し(図1(A))、その後、積層板30表面に感光レジスト層4を形成する。そして、要求するボールパッド部の形成位置及び大きさに対応した穴5が表面に形成されたドライフィルム6を載置し、該フィルム6の外部から紫外線7を照射し、該フィルム6の穴5に相当する部分の感光レジスト層4を露光、硬化させる(図1(B))。
【0022】
さらに、現像処理を行い、露光されない部分、すなわち上記フィルム6に覆われた部分の感光レジスト層4を除去し、露光され硬化した感光レジスト層4aを残す。この状態で、エッチング液8を銅箔2表面に噴射し(図1(C))、ボールパッド部2a以外の露出不要となる銅箔2を溶解除去した後、上記感光レジスト層4aを除去し、ボールパッド部2aを形成する。そして、ボールパッド部2aが形成された絶縁基板1表面及び貫通孔3内周面に、次に述べる無電解銅鍍金の付着性を向上させるための触媒11を塗布する(図1(D)。
【0023】
次に、ボールパッド部2aが形成された絶縁基板1表面に、鍍金レジストパターン9を形成した後、絶縁基板1表面と、貫通孔3内周面と、ボールパッド部2a表面とに無電解銅鍍金を施す(図1(E))。これにより、鍍金レジストパターン9同士の間及び絶縁基板1表面、並びに貫通孔3内周面、そしてボールパッド部2a表面に銅鍍金層が析出し、これらのうち、鍍金レジストパターン9同士の間及び絶縁基板1表面、並びにボールパッド部2aに析出した銅鍍金層が、導体パターン10となり、内周面に上記銅鍍金層が析出した貫通孔3がバイアホール3aとなる(図1(F))。以上により、要求する導体パターン10と、導体パターン10を層間接続させるためのバイアホール3aと、ボールパッド部2aとを備えたプリント配線板20が形成される。
【0024】
以上説明したように、本実施形態によるプリント配線板の製造方法によれば、ボールパッド部2aが、当初、絶縁基板1表面に貼着された銅箔2の一部から形成されるため、ボールパッド部2aと絶縁基板1との接着強度を高くすることが可能になる。これにより、プリント配線板20を他の電子部品とハンダ接合する際のボールパッド部2aの熱ひずみに起因した絶縁基板1からの剥離を抑制することが可能になる。さらに、ボールパッド部2aを除く導体パターン10においては、その突端部から絶縁基板1表面に向かうに従い漸次その幅が増加する形状になることなく、絶縁基板1からの立ち上がりを急峻に形成することが可能になる。
以上により、製造上の不具合を削減でき、かつ電子機器の小型化及び電力の大容量化に対応できるプリント配線板20を形成することが可能になる。
【0025】
また、絶縁基板1表面及び鍍金レジストパターン9同士の間、並びに貫通孔3内周面に、同時に無電解銅鍍金を施し、導体パターン10及びバイアホール3aを形成するため、導体パターン10の厚さをバイアホール3aの厚さと略同等に形成することが可能になる。従って、高周波数回路に対応可能なプリント配線板を形成することが可能になる。
【0026】
さらに、ボールパッド部2a表面にも、無電解鍍金を施し、銅鍍金層を形成するため、ボールパッド部2aを含めた絶縁基板1表面に一様に無電解鍍金を施すことが可能になる。これにより、ボールパッド部2aと、ボールパッド部2aを除く導体パターン10との導通信頼性を得ることが可能になるとともに、ボールパッド部2aの形成位置と対応した新たな鍍金レジストパターンを形成する必要がないため、容易にプリント配線板を形成することが可能になる。
【0027】
なお、本実施の形態においては、絶縁基板1表面への無電解銅鍍金の付着性を向上させるため、触媒を絶縁基板1に塗布したが、当初から触媒が含有されている絶縁基板1を使用しても良い。また、両面に銅箔2が付着された積層板30について説明したが、片面にのみ銅箔2が付着された積層板を使用しても適用可能である。
【0028】
【発明の効果】
以上の説明から明らかなように、請求項1に係る発明によれば、上記導電材料の一部をボールパッド部とすることにより、ボールパッド部と上記絶縁基板との接着強度を高くすることが可能になり、ハンダ接合の際のボールパッド部の熱ひずみに起因した上記絶縁基板からの剥離を抑制することが可能になる。さらに、上記導体パターンの上記絶縁基板表面からの立ち上がりを急峻に形成することが可能になる。また、上記導電材料の残存部を含めた上記絶縁基板表面に一様に無電解鍍金処理を施すことが可能になる。これにより、新たに鍍金レジストパターンを形成する必要がないため、プリント配線板の容易な形成を可能にするとともに、上記残存部と、上記導体パターンとの導通信頼性を得ることが可能になる。
【0029】
請求項2に係る発明によれば、上記絶縁基板の一方の面及び他方の面双方に形成された導体パターンを接続する鍍金層の厚さを上記導体パターンの厚さと略同等に形成することが可能になる。従って、高周波数回路に対応可能なプリント配線板を形成することが可能になる。
【0031】
請求項3に係る発明によれば、上記導体パターンの上記少なくとも一部を、ボールパッド部とすることにより、ボールパッド部と上記絶縁基板との接着強度を高くすることができ、ハンダ接合の際の熱ひずみに起因したボールパッド部の剥離を抑制することが可能になる。さらに、上記ボールパッド部を除く上記導体パターンの、上記絶縁基板表面からの立ち上がりを急峻に形成することが可能になる。
【図面の簡単な説明】
【図1】 本発明の一実施形態として示したプリント配線板の製造方法を示す説明図である。
【図2】 従来のサブトラクティブ法によりプリント配線板を形成する方法を示す説明図である。
【図3】 従来のアディティブ法によりプリント配線板を形成する方法を示す説明図である。
【符号の説明】
1 絶縁基板
2 銅箔(導電材料)
2a ボールパッド部(導電材料の一部)
3 貫通孔
3a バイアホール(内周面に銅鍍金層が形成された貫通孔)
9 鍍金レジストパターン
10 導体パターン
20 プリント配線板
30 積層板
Claims (3)
- 絶縁基板表面に導体パターンを形成し、ハンダ接合用のパッド部を有するプリント配線板の製造方法であって、
絶縁基板表面に導電材料が貼着された積層板を用い、上記導電材料の一部を残して除去した後、上記絶縁基板表面に鍍金レジストパターンを形成し、その後、無電解鍍金により、上記絶縁基板表面及び残存させた前記導電材料表面に鍍金層を析出させて導体パターンを形成し、鍍金された前記導電材料を前記パッド部とすることを特徴とするプリント配線板の製造方法。 - 請求項1記載のプリント配線板の製造方法であって、上記積層板表面に貫通孔を形成するとともに、上記導電材料の一部を残して除去した後、上記絶縁基板表面に鍍金レジストパターンを形成し、その後、無電解鍍金により、上記絶縁基板表面及び上記貫通孔内周面に鍍金層を形成することを特徴とするプリント配線板の製造方法。
- 絶縁基板表面に導電材料が貼着された積層板を用いて製造され、前記絶縁基板上に導体パターンを備えたプリント配線板であって、
ハンダ接合用のパッド部が、前記導電材料上に無電解鍍金によって前記絶縁基板に向かうに従いその幅が大となるように形成され、前記パッド部を除く前記導体パターンが、前記導電材料を除去した前記絶縁基板表面に、無電解鍍金により形成されていることを特徴とするプリント配線板。
Priority Applications (1)
| Application Number | Priority Date | Filing Date | Title |
|---|---|---|---|
| JP2002110990A JP3665036B2 (ja) | 2002-04-12 | 2002-04-12 | プリント配線板の製造方法及びプリント配線板 |
Applications Claiming Priority (1)
| Application Number | Priority Date | Filing Date | Title |
|---|---|---|---|
| JP2002110990A JP3665036B2 (ja) | 2002-04-12 | 2002-04-12 | プリント配線板の製造方法及びプリント配線板 |
Publications (2)
| Publication Number | Publication Date |
|---|---|
| JP2003309347A JP2003309347A (ja) | 2003-10-31 |
| JP3665036B2 true JP3665036B2 (ja) | 2005-06-29 |
Family
ID=29393962
Family Applications (1)
| Application Number | Title | Priority Date | Filing Date |
|---|---|---|---|
| JP2002110990A Expired - Fee Related JP3665036B2 (ja) | 2002-04-12 | 2002-04-12 | プリント配線板の製造方法及びプリント配線板 |
Country Status (1)
| Country | Link |
|---|---|
| JP (1) | JP3665036B2 (ja) |
Families Citing this family (1)
| Publication number | Priority date | Publication date | Assignee | Title |
|---|---|---|---|---|
| CN115297610B (zh) * | 2022-07-08 | 2025-04-29 | 胜宏科技(惠州)股份有限公司 | 一种无孔环背钻孔的制作方法 |
-
2002
- 2002-04-12 JP JP2002110990A patent/JP3665036B2/ja not_active Expired - Fee Related
Also Published As
| Publication number | Publication date |
|---|---|
| JP2003309347A (ja) | 2003-10-31 |
Similar Documents
| Publication | Publication Date | Title |
|---|---|---|
| KR100691662B1 (ko) | 프린트 배선 기판 및 프린트 배선 기판의 제조 방법 | |
| KR101375998B1 (ko) | 다층 배선기판의 제조방법 및 다층 배선기판 | |
| JP3229286B2 (ja) | プリント回路基板の製造方法 | |
| JP2008109140A (ja) | 回路基板及びその製造方法 | |
| JP2011061176A (ja) | プリント基板の製造方法 | |
| TWI307142B (en) | Semiconductor package substrate having different thicknesses between wire bonding pad and ball pad and method for fabricating the same | |
| KR100857165B1 (ko) | 회로기판 제조방법 | |
| US20120175162A1 (en) | Printed circuit board | |
| US6651324B1 (en) | Process for manufacture of printed circuit boards with thick copper power circuitry and thin copper signal circuitry on the same layer | |
| TWI471073B (zh) | 線路基板及其製作方法 | |
| CN1750734B (zh) | 配线基板及其制造方法 | |
| CN114007345A (zh) | 线路板的制备方法 | |
| JP3665036B2 (ja) | プリント配線板の製造方法及びプリント配線板 | |
| KR100752017B1 (ko) | 인쇄회로기판의 제조방법 | |
| KR20060042723A (ko) | 경연성 다층 인쇄회로기판의 제조 방법 | |
| US20100193232A1 (en) | Printed circuit board and method of manufacturing the same | |
| JP2005072085A (ja) | 配線基板の製造方法、及び配線基板 | |
| JP2001185854A (ja) | 多層プリント配線板およびその製造方法 | |
| JP4841483B2 (ja) | 配線基板の製造方法 | |
| JP3662892B2 (ja) | プリント配線板の製造方法及びプリント配線板 | |
| JP4395959B2 (ja) | プリント配線板の製造方法 | |
| CN111629513A (zh) | 同时具有贯孔及盲孔的多层电路板结构及其制法 | |
| JP3749201B2 (ja) | プリント配線板の製造方法 | |
| JP4160813B2 (ja) | 多層回路基板の製造法 | |
| KR100797669B1 (ko) | 인쇄회로기판 및 그 제조방법 |
Legal Events
| Date | Code | Title | Description |
|---|---|---|---|
| A521 | Request for written amendment filed |
Free format text: JAPANESE INTERMEDIATE CODE: A523 Effective date: 20040325 |
|
| A131 | Notification of reasons for refusal |
Free format text: JAPANESE INTERMEDIATE CODE: A131 Effective date: 20040420 |
|
| A521 | Request for written amendment filed |
Free format text: JAPANESE INTERMEDIATE CODE: A523 Effective date: 20040621 |
|
| A02 | Decision of refusal |
Free format text: JAPANESE INTERMEDIATE CODE: A02 Effective date: 20041130 |
|
| A521 | Request for written amendment filed |
Free format text: JAPANESE INTERMEDIATE CODE: A523 Effective date: 20050202 |
|
| A911 | Transfer to examiner for re-examination before appeal (zenchi) |
Free format text: JAPANESE INTERMEDIATE CODE: A911 Effective date: 20050207 |
|
| TRDD | Decision of grant or rejection written | ||
| A01 | Written decision to grant a patent or to grant a registration (utility model) |
Free format text: JAPANESE INTERMEDIATE CODE: A01 Effective date: 20050322 |
|
| A61 | First payment of annual fees (during grant procedure) |
Free format text: JAPANESE INTERMEDIATE CODE: A61 Effective date: 20050330 |
|
| R150 | Certificate of patent or registration of utility model |
Ref document number: 3665036 Country of ref document: JP Free format text: JAPANESE INTERMEDIATE CODE: R150 Free format text: JAPANESE INTERMEDIATE CODE: R150 |
|
| FPAY | Renewal fee payment (event date is renewal date of database) |
Free format text: PAYMENT UNTIL: 20080408 Year of fee payment: 3 |
|
| FPAY | Renewal fee payment (event date is renewal date of database) |
Free format text: PAYMENT UNTIL: 20090408 Year of fee payment: 4 |
|
| R250 | Receipt of annual fees |
Free format text: JAPANESE INTERMEDIATE CODE: R250 |
|
| FPAY | Renewal fee payment (event date is renewal date of database) |
Free format text: PAYMENT UNTIL: 20100408 Year of fee payment: 5 |
|
| R250 | Receipt of annual fees |
Free format text: JAPANESE INTERMEDIATE CODE: R250 |
|
| FPAY | Renewal fee payment (event date is renewal date of database) |
Free format text: PAYMENT UNTIL: 20110408 Year of fee payment: 6 |
|
| R250 | Receipt of annual fees |
Free format text: JAPANESE INTERMEDIATE CODE: R250 |
|
| R250 | Receipt of annual fees |
Free format text: JAPANESE INTERMEDIATE CODE: R250 |
|
| FPAY | Renewal fee payment (event date is renewal date of database) |
Free format text: PAYMENT UNTIL: 20120408 Year of fee payment: 7 |
|
| FPAY | Renewal fee payment (event date is renewal date of database) |
Free format text: PAYMENT UNTIL: 20130408 Year of fee payment: 8 |
|
| R250 | Receipt of annual fees |
Free format text: JAPANESE INTERMEDIATE CODE: R250 |
|
| FPAY | Renewal fee payment (event date is renewal date of database) |
Free format text: PAYMENT UNTIL: 20140408 Year of fee payment: 9 |
|
| R250 | Receipt of annual fees |
Free format text: JAPANESE INTERMEDIATE CODE: R250 |
|
| R250 | Receipt of annual fees |
Free format text: JAPANESE INTERMEDIATE CODE: R250 |
|
| R250 | Receipt of annual fees |
Free format text: JAPANESE INTERMEDIATE CODE: R250 |
|
| R250 | Receipt of annual fees |
Free format text: JAPANESE INTERMEDIATE CODE: R250 |
|
| R250 | Receipt of annual fees |
Free format text: JAPANESE INTERMEDIATE CODE: R250 |
|
| R250 | Receipt of annual fees |
Free format text: JAPANESE INTERMEDIATE CODE: R250 |
|
| R250 | Receipt of annual fees |
Free format text: JAPANESE INTERMEDIATE CODE: R250 |
|
| R250 | Receipt of annual fees |
Free format text: JAPANESE INTERMEDIATE CODE: R250 |
|
| R250 | Receipt of annual fees |
Free format text: JAPANESE INTERMEDIATE CODE: R250 |
|
| LAPS | Cancellation because of no payment of annual fees |