JP3663733B2 - インクジェットプリンタのインクカートリッジ - Google Patents
インクジェットプリンタのインクカートリッジ Download PDFInfo
- Publication number
- JP3663733B2 JP3663733B2 JP9970396A JP9970396A JP3663733B2 JP 3663733 B2 JP3663733 B2 JP 3663733B2 JP 9970396 A JP9970396 A JP 9970396A JP 9970396 A JP9970396 A JP 9970396A JP 3663733 B2 JP3663733 B2 JP 3663733B2
- Authority
- JP
- Japan
- Prior art keywords
- ink
- cartridge
- absorbing member
- supply hole
- jet printer
- Prior art date
- Legal status (The legal status is an assumption and is not a legal conclusion. Google has not performed a legal analysis and makes no representation as to the accuracy of the status listed.)
- Expired - Fee Related
Links
- 238000010521 absorption reaction Methods 0.000 claims description 29
- 239000000463 material Substances 0.000 claims description 5
- 239000000976 ink Substances 0.000 description 236
- 239000003566 sealing material Substances 0.000 description 25
- 238000007789 sealing Methods 0.000 description 8
- 238000001704 evaporation Methods 0.000 description 2
- 239000004698 Polyethylene Substances 0.000 description 1
- 239000004793 Polystyrene Substances 0.000 description 1
- 230000002745 absorbent Effects 0.000 description 1
- 239000002250 absorbent Substances 0.000 description 1
- 238000010586 diagram Methods 0.000 description 1
- 230000000694 effects Effects 0.000 description 1
- 230000004927 fusion Effects 0.000 description 1
- 239000005022 packaging material Substances 0.000 description 1
- -1 polyethylene Polymers 0.000 description 1
- 229920000573 polyethylene Polymers 0.000 description 1
- 229920002223 polystyrene Polymers 0.000 description 1
- 229920005989 resin Polymers 0.000 description 1
- 239000011347 resin Substances 0.000 description 1
- 229920002050 silicone resin Polymers 0.000 description 1
- 239000000758 substrate Substances 0.000 description 1
- 229920005992 thermoplastic resin Polymers 0.000 description 1
- 229920001187 thermosetting polymer Polymers 0.000 description 1
Images
Landscapes
- Ink Jet (AREA)
Description
【発明の属する技術分野】
本発明は、インクジェットプリンタのインクカートリッジ、特にカートリッジ内にインク吸蔵部材(例えば多孔質体)が充填されてなるものに関する。
【0002】
【従来の技術】
一般に、印字ヘッドのノズル孔を通じてインク液滴を飛翔させて記録紙等の記録媒体に記録させるインクジェットプリンタにおいて、印字ヘッドにインクを供給するインクカートリッジを交換可能としたものが知られている。また、かかるインクジェットプリンタに用いるインクカートリッジとして、カートリッジ本体内にインクが吸蔵されているインク吸蔵部材が収容され、印字ヘッド側のインク供給管部をカートリッジ本体のインク供給孔に挿通して連結することで、インクを供給可能な状態とするものが知られている。
【0003】
このようなインクカートリッジにおいては、内部空間を大気圧に保持しかつインク吸蔵部材からインク供給孔を通じての印字ヘッドへのインクの供給を円滑にするために、上記インク供給孔とは別に大気連通孔が設けられている。このようなインクカートリッジは、搬送時等におけるインクの漏れや蒸発を防止し、しかも使用する際には容易に開封してインクカートリッジを取り出すことができるように、まず、インクカートリッジのインク供給孔と大気連通孔をシール材で密閉し、それからそれを包装材でパッキングするようにしている。
【0004】
ところで、そのようなシール材で密閉する場合、図6に示すように、インクカートリッジaのインク供給孔bを密閉するシール材cの内面側に、インク吸蔵部材dよりのインクeが付着する場合がある。
【0005】
【発明が解決しようとする課題】
しかしながら、そのようにインクeがシール材cの内面側に付着していると、インクカートリッジaを使用する際に、インクカートリッジaのインク供給孔bに対して設けられたシール材cを、使用者が引き剥がす必要があるので、引き剥がす際、インクが飛び散り、周囲を汚損するという課題があった。
【0006】
ところで、特開平6ー320749号公報に記載されるように、非インク浸透性材料からなる破砕可能な封止部材にてインクタンクのタンク開口を封止し、一方、インクジェットヘッドのインク供給管端部周囲には、インクタンク装着時にてインク供給管がタンク開口の封止部材に圧接した際に封止部材が破砕される複数の突起を設けると共に、タンク開口に対応する封止部材が非破断部を残して破片状に破断されるよう少なくとも一対の突起間寸法を他の突起間寸法より大きく設定したものが提案されているが、かかるものは、突起により突き破るのにかなりの力を要するので、その際に封止部材の裏面にインクが付着していれば、やはり飛び散るおそれがある。また、突き破る際に、破片がでるおそれもある。
【0007】
本発明は、かかる点に鑑みてなされたもので、シール材を剥離する際、インクが飛散するのを防止したインクジェットプリンタのインクカートリッジを提供することを目的とするものである。
【0008】
【課題を解決するための手段】
請求項1の発明は、インク供給孔を有すると共にインク吸蔵部材が収容されているカートリッジ本体と、該カートリッジ本体のインク供給孔の外壁面側に該インク供給孔を閉塞するように貼着されたシール材とを備え、印字ヘッドを有するヘッドユニットに装着して用いられるインクジェットプリンタのインクカートリッジにおいて、前記シール材には、前記インク吸蔵部材よりの余剰インクを吸収するインク吸収部材が、前記インク供給孔を介して前記インク吸蔵部材と対向するように設けられている構成とする。
【0009】
請求項1の発明によれば、シール材に設けられているインク吸収部材によって、インク吸蔵部材より滲み出てインク供給孔内に進入するインクが吸収されて保持され、シール材を引き剥がす際に、インクが周囲に飛び散ることがない。
【0010】
請求項2の発明は、請求項1のインクジェットプリンタのインクカートリッジにおいて、前記インク吸収部材が、前記インク吸蔵部材よりもインク吸収性が劣るものである。
【0011】
請求項2の発明によれば、インク吸収部材は、インク吸蔵部材よりもインク吸収性が劣ることから、インク吸収部材がインク吸蔵部材より積極的にインクを吸収することはない。
【0012】
請求項3の発明は、請求項2のインクジェットプリンタのインクカートリッジにおいて、前記インク吸蔵部材が、インク吸収率が略80%である一方、前記インク吸収部材は、インク吸収率が30〜50%である。
【0013】
請求項3の発明によれば、インク吸蔵部材はインク吸収率が略80%とされ、インク吸収部材はインク吸収率が30〜50%とされて、インク吸収部材がインク吸蔵部材よりもインク吸収性が劣るようにされ、インク吸収部材がインク吸蔵部材より積極的にインクを吸収することが規制される。
【0014】
請求項4の発明は、請求項1〜3のいずれかのインクジェットプリンタのインクカートリッジにおいて、前記インク吸収部材が、前記インク吸蔵部材との間に隙間が形成されている。
【0015】
請求項4の発明によれば、前記インク吸収部材は、インク吸蔵部材との間に隙間が形成され、インク吸収部材がインク吸蔵部材より積極的にインクを吸収することが規制される。
【0016】
請求項5の発明は、請求項1〜4のいずれかのインクジェットプリンタのインクカートリッジにおいて、前記インク吸収部材が、前記インク供給孔内に位置している。
【0017】
請求項5の発明によれば、前記インク吸収部材は、前記インク供給孔内に位置しており、無理なく余剰インクが吸収される。
請求項6の発明は、請求項1〜4のいずれかのインクジェットプリンタのインクカートリッジにおいて、前記インク吸収部材が、前記インク供給孔を覆い前記カートリッジ本体の外表面に接触している。
【0018】
請求項6の発明によれば、インク吸収部材が、インク供給孔を覆いカートリッジ本体の外表面に接触しているだけであり、インク吸収部材によって、インク供給孔内の余剰インクのみが吸収されるだけである。
【0019】
【発明の実施の形態】
以下、本発明の実施の形態を図面に基づいて説明する。
【0020】
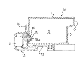
図1はインクカートリッジがヘッドユニットに搭載された状態を、図2はインクカートリッジを搭載する前の状態をそれぞれ示す。尚、本例においては、4種類のインクを用いていることから、それぞれのインクに対応する4種類のインクカートリッジ1A〜1Dを備えている。
【0021】
上記各インクカートリッジ1A〜1Dは、基本的には、同一の構造で、それぞれ、内部にインク吸蔵部材2が収容されるカートリッジ本体3と、該カートリッジ本体3の上部開口を閉塞する蓋体4とを有する。上記インクカートリッジ1A〜1Dの各カートリッジ本体3には、インクを印字ヘッド11に供給するためのインク供給孔5(図3参照)と、そのインクの供給を円滑に行うための大気連通孔6とが設けられている。
【0022】
そして、上記各インクカートリッジ1A〜1Dのカートリッジ本体3のインク供給孔5及び大気連通孔6の外壁面側には、インクカートリッジ1内にインクが充填された後、該インクの蒸発防止等の理由から、図3及び図4に示すように、シール材7がそれらを閉塞するように貼着され、インクカートリッジ1A〜1D内を外部と遮断するようになっている。よって、インクカートリッジ1A〜1Dの使用時には、シール材7を引き剥がし、インク供給孔5及び大気連通孔6を露出させるようにする必要がある。
【0023】
また、前記シール材7のインク供給孔5側に位置する部分には、前記インク吸蔵部材2よりの余剰インクを吸収するインク吸収部材8が設けられ、シール材7が貼着された状態で、インク吸収部材8が、インク吸蔵部材との間に隙間9を存してインク供給孔5内に位置するようになっている。そして、インク吸蔵部材2は、大気連通孔6側に若干インクを吸蔵しない部分があることから、インク吸収率は略80%とされる一方、インク吸収部材8は、印字に対する影響やシール材7を剥離させたときにインクの飛散がないようにインク吸収率が30〜50%とされて、インク吸収部材8がインク吸蔵部材2よりもインク吸収性が劣るようにされ、インク吸収部材8がインク吸蔵部材2より積極的にインクを吸収することが規制されるようになっている。尚、シール材7とインク吸収部材8との貼着手段として熱融着を採用する場合には、シール材及びインク吸収部材としてはシリコン樹脂等の熱硬化性樹脂を除き、ポリエチレン、ポリスチレン等の熱可塑性樹脂を用いる必要があるが、接着を採用する場合には、特に材料は制限されない。
【0024】
上記インクカートリッジ1A〜1Dは、印字ヘッド11を有するヘッドユニット12に装着されるようになっている。ヘッドユニット12は、基板部13の一側の縦壁部14には、インク流路15aを有するインク供給管15が挿通されている。尚、上記印字ヘッド11は、インク供給管15より供給されたインクを前面のノズル孔から飛翔させるアクチュエータを含む。
【0025】
また、上記インク供給管15は、縦壁部14より内側の部分には、凹部を介して筒状のシールラバー16が外嵌され、インクカートリッジ1A〜1Dがヘッドユニット12に装着された際、シールラバー16がインクカートリッジ1との間のシール性を確保するようになっている。
【0026】
上記のように構成すれば、インク吸収部材8によって、インク供給孔5内の余剰インクが吸収保持され、インクカートリッジ1A〜1Dを使用するために、シール材7をカートリッジ本体3より引き剥がす際に、シール材7に付着するインクはインク吸収部材8によって保持されているので、インクが周囲に飛び散ることがない。また、インク吸収部材8はインク吸蔵部材2との間に隙間9が形成されるようになっているので、余剰インクを無理なく吸収することが可能となる。
【0027】
特に、インク吸蔵部材2はインク吸収率が略80%とされ、インク吸収部材8はインク吸収率が30〜50%とされて、インク吸収部材8がインク吸蔵部材2よりもインク吸収性が劣るようにされているので、インク吸収部材8がインク吸蔵部材2より積極的にインクを吸収することを規制することができる。
【0028】
上記実施の形態においては、インク吸収部材8が、インク供給孔5内に位置するようにしているが、インク供給孔5内に位置させることなく、インク吸収部材8Aを、図5に示すように、インク供給孔5よりも大きく形成し、インク供給孔5を覆いカートリッジ本体3の外表面に接触させるようにし、その外側にシール材7Aを貼着するようにすることもできる。このようにすれば、インク吸収部材8Aがインク供給孔5内に位置するように考慮してシール材7を貼着する必要がなくなり、シール材7の貼着作業が簡単となる。
【0029】
【発明の効果】
請求項1の発明は、上記のように、シール材に、インク供給孔を介してインク吸蔵部材と対向するようにインク吸収部材を設けるようにしているので、インク吸収部材によって、インク吸蔵部材より滲み出てインク供給孔内に進入するインクを吸収させて保持させることができ、シール材を引き剥がす際に、インクが周囲に飛び散ることを防止することができる。
【0030】
請求項2の発明は、インク吸収部材が、インク吸蔵部材よりもインク吸収性が劣るようにしているので、インク吸収部材がインク吸蔵部材より積極的にインクを吸収するのを規制して、シール材を引き剥がす際、インクが周囲に飛び散るのを防止することができる。
【0031】
請求項3の発明は、インク吸蔵部材のインク吸収率を略80%とし、インク吸収部材のインク吸収率を30〜50%としているので、インク吸収部材がインク吸蔵部材よりもインク吸収性が劣るようになり、インク吸収部材がインク吸蔵部材より積極的にインクを吸収することを規制することができる。
【0032】
請求項4の発明は、インク吸収部材とインク吸蔵部材との間に隙間を形成するようにしているので、インク吸収部材がインク吸蔵部材より積極的にインクを吸収することを簡単に規制することができる。
【0033】
請求項5の発明は、インク吸収部材が、前記インク供給孔内に位置するようにしているので、無理なく余剰インクを吸収することができる。
【0034】
請求項6の発明は、インク吸収部材が、インク供給孔を覆いカートリッジ本体の外表面に接触しているだけであるので、インク吸収部材によって、インク供給孔内の余剰インクのみを吸収することができ、シール材のインク供給孔部分への貼着作業も簡単である。
【図面の簡単な説明】
【図1】 本発明に係るインクカートリッジがヘッドユニットに装着された状態を示す断面図である。
【図2】 同分解斜視図である。
【図3】 本発明に係るインクカートリッジの斜視図である。
【図4】 インクカートリッジのインク供給孔付近の断面図である。
【図5】 他の実施の形態についての、図4と同様の図である。
【図6】 従来例の説明図である
【符号の説明】
1A〜1D インクカートリッジ
2 インク吸蔵部材
3 カートリッジ本体
5 インク供給孔
7 シール材
7A シール材
8 インク吸収部材
8A インク吸収部材
9 隙間
12 ヘッドユニット
Claims (6)
- インク供給孔を有すると共にインク吸蔵部材が収容されているカートリッジ本体と、該カートリッジ本体のインク供給孔の外壁面側に該インク供給孔を閉塞するように貼着されたシール材とを備え、印字ヘッドを有するヘッドユニットに装着して用いられるインクジェットプリンタのインクカートリッジにおいて、
前記シール材には、前記インク吸蔵部材よりの余剰インクを吸収するインク吸収部材が、前記インク供給孔を介して前記インク吸蔵部材と対向するように設けられていることを特徴とするインクジェットプリンタのインクカートリッジ。 - 前記インク吸収部材は、前記インク吸蔵部材よりもインク吸収性が劣るものであるところの請求項1記載のインクジェットプリンタのインクカートリッジ。
- 前記インク吸蔵部材は、インク吸収率が略80%である一方、前記インク吸収部材は、インク吸収率が30〜50%であるところの請求項2記載のインクジェットプリンタのインクカートリッジ。
- 前記インク吸収部材は、前記インク吸蔵部材との間に隙間が形成されているところの請求項1〜3のいずれかに記載のインクジェットプリンタのインクカートリッジ。
- 前記インク吸収部材は、前記インク供給孔内に位置しているところの請求項1〜4のいずれかに記載のインクジェットプリンタのインクカートリッジ。
- 前記インク吸収部材は、前記インク供給孔を覆い前記カートリッジ本体の外表面に接触しているところの請求項1〜4のいずれかに記載のインクジェットプリンタのインクカートリッジ。
Priority Applications (1)
| Application Number | Priority Date | Filing Date | Title |
|---|---|---|---|
| JP9970396A JP3663733B2 (ja) | 1996-04-22 | 1996-04-22 | インクジェットプリンタのインクカートリッジ |
Applications Claiming Priority (1)
| Application Number | Priority Date | Filing Date | Title |
|---|---|---|---|
| JP9970396A JP3663733B2 (ja) | 1996-04-22 | 1996-04-22 | インクジェットプリンタのインクカートリッジ |
Publications (2)
| Publication Number | Publication Date |
|---|---|
| JPH09286113A JPH09286113A (ja) | 1997-11-04 |
| JP3663733B2 true JP3663733B2 (ja) | 2005-06-22 |
Family
ID=14254428
Family Applications (1)
| Application Number | Title | Priority Date | Filing Date |
|---|---|---|---|
| JP9970396A Expired - Fee Related JP3663733B2 (ja) | 1996-04-22 | 1996-04-22 | インクジェットプリンタのインクカートリッジ |
Country Status (1)
| Country | Link |
|---|---|
| JP (1) | JP3663733B2 (ja) |
Families Citing this family (1)
| Publication number | Priority date | Publication date | Assignee | Title |
|---|---|---|---|---|
| JP2013230667A (ja) | 2012-04-04 | 2013-11-14 | Canon Inc | インクタンクのインク供給口をシールするシール部材および該シール部材を備えたインクタンクユニット |
-
1996
- 1996-04-22 JP JP9970396A patent/JP3663733B2/ja not_active Expired - Fee Related
Also Published As
| Publication number | Publication date |
|---|---|
| JPH09286113A (ja) | 1997-11-04 |
Similar Documents
| Publication | Publication Date | Title |
|---|---|---|
| KR950007176B1 (ko) | 커버를 구비한 기록헤드 및 기록헤드 캡 | |
| EP0627317B1 (en) | Packing case and opening method therefor | |
| JP3082963B2 (ja) | 大気連通部を備えたインク収納容器及び記録ヘッド | |
| JP2766251B2 (ja) | インク・ジェット・プリンタのインク供給 | |
| JPH05254583A (ja) | 保管容器 | |
| JP3885872B2 (ja) | インク収容装置及びそれを備えたインクジェット記録装置 | |
| US5696546A (en) | Ink supply cartridge with ink jet printhead having improved fluid seal therebetween | |
| JP3111039B2 (ja) | インクジェットプリンタのヘッドカートリッジ | |
| US6241348B1 (en) | Package for ink cartridge and method for manufacturing the same | |
| JP3663733B2 (ja) | インクジェットプリンタのインクカートリッジ | |
| JP3246516B2 (ja) | インクジェット記録装置、及びこれに使用するインクタンク | |
| JP3391221B2 (ja) | インクカートリッヂ | |
| JP3733636B2 (ja) | インクジェットプリンタ及びインクカートリッジ | |
| JP3551617B2 (ja) | インクジェットプリンタのインクカートリッジ | |
| JP3365215B2 (ja) | プリンタのインクカートリッジ装置 | |
| JP2918558B2 (ja) | 記録ヘッド | |
| JP3669046B2 (ja) | インクジェットプリンタのインクカートリッジ | |
| JPH08267776A (ja) | インクジェット記録装置用の分離交換型インクタンク | |
| JPH09277546A (ja) | インクジェットプリンタのインクカートリッジ | |
| JP3671555B2 (ja) | インクタンク | |
| JP2618008B2 (ja) | 液体噴射記録ヘッド | |
| JP3257597B2 (ja) | インクジェット記録装置用インクタンク | |
| US7470011B2 (en) | Liquid discharging head cartridge | |
| CN219312331U (zh) | 一种回收墨盒 | |
| JP7536488B2 (ja) | 液体補給容器及び液体補給構造 |
Legal Events
| Date | Code | Title | Description |
|---|---|---|---|
| A977 | Report on retrieval |
Free format text: JAPANESE INTERMEDIATE CODE: A971007 Effective date: 20041007 |
|
| A131 | Notification of reasons for refusal |
Free format text: JAPANESE INTERMEDIATE CODE: A131 Effective date: 20041124 |
|
| A521 | Written amendment |
Free format text: JAPANESE INTERMEDIATE CODE: A523 Effective date: 20050118 |
|
| TRDD | Decision of grant or rejection written | ||
| A01 | Written decision to grant a patent or to grant a registration (utility model) |
Free format text: JAPANESE INTERMEDIATE CODE: A01 Effective date: 20050308 |
|
| A61 | First payment of annual fees (during grant procedure) |
Free format text: JAPANESE INTERMEDIATE CODE: A61 Effective date: 20050321 |
|
| R150 | Certificate of patent or registration of utility model |
Free format text: JAPANESE INTERMEDIATE CODE: R150 |
|
| FPAY | Renewal fee payment (event date is renewal date of database) |
Free format text: PAYMENT UNTIL: 20080408 Year of fee payment: 3 |
|
| FPAY | Renewal fee payment (event date is renewal date of database) |
Free format text: PAYMENT UNTIL: 20090408 Year of fee payment: 4 |
|
| FPAY | Renewal fee payment (event date is renewal date of database) |
Free format text: PAYMENT UNTIL: 20090408 Year of fee payment: 4 |
|
| FPAY | Renewal fee payment (event date is renewal date of database) |
Free format text: PAYMENT UNTIL: 20100408 Year of fee payment: 5 |
|
| FPAY | Renewal fee payment (event date is renewal date of database) |
Free format text: PAYMENT UNTIL: 20110408 Year of fee payment: 6 |
|
| FPAY | Renewal fee payment (event date is renewal date of database) |
Free format text: PAYMENT UNTIL: 20120408 Year of fee payment: 7 |
|
| FPAY | Renewal fee payment (event date is renewal date of database) |
Free format text: PAYMENT UNTIL: 20120408 Year of fee payment: 7 |
|
| FPAY | Renewal fee payment (event date is renewal date of database) |
Free format text: PAYMENT UNTIL: 20130408 Year of fee payment: 8 |
|
| FPAY | Renewal fee payment (event date is renewal date of database) |
Free format text: PAYMENT UNTIL: 20130408 Year of fee payment: 8 |
|
| FPAY | Renewal fee payment (event date is renewal date of database) |
Free format text: PAYMENT UNTIL: 20140408 Year of fee payment: 9 |
|
| LAPS | Cancellation because of no payment of annual fees |