JP3649830B2 - 空気調和装置 - Google Patents

空気調和装置 Download PDF

Info

Publication number
JP3649830B2
JP3649830B2 JP33598696A JP33598696A JP3649830B2 JP 3649830 B2 JP3649830 B2 JP 3649830B2 JP 33598696 A JP33598696 A JP 33598696A JP 33598696 A JP33598696 A JP 33598696A JP 3649830 B2 JP3649830 B2 JP 3649830B2
Authority
JP
Japan
Prior art keywords
indoor
refrigerant
air
heat exchanger
outdoor
Prior art date
Legal status (The legal status is an assumption and is not a legal conclusion. Google has not performed a legal analysis and makes no representation as to the accuracy of the status listed.)
Expired - Fee Related
Application number
JP33598696A
Other languages
English (en)
Other versions
JPH10176845A (ja
Inventor
真司 兼子
隆彦 宇口
健 金井
重男 机
信太郎 杉本
Current Assignee (The listed assignees may be inaccurate. Google has not performed a legal analysis and makes no representation or warranty as to the accuracy of the list.)
Sanyo Electric Co Ltd
Original Assignee
Sanyo Electric Co Ltd
Priority date (The priority date is an assumption and is not a legal conclusion. Google has not performed a legal analysis and makes no representation as to the accuracy of the date listed.)
Filing date
Publication date
Application filed by Sanyo Electric Co Ltd filed Critical Sanyo Electric Co Ltd
Priority to JP33598696A priority Critical patent/JP3649830B2/ja
Publication of JPH10176845A publication Critical patent/JPH10176845A/ja
Application granted granted Critical
Publication of JP3649830B2 publication Critical patent/JP3649830B2/ja
Anticipated expiration legal-status Critical
Expired - Fee Related legal-status Critical Current

Links

Images

Landscapes

  • Air Conditioning Control Device (AREA)

Description

【0001】
【発明の属する技術分野】
本発明は、2×4住宅等の寸法が規定された家屋等に設置されて好適な空気調和装置にかかり、特に屋内の天井裏に設置されて屋内空気を換気すると共に、換気のために排気する空気の熱回収機能を有する換気ユニットを備えた空気調和装置に関する。
【0002】
【従来の技術】
従来、ヒートポンプを利用して屋内を冷暖房する空気調和装置が提案されている。例えば、特公昭63−46335号公報においては、室内側熱交換器及び室内側ファンを具備した室内機、当該室内機と連通管により連通されて、圧縮機、室外機側熱交換器、室外側ファン、外気の取入れ口である外気吸入口及び、外気の吸気量を調整するダンパを具備した室外機等を有した空気調和装置が開示されている
【0003】
そして、ダンパの開閉度を調整することにより、外気吸引口を介して室外機に吸気される外気の吸気抵抗を調整して、当該室外機に吸引される外気量を調整している。この時、室外側ファンは、ダンパの開閉度と無関係に回転しているので、室外機に吸気される外気量が変動すると、当該変動量に対応する分だけ連通管を介して屋内の空気が室外機に吸気されるようになっている。
【0004】
【発明が解決しようとする課題】
しかしながら、室内空気の熱回収は、室外機に設けられているファンを回転させることにより連通管を負圧にし、これにより屋内空気の一部を室外熱交換器に導き、当該室外側熱交換器により換気のために排気する空気の熱回収を行う構成であるため、ファンにより室外熱交換器に供給される空気の大部分は屋外の外気となる。
【0005】
従って、屋外に排気される室内の空気、特に室外熱交換器へ導かれる室内の空気量が少ないので、回収される熱量を増やすことが困難であり、例え、冷凍サイクルがそれぞれ独立した空気調和装置を複数組、家屋に設置する場合でも、それぞれの冷凍サイクルの熱回収を効率良く行えるようにすることが好ましい
【0006】
また、2×4住宅等のような寸法が規定(例えば、ネダの間の寸法等)されている家屋に、上記構成の空気調和装置を設置しようとしても、保守点検を効率的に行うことができない問題があった。
【0007】
そこで本発明は、複数組の冷凍サイクルを備えた空気調和装置において、複数組の冷凍 サイクルの熱回収を、換気ユニットを用いて効率良く行えるようにしつつ、この換気ユニットを規格住宅等の天井裏に設置した場合でも、換気ユニットの保守点検が容易に行えるようにすることを目的としている
【0008】
【課題を解決するための手段】
上記課題を解決するために、請求項1に記載の本発明では、圧縮機、四方切換弁、室外熱交換器、減圧器及び室内熱交換器を有する独立した複数組の冷凍サイクルを備え、これら複数組の冷凍サイクルは、それぞれ前記四方切換弁の切換によって、冷房時には、冷媒を前記圧縮機、室外熱交換器、熱回収器、減圧器、室内熱交換器の順に循環させ、かつ、暖房時には、冷媒を前記圧縮機、室内熱交換器、減圧器、熱回収器、室外熱交換器の順に循環させて成る空気調和装置であって、筺体内に設けた換気用送風機により屋内空気を屋外へ排気して換気する換気ユットを備えると共に、この換気ユニットの筺体内に前記複数組の冷凍サイクルの各熱回収器をそれぞれ配置する構成とし、前記換気ユニットを家屋の天井裏に設置する際、この換気ユニットの筺体に相対向する天井の一部に保守点検用の開口部を設け、この開口部を、前記天井の一部を成す保守点検蓋によって開閉自在と成したことを特徴とする
【0009】
【0010】
【0011】
【発明の実施の形態】
本発明の実施の形態を、図を参照して説明する。図1は本発明にかかる空気調和装置の基本構成を示している。当該空気調和装置は、冷媒を圧縮する圧縮機1a、1b、外気と冷媒との熱交換を行う室外熱交換器2a、2b、それぞれの室外熱交換器2a、2bに外気を送風する室外送風機3a、3b、屋内の換気のために排気される空気と冷媒との熱交換を行って、当該空気の熱の再利用を行う熱回収器4a、4b、電動膨張弁やキャピラリーチューブ等を用いてなる減圧器5a、5b、空気調和する各部屋に送風する空気と冷媒との熱交換を行う室内熱交換器6a、6b、該室内熱交換器6a、6bに調和する空気を送風する室内送風機7a、7b、冷房時及び暖房時の冷媒の循環方向を切換える四方切換弁8a、8b、アキュムレータ9a、9bを有して、それぞれが独立した2つの冷凍サイクル(1階用と2階用)を構成している。
【0012】
四方切換弁8a、8bを切換えることにより、冷房時には冷媒を圧縮機1a、1b、室外熱交換器2a、2b、熱回収器4a、4b、減圧器5a、5b、室内熱交換器6a、6bの順に循環させてサイクルを形成し、暖房時には冷媒を圧縮機1a、1b、室内熱交換器6a、6b、減圧器5a、5b、熱回収器4a、4b、室外熱交換器2a、2bの順に循環させるサイクルを形成している。
【0013】
図1の配管路に沿って示した点線矢印及び実線矢印は、四方切換弁8a、8bに示した実線流路及び点線流路に対応しており、冷房時においては、実線矢印の方向に冷媒が循環し、一方、暖房時においては、点線矢印の方向に冷媒が循環する。
【0014】
また、室内熱交換器6a、6bを流れる冷媒の流量を調整する必要がある場合には、減圧器5a、5bに冷媒流量制御弁を付加して冷媒分流機能を持たせることも可能である。
【0015】
また、圧縮機1a、1bは、運転能力を連続的に可変できるもの、運転能力を段階的に複数段に変更できるもの、運転能力の変更ができないもののいずれでも本発明の趣旨を変えるものではないので任意に空気調和装置の設置に応じて選択することが可能である。
【0016】
さらに、当該冷凍サイクルにストレーナ、マフラー等を設けることも可能であり、その際の配置は一般に知られている配置を用いることができるので、図示省略する。
【0017】
また四方切換弁8a、8bは、同じ運転モード(冷房/暖房)に合わせるのが好ましいが、異なる運転モードを選択してもなんら問題はない。
【0018】
図2は、上記構成の空気調和装置を家屋内に配設して、冷暖房を行う空気調和のシステムを構成した際の概念図で、床側に配設された1階用の空気調和装置と天井側に配設された2階用の空気調和装置とからなり、これらの構成は後述する吸込みチャンバーの構成が相違している以外は同じである。
【0019】
空気調和装置は、室内機10a、10b、室外機20a、20b、換気ユニット30、吸込みチャンバー40a、40b、分岐チャンバー50a、50b、吹出しチャンバー60a、60b等により構成されている。
【0020】
床側の室内機10aは、階段下のような閉空間内に配設されて、当該閉空間が吸込みチャンバー40aとして作用している。
【0021】
これにより、吸込みチャンバー40aを別途設ける必要が無くなるので、製造コストを安価にすることが可能になる。
【0022】
なお、本実施の形態においては、吸込みチャンバー40a、40bに外気と室内空気とが冷房時及び暖房時を問わず一定比で流入する構成となっているが、当該比率を変える場合には、吸込みチャンバー40a、40b等にダンパ装置等を設ければよい。
【0023】
室内機10a、10bには、室内熱交換器6a、6b、減圧器5a、5b、室内送風機7a、7b等が配設され、また室外機20a、20bには、圧縮機1a、1b、室外熱交換器2a、2b、室外送風機3a、3b等が配設されている。
【0024】
上記換気ユニット30には、上記各冷凍サイクルの各熱回収器4a、4bと屋内の空気を吸気して屋外へ排気する換気用送風機31とが設けられており、図3に示すように、それらは換気ユニット30の筺体32内に配設されている。
【0025】
70は排気ダクトであり、当該排気ダクト70の排気トップ71と、外気取入口80a、80bには、図示しない防虫ネット等が被せてあり、室内に虫等が侵入しないようになっている。
【0026】
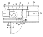
図3は換気ユニット30を2×4住宅等の寸法が規定されている住宅の天井裏に設置した際の概略構成図である。換気ユニット30は、筺体32を有し、当該筺体32は、吊りボルト33により2階の床35a等に吊下げられると共に、吸込みダクト34aと吐出ダクト34bがそれぞれ接続されている。
【0027】
換気ユニット30の筺体32の内部には、上記各熱回収器4a、4bと、換気用送風機31が配設されている。そして、図3に示すように、家屋の一階天井35bには、当該天井35bの一部となる保守点検蓋38が設けられると共に、上記筺体32に相対する部位の天井35bの一部に保守点検用の開口部39を設け、この開口部39を上記保守点検蓋38が開閉自在に閉塞する構成としている。
【0028】
また、保守点検蓋38と筺体32との間の空間において、熱回収器4a、4bの冷媒入出口36aに配管接続部36bを介して冷媒配管36cが接続されており、そして、熱回収器4a、4bに冷媒が循環する。
【0029】
さらに上記熱回収器4a、4bからの結露等による水を屋外に排出するためのドレン管37cが、ドレン接続部37bを介してドレン口37aに接続されている。
【0030】
そして、保守点検蓋38を閉じると、当該保守点検蓋38が一階天井35bの一部を成して、換気ユニット30が外部から見えなくなり、また、保守点検蓋38を開くと、上記開口部39が開放され、この開放された開口部39を介して筺体32の全体が保守点検可能になると共に、配管接続部36b及びドレン接続部37bが現れて保守点検することが可能になっている。
【0031】
このような構成にすると、2×4住宅等のようにネダの間等の寸法が決っている住宅の天井裏に換気ユニット30を設置した場合でも、その換気ユニットの保守点検が容易になり、そのためのスペースを別途確保する必要が無くなる。
【0032】
次に、空気調和動作を説明する。冷房時においては、四方切換弁8a、8bを切換えて冷媒を図1の実線矢印方向に循環させ、これにより、冷媒が、圧縮機1a、1b、室外熱交換器2a、2b、熱回収器4a、4b、減圧器5a、5b、室内熱交換器6a、6bを順次循環するサイクルが形成される
【0033】
この時、室外熱交換器2a、2b及び熱回収器4a、4bが凝縮器として作用し、室内熱交換器6a、6bが蒸発器として作用している。
【0034】
即ち、室外機20a、20bにおいて、冷媒は圧縮機1a、1bにより圧縮されて高温高圧のガス冷媒となり、室外熱交換器2a、2bで外気と熱交換し、大部分が液化した気液混合状態の冷媒となって換気装置30に送られる。
【0035】
このようにして室外熱交換器2a、2bから換気ユニット30に送られてきた冷媒は、熱回収器4a、4bにおいて、換気する室内空気と熱交換して冷されて室内機10a、10bに送られる。
【0036】
【0037】
また、室外機20a、20bからの冷媒は、当該換気のために排気される室内からの冷えた空気と熱交換して、残りのガス冷媒が液化する。これによりサイクルの熱効率が高くなっている。
【0038】
そして、冷媒は減圧器5a、5bに送られ、当該減圧器5a、5bで冷媒流量が絞られ、室内熱交換器6a、6bで減圧して蒸発し、各部屋に送風される空気と熱交換する。
【0039】
これにより、各部屋に送風される空気が冷風となり、この冷風は、分岐チャンバー50a、50bを経て各居室に送風される。その後、冷媒は室外機20a、20bに戻り、サイクルが1巡する。
【0040】
暖房時においては、四方切換弁8a、8bを切換えて、冷媒を図1に示す点線矢印の方向に循環させ、これにより、冷媒が、圧縮機1a、1b、室内熱交換器6a、6b、減圧器5a、5b、熱回収器4a、4b、室外熱交換器2a、2bを順次循環するサイクルが形成される。
【0041】
この時、室外熱交換器2a、2b及び熱回収器4a、4bが蒸発器として作用し、室内熱交換器6a、6bが凝縮器として作用する
【0042】
即ち、室外機20a、20bにおいて、冷媒は圧縮機1a、1bで圧縮されて高温高圧のガス冷媒になって室内機10a、10bの室内熱交換器6a、6bに送られる
【0043】
そして、高温高圧のガス冷媒は、当該室内熱交換器6a、6bで各部屋に送風する空気と熱交換し、この熱交換によって各部屋に送風する空気が暖められて温風となり、この温風は、分岐チャンバー50a、50bを経て各吹出しチャンバー60a、60bから各居室に送風されるようになる。
【0044】
一方、高温高圧のガス冷媒は室内熱交換器6a、6bでの熱交換によって熱を失って凝縮した後、減圧器5a、5bで絞られて換気ユニット30の熱回収器4a、4bに送られる。
【0045】
換気ユニット30内での熱回収器4a、4bにおいて、冷媒は、換気のために排気される室内空気と熱交換し、これにより、当該冷媒の一部が蒸発して室外機20a、20bに戻る。そして、室外機20a、20bに戻された冷媒は、室外熱交換器2a、2bで外気と熱交換することにより未蒸発の残りの冷媒が蒸発して、圧縮機1a、1bに戻りサイクルを1巡する。
【0046】
【発明の効果】
以上説明したように本発明は、圧縮機、四方切換弁、室外熱交換器、減圧器及び室内熱交換器を有する独立した複数組の冷凍サイクルを備え、これら複数組の冷凍サイクルは、それぞれ前記四方切換弁の切換によって、冷房時には、冷媒を前記圧縮機、室外熱交換器、熱回収器、減圧器、室内熱交換器の順に循環させ、かつ、暖房時には、冷媒を前記圧縮機、室内熱交換器、減圧器、熱回収器、室外熱交換器の順に循環させて成る空気調和装置であって、筺体内に設けた換気用送風機により屋内空気を屋外へ排気して換気する換気ユットを備えると共に、この換気ユニットの筺体内に前記複数組の冷凍サイクルの各熱回収器をそれぞれ配置する構成とし、前記換気ユニットを家屋の天井裏に設置する際、この換気ユニットの筺体に相対する天井の一部に保守点検用の開口部を設け、この開口部を、前記天井の一部を成す保守点検蓋によって開閉自在と成した構成であるから、複数組の冷凍サイクルを備えた空気調和装置において、複数組の冷凍サイクルの熱回収を、換気ユニットを用いて効率良く行えるようにできるばかりでなく、換気ユニットを規格住宅等の天井裏に設置した際に、その換気ユニットの保守点検が、天井の一部を成す保守点検蓋を開いて天井の開口部から容易に行えるものであり、しかも、保守点検蓋は天井の一部を成すから、保守点検用の開口部が天井に開けられても違和感を与えないようにすることができる。
【0047】
【図面の簡単な説明】
【図1】 本発明にかかる空気調和装置の基本構成を示す図である。
【図2】 図1の空気調和装置を用いた空気調和システムの概略構成図である。
【図3】 天井に保守点検蓋を有する換気ユニットの取付け状態状況を示す図である。
【符号の説明】
1a、1b 圧縮機
2a、2b 室外熱交換器
3a、3b 室外送風機
4a、4b 熱回収器
5a、5b 減圧器
6a、6b 室内熱交換器
7a、7b 室内送風機
8a、8b 四方切換弁
10a、10b 室内機
20a、20b 室外機
30 換気ユニット
31 換気用送風機
32 筺体
35b 一階天井
36b 配管接続部
37b ドレン接続部
38 保守点検蓋
39 開口部

Claims (1)

  1. 圧縮機、四方切換弁、室外熱交換器、減圧器及び室内熱交換器を有する独立した複数組の冷凍サイクルを備え、これら複数組の冷凍サイクルは、それぞれ前記四方切換弁の切換によって、冷房時には、冷媒を前記圧縮機、室外熱交換器、熱回収器、減圧器、室内熱交換器の順に循環させ、かつ、暖房時には、冷媒を前記圧縮機、室内熱交換器、減圧器、熱回収器、室外熱交換器の順に循環させて成る空気調和装置であって、
    筺体内に設けた換気用送風機により屋内空気を屋外へ排気して換気する換気ユットを備えると共に、この換気ユニットの筺体内に前記複数組の冷凍サイクルの各熱回収器をそれぞれ配置する構成とし、
    前記換気ユニットを家屋の天井裏に設置する際、この換気ユニットの筺体に相対向する天井の一部に保守点検用の開口部を設け、この開口部を、前記天井の一部を成す保守点検蓋によって開閉自在と成したことを特徴とする空気調和装置
JP33598696A 1996-12-16 1996-12-16 空気調和装置 Expired - Fee Related JP3649830B2 (ja)

Priority Applications (1)

Application Number Priority Date Filing Date Title
JP33598696A JP3649830B2 (ja) 1996-12-16 1996-12-16 空気調和装置

Applications Claiming Priority (1)

Application Number Priority Date Filing Date Title
JP33598696A JP3649830B2 (ja) 1996-12-16 1996-12-16 空気調和装置

Publications (2)

Publication Number Publication Date
JPH10176845A JPH10176845A (ja) 1998-06-30
JP3649830B2 true JP3649830B2 (ja) 2005-05-18

Family

ID=18294522

Family Applications (1)

Application Number Title Priority Date Filing Date
JP33598696A Expired - Fee Related JP3649830B2 (ja) 1996-12-16 1996-12-16 空気調和装置

Country Status (1)

Country Link
JP (1) JP3649830B2 (ja)

Also Published As

Publication number Publication date
JPH10176845A (ja) 1998-06-30

Similar Documents

Publication Publication Date Title
US11796193B2 (en) Air conditioner
KR101223199B1 (ko) 환기 및 냉난방 일체형 시스템
KR100430278B1 (ko) 히트파이프를 적용한 에너지 절약형 폐열회수 공기조화기
US6272880B1 (en) Air conditioner
JP3643660B2 (ja) 空気調和機
JP3649830B2 (ja) 空気調和装置
JP3855393B2 (ja) 空気調和装置
KR100539744B1 (ko) 빌딩용 냉난방 동시형 멀티 에어컨
JP3643664B2 (ja) 空気調和機
JP2005106384A (ja) 冷暖房換気システム
JP3519890B2 (ja) 空気調和機
JPS58127069A (ja) ヒ−トポンプ式冷暖房機
CN216844904U (zh) 热交换新风机
JPH10176843A (ja) 空気調和機
KR20070087724A (ko) 공기 조화기
CN217057730U (zh) 新风空调器
JP4632919B2 (ja) 室外機用排気フード
JPH1137513A (ja) 空気調和機
KR100309066B1 (ko) 공기조화기의실외기가필요없는냉.난방장치및그방법
KR100903487B1 (ko) 수냉식 공조 시스템 및 수냉식 공조 시스템의 실내기
JPH0794936B2 (ja) 空気調和装置
JPH1114178A (ja) 空気調和装置
JPH0960926A (ja) 空気調和機
KR100956501B1 (ko) 수냉식 공조 시스템의 실내기
JP2024067762A (ja) 熱交換形換気装置

Legal Events

Date Code Title Description
A977 Report on retrieval

Free format text: JAPANESE INTERMEDIATE CODE: A971007

Effective date: 20041012

A131 Notification of reasons for refusal

Free format text: JAPANESE INTERMEDIATE CODE: A131

Effective date: 20041019

A521 Written amendment

Free format text: JAPANESE INTERMEDIATE CODE: A523

Effective date: 20041217

TRDD Decision of grant or rejection written
A01 Written decision to grant a patent or to grant a registration (utility model)

Free format text: JAPANESE INTERMEDIATE CODE: A01

Effective date: 20050201

A61 First payment of annual fees (during grant procedure)

Free format text: JAPANESE INTERMEDIATE CODE: A61

Effective date: 20050216

FPAY Renewal fee payment (event date is renewal date of database)

Free format text: PAYMENT UNTIL: 20090225

Year of fee payment: 4

FPAY Renewal fee payment (event date is renewal date of database)

Free format text: PAYMENT UNTIL: 20090225

Year of fee payment: 4

FPAY Renewal fee payment (event date is renewal date of database)

Free format text: PAYMENT UNTIL: 20100225

Year of fee payment: 5

LAPS Cancellation because of no payment of annual fees