JP3611692B2 - リニアモータ走行軸の機械ブレーキ機構 - Google Patents

リニアモータ走行軸の機械ブレーキ機構 Download PDF

Info

Publication number
JP3611692B2
JP3611692B2 JP28128996A JP28128996A JP3611692B2 JP 3611692 B2 JP3611692 B2 JP 3611692B2 JP 28128996 A JP28128996 A JP 28128996A JP 28128996 A JP28128996 A JP 28128996A JP 3611692 B2 JP3611692 B2 JP 3611692B2
Authority
JP
Japan
Prior art keywords
linear motor
suction
fixed magnet
suction member
mechanical brake
Prior art date
Legal status (The legal status is an assumption and is not a legal conclusion. Google has not performed a legal analysis and makes no representation as to the accuracy of the status listed.)
Expired - Fee Related
Application number
JP28128996A
Other languages
English (en)
Other versions
JPH10112971A (ja
Inventor
亮 二瓶
聡 木下
純 井林
Current Assignee (The listed assignees may be inaccurate. Google has not performed a legal analysis and makes no representation or warranty as to the accuracy of the list.)
Fanuc Corp
Original Assignee
Fanuc Corp
Priority date (The priority date is an assumption and is not a legal conclusion. Google has not performed a legal analysis and makes no representation as to the accuracy of the date listed.)
Filing date
Publication date
Application filed by Fanuc Corp filed Critical Fanuc Corp
Priority to JP28128996A priority Critical patent/JP3611692B2/ja
Publication of JPH10112971A publication Critical patent/JPH10112971A/ja
Application granted granted Critical
Publication of JP3611692B2 publication Critical patent/JP3611692B2/ja
Anticipated expiration legal-status Critical
Expired - Fee Related legal-status Critical Current

Links

Images

Landscapes

  • Linear Motors (AREA)

Description

【0001】
【発明の属する技術分野】
本発明はリニアモータ走行軸の機械ブレーキ機構に関し、更に詳しく言えば、リニアモータに装備されているマグネットの吸引力を利用したリニアモータ走行軸の機械ブレーキ機構に関する。本発明は、例えば工作機械や産業機械の移動機構に適用して有利なものである。
【0002】
【従来技術】
周知のように、リニアモータには、固定マグネットあるいはコイルを備えた固定スライダを配設した軌道に沿って可動スライダを移動させるような推進力が直接的に得られるという特徴がある。そのため、リニアモータが開発されて以来、工作機械など一般機械の駆動源として広範に採用されることが期待されてきた。ところが、一般機械へのリニアモータの採用は期待されていた程には進んでいない。
【0003】
その一因として、リニアモータで駆動される走行軸について機械ブレーキの導入が遅れているということがあげられる。言うまでもなく、リニアモータは機械ブレーキを用いなくとも電気的に急減速・急停止を行なうことが出来るが、それはリニアモータがコントローラの制御下にある場合に限られる。即ち、リニアモータの動作中に停電・断線等の事故が生じ、リニアモータを制御する信号が途絶えた時には、コントローラによる操作が不能になって可動スライダが惰走を続ける事態に至る可能性が高い。
【0004】
従って、電気的ブレーキ以外に減速・停止手段を持たないリニアモータ走行軸を一般機械に採用した場合、「電源を落とせば止まる」という一般機械にとって基本的に備わっているべき機能が欠如することになり、作業者や周辺機器に対する安全の確保が難かしくなる。この問題の最も一般的な解決手段として、リニアモータ走行軸にエアシリンダで駆動されるブレーキ摩擦部材を設け、これを周辺に配備された外部摩擦係合部材に押し付けることで制動を行なうことが考えれる。
【0005】
しかし、エアシリンダは大きな制動力が容易に得られるという利点が存在する反面、エア移動に要する時間を考慮すると応答性に難がある。また、電気とともにエアが遮断された場合であっても、非常ブレーキだけは必ず作動しなければ信頼性のある安全機構と言えない。これらの理由から、エアシリンダを非常時に作動するブレーキのアクチュアータに採用することには問題がある。
【0006】
その他、電磁石とバネを利用した電磁ブレーキ機構を設ける方法や、油圧機構を用いる方法もあるが、ブレーキ作動時に大きな面圧を保持するとなると走行装置全体の大型化が避けられず、実用化が困難であった。
【0007】
【発明が解決しようとする課題】
本発明の目的は、走行装置全体の大型化を伴うことなく、簡便な構造で応答性良く十分な制動力を得ることが可能なリニアモータ走行軸の機械ブレーキ機構を提供することにある。
【0008】
【課題を解決するための手段】
本発明に従ってリニアモータ走行軸に装備される機械ブレーキ機構は、磁場感応吸引性を有する吸引部材と、リニアモータ走行軸の走行スライダに吸引部材を、リニアモータ走行軸に沿って配設された固定マグネットに対して離接可能に支持する吸引部材支持手段と、吸引部材を固定マグネットに対して離隔した位置に解除可能に保持する吸引部材離隔保持手段と、吸引部材上に設けられた摩擦部材と、リニアモータ走行軸に沿って配設され、摩擦部材と摩擦係合可能な外部摩擦係合部材と、吸引部材を前記固定マグネットから離隔する方向に駆動するための外部アクチュエータ手段を備えている。
【0009】
そして、リニアモータ走行軸の電源遮断時あるいは緊急停止必要時には、吸引部材離隔保持手段の吸引部材離隔保持機能が解除され、吸引部材が固定マグネットに対して近接する位置まで自発的に移動し、吸引部材と前記固定マグネットの間に作用する磁気吸引力によって摩擦部材が前記外部摩擦係合部材に対して押し付けられるようになっている。
【0010】
典型的な実施形態においては、吸引部材支持手段に伸張性の弾性部材が用いられ、吸引部材離隔保持手段には、給電時に吸引部材を固定マグネットに対して離隔した位置に保持し、非給電時に吸引部材離隔保持機能が解除される電磁石手段が用いられる。
【0011】
また、外部アクチュエータ手段はエアシリンダ機構を備えていることが好ましい。そして、吸引部材と固定マグネットの間には、吸引部材と固定マグネットの直接接触を防止するシート部材が介在していることが好ましい。
【0012】
本発明の機械ブレーキ機構は、本来リニアモータの駆動に必要な固定マグネットを制動力を生み出すソースとして兼用するので、これまでのように大きな制動力を得るための外部アクチュエータを設ける必要がない。また、電源遮断時には吸引部材離隔保持手段の吸引部材離隔保持機能が解除され、確実にブレーキを有効化される。
【0013】
【発明の実施の形態】
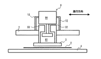
以下、図1〜図4を参照して本発明の一実施形態について説明する。なお、各要素に付されている符号は、図1〜図4を通して共通である。先ず図1及び図2は、本実施形態に係る機械ブレーキ機構を装備したリニアモータ走行軸の走行中の状態を描いた図であり、図1には本体部の概略構造が走行方向に沿った断面図で示され、図2には同じく本体部の概略構造が走行方向に垂直な方向に沿った断面図で示されている。
【0014】
図1あるいは図2において、符号1で指示された走行スライダ(可動スライダ)はリニアガイド7を両側部に備えており、リニアガイド7は設置面上に敷設された2本のガイドレール10の各々に滑働自在に係合している。両ガイドレール10間には、極性を交互にとった多数の永久磁石セグメントで構成される固定マグネット4が配設されている。
【0015】
走行スライダ1の内部には、励磁時に固定マグネット4との相互作用によって走行軸方向(図2では紙面垂直方向)のリニアモータ推力を発生するようにコイル(図示省略)が設けられている。励磁電流は、電源部からコントローラを介して周知の態様で供給される。
【0016】
このような基本構成を持つリニアモータ走行軸に機械ブレーキ機構を装備させるために、走行スライダ1には伸張性のコイルバネ8を介して吸引板3が可動に結合されている。吸引板3はその少なくとも一部は例えば鉄のような磁場感応吸引性(磁場に感応して吸引される性質)を有する材料で構成され、両側部に摩擦部材5が設けられている。そして、走行スライダ1の走行時に摩擦部材5に対向する設置面上の帯状領域には、ブレーキ有効時に摩擦部材5が押し付けられる外部摩擦係合部材11が敷設されている。また、吸引板3と固定マグネット4の一方または双方には、それらを直接接触による損傷から防護するためのシート部材2が設けられている。
【0017】
更に、走行スライダ1は、コイルバネ8に並ぶ位置に吸引板保持用電磁石6を備えている。この吸引板保持用電磁石6は、機械ブレーキ有効時を除き、電源部からコントローラを介して励磁電流の供給を受け、コイルバネ8の伸張力とブレーキユニット全体の重量に打ち勝って吸引板3を引き寄せる力を発生し、吸引板3を固定マグネット4から離隔した位置で吸着保持する。
【0018】
これに応じて摩擦部材5と外部摩擦係合部材11は離隔した状態を維持する。また、吸引板3がこの離隔位置で固定マグネット4から受ける吸引力は非常に弱く、実質的に走行スライダを制動する用は生じない。このようにして、リニアモータ走行時あるいは吸引板保持用電磁石6への給電が維持される通常の停止時には、機械ブレーキは非有効の状態に保たれ、摩擦部材5と外部摩擦係合部材11は離隔した状態を維持する。
【0019】
本実施形態における機械ブレーキ機構は、一旦有効化されたブレーキを解除するためのブレーキ解除手段としてエアシリンダ機構9を備えている。エアシリンダ機構9の要部は、本体部90、ピストン91、並びに空洞92とそれを狭くした肩部94を有するシリンダ部材93で構成されている。本体部90は支持部材12を介して走行スライダ1側にに固定される一方、シリンダ部材93は吸引板3に固定されるとともに、適当な軸受け(図示省略)を介して走行スライダ1に挿嵌されている。本体部90には、圧搾エアで駆動される周知のピストン伸縮機構が内蔵されている。
【0020】
本体部90のピストン伸縮機構がコントローラからのエア供給信号で作動すると、ピストン91が空洞92内を図中上方に滑動する。ピストン91がシリンダ部材93の肩部94に当接して更に滑動を続けると、シリンダ部材93に結合された吸引板3が図中上方へ駆動される(固定マグネット4からの引き離し)。
【0021】
次に、図3及び図4を参照図に加えて本実施形態における機械ブレーキ機構の有効化並びに非有効化(解除)時の動作について説明する。図3は、図1、図2を参照して説明したリニアモータ走行軸の機械ブレーキを有効化した状態を図2と同様の断面図で示したものである。また、図4は図3に示したブレーキ有効状態を解除した状態を図2、図3と同様の断面図で示したものである。なお、図3、図4では、コントローラ/電源との接続関係の記載を省略した。
【0022】
今、図1、図2に示した走行中の状態において、コントローラの故障、断線、停電等の事故、あるいは緊急停止ボタンの押下などによってすべての電源が断たれた場合を考えると、これに応答して次の事象が迅速且つ自発的に生じ、リニアモータ(リニアスライダ1)は直ちに停止に至る。
【0023】
先ず、リニアスライダ1内のコイルへの給電停止に伴いリニア推力が失われ、リニアスライダ1は惰走状態(正確に言えば、若干の制動状態)に入る。これと同時に吸引板保持用電磁石6への給電が断たれるために、吸引板3の吸着機能が失われ、コイルバネ8の伸張力と重力作用によって、吸引板3、摩擦部材5を含むブレーキユット全体が設置面に向けて移動を開始する。
【0024】
吸引板3が固定マグネット4に接近するに従い、磁場感応吸引性を有する吸引板3は固定マグネット4に強く吸引されるようになり、両者の接近運動は加速する。やがて、図3に示されているように、両側部に設けられている摩擦部材5が外部摩擦係合部材11に当接し、次いで強く押し付けられる。これによって、摩擦部材5と外部摩擦係合部材11の間の摩擦に基づく強力な制動作用が発揮され、走行スライダ1は急減速し、短時間の内に停止に至る。
【0025】
走行スライダ1が停止に至った以後も、吸引板3と固定マグネット4の吸引力は維持され、摩擦部材5と外部摩擦係合部材11の間の押し付け状態が保たれるから、ブレーキ有効の状態が自然に維持される。即ち、外部アクチュエータの動作に全く頼ることなく、機械ブレーキが有効化され、且つ、安定的に維持される。
【0026】
図3に示したブレーキ有効状態を解除するには、外部アクチュエータとしてエアシリンダ部材機構が援用される。即ち、ブレーキ解除時には吸引板保持用電磁石6への給電を再開するとともに、エアシリンダ機構9を動作させ、ピストン91を図中上方に駆動する。ピストン91がシリンダ部材93の肩部94に当接して以後は、シリンダ部材93に結合された吸引板3が図中上方へ強く引き上げる力を受け、固定マグネット4からの吸引力に打ち勝って固定マグネット4から引き離され、これと同時に摩擦部材5が外部摩擦係合部材11から離脱し、摩擦係合が解除される。
【0027】
吸引板3が固定マグネット4から十分遠ざかり、吸引板保持用電磁石6の吸引力のみでブレーキユニットを保持出来るようになったならば、エアシリンダ機構9によるピストン91の駆動は停止され、走行スライダ1内のコイルに給電すれえば直ちに走行スライダ1の走行が可能な状態に復帰する。
【0028】
最後に、本実施形態において外部アクチュエータとして使用されているエアシリンダに関連して若干の補足説明をしておく。各図に示されているエアシリンダ機構本体部90はそれ自体完結した駆動機構であり、その他の関連要素91〜94についてエアの出入りはない。ピストン91はエアシリンダ機構本体部90のロッドに直結されており、エアシリンダ機構本体部90内部(シリンダ要素の空洞部)へのエアの出入りによってピストン91が駆動される。
【0029】
また、スライダ走行時(図2参照)には、ピストン91と肩部94の間に空洞92があり、ブレーキ作動時(図3参照)には、吸引板3及び摩擦部材5を含むブレーキユニット全体が設置面に向けて移動した分だけ、ピストン91と吸引板3の間に空洞92が生じると考えることが出来る。
【0030】
スライダ走行時にはピストン91は伸張状態(垂下した状態)としておき、ブレーキが作動してユニット全体が移動する際にピストン91と肩部94が接触しないようにする。そして、上述したように、ブレーキ解除時にはエアシリンダ(本体部90)を動作させて、ピストン91を肩部94に係合させてブレーキユニット全体を引き上げる。
【0031】
電磁石6に通電し、ブレーキユニット全体が保持された後、再度エアシリンダ(本体部90)を動作させてピストン91を伸張させれば、ピストン91が肩部94から離れ、通常動作(走行)の再開可能な状態となる。
【0032】
以上、本発明の一実施形態について説明したが、本発明の眼目はあくまで制動力のソースを吸引部材(上記実施形態では吸引板3)と固定マグネットの間に作用する磁気吸引力に求める点にあり、上記実施形態は本発明を限定するものではない。従って、十分な磁気吸引力が吸引部材(吸引板3)と固定マグネットの間に作用する条件が満たされるのであれば、コイルバネ8は必ずしも伸張性のものである必要はなく、場合によっては吸引部材を固定マグネットに対して離接可能に支持する手段(例えば吸引部材のガイド機構)が採用されても良い。
【0033】
ブレーキ解除のための外部アクチュエータについては、上記実施形態のようにエアシリンダ機構を用いることが好ましいが、他の型のアクチュエータ(例えば吸引部材を駆動する電磁プランジャ)を用いることも可能である。
【0034】
【発明の効果】
本発明によれば、本来リニアモータの駆動に必要な固定マグネットを制動力を生み出すソースに兼用されるので、応答性良く大きな制動力が得られるコンパクトな機械ブレーキ機構を提供することが出来る。また、本発明の機械ブレーキ機構は、電源遮断時に自動的にブレーキを有効化することが出来るので、リニアモータ走行軸を用いた装置の安全性を高めることが出来る。
【図面の簡単な説明】
【図1】本発明の実施形態に係る機械ブレーキ機構を装備したリニアモータ走行軸について、走行時の状態を走行方向に沿った断面図で示した図である。
【図2】本発明の実施形態に係る機械ブレーキ機構を装備したリニアモータ走行軸について、走行時の状態を走行方向に垂直な方向に沿った断面図で示した図である。
【図3】本発明の実施形態に係る機械ブレーキ機構を装備したリニアモータ走行軸について、ブレーキ有効時の状態を走行方向に垂直な方向に沿った断面図で示した図である。
【図4】本発明の実施形態に係る機械ブレーキ機構を装備したリニアモータ走行軸について、ブレーキ解除時の状態を走行方向に垂直な方向に沿った断面図で示した図である。
【符号の説明】
1 走行スライダ
2 シート部材
3 吸引板
4 固定マグネット
5 摩擦部材
6 吸引板保持用電磁石
7 リニアガイド
8 コイルバネ
9 エアシリンダ機構
10 ガイドレール
11 外部摩擦係合部材
12 支持部材
90 エアシリンダ機構本体部
91 ピストン
92 空洞
94 肩部
93 シリンダ部材

Claims (5)

  1. リニアモータ走行軸の機械ブレーキ機構であって、
    磁場感応吸引性を有する吸引部材と、
    前記リニアモータ走行軸の走行スライダに前記吸引部材を、前記リニアモータ走行軸に沿って配設された固定マグネットに対して離接可能に支持する吸引部材支持手段と、
    前記吸引部材を前記固定マグネットに対して離隔した位置に解除可能に保持する吸引部材離隔保持手段と、
    前記吸引部材上に設けられた摩擦部材と、
    前記リニアモータ走行軸に沿って配設され、前記摩擦部材と摩擦係合可能な外部摩擦係合部材と、
    前記吸引部材を前記固定マグネットから離隔する方向に駆動するための外部アクチュエータ手段を備え、
    前記リニアモータ走行軸の電源遮断時もしくは緊急停止必要時には、前記吸引部材離隔保持手段の吸引部材離隔保持機能が解除され、前記吸引部材が前記固定マグネットに対して近接する位置まで自発的に移動し、前記吸引部材と前記固定マグネットの間に作用する磁気吸引力によって前記摩擦部材が前記外部摩擦係合部材に対して押し付けられるようになっている、前記リニアモータ走行軸の機械ブレーキ機構。
  2. 前記吸引部材支持手段が、伸張性の弾性部材である、請求項1に記載されたリニアモータ走行軸の機械ブレーキ機構。
  3. 前記吸引部材離隔保持手段が、給電時に前記吸引部材を前記固定マグネットに対して離隔した位置に保持し、非給電時に吸引部材離隔保持機能が解除される電磁石手段である、請求項1または請求項2に記載されたリニアモータ走行軸の機械ブレーキ機構。
  4. 前記外部アクチュエータ手段がエアシリンダ機構を備えている、請求項1〜請求項3のいずれか1項に記載されたリニアモータ走行軸の機械ブレーキ機構。
  5. 前記吸引部材と前記固定マグネットの間に、前記吸引部材と前記固定マグネットの直接接触を防止するシート部材が介在している、請求項1〜請求項4のいずれか1項に記載されたリニアモータ走行軸の機械ブレーキ機構。
JP28128996A 1996-10-03 1996-10-03 リニアモータ走行軸の機械ブレーキ機構 Expired - Fee Related JP3611692B2 (ja)

Priority Applications (1)

Application Number Priority Date Filing Date Title
JP28128996A JP3611692B2 (ja) 1996-10-03 1996-10-03 リニアモータ走行軸の機械ブレーキ機構

Applications Claiming Priority (1)

Application Number Priority Date Filing Date Title
JP28128996A JP3611692B2 (ja) 1996-10-03 1996-10-03 リニアモータ走行軸の機械ブレーキ機構

Publications (2)

Publication Number Publication Date
JPH10112971A JPH10112971A (ja) 1998-04-28
JP3611692B2 true JP3611692B2 (ja) 2005-01-19

Family

ID=17637000

Family Applications (1)

Application Number Title Priority Date Filing Date
JP28128996A Expired - Fee Related JP3611692B2 (ja) 1996-10-03 1996-10-03 リニアモータ走行軸の機械ブレーキ機構

Country Status (1)

Country Link
JP (1) JP3611692B2 (ja)

Families Citing this family (5)

* Cited by examiner, † Cited by third party
Publication number Priority date Publication date Assignee Title
JP2001136726A (ja) 1999-11-10 2001-05-18 Brother Ind Ltd リニアモータ駆動の移動装置におけるブレーキ装置
DE10252915B3 (de) * 2002-11-12 2004-04-08 Zimmer GmbH, Technische Werkstätten Reibgehemme mit Notbremsfunktion
US7568969B2 (en) 2003-10-22 2009-08-04 Nippei Toyama Corporation Locking mechanism of linear motor travel slider and processing machine
CN107842567A (zh) * 2017-09-18 2018-03-27 河南理工大学 直线电机制动装置
KR101998604B1 (ko) * 2018-12-31 2019-07-10 주식회사 인텍오토메이션 리니어 모터 시스템

Also Published As

Publication number Publication date
JPH10112971A (ja) 1998-04-28

Similar Documents

Publication Publication Date Title
EP1140687B1 (en) Ropeless governor mechanism for an elevator car
US20180327224A1 (en) Electronic safety actuator
WO2020110437A1 (ja) 非常止め装置及びエレベーター
KR20210070217A (ko) 안전 기능
JP3611692B2 (ja) リニアモータ走行軸の機械ブレーキ機構
JPWO2008146383A1 (ja) エレベータ用巻上機のブレーキ装置
US12330917B2 (en) Safety brake system
JP2005053699A (ja) エスカレータのステップ又は動く歩道のプレート用の駆動装置
JP7558754B2 (ja) 非常止め装置及びエレベーター
EP3527524B1 (en) Elevator safety actuator
JP7522325B2 (ja) エレベータ装置
EP0763668A1 (en) Brake mechanism for a machine tool using a linear motor
CN108698791B (zh) 电梯制动装置
EP3868696A1 (en) Elevator brake assembly with electromagnet and permanent magnet that engage one another
US11939189B2 (en) Frictionless electronic safety actuator
JPH03197271A (ja) 車両用制動装置
CN116331991A (zh) 一种失电盘式双制动的制动器
JPH08251904A (ja) リニアモータ用ブレーキ
EP3733584A1 (en) Combined safety brake and safety actuation mechanism
JP2005051974A (ja) リニアモータ可動体の制動装置
JP7562006B2 (ja) エレベータ装置
JPH05336796A (ja) 移動装置
WO1997001215A1 (en) Method and device for braking linear motors
CN119218852A (zh) 磁悬浮扶梯的运行方法
JPH1019066A (ja) リニアモータ用非常停止ブレーキ

Legal Events

Date Code Title Description
A131 Notification of reasons for refusal

Free format text: JAPANESE INTERMEDIATE CODE: A131

Effective date: 20040210

TRDD Decision of grant or rejection written
A01 Written decision to grant a patent or to grant a registration (utility model)

Free format text: JAPANESE INTERMEDIATE CODE: A01

Effective date: 20041012

A61 First payment of annual fees (during grant procedure)

Free format text: JAPANESE INTERMEDIATE CODE: A61

Effective date: 20041020

R150 Certificate of patent or registration of utility model

Free format text: JAPANESE INTERMEDIATE CODE: R150

FPAY Renewal fee payment (event date is renewal date of database)

Free format text: PAYMENT UNTIL: 20081029

Year of fee payment: 4

FPAY Renewal fee payment (event date is renewal date of database)

Free format text: PAYMENT UNTIL: 20081029

Year of fee payment: 4

FPAY Renewal fee payment (event date is renewal date of database)

Free format text: PAYMENT UNTIL: 20091029

Year of fee payment: 5

LAPS Cancellation because of no payment of annual fees