JP3608964B2 - 磁気ディスク装置 - Google Patents

磁気ディスク装置 Download PDF

Info

Publication number
JP3608964B2
JP3608964B2 JP33880898A JP33880898A JP3608964B2 JP 3608964 B2 JP3608964 B2 JP 3608964B2 JP 33880898 A JP33880898 A JP 33880898A JP 33880898 A JP33880898 A JP 33880898A JP 3608964 B2 JP3608964 B2 JP 3608964B2
Authority
JP
Japan
Prior art keywords
actuator
head
hole
suspension
supporting
Prior art date
Legal status (The legal status is an assumption and is not a legal conclusion. Google has not performed a legal analysis and makes no representation as to the accuracy of the status listed.)
Expired - Fee Related
Application number
JP33880898A
Other languages
English (en)
Other versions
JP2000163892A (ja
Inventor
入三 難波
和恭 佐藤
高司 山口
憲一 飯村
利彦 清水
滋男 中村
幸守 馬越
Original Assignee
株式会社日立グローバルストレージテクノロジーズ
Priority date (The priority date is an assumption and is not a legal conclusion. Google has not performed a legal analysis and makes no representation as to the accuracy of the date listed.)
Filing date
Publication date
Application filed by 株式会社日立グローバルストレージテクノロジーズ filed Critical 株式会社日立グローバルストレージテクノロジーズ
Priority to JP33880898A priority Critical patent/JP3608964B2/ja
Publication of JP2000163892A publication Critical patent/JP2000163892A/ja
Application granted granted Critical
Publication of JP3608964B2 publication Critical patent/JP3608964B2/ja
Anticipated expiration legal-status Critical
Expired - Fee Related legal-status Critical Current

Links

Images

Landscapes

  • Moving Of Heads (AREA)
  • Moving Of The Head To Find And Align With The Track (AREA)

Description

【0001】
【発明の属する技術分野】
本発明は、磁気ディスク装置等の回転型情報記憶装置に係り、特にヘッドの2段位置決め機構を有する磁気ディスク装置に関する。
【0002】
【従来の技術】
従来、2段位置決め機構及び圧電アクチュエータの構造に関して、特開平9−73746号公報、及び特開平10−136665号公報がある。
【0003】
特開平9−73746号公報に記載の2段位置決め機構に用いられている微動圧電アクチュエータは、ロードビームの一方の面上にその長手方向に、互いにほぼ平行に設けられる第1及び第2の圧電薄膜、並びに前記ロードビームの他方の面上にその長手方向に互いにほぼ平行で、前記第1及び第2の圧電薄膜にそれぞれ対向するように設けられる第3及び第4の圧電薄膜と、前記第1から第4の圧電薄膜へ、その厚み方向にそれぞれ電圧を印加するための第1から第4の電極対とを備えた構造になっている。前記第1及び第3の圧電薄膜と前記第2及び第4の圧電薄膜とがそれぞれ同位相で伸縮し、且つ前記第1及び第2の圧電薄膜と前記第3及び第4の圧電薄膜とがそれぞれ逆位相で伸縮するように前記第1から第4の電極対に電圧信号を与えることによって、高精度な微小変位が可能となる。
【0004】
特開平10−136665号公報に記載の微動圧電アクチュエータは、圧電材で構成される板状体の対向する側面に一対の切り欠きを設け、且つ両切り欠き間にスリット状孔部を設けることにより、固定部、可動部、及びこれらを接続する2本の棒状の梁部が形成された構造になっている。前記梁部の表側と裏側には、板状体の面内と平行となるように同様な電極層が存在する。前記梁部が伸縮するように前記電極に電圧信号を与えることによって、高精度な微小変位が可能となる。
【0005】
【発明が解決しようとする課題】
特開平9−73746号公報に記載の2段位置決め機構に用いられている微動圧電アクチュエータは、自己変形しない板状のロードビーム上に圧電薄膜が接合されている。このため、圧電薄膜と一緒にロードビームを伸縮させることになり、圧電薄膜は大きな力を発生させる必要がある。そのため、ヘッドをロードビームの面内方向に0.3μm変位を得るのに、50Vもの高電圧を印加する必要がある。また、自己変形しない薄い板状のロードビームの面上に変形する圧電薄膜が接合されているため、圧電薄膜が伸縮した場合、座屈によりたわみ(以下クロスアクション)及びねじれ(以下スキュー)が生じる恐れがある。このクロスアクション及びスキューは、位置決め精度に悪影響を及ぼす。
【0006】
また、特開平10−136665号公報に記載の微動圧電アクチュエータは、固定部と可動部が2本の梁部で接続された構造になっているので、面内方向に対して垂直な方向の剛性が弱く、また実際には、固定部を固定する方法によっては、大きなクロスアクション及びスキューを発生させる可能性がある。例えば、固定部の上面及び下面だけを拘束して固定した場合、クロスアクション及びスキューは大きくなる。
【0007】
本発明の目的は、高精度な位置決めに悪影響を及ぼすクロスアクション及びスキューを低減させたPUSH−PULL方式の圧電アクチュエータを備えた磁気ディスク装置を提供することにある。
【0008】
【課題を解決するための手段】
上記目的を達成するために、本発明は、圧電材料で構成される薄い四角形の板状体の圧電アクチュエータの対向する側端部に切り欠きを設け、かつ可動部と固定部の間に、その長手方向に平行な2つの変位発生部を有し、前記可動部の2つの変位発生部の間を通る長さ方向に平行な中心軸上と、固定部かつ変位発生部近傍に各々独立した孔を設けて、可動部と固定部の応力集中を緩和する。
【0009】
【発明の実施の形態】
以下、本発明の実施例を図面を用いて説明する。
【0010】
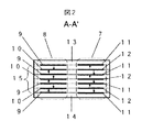
図1は、本発明の第1の実施例の圧電アクチュエータ1を表したものであり、図2は図1のAA‘断面の図である。
【0011】
圧電アクチュエータ1は、大きく分けて可動部2、変位発生部7、8、固定部4から成っている。固定部4とは、固定部材に接合され運動が拘束される部分であり、可動部2とは、変位発生部7、8が変形することにより伸縮する部分である。
【0012】
図1中のLは本圧電アクチュエータ1全体の長さ、Wは幅、Tは全体の厚さであり、L1、L2、L3はそれぞれ可動部2、変位発生部7、8、固定部4の長さであり、W1は切り欠き量、W2は変位発生部7、8の幅である。
【0013】
ここでは、L=6.34mm、W=5.38mm、T=0.18mm、L1=2.1mm、L2=3mm、L3=1.24mm、W2=1.39mmとした。切り欠き量W1は0.4mm間隔で、0mmから1.2mmまでのものを用いた。また、切り欠き部分の長さは、変位発生部7、8の長さと同じにした。
【0014】
本実施例の圧電アクチュエータ1は図2に示すように、薄い圧電材を積層した構造になっている。各層間には電極9、10及び電極11、12が存在する。各圧電材の上下両面から電極で挟まれた部分と、その電極で構成される部分が変位発生部7、8である。
【0015】
通常、最上層13と最下層14には電極で挟まれた部分は存在しないが、最上層と最下層にも電極で挟まれた部分を設け、その外側を樹脂でコーティングすることも可能である。本実施例では積層構造になっているが、単層でも構わない。また、積層構造の場合、数層を変位センサとして利用することも可能である。
【0016】
変位発生部において、圧電材の上下両面から電極で挟まれた部分には、その板厚方向に分極処理が施されている。図2中の矢印は分極の向きを表している。
【0017】
例えば、電極9にはマイナスの電圧を印加するか接地を行い、電極10にプラスの電圧を印加し、同様に、電極12にマイナスの電圧を印加するか接地を行い、電極11にプラスの電圧を印加した場合、分極の向きは、図2に示すようになる。電極9と電極12は、一つにまとめて外部端子に接続することも可能である。同様に、電極10と電極11も一つにまとめて外部端子に接続することが可能である。
【0018】
分極処理を施した後、電極に電圧を印加したときの電界の向きが分極の向きと一致する場合は、変位発生部はその板厚方向に伸び、その面内方向には縮む。逆に、電極に電圧を印加したときの電界の向きと分極の向きが逆の場合は、変位発生部はその板厚方向に縮み、その面内方向には伸びる。
【0019】
図1の変位発生部に示されている太い矢印が、その面内方向の伸縮を表している。
【0020】
本圧電アクチュエータ1は、この変位発生部の面内方向の伸縮を利用して、可動部2を面内方向に運動させる構造になっている。すなわち、変位発生部7が面内方向に伸び、変位発生部8が面内方向に縮んだ場合、可動部2はaの方向に動く。その逆の場合は、bの方向に動く。
【0021】
本実施例では、変位発生部7と変位発生部8において各層での分極の向きを逆にしているが、分極の向きが同じ場合でも、加える電界の向きを変えれば同じ効果を得ることができる。
【0022】
また、変位発生部7と変位発生部8の両方に、分極と同じ向きの電界が加わるようにバイアス電圧を印加し、その時の変位を中心にして、変位発生部7と変位発生部8に交互に伸縮が生じるような電圧を印加させて駆動させることも可能である。
【0023】
図5は圧電アクチュエータの変位の状態を表したものであり、θは面内方向の変位、αはスキュー量を、そしてβはクロスアクションの量である。
【0024】
本圧電アクチュエータ1には、スキュー及びクロスアクションの原因となるせん断応力集中の影響を緩和するために、可動部2と固定部4に孔3、5、6を施している。図1に示すように、圧電アクチュエータ1の可動部2に存在する孔3は、長さ方向に平行で、2つの変位発生部7、8の間を通る中心軸上にある。
【0025】
孔3は可能な限り変位発生部7、8に近い場所に施されることが望ましいが、本実施例では、加工上の制約から、可動部2のほぼ中心、すなわち本アクチュエータの可動部側の端から、長さ方向にL1/2の点を通り幅方向に平行な軸と、幅方向にW/2の点を通り長さ方向に平行な軸との交点を中心とした半径0.4mmの丸孔を施した。
【0026】
固定部に存在する孔5、6は、せん断応力集中の影響を最大限緩和するためには、それぞれ変位発生部7、8に隣接していることが望ましいが、電極の短絡等の恐れがあるため、本実施例では、変位発生部から数十ミクロン程度離した位置に施した。また、孔の幅は変位発生部の幅と同程度、長さは0.2mm程度とした。
【0027】
図1に示す圧電アクチュエータは孔3、5、6がない場合、面内方向の変位と同程度のスキュー及びクロスアクションが発生してしまう。孔3を設けることにより、スキュー及びクロスアクションを、孔がない場合に比べて約2割低減させることができた。さらに孔5、6を設けることにより、孔3だけの場合に比べてスキュー及びクロスアクションを約7割低減させることができた。
【0028】
図4は、孔3を施したことによるスキュー低減の効果及び切り欠き量との関係を示すグラフである。図に示すように、孔3を設けない場合に比べて、孔3を設けた場合の方がスキュー量は小さくなることがわかる。また切り欠き量を大きくするとスキュー量が低減できることが分かる。
【0029】
さらに、スキューとクロスアクションを低減させるため、最上層の不活性層13と最下層の不活性層14の総数を同じにするか、もしく不活性層13、14にも電極を施して活性層とし、さらに活性層15の総数を偶数にして、上下対称構造となるようにした。
【0030】
固定部の端面を拘束した場合、スキューとクロスアクションをほとんど無くすことができるが、実際にはアクチュエータの厚さが薄くなるにつれ、固定部の端面だけを拘束することは難しくなる。
【0031】
以下、本圧電アクチュエータを磁気ディスク装置の2段位置決め機構の微動アクチュエータとして利用した場合の実施例を説明する。
【0032】
高密度磁気ディスク装置には、高精度なヘッド位置決め機構が必要であるため、微動アクチュエータを位置決め機構に搭載することが考えられる。しかし、微動アクチュエータにスキューやクロスアクションが存在すると、ヘッドの位置決めに悪影響を及ぼすため、これらは可能な限り取り除かれる必要がある。
【0033】
図3に本発明の第2の実施例を示す。本実施例は、図1に示した圧電アクチュエータを、磁気ディスク装置の2段位置決め機構の微動アクチュエータとしてサスペンションに搭載したものである。
【0034】
図7は磁気ディスク装置の上蓋を取り除き、中身が見えるようにしたものの斜視図である。
【0035】
図7において、ヘッド28は、ディスク27に情報を記録したり、ディスク27から情報を読み出すものであり、スライダ16に設けられている。サスペンション29はスライダを支持し、キャリッジアーム30はサスペンションを支持している。ボイスコイルモーター31は、2段位置決め機構の粗動アクチュエータとして、キャリッジアームを回転運動させる。図では明示していないが、サスペンション29には、先に説明した微動用の圧電アクチュエータ1が設けられてる。このように構成することにより、クロスアクション等を防止し、高精度に読み、書き可能なヘッド28の位置決め制御が可能となる。
【0036】
図3は、図7に示す磁気ディスク装置のサスペンション29に、図1に示した圧電アクチュエータ1を搭載したものである。
【0037】
簡単のため、粗動アクチュエータとなるボイスコイルモーター31、キャリッジアーム30等は省略し、圧電アクチュエータ1が搭載されるサスペンション29の部分だけを示してある。
【0038】
磁気ヘッド28が搭載されているスライダ16は、ロードビーム17の先端に接合されている。ロードビーム17の上面には、ダンパ材18が接合されている。ロードビーム17の後端の上面または下面または上下両面に、圧電アクチュエータ1の可動部2が接合されている。圧電アクチュエータ1の固定部4は、ベースロードビーム19に接合されている。ベースロードビーム19上には、ベースプレート20が接合されている。
【0039】
圧電アクチュエータ1の外部電極24にリード線を直接つなぐ方法もあるが、振動特性を考慮して、本実施例では、図1に示すように、圧電アクチュエータ1の外部電極24と、ベースロードビーム19上に施されたプリント回路上の電極25とを、超音波接合で接合した。
【0040】
はんだやはんだボールもしくは導電性の接着剤で接合する方法も考えられるが、はんだを用いた場合は、その熱が圧電アクチュエータに悪影響を及ぼすと考えられ、また導電性の接着材を用いた場合は、抵抗が増大してしまうことを考慮して、本実施例では、超音波接合を用いた。
【0041】
本実施例の磁気ディスク装置の2段位置決め機構の圧電アクチュエータ1は、5V以下でヘッドを1トラックピッチ以上移動させることができるため、昇圧回路を必要としない。
【0042】
なお、上記実施例において、高速な信号処理を可能にするために、ヘッド28から伝わる信号及びヘッド28に伝える信号の処理を行う半導体チップ21をロードビーム17に搭載させることも考えられる。半導体チップは可能な限りヘッド28に近い場所に搭載した方が、高速信号処理の観点からは有利であるが、ヘッド近辺、すなわちをロードビーム17の先端は、スライダ16の浮上量を数十ナノメートルという極微小な値に保つため、非常に繊細な構造になっているので、実際にはヘッドに近い場所に半導体チップを搭載させることは難しい。それ故、ロードビーム17の後方、もしくはベースロードビーム19側に半導体チップを搭載することも考えられる。
【0043】
柔軟な中継回路(以下、FPC)22は、圧電アクチュエータ1を駆動させるためのものであり、FPC23は、半導体チップと本体の信号処理基板との間で、信号の送受信を行うためのものである。図3のように、FPC22と23を離して配置したのは、全体的なバランス及び圧電アクチュエータへ供給する電圧が、信号にノイズ等の悪影響を及ぼさないことを考慮したためである。
【0044】
次に、本実施例の組み立て方法について、図6を用いて説明する。
【0045】
まず、ベースロードビームとロードビームを溶接する。次に、ロードビームの先端に搭載されているスライダを適当な力でディスクに押し付けるために、ロードビームを面内方向に対して垂直な方向に曲げる。その後、ベースロードビームの圧電アクチュエータの変位発生部と重なる部分に穴を開ける。最後に圧電アクチュエータをベースロードビーム、又はロードビームに接合する。このとき変位発生部はどこにも接合されないようにする。そしてベースロードビームの先端と後端を結ぶ部分26を切り離す。この部分を残して、圧電アクチュエータのヒステリシス効果を低減させるためのばねとして利用することも考えられる。
【0046】
また、圧電アクチュエータを2つ用いて、それらをベースロードビームもしくはロードビームを挟み込むように接合した場合、スキューとクロスアクションをほとんど無くすことができた。
【0047】
図8に本発明の第3の実施例を示す。本実施例は、サスペンション29部をエッチングにより形成したシーク方向には軟で、その垂直方向には剛である支持部材32で構成したものである。この支持部材32に、図1に示した圧電アクチュエータを両面から貼り付けて、磁気ディスク装置用2段アクチュエータとしたものである。
【0048】
本実施例によれば、スキュー及びクロスアクションと圧電アクチュエータのヒステリシス効果を抑えることができる他、対衝撃性も向上させることができる。
【0049】
なお前記圧電アクチュエータは、各層に2つの電極を有しているが、それに限る必要はなく、2つの電極の間で分離し、2枚に分けた構造でもよい。
【0050】
また、本実施例では、前記圧電アクチュエータと前記支持部材を、接着により接合しているが、接着に限る必要はなく、物理的な接合、例えば、機械的にはめ込む方式で接合してもよい。
【0051】
なお、上記実施例は、エッチング、蒸着、めっき等、フォトリソグラフィー等のマイクロマシニングプロセスを用いて、一括製作することも可能である。
【0052】
【発明の効果】
本発明によれば、高精度な位置決めを行う場合に、悪影響を及ぼすスキュー及びクロスアクションを大幅に低減させることができる。また、本発明を磁気ディスクの2段位置決め機構に用いた場合、5Vでヘッドを複数のトラックにまたがって移動させることができる。
【図面の簡単な説明】
【図1】本発明の第1の実施例の圧電アクチュエータの構造を表す斜視図である。
【図2】図1に示した圧電アクチュエータのA−A’断面図である。
【図3】本発明の第2の実施例を示す図である。
【図4】圧電アクチュエータによるクロスアクションの低減を示すグラフである。
【図5】圧電アクチュエータの面内方向の変位、スキュー、及びクロスアクションの状態を示す図ある。
【図6】第2の実施例の実装方法を示す図である。
【図7】蓋をとった磁気ディスク装置全体の斜視図である。
【図8】本発明の第3の実施例を示す図である。
【符号の説明】
1…圧電アクチュエータ、2…可動部、3…可動部側孔、4…固定部、5、6…固定部側孔、7、8…変位発生部、9、10、11、12…電極、13…最上層、14…最下層、15…活性層、16…スライダ、17…ロードビーム、18…ダンパ、19…ベースロードビーム、20…ベースプレート、21…半導体チップ、22…中継FPC、23…FPC、24…外部電極、25…電極、26…バイアスばね、27…ディスク、28…ヘッド、29…サスペンション、30…キャリッジアーム、31…ボイスコイルモータ、32…支持部材。

Claims (4)

  1. 情報を記録するディスクと、前記ディスクに情報の書き込みと読み出しを行うヘッドと、前記ヘッドを支持するスライダと、前記スライダを支持するサスペンションと、前記サスペンションを支持するキャリッジと、前記ヘッドを所望の位置に移動させるための第1アクチュエータと、前記ヘッドと前記第1アクチュエータとの間に微動用の第2アクチュエータを設けた磁気ディスク装置において、
    前記第2アクチュエータは、圧電材料で構成された薄い四角形の板状体の対向する側端部に切り欠きを設け、可動部と固定部の間に平行な2つの変位発生部を有し、前記可動部の2つの変位発生部の間を通る長さ方向に平行な中心軸上に孔を設け、前記固定部の2つの変位発生部の各々の近傍に孔を設けた構成としたことを特徴とする磁気ディスク装置。
  2. 請求項1記載のディスク装置において、
    前記第2アクチュエータに略5V以下の電圧を印加して、ヘッドを1トラック以上にまたがって移動させることを特徴とする磁気ディスク装置。
  3. 情報を記録するディスクと、前記ディスクに情報の書き込みと読み出しを行うヘッドと、前記ヘッドを支持するスライダと、前記スライダを支持するサスペンションと、前記サスペンションを支持するキャリッジと、前記ヘッドを所望の位置に移動させるための第1アクチュエータと、前記ヘッドと前記第1アクチュエータとの間に微動用の第2アクチュエータを設けた磁気ディスク装置において、
    前記第2アクチュエータは可動部と変位発生部と固定部部とから構成され、前記可動部に孔を設ける供に、前記変位発生部と固定部の境界付近の固定部側にも孔を設け、前記サスペンションを第1の部材と第2の部材に分け、前記第1の部材に前記第2アクチュエータの可動部の孔を含む部分を接合し、前記第2の部材に前記前記第2アクチュエータの固定部の孔を含む部分を接合し、かつ、前記第2のアクチュエータの固定部の側端部に設けた電極と、前記ベースロードビームに設けたプリント回路上の電極とが接合されていることを特徴とする磁気ディスク装置。
  4. 情報を記録するディスクと、前記ディスクに情報の書き込みと読み出しを行うヘッドと、前記ヘッドを支持するスライダと、前記スライダを支持するサスペンションと、前記サスペンションを支持するキャリッジと、前記ヘッドを所望の位置に移動させるための第1アクチュエータと、前記ヘッドと前記第1アクチュエータとの間に微動用の第2アクチュエータを設けた磁気ディスク装置において、
    前記第2アクチュエータは、圧電材料で構成された圧電アクチュエータであり、薄い四角形の板状体の対向する側端部に切り欠きを設け、かつ可動部と固定部の間に平行な2つの変位発生部を有し、前記可動部の2つの変位発生部の間を通る長さ方向に平行な中心軸上に孔を設け、固定部の2つの変位発生部近傍に各々孔を設け、前記サスペンションに穴を開け、前記穴を架橋するように、前記サスペンションの上下両面に前記圧電アクチュエータを配置するか、または前記サスペンションを固定部材と可動部材の2つに分け、前記固定部材と前記可動部材の上下両面にそれぞれ前記圧電アクチュエータが配置されていることを特徴とする磁気ディスク装置。
JP33880898A 1998-11-30 1998-11-30 磁気ディスク装置 Expired - Fee Related JP3608964B2 (ja)

Priority Applications (1)

Application Number Priority Date Filing Date Title
JP33880898A JP3608964B2 (ja) 1998-11-30 1998-11-30 磁気ディスク装置

Applications Claiming Priority (1)

Application Number Priority Date Filing Date Title
JP33880898A JP3608964B2 (ja) 1998-11-30 1998-11-30 磁気ディスク装置

Publications (2)

Publication Number Publication Date
JP2000163892A JP2000163892A (ja) 2000-06-16
JP3608964B2 true JP3608964B2 (ja) 2005-01-12

Family

ID=18321669

Family Applications (1)

Application Number Title Priority Date Filing Date
JP33880898A Expired - Fee Related JP3608964B2 (ja) 1998-11-30 1998-11-30 磁気ディスク装置

Country Status (1)

Country Link
JP (1) JP3608964B2 (ja)

Families Citing this family (2)

* Cited by examiner, † Cited by third party
Publication number Priority date Publication date Assignee Title
US6617762B2 (en) * 2000-08-03 2003-09-09 Nec Tokin Ceramics Corporation Microactuator device with a countermeasure for particles on a cut face thereof
JP5508789B2 (ja) 2009-08-28 2014-06-04 エイチジーエスティーネザーランドビーブイ ヘッド・ジンバル・アセンブリ

Also Published As

Publication number Publication date
JP2000163892A (ja) 2000-06-16

Similar Documents

Publication Publication Date Title
JP3716164B2 (ja) ヘッド支持機構
US6246552B1 (en) Read/write head including displacement generating means that elongates and contracts by inverse piezoelectric effect of electrostrictive effect
JP3501758B2 (ja) 記録/再生ヘッド支持機構および記録/再生装置
US7068473B2 (en) Piezoelectric microactuator for improved tracking control of disk drive read/write heads
US5898541A (en) Leading surface slider microactuator
US6614627B1 (en) Magnetic disk apparatus
KR100772071B1 (ko) 헤드 어셈블리 및 기록 매체 구동 장치
JP4075475B2 (ja) ヘッド素子の微小位置決め用アクチュエータを備えたヘッドジンバルアセンブリ及び該ヘッドジンバルアセンブリを備えたディスク装置
CN1327538C (zh) 带有压电微驱动机构的磁头弹簧片组件
US6201668B1 (en) Gimbal-level piezoelectric microactuator
JP5189813B2 (ja) ヘッドサスペンション、及び圧電アクチュエータ
JPWO2000030080A1 (ja) 記録/再生ヘッド支持機構および記録/再生装置
JP2002050140A (ja) ディスク装置用サスペンション
WO2003067576A1 (en) Head gimbal assembly with precise positioning actuator for head element, disk drive apparatus with the head gimbal assembly, and manufacturing method of the head gimbal assembly
JP2004158163A (ja) ヘッド素子の微小位置決め用アクチュエータ、該アクチュエータを備えたヘッドジンバルアセンブリ及び該ヘッドジンバルアセンブリを備えたディスク装置
JP4227365B2 (ja) マイクロアクチュエータ付きヘッドアセンブリ
KR100960771B1 (ko) 압전 액추에이터 및 디스크 장치
JP2002329377A (ja) ヘッド素子の微小位置決め用アクチュエータを備えたヘッドジンバルアセンブリ
US7535680B2 (en) Micro-actuator with integrated trace and bonding pad support
JP2002329375A (ja) ヘッド素子の微小位置決め用アクチュエータを備えたヘッドジンバルアセンブリ
WO2000030081A1 (en) Record/reproduce head support mechanism and record/reproduce apparatus
JP3608964B2 (ja) 磁気ディスク装置
JP2001211668A (ja) 微小位置決めアクチュエータ、薄膜磁気ヘッド素子の位置決め用アクチュエータ及び該アクチュエータを備えたヘッドサスペンションアセンブリ
JP4360053B2 (ja) 微小位置決め用アクチュエータに接着されるヘッドスライダ、該ヘッドスライダを備えたヘッドジンバルアセンブリ、該ヘッドスライダとアクチュエータとの接着方法及びヘッドジンバルアセンブリの製造方法
US20090284872A1 (en) Magnetic head support and magnetic disk device

Legal Events

Date Code Title Description
A977 Report on retrieval

Free format text: JAPANESE INTERMEDIATE CODE: A971007

Effective date: 20040823

TRDD Decision of grant or rejection written
A01 Written decision to grant a patent or to grant a registration (utility model)

Free format text: JAPANESE INTERMEDIATE CODE: A01

Effective date: 20040928

A61 First payment of annual fees (during grant procedure)

Free format text: JAPANESE INTERMEDIATE CODE: A61

Effective date: 20041012

R150 Certificate of patent or registration of utility model

Free format text: JAPANESE INTERMEDIATE CODE: R150

FPAY Renewal fee payment (event date is renewal date of database)

Free format text: PAYMENT UNTIL: 20071022

Year of fee payment: 3

FPAY Renewal fee payment (event date is renewal date of database)

Free format text: PAYMENT UNTIL: 20081022

Year of fee payment: 4

FPAY Renewal fee payment (event date is renewal date of database)

Free format text: PAYMENT UNTIL: 20091022

Year of fee payment: 5

FPAY Renewal fee payment (event date is renewal date of database)

Free format text: PAYMENT UNTIL: 20091022

Year of fee payment: 5

FPAY Renewal fee payment (event date is renewal date of database)

Free format text: PAYMENT UNTIL: 20101022

Year of fee payment: 6

FPAY Renewal fee payment (event date is renewal date of database)

Free format text: PAYMENT UNTIL: 20111022

Year of fee payment: 7

FPAY Renewal fee payment (event date is renewal date of database)

Free format text: PAYMENT UNTIL: 20121022

Year of fee payment: 8

S533 Written request for registration of change of name

Free format text: JAPANESE INTERMEDIATE CODE: R313533

FPAY Renewal fee payment (event date is renewal date of database)

Free format text: PAYMENT UNTIL: 20121022

Year of fee payment: 8

R350 Written notification of registration of transfer

Free format text: JAPANESE INTERMEDIATE CODE: R350

FPAY Renewal fee payment (event date is renewal date of database)

Free format text: PAYMENT UNTIL: 20121022

Year of fee payment: 8

FPAY Renewal fee payment (event date is renewal date of database)

Free format text: PAYMENT UNTIL: 20131022

Year of fee payment: 9

R250 Receipt of annual fees

Free format text: JAPANESE INTERMEDIATE CODE: R250

R250 Receipt of annual fees

Free format text: JAPANESE INTERMEDIATE CODE: R250

R250 Receipt of annual fees

Free format text: JAPANESE INTERMEDIATE CODE: R250

R250 Receipt of annual fees

Free format text: JAPANESE INTERMEDIATE CODE: R250

LAPS Cancellation because of no payment of annual fees