JP3607261B2 - ハイブリッド車両における動弁機構の油圧供給装置 - Google Patents
ハイブリッド車両における動弁機構の油圧供給装置 Download PDFInfo
- Publication number
- JP3607261B2 JP3607261B2 JP2002149729A JP2002149729A JP3607261B2 JP 3607261 B2 JP3607261 B2 JP 3607261B2 JP 2002149729 A JP2002149729 A JP 2002149729A JP 2002149729 A JP2002149729 A JP 2002149729A JP 3607261 B2 JP3607261 B2 JP 3607261B2
- Authority
- JP
- Japan
- Prior art keywords
- cylinder
- hydraulic
- valve
- engine
- hydraulic pressure
- Prior art date
- Legal status (The legal status is an assumption and is not a legal conclusion. Google has not performed a legal analysis and makes no representation as to the accuracy of the status listed.)
- Expired - Fee Related
Links
Images
Classifications
-
- Y—GENERAL TAGGING OF NEW TECHNOLOGICAL DEVELOPMENTS; GENERAL TAGGING OF CROSS-SECTIONAL TECHNOLOGIES SPANNING OVER SEVERAL SECTIONS OF THE IPC; TECHNICAL SUBJECTS COVERED BY FORMER USPC CROSS-REFERENCE ART COLLECTIONS [XRACs] AND DIGESTS
- Y02—TECHNOLOGIES OR APPLICATIONS FOR MITIGATION OR ADAPTATION AGAINST CLIMATE CHANGE
- Y02T—CLIMATE CHANGE MITIGATION TECHNOLOGIES RELATED TO TRANSPORTATION
- Y02T10/00—Road transport of goods or passengers
- Y02T10/60—Other road transportation technologies with climate change mitigation effect
- Y02T10/62—Hybrid vehicles
-
- Y—GENERAL TAGGING OF NEW TECHNOLOGICAL DEVELOPMENTS; GENERAL TAGGING OF CROSS-SECTIONAL TECHNOLOGIES SPANNING OVER SEVERAL SECTIONS OF THE IPC; TECHNICAL SUBJECTS COVERED BY FORMER USPC CROSS-REFERENCE ART COLLECTIONS [XRACs] AND DIGESTS
- Y02—TECHNOLOGIES OR APPLICATIONS FOR MITIGATION OR ADAPTATION AGAINST CLIMATE CHANGE
- Y02T—CLIMATE CHANGE MITIGATION TECHNOLOGIES RELATED TO TRANSPORTATION
- Y02T10/00—Road transport of goods or passengers
- Y02T10/80—Technologies aiming to reduce greenhouse gasses emissions common to all road transportation technologies
- Y02T10/84—Data processing systems or methods, management, administration
Landscapes
- Valve Device For Special Equipments (AREA)
- Output Control And Ontrol Of Special Type Engine (AREA)
- Hybrid Electric Vehicles (AREA)
- Valve-Gear Or Valve Arrangements (AREA)
Description
【発明の属する技術分野】
この発明は、動弁機構の油圧供給装置に関するものである。
【0002】
【従来の技術】
ハイブリッド車両の中には、エンジンフリクションの低減効果により更なる燃費向上を図るために、例えば、油圧制御により動弁機構を操作して気筒休止を行うようにしたものがある。車両が減速状態に移行した際に、例えば、燃料供給停止と共に気筒休止を行うことにより、エンジンフリクションが低減した分だけ回生量を増加させて燃費向上を図るものである。
したがって、全気筒休止可能なエンジンを用いれば、減速時におけるエンジンフリクションによるエネルギーをも最大限に回収でき、燃費性能の良好なハイブリッド車両とすることができる。
【0003】
【発明が解決しようとする課題】
上述のように全ての気筒を休止できるようにすれば更なる燃費向上を図ることができるが、気筒休止機構に異常があり、かつ、電動機による走行もできないような事態に対処して自力でエンジン走行を可能とする必要から、一部の気筒を気筒休止しない通常気筒としなければならない。そのため、その通常気筒に関しては、相変わらず減速時などに通常のエンジンフリクションが発生し、その分だけ燃費向上効果が損なわれてしまうという問題がある。
【0004】
そこで、この発明は、気筒休止による燃費向上効果を最大限に発揮することができると共に一部の気筒や油圧系に故障が発生した場合でも走行に支障をきたすことがない動弁機構の油圧供給装置を提供するものである。
【0005】
【課題を解決するための手段】
上記課題を解決するために、請求項1に記載した発明は、エンジン(例えば、実施形態におけるエンジンE)と電動機(例えば、実施形態におけるモータM)を動力源として備え、このエンジンと電動機の少なくとも一方の動力を変速機(例えば、実施形態におけるトランスミッションT)を介して出力軸に伝達し車両の推進力とするハイブリッド車両における動弁機構の油圧供給装置であって、前記エンジンは直列気筒エンジンで吸排気弁(例えば、実施形態における吸気弁IV、排気弁EV)を閉作動させて気筒休止可能な気筒列のロッカーシャフト(例えば、実施形態におけるロッカーシャフト31,31’)を複数に分割して構成され動弁機構(例えば、実施形態における可変バルブタイミング機構VT)に油圧を作用させて気筒休止・休止解除を行うものであり、各ロッカーシャフトには個別に油圧を作用させる油圧制御手段(例えば、実施形態におけるスプールバルブ33,33’、気筒休止側通路34,34’、気筒休止解除側通路35,35’、POILセンサS1,S1’)が接続され、前記エンジンの全ての気筒を気筒休止して走行している状態から、前記気筒休止を解除して全筒制御に移行する際に、一部の油圧制御手段が故障した場合には、残りの油圧制御手段を制御して気筒休止から全筒制御に切り換えることを特徴とするハイブリッド車両における動弁機構の油圧供給装置。
このように構成することで、例えば、減速時に燃料供給停止が行われると、各油圧制御手段を介して各ロッカーシャフトに油圧が作用して気筒列の全気筒は休止し、一部の制御手段が故障した場合には、残りの正常な油圧制御手段を介して、対応するロッカーシャフトに油圧を作用させ気筒休止をしないで通常作動させることが可能となる。
【0008】
請求項2に記載した発明は、前記油圧制御手段は、スプールバルブ(例えば、実施形態におけるスプールバルブ33,33’)と油圧センサ(例えば、実施形態におけるPOILセンサS1,S1’)とを備えていることを特徴とする。
このように構成することで、油圧センサにより油圧を検出することで故障の有無を監視しながら気筒休止と休止解除を行うことが可能となる。
【0009】
【発明の実施の形態】
以下、この発明の実施形態を図面と共に説明する。
先ず、この発明の第1実施形態に係る動弁機構の油圧供給装置を備えたパラレルハイブリッド車両の構成を簡単に説明する。このハイブリッド車両はエンジンE、モータ(電動機)M、トランスミッション(変速機)Tを直列に直結した構造のものである。エンジンEとモータMの少なくとも一方の動力をCVTなどのトランスミッションT(マニュアルトランスミッションでもよい)を介して出力軸に伝達し、駆動輪たる前輪Wfを駆動する。また、ハイブリッド車両の減速時に前輪Wf側からモータM側に駆動力が伝達されると、モータMは発電機として機能していわゆる回生制動力を発生し、車体の運動エネルギーを電気エネルギーとして回収する。
【0010】
モータMの駆動及び回生作動は、モータECU1のモータCPU1Mからの制御指令を受けてパワードライブユニット(PDU)2により行われる。パワードライブユニット2にはモータMと電気エネルギーの授受を行う高圧系のニッケル−水素バッテリ3が接続され、バッテリ3は、例えば、複数のセルを直列に接続したモジュールを1単位として更に複数個のモジュールを直列に接続したものである。ハイブリッド車両には各種補機類を駆動するための12ボルトの補助バッテリ4が搭載され、この補助バッテリ4はバッテリ3にDC−DCコンバータであるダウンバータ5を介して接続される。FIECU11により制御されるダウンバータ5は、バッテリ3の電圧を降圧して補助バッテリ4を充電する。尚、モータECU1は、バッテリ3を保護すると共にその残容量を算出するバッテリCPU1Bを備えている。また、前記CVTであるトランスミッションTにはこれを制御するCVTECU21が接続されている。
【0011】
FIECU11は、前記モータECU1及び前記ダウンバータ5に加えて、エンジンEへの燃料供給量を調整する図示しない燃料噴射弁、スタータモータの作動の他、点火時期等の制御を行う。そのためFIECU11には、図示しない車速センサ、エンジン回転数センサ、シフトポジションセンサ、ブレーキスイッチ、クラッチスイッチ、スロットル開度センサ、及び吸気管負圧センサからの信号が入力される。また、後述するPOILセンサ(油圧検出手段、油圧センサ)S1,S1’、スプールバルブ33,33’のソレノイド、TOILセンサS2からの信号もFIECU11に入力される。
【0012】
ここで、エンジンEはSOHC型4気筒のエンジンであり、この気筒列に対応するロッカーシャフトは2つのロッカーシャフト31,31’に分割されている。各気筒は可変バルブタイミング機構(動弁機構)VTを備え、このバルブタイミング機構VTに油圧を作用させて気筒休止・休止解除を行うものである。ロッカーシャフト31,31’には個別に油圧を作用させるために、オイルポンプ32から油圧を受けて作動するスプールバルブ33,33’、気筒休止側通路(油圧回路)34,34’、気筒休止解除側通路(油圧回路)35,35’、POILセンサS1,S1’が接続されている。これらスプールバルブ33,33’、気筒休止側通路34,34’、気筒休止解除側通路35,35’、POILセンサS1,S1’が主として油圧制御手段を構成している。尚、36,36’はポンプ32とスプールバルブ33,33’とを結ぶ供給配管である。
したがって、上記エンジンEは、各油圧制御手段を介して2つのロッカーシャフト31,31’に係る4つの気筒を稼働する全気筒運転と、前記4つの気筒を休止する全気筒休止運転とに切替可能に構成され、また、何れかのロッカーシャフト31,31’に係る油圧系が故障した場合には他の油圧系に係る気筒のみによる運転が可能となっている。
【0013】
具体的に可変バルブタイミング機構VT及び油圧制御手段を図2〜図4によって説明する。尚、各ロッカーシャフトに対応する油圧制御手段の構成については両者とも同様であるので、ロッカーシャフト31側を代表して説明する。
図2に示すように、図示しないシリンダには吸気弁IVと排気弁EVが設けられ、これら吸気弁IVと排気弁EVは弁スプリング51,51により図示しない吸気、排気ポートを閉じる方向に付勢されている。一方、52はカムシャフト53に設けられたリフトカムであり、このリフトカム52には、ロッカーシャフト31を介して回動可能に支持された吸気弁側、排気弁側カムリフト用ロッカーアーム54a,54bが連係している。
【0014】
また、ロッカーシャフト31にはカムリフト用ロッカーアーム54a,54bに隣接して弁駆動用ロッカーアーム55a,55bが回動可能に支持されている。そして、弁駆動用ロッカーアーム55a,55bの回動端が前記吸気弁IV、排気弁EVの上端を押圧して吸気弁IV、排気弁EVを開弁作動させるようになっている。また、図3に示すように弁駆動用ロッカーアーム55a,55bの基端側(弁当接部分とは反対側)はカムシャフト53に設けられた真円カム531に摺接可能に構成されている。
【0015】
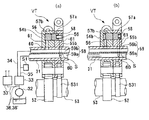
図3は、排気弁EV側を例にして、前記カムリフト用ロッカーアーム54bと弁駆動用ロッカーアーム55bを示したものである。
図3(a)、図3(b)において、カムリフト用ロッカーアーム54bと弁駆動用ロッカーアーム55bには、ロッカーシャフト31を中心にしてリフトカム52と反対側に、カムリフト用ロッカーアーム54bと弁駆動用ロッカーアーム55bとに渡る油圧室56が形成されている。油圧室56内にはピン57a、解除ピン57bがスライド自在に設けられ、ピン57aは、ピンスプリング58を介してカムリフト用ロッカーアーム54b側に付勢されている。
【0016】
ロッカーシャフト31の内部には仕切部Sを介して油圧通路59(59a、59b)が区画形成されている。油圧通路59bは、油圧通路59bの開口部60、カムリフト用ロッカーアーム54bの連通路61を介して、解除ピン57b側の油圧室56に連通し、油圧通路59aは、油圧通路59aの開口部60、弁駆動用ロッカーアーム55bの連通路61を介して、ピン57a側の油圧室56に連通し図示しないドレン通路に接続可能にされている。
【0017】
ここで、油圧通路59bから油圧が作用しない場合は、図3(a)に示すように、前記ピン57aは、ピンスプリング58により前記カムリフト用ロッカーアーム54bと弁駆動用ロッカーアーム55bとの双方に跨る位置となり、一方、気筒休止信号により油圧通路59bから油圧が作用した場合は、図3(b)に示すように、前記ピン57aは解除ピン57bと共にピンスプリング58に抗して弁駆動用ロッカーアーム55b側にスライドして、ピン57aは解除ピン57bとの境界部分が前記カムリフト用ロッカーアーム54bと弁駆動用ロッカーアーム55bとの境界部分に一致して両者の連結を解除する。尚、吸気弁側も同様の構成である。ここで、前記油圧通路59a,59bは可変バルブタイミング機構VTの油圧を確保するスプールバルブ33を介してオイルポンプ32に接続されている。
【0018】
そして、図4に示すように、スプールバルブ33の気筒休止側通路34は前記ロッカーシャフト31の油圧通路59bに接続され、スプールバルブ33の気筒休止解除側通路35は前記油圧通路59aに接続されている。ここで、気筒休止解除側通路35にはPOILセンサS1が接続されている。POILセンサS1は、気筒休止時においては低圧(Low)となり、全気筒運転時には高圧(Hi)となる気筒休止解除側通路35の油圧を監視している。また、オイルポンプ32の吐出側通路であってスプールバルブ33への通路から分岐してエンジンEに作動油を供給する供給通路36には他のスプールバルブ33’が接続されている。尚、オイルポンプ32の吐出側にはエンジンEへ作動油を供給する通路37が接続され、この通路37に油温を検出する前記TOILセンサS2が取り付けられ、エンジンEに供給される作動油の温度を監視している。
【0019】
したがって、例えば減速時等に燃料供給が停止され、所定の気筒休止運転の条件が満足されと、FIECU11からの信号により各ロッカーシャフト31,31’に対応するスプールバルブ33、33’が、全気筒運転のLow側からHi側に作動する。すると、ポンプ32から供給配管36,36’を経由して供給される作動油はスプールバルブ33,33’から気筒休止側通路34,34’に供給され、吸気弁IV側及び排気弁EV側の双方で前記油圧通路59bを経て油圧室56に油圧が作用する。一方、これと同時にスプールバルブ33,33’を介して気筒休止解除側通路35,35’はドレンに接続され低圧となる。したがって、POILセンサS1,S1’は低油圧を検出する(Low)。よって、それまでカムリフト用ロッカーアーム54a,54bと弁駆動用ロッカーアーム55a,55bとを一体にしていたピン57a,57a、解除ピン57b,57bは弁駆動用ロッカーアーム55a,55b側へスライドし、カムリフト用ロッカーアーム54a,54bと弁駆動用ロッカーアーム55a,55bとの連結が解除される。
【0020】
よって、リフトカム52の回転運動によりカムリフト用ロッカーアーム54a,54bは駆動するが、ピン57a、解除ピン57bによるカムリフト用ロッカーアーム54a,54bとの連結が解除された弁駆動用ロッカーアーム55a,55bにはその動きは伝達されない。これにより、吸気弁IV側、排気弁EV側の弁駆動用ロッカーアーム55a,55bは駆動しないため、各弁IV、EVは閉じたままとなりエンジンEは全気筒休止運転となる。
【0021】
次に、運転者がアクセルペダルを踏み込むなどして気筒休止運転の条件が満たされなくなると、FIECU11からの信号により各ロッカーシャフト31,31’に対応するスプールバルブ33、33’が、全気筒休止運転のHi側からLow側に作動する。すると、ポンプ32から供給配管36への作動油の供給は停止されると共に、気筒休止解除側通路35,35’は高圧となる。これにより、POILセンサS1,S1’は高油圧を検出する(Hi)。
したがって、油圧室56に油圧が作用しなくなり、それまで弁駆動用ロッカーアーム55a,55b側へスライドしていたピン57a,57a、解除ピン57b,57bはピンスプリング58により復帰して、解除ピン57b,57bはカムリフト用ロッカーアーム54a,54bと弁駆動用ロッカーアーム55a,55bとを連結する。
【0022】
よって、リフトカム52の回転運動によりカムリフト用ロッカーアーム54a,54bが駆動すると、吸気弁IV側、排気弁EV側の弁駆動用ロッカーアーム55a,55bが駆動し、各弁IV、EVは開閉作動しエンジンEは全気筒運転となる。
その結果、全気筒休止運転により全ての気筒で今までロスとなっていたエンジンフリクションによるロスを最小限にして、その分多くの回生量を確保し燃費向上を図ることができる。
【0023】
ここで、例えば、ロッカーシャフト31’側のPOILセンサS1’の検出油圧が、例えば、Low側のまま変化しなくなったような場合、スプールバルブ33’の圧力が異常をきたしたような場合には、ロッカーシャフト31側において気筒休止運転を行わないようにスプールバルブ33を気筒休止側に作動しないようにして対処することができる。したがって、一方のロッカーシャフトに係るバルブタイミング機構や、油圧系に故障が生じた場合でも、他方のロッカーシャフトに係る気筒を通常運転して対処できる。
以下の表1にスプールバルブ33,33’の作動状況(Hi側、Low側)とPOILセンサS1,S1’の検出圧(Hi、Low)を全気筒運転と全気筒休止運転とで比較して示す。
【表1】
【0024】
上記実施形態によれば、気筒休止時には全気筒のエンジンフリクション分の回生量をモータMによる回収でき気筒休止による燃費向上効果を最大限に発揮することができると共に一部の気筒や油圧系に故障が発生した場合でも何ら支障なく走行が可能となり信頼性を高めることができる。
また、気筒休止と休止解除をPOILセンサS1,S1’により油圧を検出することで故障の有無を監視しながら行うことが可能となるため、気筒休止と休止の解除を確実に行うことができる。
尚、この発明は上記実施形態に限られるものではなく、例えば、ハイブリッド車に適用した場合について説明したが、通常のエンジンにも適用できる。
【0025】
【発明の効果】
以上説明してきたように、請求項1に記載した発明によれば、例えば、減速時に燃料供給停止が行われると、各油圧制御手段を介して各ロッカーシャフトに油圧が作用して気筒列の全気筒は休止し、一部の油圧制御手段が故障した場合には、残りの正常な油圧制御手段を介して、対応するロッカーシャフトに油圧を作用させ気筒休止をしないで通常作動させることが可能となるため、気筒休止時には全気筒のエンジンフリクション分の回生量を電動機による回収できると共に、一部の油圧制御手段に故障が発生した場合でも何ら支障なく走行が可能となる効果がある。
【0028】
請求項2に記載した発明によれば、油圧センサにより油圧を検出することで故障の有無を監視しながら気筒休止と休止解除を行うことが可能となるため、気筒休止と休止の解除を確実に行うことができる効果がある。
【図面の簡単な説明】
【図1】この発明の実施形態のハイブリッド車両の全体構成図である。
【図2】この発明の実施形態の可変バルブタイミング機構を示す正面図である。
【図3】この発明の実施形態の可変バルブタイミング機構を示し、(a)は全気筒運転状態での可変バルブタイミング機構の要部断面図、(b)は全気筒休止運転状態での可変バルブタイミング機構の要部断面図である。
【図4】図1の要部拡大図である。
【符号の説明】
E エンジン
M モータ(電動機)
IV 吸気弁
EV 排気弁
T トランスミッション(変速機)
VT 可変バルブタイミング機構(動弁機構)
S1,S1’ POILセンサ(油圧検出手段、油圧制御手段、油圧センサ)
31,31’ ロッカーシャフト
33,33’ スプールバルブ(油圧制御手段)
34,34’ 気筒休止側通路(油圧制御手段、油圧回路)
35,35’ 気筒休止解除側通路(油圧制御手段、油圧回路)
Claims (2)
- エンジンと電動機を動力源として備え、このエンジンと電動機の少なくとも一方の動力を変速機を介して出力軸に伝達し車両の推進力とするハイブリッド車両における動弁機構の油圧供給装置であって、前記エンジンは直列気筒エンジンで吸排気弁を閉作動させて気筒休止可能な気筒列のロッカーシャフトを複数に分割して構成され動弁機構に油圧を作用させて気筒休止・休止解除を行うものであり、各ロッカーシャフトには個別に油圧を作用させる油圧制御手段が接続され、前記エンジンの全ての気筒を気筒休止して走行している状態から、前記気筒休止を解除して全筒制御に移行する際に、一部の油圧制御手段が故障した場合には、残りの油圧制御手段を制御して気筒休止から全筒制御に切り換えることを特徴とするハイブリッド車両における動弁機構の油圧供給装置。
- 前記油圧制御手段は、スプールバルブと油圧センサとを備えていることを特徴とする請求項1に記載のハイブリッド車両における動弁機構の油圧供給装置。
Priority Applications (3)
| Application Number | Priority Date | Filing Date | Title |
|---|---|---|---|
| JP2002149729A JP3607261B2 (ja) | 2002-05-23 | 2002-05-23 | ハイブリッド車両における動弁機構の油圧供給装置 |
| US10/441,217 US6994069B2 (en) | 2002-05-23 | 2003-05-20 | Hydraulic control device for valve trains of engine |
| EP03011540A EP1365115B1 (en) | 2002-05-23 | 2003-05-21 | Hydraulic control device for valve trains of engine |
Applications Claiming Priority (1)
| Application Number | Priority Date | Filing Date | Title |
|---|---|---|---|
| JP2002149729A JP3607261B2 (ja) | 2002-05-23 | 2002-05-23 | ハイブリッド車両における動弁機構の油圧供給装置 |
Publications (2)
| Publication Number | Publication Date |
|---|---|
| JP2003343229A JP2003343229A (ja) | 2003-12-03 |
| JP3607261B2 true JP3607261B2 (ja) | 2005-01-05 |
Family
ID=29767799
Family Applications (1)
| Application Number | Title | Priority Date | Filing Date |
|---|---|---|---|
| JP2002149729A Expired - Fee Related JP3607261B2 (ja) | 2002-05-23 | 2002-05-23 | ハイブリッド車両における動弁機構の油圧供給装置 |
Country Status (1)
| Country | Link |
|---|---|
| JP (1) | JP3607261B2 (ja) |
Cited By (1)
| Publication number | Priority date | Publication date | Assignee | Title |
|---|---|---|---|---|
| US10100685B2 (en) | 2013-12-27 | 2018-10-16 | Mazda Motor Corporation | Hydraulic supply device for valve stopping mechanism |
Families Citing this family (6)
| Publication number | Priority date | Publication date | Assignee | Title |
|---|---|---|---|---|
| KR100868210B1 (ko) | 2006-12-07 | 2008-11-11 | 현대자동차주식회사 | 가변 기통 정지 시스템용 오일 공급 회로 |
| JP2009215900A (ja) | 2008-03-07 | 2009-09-24 | Toyota Motor Corp | 6気筒エンジン |
| US8468988B2 (en) | 2009-02-25 | 2013-06-25 | Toyota Jidosha Kabushiki Kaisha | Variable valve operating apparatus for internal combustion engine |
| JP5563866B2 (ja) * | 2010-03-31 | 2014-07-30 | 本田技研工業株式会社 | 可変動弁機構を備える内燃機関 |
| DE102013103558A1 (de) * | 2013-04-10 | 2014-10-16 | Dr. Ing. H.C. F. Porsche Aktiengesellschaft | Hydraulische Ventilsteuerungsvorrichtung und Verfahren zum Steuern und Überwachen der Schaltzustände von Ventilen einer Brennkraftmaschine eines Kraftfahrzeugs |
| CN110043339A (zh) * | 2019-04-10 | 2019-07-23 | 广西玉柴机器股份有限公司 | 非顶置式配气机构发动机的液压摇臂 |
-
2002
- 2002-05-23 JP JP2002149729A patent/JP3607261B2/ja not_active Expired - Fee Related
Cited By (1)
| Publication number | Priority date | Publication date | Assignee | Title |
|---|---|---|---|---|
| US10100685B2 (en) | 2013-12-27 | 2018-10-16 | Mazda Motor Corporation | Hydraulic supply device for valve stopping mechanism |
Also Published As
| Publication number | Publication date |
|---|---|
| JP2003343229A (ja) | 2003-12-03 |
Similar Documents
| Publication | Publication Date | Title |
|---|---|---|
| CA2460478C (en) | Failure detection device for vehicle with deceleration deactivatable engine | |
| US6939263B2 (en) | Control device for hybrid vehicle | |
| CA2460470C (en) | Motor control device for vehicle having deceleration deactivatable engine | |
| EP1122111B1 (en) | A power transmission apparatus for hybrid vehicles | |
| US6953021B2 (en) | Controller of hybrid vehicle | |
| JP3540297B2 (ja) | ハイブリッド車両のエンジン制御装置 | |
| JP3701567B2 (ja) | ハイブリッド車両の制御装置 | |
| EP1365115B1 (en) | Hydraulic control device for valve trains of engine | |
| US7040277B2 (en) | Cylinder operation control apparatus for internal combustion engine | |
| JP3607261B2 (ja) | ハイブリッド車両における動弁機構の油圧供給装置 | |
| JP3917015B2 (ja) | 動弁機構の油圧制御装置 | |
| JP2005045858A (ja) | ハイブリッド車両の制御装置 | |
| JP4011514B2 (ja) | 内燃機関の気筒運転制御装置 |
Legal Events
| Date | Code | Title | Description |
|---|---|---|---|
| A131 | Notification of reasons for refusal |
Free format text: JAPANESE INTERMEDIATE CODE: A131 Effective date: 20040330 |
|
| A521 | Written amendment |
Free format text: JAPANESE INTERMEDIATE CODE: A523 Effective date: 20040528 |
|
| TRDD | Decision of grant or rejection written | ||
| A01 | Written decision to grant a patent or to grant a registration (utility model) |
Free format text: JAPANESE INTERMEDIATE CODE: A01 Effective date: 20040928 |
|
| A61 | First payment of annual fees (during grant procedure) |
Free format text: JAPANESE INTERMEDIATE CODE: A61 Effective date: 20041006 |
|
| R150 | Certificate of patent or registration of utility model |
Free format text: JAPANESE INTERMEDIATE CODE: R150 |
|
| FPAY | Renewal fee payment (event date is renewal date of database) |
Free format text: PAYMENT UNTIL: 20071015 Year of fee payment: 3 |
|
| FPAY | Renewal fee payment (event date is renewal date of database) |
Free format text: PAYMENT UNTIL: 20081015 Year of fee payment: 4 |
|
| FPAY | Renewal fee payment (event date is renewal date of database) |
Free format text: PAYMENT UNTIL: 20081015 Year of fee payment: 4 |
|
| FPAY | Renewal fee payment (event date is renewal date of database) |
Free format text: PAYMENT UNTIL: 20091015 Year of fee payment: 5 |
|
| FPAY | Renewal fee payment (event date is renewal date of database) |
Free format text: PAYMENT UNTIL: 20091015 Year of fee payment: 5 |
|
| FPAY | Renewal fee payment (event date is renewal date of database) |
Free format text: PAYMENT UNTIL: 20101015 Year of fee payment: 6 |
|
| FPAY | Renewal fee payment (event date is renewal date of database) |
Free format text: PAYMENT UNTIL: 20101015 Year of fee payment: 6 |
|
| FPAY | Renewal fee payment (event date is renewal date of database) |
Free format text: PAYMENT UNTIL: 20111015 Year of fee payment: 7 |
|
| FPAY | Renewal fee payment (event date is renewal date of database) |
Free format text: PAYMENT UNTIL: 20111015 Year of fee payment: 7 |
|
| FPAY | Renewal fee payment (event date is renewal date of database) |
Free format text: PAYMENT UNTIL: 20121015 Year of fee payment: 8 |
|
| FPAY | Renewal fee payment (event date is renewal date of database) |
Free format text: PAYMENT UNTIL: 20131015 Year of fee payment: 9 |
|
| LAPS | Cancellation because of no payment of annual fees |
