JP3591069B2 - カルチベータ - Google Patents
カルチベータ Download PDFInfo
- Publication number
- JP3591069B2 JP3591069B2 JP19390695A JP19390695A JP3591069B2 JP 3591069 B2 JP3591069 B2 JP 3591069B2 JP 19390695 A JP19390695 A JP 19390695A JP 19390695 A JP19390695 A JP 19390695A JP 3591069 B2 JP3591069 B2 JP 3591069B2
- Authority
- JP
- Japan
- Prior art keywords
- cultivator
- ridge
- cultivation
- cultivating
- link mechanism
- Prior art date
- Legal status (The legal status is an assumption and is not a legal conclusion. Google has not performed a legal analysis and makes no representation as to the accuracy of the status listed.)
- Expired - Fee Related
Links
- 230000007246 mechanism Effects 0.000 claims description 10
- 238000009333 weeding Methods 0.000 claims description 6
- 210000000078 claw Anatomy 0.000 description 21
- 239000002689 soil Substances 0.000 description 6
- 230000005540 biological transmission Effects 0.000 description 2
- 244000025254 Cannabis sativa Species 0.000 description 1
- 241000196324 Embryophyta Species 0.000 description 1
- 238000007599 discharging Methods 0.000 description 1
- 238000003971 tillage Methods 0.000 description 1
Images
Landscapes
- Soil Working Implements (AREA)
Description
【発明の属する技術分野】
本発明は、複数本のカルチ爪からなるカルチ部により畝の表面を中耕するカルチベータに関するものである。
【0002】
【従来の技術】
従来のカルチベータとしては、例えば実開昭53−21924号、実開昭54−5635号、実開昭54−27031号等の各公報記載の構成が知られており、何れも側面視略円弧形のカルチ爪を複数本並設してカルチ部を形成し、トラクタの後部にこのカルチ部を牽引して畝の表面を中耕するように形成されている。
【0003】
また、畝間の溝部を耕耘したり、溝部の土壌を畝上へ排土する装置としては、実開昭61−152205号公報記載のものが知られている。これは、回転するロータリ爪で溝部を耕耘し、該ロータリ爪によって飛散された土壌を土入れ装置から畝上へ放出するように形成されている。
【0004】
【発明が解決しようとする課題】
従来は、畝の表面を中耕する作業と、畝の両側の溝部を耕耘排土する作業は、夫々専用の作業機によって各別に行っているため、作業工数が多くなっている。
【0005】
そこで、この発明はこれらの作業を1台の作業機で同時に行うようにしたカルチベータに於いて、該カルチベータによる良好な中耕作業を効率良く実施することができるようにすることを目的とする。
【0006】
【課題を解決するための手段】
本発明は上記目的を達成するために提案せられたものであり、カルチ爪を複数本並設してカルチ部を形成し、このカルチ部を牽引して畝の表面を中耕すると共に、該カルチ部の左右両側に畝間の溝部を耕耘耕土するロータリ爪を設けて成るカルチベータに於いて、前記カルチベータのカルチ部はリンク機構部を介して上下動自在に設けられており、且つ、尾輪の上面に沿って下方へ屈曲されて成るメインビームと、該メインビームの先端に固着された分草ステーとを有して成るカルチベータを提供するものである。
【0007】
【発明の実施の形態】
以下、本発明の実施の形態を図面に従って詳述する。図1はカルチベータ10の背面斜視図であり、メインツールバー11の中央前面部に駆動入力部12が設けられており、該駆動入力部12に入力されたPTO動力は駆動軸14から左右のチェーン伝動部15,15へ伝達される。
【0008】
また、メインツールバー11の中央後面部にリンク機構部16を介してサブツールバー17が装着されており、該サブツールバー17に複数本のアーム18を垂設し、夫々のアーム18にカルチ爪19を取り付けてカルチ部20を形成する。
【0009】
前記リンク機構部16は図2に示すように、メインツールバー11に取り付けられたブラケット21と、サブツールバー17に固着したブラケット22とを等長のリンク23,24で連結して構成されている。従って、リンク23,24が平行に回動してカルチ部20全体が一体的に上下動可能となっている。また、リンク23の後部とリンク24の前部間にバネ25を介装し、このバネ25によってカルチ部20を下降方向へ付勢する。
【0010】
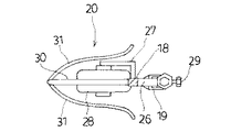
図2及び図3に示すように、前記アーム18の下端には後方へブラケット26を突設するとともに、前方へステー27を突設する。そして、ブラケット26に側面視略円弧形のカルチ爪19を上下移動調節自在に装着し、ステー27に尾輪28を枢着する。
【0011】
尚、ボルト29を弛緩すれば、複数のカルチ爪19を夫々独立して上下させることができ、畝の凹凸に合わせてカルチ爪19を各別に調整できる。また、図示は省略するが、リンク機構部を複数個設け、夫々のリンク機構部毎にカルチ爪19を1つずつ装着してもよい。然るときは、各カルチ爪19が夫々独立して上下に揺動し、畝の凹凸に追従していく。
【0012】
更に、前記アーム18から前方へメインビーム30を突設し、その前部を尾輪28に沿って下方へ屈曲させる。更に該メインビーム30の先端には左右に分草ステー31,31を固着し、夫々の分草ステー31,31を尾輪28の両側方へ湾曲させて配設する。
【0013】
ここで、図2及び図4に示すように、前記リンク機構部16のブラケット21はメインツールバー11にスライド自在に取り付けられており、該ブラケット21の上部にステー32を突設して雌螺子ピース33を装着する。そして、メインツールバー11に固設したスタンド34へクランクハンドル35の基端部を支持させ、該クランクハンドル35の先端に雄螺子部36を刻設して前記雌螺子ピース33へ螺着する。
【0014】
而して、該クランクハンドル35を例えば右回転すれば前記雌螺子ピース33がスタンド34側へ引き寄せられ、ブラケット21がメインツールバー11に沿って左方向へスライドする。従って、図4の二点鎖線で示すように、リンク機構部16を介してカルチ部20全体が一体的に左側へ移動する。また、該クランクハンドル35を左回転すれば、前述とは逆にカルチ部20全体が一体的に右側へ移動する。
【0015】
一方、図1に示すように、前記カルチ部20の左右両側にロータリ爪37が設けられており、前記チェーン伝動部15から伝達された動力により回転駆動される。該ロータリ爪37の回転によって畝38の両側の溝部39を耕耘し、土入れ装置40の開口部40aから畝38上へ土壌を放出するように形成してある。
【0016】
而して、当該カルチベータ10によって畝38の表面を中耕する場合は、畝38上に育成中の作物間に前記カルチ爪19をセットし、ロータリ爪37を回転駆動しながら該カルチベータ10をトラクタで牽引する。前述したように、カルチ部20は独立して上下調整可能であり、各カルチ爪19の位置合わせは極めて容易に行える。
【0017】
そして、カルチ爪19によって畝38が浅く耕起され、畝38上の雑草を掘り起こして除去する。ここで、作物は前記メインビーム30と分草ステー31により左右へ振り分けられるので、作物が尾輪28によって踏み付けられることはない。また、カルチ部20は一体的に上下揺動可能であるので、畝38の凹凸に追従して良好な中耕作業を行うことができる。尚、複数本並設されているカルチ爪19のうち、少なくとも最外側に夫々尾輪28を設けてあるので、カルチ部20が安定的に畝38を移動することができる。
【0018】
そして、カルチ部20による畝38の中耕作業と同時に、ロータリ爪37によって溝部39の除草と畝38への倍土を行うことにより、従来専用の作業機によって各別に行っていた作業を同時に行うことができるようになる。
【0019】
尚、本発明は、本発明の精神を逸脱しない限り種々の改変を為すことができ、そして、本発明が該改変されたものに及ぶことは当然である。
【0020】
【発明の効果】
以上、説明したように本発明は、カルチ部によって畝の表面を中耕するとともに、ロータリ爪によって畝間の溝部を耕耘排土して畝への倍土を行うため、1台の作業機で畝と溝部とを同時に作業できる。
【0021】
而して、本発明は、特にカルチ部はリンク機構によって上下動自在に形成されると共に、尾輪に沿って下方へ屈曲されてなるメインビームと、該メインビームの先端に固着された分草ステーとを有して成るから、該カルチ部は一体的に上下動可能であり、依って、畝の凹凸に追従して中耕作業を為し、且つ、メインビームと分草ステーとによって作物は左右に振り分けられるので、該作物は尾輪によって踏み付けられることはなくなる。斯くして、本発明のカルチベータは良好な中耕作業を行うことができ、中耕作業の作業効率が著しく向上できる。
【図面の簡単な説明】
【図1】カルチベータの背面斜視図。
【図2】カルチ部の側面図。
【図3】図2のA−A線矢視図。
【図4】カルチ部の背面図。
【符号の説明】
10 カルチベータ
16 リンク機構部
19 カルチ爪
20 カルチ部
37 ロータリ爪
38 畝
39 溝部
Claims (1)
- カルチ爪を複数本並設してカルチ部を形成し、このカルチ部を牽引して畝の表面を中耕すると共に、該カルチ部の左右両側に畝間の溝部を耕耘耕土するロータリ爪を設けて成るカルチベータに於いて、
前記カルチベータのカルチ部はリンク機構部を介して上下動自在に設けられており、且つ、尾輪の上面に沿って下方へ屈曲されて成るメインビームと、該メインビームの先端に固着された分草ステーとを有して成ることを特徴とするカルチベータ。
Priority Applications (1)
| Application Number | Priority Date | Filing Date | Title |
|---|---|---|---|
| JP19390695A JP3591069B2 (ja) | 1995-07-28 | 1995-07-28 | カルチベータ |
Applications Claiming Priority (1)
| Application Number | Priority Date | Filing Date | Title |
|---|---|---|---|
| JP19390695A JP3591069B2 (ja) | 1995-07-28 | 1995-07-28 | カルチベータ |
Publications (2)
| Publication Number | Publication Date |
|---|---|
| JPH0937604A JPH0937604A (ja) | 1997-02-10 |
| JP3591069B2 true JP3591069B2 (ja) | 2004-11-17 |
Family
ID=16315714
Family Applications (1)
| Application Number | Title | Priority Date | Filing Date |
|---|---|---|---|
| JP19390695A Expired - Fee Related JP3591069B2 (ja) | 1995-07-28 | 1995-07-28 | カルチベータ |
Country Status (1)
| Country | Link |
|---|---|
| JP (1) | JP3591069B2 (ja) |
-
1995
- 1995-07-28 JP JP19390695A patent/JP3591069B2/ja not_active Expired - Fee Related
Also Published As
| Publication number | Publication date |
|---|---|
| JPH0937604A (ja) | 1997-02-10 |
Similar Documents
| Publication | Publication Date | Title |
|---|---|---|
| US4027733A (en) | Weed pulling machine | |
| JPH0746921B2 (ja) | 土壌曝気装置 | |
| US20100263579A1 (en) | Reducing build up of crop residue on shanks | |
| US4762181A (en) | Minimum tillage implement | |
| US3680648A (en) | Row crop cultivator | |
| US5152349A (en) | Coulter assembly for deep tillage apparatus | |
| US2319899A (en) | Damming cultivator | |
| US4544038A (en) | Rotary tiller apparatus and pivotal support structure therefor | |
| CN212278739U (zh) | 一种复合式机械除草机 | |
| US4421177A (en) | End drive rotary cultivator | |
| HU231007B1 (hu) | Sorköz-művelő kultivátor | |
| JP3591069B2 (ja) | カルチベータ | |
| JP5242524B2 (ja) | 砂糖きび管理作業機 | |
| JP3977269B2 (ja) | カルチベータ類に装着される株元除草装置 | |
| CN112005639B (zh) | 一种复合式机械除草机 | |
| CN112262628A (zh) | 一种稻麦种植用对行作业装置 | |
| JP4005512B2 (ja) | 中耕除草機 | |
| US2655855A (en) | Multiple purpose cultivator attachment | |
| RU214916U1 (ru) | Рабочая секция пропашного культиватора | |
| KR101934235B1 (ko) | 밭이랑 곡선면 궤도 이탈 방지 및 경사면 수평 유지가 가능한 트랙터용 부속 작업기의 연결장치 | |
| JPH068644Y2 (ja) | 耕耘装置 | |
| CN2413471Y (zh) | 一种苗田灭茬机 | |
| RU233415U1 (ru) | Борона для междурядной обработки пропашных культур | |
| US4042042A (en) | Soil cultivating machines | |
| US4907652A (en) | Packer harrow implement |
Legal Events
| Date | Code | Title | Description |
|---|---|---|---|
| A521 | Written amendment |
Free format text: JAPANESE INTERMEDIATE CODE: A523 Effective date: 20040212 |
|
| TRDD | Decision of grant or rejection written | ||
| A01 | Written decision to grant a patent or to grant a registration (utility model) |
Free format text: JAPANESE INTERMEDIATE CODE: A01 Effective date: 20040803 |
|
| A61 | First payment of annual fees (during grant procedure) |
Free format text: JAPANESE INTERMEDIATE CODE: A61 Effective date: 20040816 |
|
| R150 | Certificate of patent or registration of utility model |
Free format text: JAPANESE INTERMEDIATE CODE: R150 |
|
| FPAY | Renewal fee payment (event date is renewal date of database) |
Free format text: PAYMENT UNTIL: 20070903 Year of fee payment: 3 |
|
| FPAY | Renewal fee payment (event date is renewal date of database) |
Free format text: PAYMENT UNTIL: 20100903 Year of fee payment: 6 |
|
| LAPS | Cancellation because of no payment of annual fees |