JP3553045B2 - バイオセンサ - Google Patents
バイオセンサ Download PDFInfo
- Publication number
- JP3553045B2 JP3553045B2 JP2001586467A JP2001586467A JP3553045B2 JP 3553045 B2 JP3553045 B2 JP 3553045B2 JP 2001586467 A JP2001586467 A JP 2001586467A JP 2001586467 A JP2001586467 A JP 2001586467A JP 3553045 B2 JP3553045 B2 JP 3553045B2
- Authority
- JP
- Japan
- Prior art keywords
- solution
- biosensor
- gap
- inspected
- reagent
- Prior art date
- Legal status (The legal status is an assumption and is not a legal conclusion. Google has not performed a legal analysis and makes no representation as to the accuracy of the status listed.)
- Expired - Fee Related
Links
Images
Classifications
-
- G—PHYSICS
- G01—MEASURING; TESTING
- G01N—INVESTIGATING OR ANALYSING MATERIALS BY DETERMINING THEIR CHEMICAL OR PHYSICAL PROPERTIES
- G01N33/00—Investigating or analysing materials by specific methods not covered by groups G01N1/00 - G01N31/00
- G01N33/48—Biological material, e.g. blood, urine; Haemocytometers
- G01N33/50—Chemical analysis of biological material, e.g. blood, urine; Testing involving biospecific ligand binding methods; Immunological testing
- G01N33/53—Immunoassay; Biospecific binding assay; Materials therefor
- G01N33/543—Immunoassay; Biospecific binding assay; Materials therefor with an insoluble carrier for immobilising immunochemicals
- G01N33/54366—Apparatus specially adapted for solid-phase testing
- G01N33/54386—Analytical elements
- G01N33/54387—Immunochromatographic test strips
- G01N33/54388—Immunochromatographic test strips based on lateral flow
-
- G—PHYSICS
- G01—MEASURING; TESTING
- G01N—INVESTIGATING OR ANALYSING MATERIALS BY DETERMINING THEIR CHEMICAL OR PHYSICAL PROPERTIES
- G01N33/00—Investigating or analysing materials by specific methods not covered by groups G01N1/00 - G01N31/00
- G01N33/48—Biological material, e.g. blood, urine; Haemocytometers
- G01N33/50—Chemical analysis of biological material, e.g. blood, urine; Testing involving biospecific ligand binding methods; Immunological testing
- G01N33/53—Immunoassay; Biospecific binding assay; Materials therefor
- G01N33/543—Immunoassay; Biospecific binding assay; Materials therefor with an insoluble carrier for immobilising immunochemicals
- G01N33/54366—Apparatus specially adapted for solid-phase testing
- G01N33/54386—Analytical elements
- G01N33/54387—Immunochromatographic test strips
-
- Y—GENERAL TAGGING OF NEW TECHNOLOGICAL DEVELOPMENTS; GENERAL TAGGING OF CROSS-SECTIONAL TECHNOLOGIES SPANNING OVER SEVERAL SECTIONS OF THE IPC; TECHNICAL SUBJECTS COVERED BY FORMER USPC CROSS-REFERENCE ART COLLECTIONS [XRACs] AND DIGESTS
- Y10—TECHNICAL SUBJECTS COVERED BY FORMER USPC
- Y10S—TECHNICAL SUBJECTS COVERED BY FORMER USPC CROSS-REFERENCE ART COLLECTIONS [XRACs] AND DIGESTS
- Y10S435/00—Chemistry: molecular biology and microbiology
- Y10S435/81—Packaged device or kit
-
- Y—GENERAL TAGGING OF NEW TECHNOLOGICAL DEVELOPMENTS; GENERAL TAGGING OF CROSS-SECTIONAL TECHNOLOGIES SPANNING OVER SEVERAL SECTIONS OF THE IPC; TECHNICAL SUBJECTS COVERED BY FORMER USPC CROSS-REFERENCE ART COLLECTIONS [XRACs] AND DIGESTS
- Y10—TECHNICAL SUBJECTS COVERED BY FORMER USPC
- Y10S—TECHNICAL SUBJECTS COVERED BY FORMER USPC CROSS-REFERENCE ART COLLECTIONS [XRACs] AND DIGESTS
- Y10S435/00—Chemistry: molecular biology and microbiology
- Y10S435/97—Test strip or test slide
-
- Y—GENERAL TAGGING OF NEW TECHNOLOGICAL DEVELOPMENTS; GENERAL TAGGING OF CROSS-SECTIONAL TECHNOLOGIES SPANNING OVER SEVERAL SECTIONS OF THE IPC; TECHNICAL SUBJECTS COVERED BY FORMER USPC CROSS-REFERENCE ART COLLECTIONS [XRACs] AND DIGESTS
- Y10—TECHNICAL SUBJECTS COVERED BY FORMER USPC
- Y10S—TECHNICAL SUBJECTS COVERED BY FORMER USPC CROSS-REFERENCE ART COLLECTIONS [XRACs] AND DIGESTS
- Y10S436/00—Chemistry: analytical and immunological testing
- Y10S436/805—Optical property
-
- Y—GENERAL TAGGING OF NEW TECHNOLOGICAL DEVELOPMENTS; GENERAL TAGGING OF CROSS-SECTIONAL TECHNOLOGIES SPANNING OVER SEVERAL SECTIONS OF THE IPC; TECHNICAL SUBJECTS COVERED BY FORMER USPC CROSS-REFERENCE ART COLLECTIONS [XRACs] AND DIGESTS
- Y10—TECHNICAL SUBJECTS COVERED BY FORMER USPC
- Y10S—TECHNICAL SUBJECTS COVERED BY FORMER USPC CROSS-REFERENCE ART COLLECTIONS [XRACs] AND DIGESTS
- Y10S436/00—Chemistry: analytical and immunological testing
- Y10S436/807—Apparatus included in process claim, e.g. physical support structures
Landscapes
- Health & Medical Sciences (AREA)
- Immunology (AREA)
- Life Sciences & Earth Sciences (AREA)
- Engineering & Computer Science (AREA)
- Molecular Biology (AREA)
- Biomedical Technology (AREA)
- Chemical & Material Sciences (AREA)
- Hematology (AREA)
- Urology & Nephrology (AREA)
- Biotechnology (AREA)
- Microbiology (AREA)
- Cell Biology (AREA)
- Food Science & Technology (AREA)
- Medicinal Chemistry (AREA)
- Physics & Mathematics (AREA)
- Analytical Chemistry (AREA)
- Biochemistry (AREA)
- General Health & Medical Sciences (AREA)
- General Physics & Mathematics (AREA)
- Pathology (AREA)
- Investigating Or Analysing Biological Materials (AREA)
Description
技術分野
本発明は、バイオセンサに関し、特にクロマトグラフィを利用したバイオセンサに関するものである。
【0002】
背景技術
従来のバイオセンサは、被検査溶液を展開する展開層を備え、展開層の一部に固定化された試薬固定化部と、被検査溶液の展開により溶出可能な標識試薬を保持した試薬保持部とを有し、試薬固定化部分における標識試薬の結合量を測定することにより、被検査溶液中の測定成分を定性もしくは定量していた。このようなバイオセンサの例として、免疫クロマトセンサがある。
【0003】
免疫クロマトセンサの一般的な構成は、被検査溶液を添加する添加層と、複数の展開層と、展開層の終端に吸水層とを備えるものである。そして、この展開層の一部に、被検査溶液中の測定対象物に対する抗体を固定化している抗体固定化部を有し、その抗体固定化部分よりも添加層側に標識された抗体が、被検査溶液により溶出可能な乾燥状態で標識試薬保持部に保持されている。
このような免疫クロマトセンサは、被検査溶液を添加層に必要量添加し、展開層上に備えた多孔質材料中に被検査溶液が浸透することにより測定が開始する。
【0004】
被検査溶液の添加方法としては、被検査溶液中に添加部分を一定時間浸漬する方法や、高精度ディスペンサ、あるいはスポイトなどを用いて一定量添加する方法、また、尿などを被検査溶液とする場合に、排尿時に直接、被検査溶液を添加部分に一定時間あてる方法などが用いられていた。
【0005】
免疫クロマトセンサの測定結果は、抗体固定化部に結合した標識抗体により検出される。この標識抗体として、一般的な標識物には金コロイド粒子があり、抗体固定化部の結合が金コロイド粒子により目視可能となり、目視により測定結果を得ることができる。なお、これは、固定化抗体―測定対象物―標識抗体の複合体が形成される抗原抗体反応のサンドイッチ反応を測定原理としたものであるが、その他に、競合反応を測定原理とした場合でも、同様に抗体固定化もしくは抗原固定化部分における標識試薬の結合状態を確認することで測定結果を得ることができる。
【0006】
また、前述したサンドイッチ反応による測定結果については、目視による定性判定を必要とするものであるが、必要とされる測定結果が半定量、もしくはそれよりも精度の高い判定が必要とされる場合には、特開平10−274624号公報に開示された、光学的な読み取り装置を用いて透過方式により読み取る方法や、特開平10−274653号公報に開示された、カメラなどで測定結果を画像として取り込み、演算処理する方法もある。
【0007】
近年、医療診断現場では、POC(ポイント・オブ・ケアー)の概念により、迅速、簡便、正確、さらには低価格で容易に入手可能な測定装置が望まれているが、前述したような従来の方法によれば、センサ部に被検査溶液を添加する場合、例えば被検査溶液が血液ならば、注射器を用いて採血を行い、一般的には、遠心分離器などを用いて、有形成分である血球と血漿を分離する操作を行った後に、ディスペンサ、あるいはスポイトなどの用具を用いてセンサ部に添加しなければならなかった。
【0008】
このような注射器による採血方法は、医療技術として特殊な技能を必要とし、さらに、遠心分離操作を必要とすることは、一般家庭、およびそれらの技術を有しない個人が自己の測定として行うことはできなかった。
また、さらに被検査溶液を定量するにはディスペンサなどの器具を必要とするため、操作が煩雑になる問題があった。
【0009】
また、被検査溶液が尿などの場合には、紙コップなどの容器に一度蓄尿し、センサの一部を一定時間浸漬させる方法や、被検査溶液を一定体積定量する必要があるならば、それら蓄尿したものを、血液の場合と同様にディスペンサ、あるいはスポイトなどを用いて添加する方法、また、測定に定量精度を必要としない比較的精度の低いセンサであれば、排尿時に直接、尿を添加部分に一定時間あてる方法が取られてるが、これらの方法では、紙コップなどに一度蓄尿する必要があったり、直接尿にあてる場合は被検査溶液の体積を正確に規定する手段がなく、結果的に精度の低い定性測定などに限定される問題があった。
【0010】
本発明は、かかる問題点を解決するためになされたものであり、高度な装置あるいは操作を必要とすることなく、微量体積の被検査溶液でも簡易かつ高精度の測定を行うことができるバイオセンサを提供することを目的とする。
【0011】
発明の開示
本発明は、被検査溶液を展開する展開層の一部に、固定化された試薬固定化部と、前記被検査溶液の展開により溶出可能な標識試薬を保持する標識試薬保持部とを有し、前記試薬固定化部分における前記標識試薬の結合量を測定することにより、前記被検査溶液中の測定成分を定性もしくは定量するバイオセンサであって、前記被検査溶液が毛細管現象によって流入される空間である間隙部を、前記展開層の一端部のみに形成する、空間形成部を備えることを特徴とするものである。これにより、間隙部に被検査溶液を添加する場合に、高精度ディスペンサなどを使用することなく、微量未知体積の被検査溶液液滴においても、液滴を間隙部に接触させることで、間隙部中に確実に被検査溶液が吸引され、簡易かつ高精度の測定を実施することができる。
【0012】
また、本発明は、被検査溶液を展開する展開層の一部に、固定化された試薬固定化部を有し、該試薬固定化部における標識試薬の結合量を測定することにより、前記被検査溶液中の測定成分を定性もしくは定量するバイオセンサであって、前記被検査溶液が毛細管現象によって流入される空間である間隙部を、前記展開層の一端部のみに形成する、空間形成部を備えるとともに、前記間隙部中に、前記被検査溶液の流入により溶解可能な標識試薬を保持している標識試薬保持部を備えることを特徴とするものである。これにより、被検査溶液が間隙部に導入されたときに、間隙部内の被検査溶液中の標識試薬が溶解および拡散するため、標識試薬が被検査溶液に対して、より均一な拡散が可能になり、簡易かつ高精度の測定を実施することができる。
【0013】
また、本発明は、前記間隙部が、被検査溶液を一時的に保持することを特徴とするものである。これにより、被検査溶液が間隙部へ浸透する吸引量を確認することができるとともに、展開層へより確実な浸透を可能にし、測定誤操作および検体不足を軽減した、より高精度な測定を実施することができる。
【0014】
また、本発明は、前記間隙部が、該間隙部の体積により被検査溶液の流入量を規定することを特徴とするものである。これにより、予め被検査溶液を一定体積定量する操作を必要とせず、また、検体の採取などの特殊技能を必要とせず、簡易な操作で測定を実施することができる。
【0015】
また、本発明は、前記間隙部が、前記展開層を展開する十分な被検査溶液を流入する体積を有することを特徴とするものである。これにより、空間体積を、測定に必要な被検査溶液量に対して、十分な体積にしておくことで、検体不足を解消し、より高精度の測定を行うことが可能である。
【0016】
また、本発明は、前記間隙部中に、細胞成分を破壊する細胞成分破壊試薬部を備えることを特徴とするものである。これにより、血液などの細胞成分を含む被検査溶液を用いた測定を、予め遠心分離などの操作をすることなく、直接、被検査溶液として間隙部に添加することを可能にし、添加した被検査溶液は間隙部へ吸引されるため、被検査溶液を添加する際に、添加するための装置および被検査溶液の前処理装置を必要とせず、簡易な操作で測定を行うことができる。
【0017】
また、本発明は、前記間隙部中に、細胞成分を収縮する細胞成分収縮試薬部を備えることを特徴とするものである。これにより、細胞成分を有する被検査溶液を用いた場合においても、細胞成分収縮剤の働きにより、前記展開層を細胞成分で目詰まりさせることなく、簡易に測定操作を行うことができるとともに、高精度の結果を得ることができる。
【0018】
また、本発明は、前記間隙部中に、漂白試薬部を備えることを特徴とするものである。これにより、被検査溶液の持つ色などの、反応に関係のない色が、反応読みとりを行う前記試薬固定化部に対して残ることによる測定への悪影響を低減させ、高精度な測定結果が得られる効果がある。
【0019】
また、本発明は、前記間隙部が、20μl(マイクロリットル)以下の体積を有することを特徴とするものである。これにより、被検査溶液が極微量である場合や、採血用穿刺器具などにより採取した微量未知体積の被検査溶液を測定する場合においても、規定された体積の間隙部内へ添加されるため、正確な体積の被検査溶液の導入を行うことができ、微量被検査溶液においても簡易で高精度の測定を行うことができる。
【0020】
また、本発明は、前記間隙部が、外部から被検査溶液の流入を確認する手段を有することを特徴とするものである。これにより、測定における被検査溶液の流入を確認もしくは検知することで、測定開始時間を検出することが可能になり、かつ、適切な被検査溶液量を得ることで、被検査溶液不足の解消と正確な測定開始時間を検出でき、より高精度の測定を行うことができる。
【0021】
また、本発明は、前記空間形成部が、その一部もしくは全部が光透過性を有することを特徴とするものである。これにより、外部から被検査溶液の吸引量を目視もしくは光学的な測定法を用いて観察することができ、被検査溶液量の不足が生じた場合による測定誤操作を解消し、より高精度の測定を行うことができる。
【0022】
また、本発明は、前記間隙部中に、測定に不要な有形成分を分離する分離部を備えることを特徴とするものである。これにより、被検査溶液中の測定に不要な有形成分を分離できる効果を得ることができ、被検査溶液中の測定に不要な有形成分を、遠心分離、濾過などの操作で予め取り除く必要がなく、簡易で高精度の測定を行うことができる。
【0023】
また、本発明は、前記間隙部に接するよう被検査溶液を保持する検体保持部を備えることを特徴とするものである。これにより、被検査溶液を採取後に別の容器に移す操作や、採取した被検査溶液を一定体積定量する操作を不要とするとともに、被検査溶液を検体保持部で保持でき、外部への検体汚染を低減させ、安全に、衛生的に、また迅速かつ簡易に、高精度な測定を可能とできる。
【0024】
また、本発明は、前記検体保持部が、前記間隙部の体積よりも大きい量の被検査溶液を保持するようにしたものである。これにより、測定に必要な十分な体積の被検査溶液を保持でき、被検査溶液の外部への飛散、汚染を防止しより安全、衛生な測定が可能になるとともに、被検査溶液不足を解消して、正確な測定が可能となる。
【0025】
また、本発明は、前記検体保持部の底面の高さ位置が、前記間隙部内の底面の高さ位置に対して、同一または高い位置にあることを特徴とするものである。これにより、被検査溶液が間隙部に流入し易くなり、正確な測定が可能となる。
【0026】
また、本発明は、前記間隙部が、100μl以下の体積を有することを特徴とするものである。これにより、微小な被検査溶液を吸入できるとともに、また、測定操作もしやすく操作性を高く保つことができる。
【0027】
また、本発明は、前記間隙部に、被検査溶液の流入を助成する空気孔を備えるようにしたものである。これにより、間隙部内の、検体が流入される以前に存在する空気が確実に抜けるようにして、間隙部への被検査溶液の流入を、迅速かつ確実に行うことが可能となる。
【0028】
また、本発明は、前記間隙部に、被検査溶液の浸透により湿潤可能な多孔質材料を備えることを特徴とするものである。これにより、間隙部に被検査溶液を流入させる場合に、多項質材料が流入の補助材となり流入し易くなり、また、被検査溶液中の不純物を多孔質材料がトラップすることで、展開層の流入、浸透阻害を低減させることができる。
【0029】
また、本発明は、前記試薬固定化部の試薬、及び前記標識試薬を含むすべての試薬が乾燥状態であるとともに、その全体が乾燥状態であることを特徴とするものである。これにより、保存安定性能に優れ、また、持ち運び自在となるバイオセンサが得ることができる。
【0030】
また、本発明は、前記バイオセンサが免疫クロマトグラフィに用いられるものであることを特徴とするものである。これにより、簡易法として利用される免疫クロマトグラフィにおいて、被検査溶液を高精度ディスペンサなどで一定体積定量することなく、あいまいな量の被検査溶液添加で、前記間隙部により正確な一定体積の被検査溶液を定量でき、より高精度な測定を実現できる
【0031】
また、本発明は、前記バイオセンサがワンステップ免疫クロマトグラフィに用いられるものであることを特徴とするものである。これにより簡易免疫測定法として利用されるワンステップ免疫クロマトグラフィにおいて、測定時に使用者があらかじめ被検査溶液体積を定量する必要をなくし、また、液量の測定のミスによる誤判定を低減させ、従来のワンステップ免疫クロマトグラフィのもつ簡易操作を損なうことなく、より正確な測定が実現できる。
【0032】
発明を実施するための最良の形態
実施の形態1.
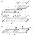
図1は本発明の実施の形態1によるバイオセンサの構造図の一例であり、図1(a)はバイオセンサの分解図、図1(b)はバイオセンサの斜視図である。
図1において、2は被検査溶液を展開する展開層であり、ニトロセルロースで構成される。3は展開層2における吸水層を示し、ガラス繊維濾紙で構成される。展開層2に使用する材料としては、被検査溶液により湿潤可能な材料であれば、濾紙、不織布、メンブレン、布など任意の多孔質材料でも構成することができる。なお、本明細書中においては、被検査溶液と検体とは実質的に同じものを指す。
【0033】
4は展開層2の一部に、被検査溶液の展開により溶出可能な乾燥状態で、被検査溶液中の測定対象物に対する抗体が金コロイドで標識され保持されている標識試薬保持部である。5は展開層2の一部に、被検査溶液中の測定対象物に対する抗体を固定化した試薬固定化部であり、当該被検査溶液中の測定対象物に対する抗体は、標識試薬保持部4に保持された標識試薬とは異なるエピトープで結合し、被検査溶液中の測定対象物と複合体を形成するように乾燥状態で固定化されている。
【0034】
なお、前述した標識試薬保持部4で抗体を標識する金コロイドは、この試薬固定化部5における結合を検出する手段として選択されるものであり、その他にも、例えば、酵素、タンパク質、色素、蛍光色素、ラテックスなどの着色粒子など任意に選択することが可能である。
【0035】
6は、展開層2の一部分を除いて、密着被覆する液体不透過性シート材であり、ここでは透明PETテープで構成されている。なお、この液体不透過性シート材6により展開層2上を被覆させることで、被検査溶液の添加部分以外への点着を遮断保護するとともに、不用意な被検査溶液の接触や被験者が手などで直接、展開層2を接触するなど外部からの汚染を防止することができる。また、試薬固定化部5を覆う液体不透過性シート材6は、測定結果を確認する部分であるため、透明な材料であることが好ましく、少なくとも、被検査溶液が透過可能な状態を有することが好ましい。また、より高精度な測定を必要とする場合には、液体不透過性シート材6が覆う展開層2の上部のみならず、被検査溶液の浸透方向に対する平行側面をも密閉させる構造をとってもよい。
【0036】
7は展開層2を保持する基板であり、白色PETフィルムで構成されている。この基板7は、展開層2を補強する役割を有するとともに、血液、唾液、尿など感染の危険性のある溶液を被検査溶液に用いる場合には、それらを遮断する作用も有する。さらに、展開層2が湿潤したときに、光透過性を帯びる場合は、光を遮断する効果を有するようにすることも可能である。
【0037】
8は被検査溶液を毛細管現象により展開層2に流入させるための空間である間隙部1を形成する空間形成材であり、透明PETフィルムを積層させて構成している。この空間形成材8は、被検査溶液添加後のバイオセンサを取り扱う際に、不用意な被検査溶液が外部へ付着あるいは飛散するなどの汚染を保護する役割も有する。
【0038】
なお、空間形成材8には、間隙部1に対する被検査溶液の流入を助成する空気孔を備えるようにしてもよい。空間形成材8の形状によっては、間隙部1の被検査溶液を付着させるための端部以外の端部が側壁等でふさがれている場合などがあり、このような場合においては、間隙部1の開口している端部に検体を付着させても、この検体が導入される以前に間隙部1に存在する空気が間隙部1から抜けない、または抜け難いことにより、間隙部1への被検査溶液導入が遅くなったり、全く導入されない状態となってしまったりして、精度の低い測定結果または誤った測定結果を与える場合が生じる。これに対し、空間形成材8に空気孔を設けておくことで、間隙部1内の空気を抜くことができ、検体が間隙部1に流入しやすくして、測定に対する悪影響の発生を防止することが可能となる。この空気孔は、前記間隙部の被検査溶液が流入する方向から見て最も奥に当たる部分に設置することが好ましいが、必要に応じて最奥部以外設置しても、問題ない。空間形成材8の材料としては、ABS、ポリスチレン、ポリ塩化ビニルなどの合成樹脂材料の他、金属、ガラスなどの溶液不透過性の材料を用いることも可能であり、被検査溶液の間隙部1への流入を確認するためには、透明もしくは半透明であることが好ましいが、透明でなくとも有色、あるいは不透明の材料でも構成することができる。
【0039】
間隙部1は空間形成材8が展開層2上に配置されることにより形成されており、この間隙部1は展開層2と接しているため、間隙部1に被検査溶液が流入することにより、被検査溶液の展開層2への浸透が開始し、測定が行われる。被検査溶液が極微量である場合や、採血用穿刺器具などにより採取した微量未知体積の被検査溶液を測定する場合において高精度の測定を行うためには、この間隙部1の体積としては20μl(マイクロリットル)以下とすることが好ましい。
【0040】
なお、細胞成分を有する被検査溶液を検体とする場合には、間隙部1に、細胞収縮試薬を保持する構成とすることが好ましく、例えば細胞収縮試薬としては塩化カリウムを用いる。このような細胞収縮試薬を設けることにより、細胞成分を有する被検査溶液を用いた場合においても、高精度ディスペンサ等を用いてあらかじめ一定体積の被検査溶液を定量することなく、簡易に測定操作を行うことが可能であり、また、細胞成分収縮剤の働きにより、前記展開層を細胞成分で目詰まりさせることなく、なおかつ高精度の測定結果を得ることが可能となる。細胞収縮試薬は、前記被検査溶液中に細胞成分を含む場合に設置すべき試薬であり、細胞成分を含まない被検査溶液を用いる場合には特に必要ではない。また細胞成分収縮剤は、細胞を収縮する効果があれば、前記塩化カリウム以外の無機塩、塩化ナトリウム、リン酸ナトリウム等塩を含む無機化合物や、グリシン、グルタミン酸、等のアミノ酸、プロリン等のイミノ酸、グルコ−ス、スクロ−ス、トレハロ−スなどの糖類、グルシト−ル等の糖アルコ−ルでも同様に実施可能である。この様な細胞成分収縮剤を含む系は、特に全血を被検査溶液として用いる場合に特に有効である。
【0041】
また、必要に応じて漂白作用を有する試薬成分として過炭酸ナトリウムを間隙部1に保持させることも可能である。このような漂白試薬部を備えることで、被検査溶液の持つ色により生じる、反応読み取りを行う試薬固定化部5に対して起こる、いわゆるバックグラウンドを低減させ、結果的にS/N比を増大させることが可能となり、簡易でありながら、高精度な測定結果が得られる効果がある。ここでのバックグラウンドとは、反応に関係しない色、例えば被検査溶液自身が有色の場合に、試薬固定化部も含めて、展開層全体に色が残る現象を言う。また、S/N比とは、この場合、反応における前記標識試薬から得られるシグナルと、前記展開層以外に、前記標識試薬に由来しないバックグラウンドに起因して得られるいわゆるノイズとの比を言う。
【0042】
また、図2は前記図1で示したバイオセンサに分離層を設けたものの一例を示す図あり、図2(a)はバイオセンサの分解図、図2(b)はバイオセンサの斜視図である。なお、図1と同じ構成については、同じ符号を用いて説明を省略する。
【0043】
9は測定に不要な有形成分を分離することが可能な分離層であり、ガラス繊維濾紙で構成されている。なお、分離層9として、ガラス繊維濾紙を用いるのは一例であり、展開層2に用いる材料と同様に、被検査溶液により湿潤可能な材料であれば、不織布、濾紙、ガラス繊維、メンブレンフィルタ、布などの任意の材料で構成することが可能である。特に、分離層9として湿潤可能な多孔質材料を用いると、不純物をトラップして、不純物の展開層への流入や、不純物による測定に必要な成分の浸透阻害を防ぐことができるとともに、この分離層9が被検査溶液の流入の補助材としても機能し、間隙部1への被検査溶液の流入が容易となる。
【0044】
また、図3は図1で示したバイオセンサに、細胞成分破壊試薬部を設けたものの一例であり、図3(a)はバイオセンサの分解図、図3(b)はバイオセンサの斜視図である。なお、図1と同じ構成については、同じ符号を用いて説明を省略する。
【0045】
10は細胞成分を破壊する細胞成分破壊試薬を保持させた細胞成分破壊試薬部であり、塩化ナトリウムを乾燥状態にし、被検査溶液の浸透により溶解可能な状態で保持している。なお、細胞成分破壊試薬部10は、塩化ナトリウムで構成する以外にも細胞成分を破壊する試薬であれば、界面活性剤、塩化物、サポニン類、リゾチームなど任意の試薬で構成することが可能である。
【0046】
次に、本発明の実施の形態1によるバイオセンサの測定方法について図1、図2、図3を用いて説明する。
まず、被検査溶液を間隙部1に接触させると、毛細管現象により被検査溶液は間隙部1中に流入される。間隙部1に流入された被検査溶液は、間隙部1と展開層2とが接触する部分から、展開層2の終端側へと浸透する。被検査溶液が標識試薬保持部4に達したとき、標識試薬保持部4に標識された標識試薬の溶出が開始する。このとき、被検査溶液中に測定対象物が存在するならば、標識試薬保持部4より金コロイド標識抗体が反応しながら浸透が進む。そして、被検査溶液が試薬固定化部5に達したときに、測定対象物が存在するならば、その存在する量に応じて、固定化抗体と測定対象物と標識抗体との複合体が形成される。一方、測定対象物が存在しないか、あるいは検出感度以下の量であるならば、標識抗体はその大半が複合体を形成することなく展開層2上を通過する。そして、展開層2上を浸透する被検査溶液は吸水層3で吸収されて測定は終了する。また、測定の結果は、試薬固定化部5における、標識試薬の結合状態を確認することで得られる。
【0047】
また、図2に示したように、間隙部1の空間内に分離層9を有する場合には、被検査溶液が間隙部1に接触すると、間隙部1内に備えた分離層9が被検査溶液中の測定に不要な不純物を分離し、あるいは有形成分を分離し、不純物あるいは有形成分を除去した被検査溶液が展開層2へ浸透して、測定が行われることとなる。
【0048】
また、全血などの細胞成分を含む検査試薬液を用いる時に、図3に示すような間隙部1の空間部に細胞成分破壊試薬部10を有するバイオセンサを用いた場合には、被検査溶液が間隙部1に接触すると、間隙部1内に備えた細胞成分破壊試薬部10が被検査溶液中に含まれる全血などの細胞成分を破壊処理し、細胞成分を除去した被検査溶液が展開層2へ浸透して、測定が行われることとなる。
【0049】
このように、本実施の形態1によるバイオセンサによれば、展開層2上に空間を形成する空間形成材8を配置し、展開層2と空間形成材8によって形成された間隙部1に被検査溶液を接触させることによって測定を行ったので、高精度ディスペンサなどを使用することなく、微量未知体積の被検査溶液の液滴においても、その液滴を間隙部1に接触させることで、空間中に確実に被検査溶液が吸引されて、簡易かつ高精度の測定を行うことができる。
【0050】
また、間隙部1の空間部に必要に応じて分離層9を備えることで、測定に用いる被検査溶液に不要な有形成分が存在する、あるいはその可能性がある場合に、その不要な有形成分を取り除くことができるので、予め遠心分離や濾過などの操作を必要とすることなく、簡易な操作で高精度の測定を行うことができる。
【0051】
また、展開層2上に細胞成分破壊試薬部10を備えることで、血液などの細胞成分を含む被検査溶液を用いた測定を、予め遠心分離などの操作を必要とすることなく、直接全血を被検査溶液として測定することを可能とし、簡易かつ高精度の測定を行うことができる。
【0052】
なお、被検査溶液の流入量が十分であるかどうか、または測定が開始されたことを確認するために、あるいは被検査溶液の種類などを確認するために、空間形成材8を透して確認することができる構成としてもよい。また、間隙部1の体積により間隙部1内に流入する被検査溶液の体積を規定することにより、採取した被検査溶液の量に合わせて測定することが可能である。また、間隙部1内に十分な被検査溶液を流入する体積を有することで、検体不足を解消し、より正確性の高い測定を行うことができる。
【0053】
また、定性判定が必要な場合には、目視による測定も可能である。さらに、精度の高い測定を行うには、被検査溶液の浸透方向に対して展開層2の平行側面、および展開層2上面を液体不透過性材料で密着密閉させることで被検査溶液の浸透を整流し、被検査溶液中の測定対象物の量に応じたより均一な量の複合体が形成される。また、光学的な手法を用いて、標識物の結合量を測定することにより、定量的な結果を得ることもできる。
【0054】
また、本発明の実施の形態1では、固定化抗体と測定対象物と標識抗体との複合体を形成するサンドイッチ反応における抗原抗体反応について述べたが、試薬の選択によって、被検査溶液中の測定対象物と競合的に反応する試薬を用いた場合には、競合反応とすることもできる。また、抗原抗体反応以外にも、特異的な結合を利用したい場合には、任意の試薬成分で構成することも可能である。
【0055】
実施の形態2.
図4は本発明の実施の形態2によるバイオセンサの構造図の一例であり、図4(a)はバイオセンサの分解図、図4(b)はバイオセンサの斜視図である。なお、図1と同じ構成については、同じ符号を用いて説明を省略する。
図4と図1の構造の違いは、図1では標識試薬保持部4が展開層2上に標識されているのに対して、図4では標識試薬を保持した標識試薬保持層14を展開層2上に積層させて構成している。
【0056】
次に、本発明の実施の形態2によるバイオセンサの測定方法について図4を用いて説明する。
まず、被検査溶液を間隙部1に接触させると、毛細管現象により被検査溶液は間隙部1中に流入される。間隙部1に流入された被検査溶液は、標識試薬保持層14と間隙部1と展開層2とが接触する部分から、展開層2の終端側へと浸透する。このとき、展開層2上に積層された標識試薬保持層14より、標識された標識試薬の溶出が開始する。被検査溶液中に測定対象物が存在するならば、標識試薬保持層14より金コロイド標識抗体が反応しながら浸透が進む。そして、被検査溶液が試薬固定化部5に達したときに、測定対象物が存在するならば、その存在する量に応じて、固定化抗体―測定対象物―標識抗体の複合体が形成される。一方、測定対象物が存在しないか、あるいは検出感度以下の量であるならば、標識抗体はその大半が複合体を形成することなく展開層2上を通過する。そして、展開層2上を浸透する被検査溶液は吸水層3で吸収されて測定は終了する。また、測定の結果は、試薬固定化部5における、標識試薬の結合状態を確認することで得られる。
【0057】
このように、本実施の形態2によるバイオセンサによれば、展開層2上に標識試薬を保持した標識試薬保持層14を積層し、展開層2と標識試薬保持層14とから形成される間隙部1に被検査溶液を接触させることによって測定を行ったので、被検査溶液に溶解する標識試薬は、濾紙などの担体に保持されず、間隙部1内の被検査溶液中に、標識試薬が溶解および拡散されるため、標識試薬の被検査溶液に対するより均一な拡散が可能となり、より高精度なバイオセンサを提供することができる。
【0058】
なお、測定に必要な試薬成分も、標識抗体と同様に空間内に乾燥状態で形成させておくことにより、測定に必要な被検査溶液を全体に均一に溶解させることが可能である。ここで測定に必要な試薬成分とは、細胞成分破壊試薬、酵素基質、凝集試薬、緩衝液試薬、タンパク質保護試薬などであり、任意に、測定に必要なさまざまな試薬成分を導入することができる。
【0059】
また、間隙部1の空間部に必要に応じて分離層9を備えることで、測定に用いる被検査溶液に不要な有形成分が存在する、あるいはその可能性がある場合に、その不要な有形成分を取り除くことができるので、予め遠心分離や濾過などの操作を必要とすることなく、簡易な操作で高精度の測定を行うことができる。
【0060】
また、間隙部1の空間部に細胞成分破壊試薬部10を備えることで、血液などの細胞成分を含む被検査溶液を用いた測定を、予め遠心分離などの操作を必要とすることなく、直接全血を被検査溶液として測定することを可能とし、簡易かつ高精度の測定を行うことができる。
【0061】
なお、被検査溶液の流入量が十分であるかどうか、または測定が開始されたことを確認するために、あるいは被検査溶液の種類などを確認するために、空間形成材8を透して確認することができる構成としてもよい。
【0062】
また、間隙部1の体積により、間隙部1内に流入する被検査溶液の体積を規定することにより、採取した被検査溶液の量に合わせて測定することが可能である。
また、間隙部1内に十分な被検査溶液を流入する体積を有することで、検体不足を解消し、より正確性の高い測定を行うことができる。
【0063】
また、定性判定が必要な場合には、目視による測定も可能である。さらに、精度の高い測定を行うには、被検査溶液の浸透方向に対して展開層2の平行側面、および展開層2上面を液体不透過性材料で密着密閉させることで被検査溶液の浸透を整流し、被検査溶液中の測定対象物の量に応じたより均一な量の複合体が形成される。また、光学的な手法を用いて、標識物の結合量を測定することにより、定量的な結果を得ることもできる。
【0064】
また、本発明の実施の形態2では、固定化抗体と測定対象物と標識抗体との複合体を形成するサンドイッチ反応における抗原抗体反応について述べたが、試薬の選択によって、被検査溶液中の測定対象物と競合的に反応する試薬を用いた場合には、競合反応とすることもできる。また、抗原抗体反応以外にも、特異的な結合を利用したい場合には、任意の試薬成分で構成することも可能である。
【0065】
実施の形態3.
図6は本発明の実施の形態3によるバイオセンサの構造図であり、図6(a)はバイオセンサの分解図、図6(b)はバイオセンサの斜視図である。図において、図1と同一符号は同一又は相当する部分を示している。
【0066】
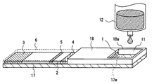
図6(a)及び図6(b)において、展開層2を保持する基板17は、白色PETフィルムで構成されている。基板17は展開層2よりも長手方向の長さが長く、基板17の端部近傍には、展開層2が配置されていない領域である検体保持領域17aが設けられている。この基板17は展開層2を補強する役割を有するとともに、血液、唾液、尿など感染の危険性のある溶液を被検査溶液に用いる場合には、それらの透過を遮断することもできる。さらに、展開層2が湿潤したときに、光透過性を帯びる場合は、光を遮断する効果を有するようにすることも可能である。18は被検査溶液を毛細管現象により展開層2に流入させるための空間である間隙部1を形成する空間形成材であり、ここでは、透明PETフィルムを積層させたものにより構成している。この空間形成材18は、展開層2及び検体保持領域17a上を覆うように配置されており、空間形成材18の試薬固定化部5に対向する端部以外の端部は、基板17の周縁部と密着されている。空間形成材18は、被検査溶液添加後のバイオセンサを取り扱う際に、不用意な被検査溶液が外部へ付着あるいは飛散するなどの汚染を保護する役割も有する。空間形成材18は、ABS、ポリスチレン、ポリ塩化ビニルなどの合成樹脂材料の他、金属、ガラスなどの溶液不透過性の材料を用いることも可能であり、透明もしくは半透明であることが好ましいが、透明でなくとも有色、あるいは不透明の材料でも構成することができる。空間形成材18の検体保持領域17a上の領域には、開口部18aが設けられている。この開口部18aと、検体保持領域17aと、空間形成材18の検体保持領域17aを囲む部分とが外部から被検査溶液を添加する部分である検体保持部11を構成している。1は空間形成材8が展開層2上に配置することにより形成される間隙部である。
【0067】
前記実施の形態1で示した例は、例えば微量採血針などにより微量採血を用いた指先血から直接添加する場合に適している。しかし、医療現場においては、シリンジ採血もしくは、真空採血管による真空採血なども多用されている。本実施の形態3は、このようなシリンジ等から被検査溶液を添加する場合に適しているバイオセンサである。
【0068】
図7は本発明の実施の形態3による測定状況を示す模式図を示し、図において、図6と同一符号は同一又は相当する部分を示しており、12は採血後の採血シリンジの先端近傍を示す。この図7は前記シリンジ採血後に、針部を除き、シリンジ12から直接被検査溶液を添加する状態を示す。ここでは針部を除いている例で示しているが、針を接続した状態のままでも同様に実施可能である。
【0069】
なお、細胞成分を有する被検査溶液を検体とする場合には、間隙部1に、細胞収縮試薬を保持するようにしてもよく、この細胞収縮試薬の一例としては、塩化カリウムを用いる。細胞収縮試薬は、前記被検査溶液中に細胞成分を含む場合に設置すべき試薬であり、細胞成分を含まない被検査溶液を用いる場合には特に必要ではない。また細胞収縮試薬は、細胞を収縮する効果があれば、前記塩化カリウム以外の無機塩、塩化ナトリウム、リン酸ナトリウム等塩を含む無機化合物や、グリシン、グルタミン酸、等のアミノ酸、プロリン等のイミノ酸、グルコ−ス、スクロ−ス、トレハロ−スなどの糖類、グルシト−ル等の糖アルコ−ルでも同様に実施可能である。この様な細胞成分収縮剤を含む系は、特に全血を被検査溶液として用いる場合に特に有効である。
【0070】
さらに、必要に応じて漂白作用を有する試薬成分として過炭酸ナトリウムを保持させることも可能である。被検査溶液のもつ色素が測定結果に対する影響を無視できない場合、例えば全血検体を被検査溶液とする場合には有効である。ここでは、過炭酸ナトリウムを用いたが漂白作用を有する試薬であれば、過酸化水素、次亜塩素酸ナトリウムなども反応に対する影響を考慮して、自在に選択可能である。
【0071】
シリンジ12からバイオセンサに被検査溶液を直接添加する操作において、前述した実施の形態1において説明した間隙部1のみを備えた構成では、バイオセンサの間隙部1に吸入される被検査溶液以外の被検査溶液が、センサ外部に付着したりすることにより、外部が汚染される可能性が高い。また、間隙部1端部の被検査溶液に対する接しかたが不完全であることなどの原因によって、間隙部1に測定に必要十分量の被検査溶液が吸入されない場合、誤った測定結果が得られるおそれがある。その様な状況においては、使用者にとって非常に操作しづらい上に、前記被検査溶液が体液等の場合、安全性、もしくは衛生面で問題となる。さらには測定の正確性に欠ける結果となる。ここでの安全性とは、測定者が、被検査溶液による感染、付着などをさす。
【0072】
しかしながら、本実施の形態3においては、間隙部1の端部近傍に検体を保持する検体保持部11を設置していることにより、使用者は検体保持部11に被検査溶液を添加することで、被検査溶液を容易にかつ確実にバイオセンサに保持して、被検査溶液の測定が可能となる。このため、いわゆるシリンジ採血により採血した被検査溶液を用いて測定を実施する場合において、採血後別の容器に被検査溶液を移す操作、または、採取した被検査溶液を一定体積定量する操作を必要がなくなり、外部への検体汚染を低減させ、安全、衛生的に、また迅速簡易に測定を可能となる。
【0073】
また、被検査溶液を検体保持部11に保持することで、被検査溶液を間隙部1に確実に接するように保持することができ、検査に充分な量の被検査溶液を間隙部1に吸入させることができる。
【0074】
また間隙部1の持つ検体を吸入する効果により、あらかじめ一定量の被検査溶液を定量することなく、あいまいな量の被検査溶液を添加した場合であっても、一定体積の被検査溶液を添加した場合と同様に精度の高い測定が可能となる。
さらには、間隙部1を形成するための空間形成材18を前記透過可能な材料を用いることで、測定に十分な被検査溶液を添加できたかどうか確認できる。
【0075】
なお、本実施の形態3においては、シリンジ採血について述べたが、本発明においては、シリンジ採血以外にも、簡易なスポイト、パスツ−ルピペットなどを用いた被検査溶液の測定にも適用でき、また、被検査溶液も全血に限らず、水溶液、尿、唾液、血清、血漿など、使用者の目的により同様に適用可能であり、このような場合に適用した場合においても前記実施の形態3と同様の効果が得られる。
【0076】
なお、本実施の形態3においては、間隙部1が、100μl以下の体積を持つ構成とすることが好ましい。このような構成とすることにより、間隙部1が、前記被検査溶液が得られにくい場合や、極少量の被検査溶液を用いて測定する場合などの、被検査溶液の微少量である測定においても、被検査溶液を十分に吸入できる大きさをもつとともに、測定操作のしやすい大きさをもつこととなり、バイオセンサの操作性が高くなるとともに、微少被検査溶液による測定が可能となる。
【0077】
また、検体保持部11が、間隙部1の体積よりも大きい量の検体を保持するようにすることにより、測定に必要な十分体積の被検査溶液を保持でき、被検査溶液不足を解消し、正確性の高い測定が可能となる。また、検体保持部11の体積をさらに大きくすることにより、測定必要量に対して膨大に大量の被検査溶液を受け入れることが可能となり、被検査溶液の外部への飛散、汚染を防止しより安全、衛生な測定が可能になる。このように、検体保持部11に、間隙部と比較してより大きい量の被検査溶液を許容させるためには、検体保持部11は、図7に示したバイオセンサのように、周囲を被検査溶液が漏れないように側壁等で囲む構成とすることが好ましい。
【0078】
また、本実施の形態3においては、検体保持部11を、展開層2を保持する基板17及び間隙部1を形成する空間形成材18の一部を用いて構成するようにしたが、本発明においては、実施の形態1に示すようなバイオセンサに対して、バイオセンサに用いられている部材とは別の部材により構成した検体保持部を新たに設置しても良い。また、検体保持部としては、間隙部1に接するよう検体を保持可能な構成であれば、どのような構成のものを設けるようにしてもよい。
【0079】
なお、本実施の形態3においては、検体保持部11の底面は展開層2を保持する基板17の検体保持領域17aとし、検体保持領域17aの周囲近傍に設けられた空間形成材18を、検体の漏れ防止のための側壁としたが、本発明においては、間隙部1に被検査溶液を流入させる構造とすることが好ましく、間隙部1の底面に対して検体保持部11の底面の高さを高くした構成としたり、検体保持部11の検体を間隙部1に添加するための添加口の幅を十分に狭くして、間隙部1に向けた構成とするようにすることで、被検査溶液が前記間隙部に流入し易くなり、結果的によりより正確な測定を可能となる。
【0080】
なお、本発明においては、前記実施の形態1ないし3において説明したバイオセンサにおいて、試薬固定化部の試薬、及び標識試薬を含めたすべての試薬を乾燥状態とするようにしてもよい。このような場合においても、前記実施の形態1ないし3と同様の効果が得られるとともに、試薬がすべて乾燥状態であることにより、保存安定性能に優れ、また、持ち運び自在となるバイオセンサが得られる。
【0081】
また、前記実施の形態1ないし3に示したバイオセンサと同様のバイオセンサを免疫クロマトグラフィに用いるバイオセンサとすることにより、本発明においては、簡易法として市場に広がりつつある免疫クロマトグラフィにおいて、前記被検査溶液を高精度ディスペンサなどで一定体積定量することなく、あいまいな量の被検査溶液添加で、前記間隙部により正確な一定体積の被検査溶液を定量できるため、より高精度な測定を実現できる。ここでの免疫クロマトグラフィとは、湿潤可能な多孔質材料を用いて、固定化試薬と標識試薬の複合体を形成させることにより測定される免疫測定法のことで、抗原抗体反応を利用した測定系であり、通常免疫測定法においては、B/F分離など洗浄操作が必要なことに対して、クロマトグラフィ担体を被検査溶液が浸透していく過程でB/F分離が実施される測定系である。通常すべての試薬は乾燥状態にあり、測定時に被検査溶液により湿潤される。標識物としては、金コロイド、ラテックスが一般的であるが、磁性粒子、酵素、金属コロイド等も使用されている。標識物が酵素の場合等は、使用者が測定操作として酵素基質や反応停止試薬を加える操作が含まれる。
【0082】
また、本発明においては、前記実施の形態1ないし3に示したバイオセンサと同様のバイオセンサをワンステップ免疫クロマトグラフィに用いられるバイオセンサとすることにより、簡易免疫測定法として市場に普及しつつあるワンステップ免疫クロマトグラフィにおいて、使用者があらかじめ被検査溶液体積を定量する必要のない、また、被検査溶液量を測定時に確認できることにより誤判定を低減させ、正確性が高く尚かつ従来のワンステップ免疫クロマトグラフィのもつ簡易操作を実現できる。ワンステップ免疫クロマトグラフィとは、湿潤可能な多孔質材料を用いて、被検査溶液の添加により測定が開始される免疫測定法のことで、抗原抗体反応を利用した測定系であり、通常免疫測定法においては、B/F分離など洗浄操作が必要なことに対して、ワンステップ免疫クロマトグラフィは、クロマトグラフィ担体を被検査溶液が浸透していく過程でB/F分離が実施される測定系のことである。通常すべての試薬は乾燥状態にあり、測定時に被検査溶液により湿潤される。使用者の基本的な測定操作が被検査溶液を添加する操作のみであることからワンステップ免疫クロマトグラフィと呼ぶ。標識物としては、金コロイド、ラテックスが一般的であるが、磁性粒子、酵素、金属コロイド等も使用されている。
【0083】
次に、本発明を実施例により更に具体的に説明する。なお、本発明は、その要旨を越えない限りこれらの実施例の記載に限定されるものではない。
実施例1.
尿中hCG測定用試験片の作製
ニトロセルロース膜中に抗hCG−β抗体固定化ライン、および抗hCG−α抗体と金コロイドとの複合体の広いバンドを含む免疫クロマトグラフィー展開層2を製造した。この免疫クロマトグラフィ−展開層2を空間形成材8により被検査溶液添加部分に間隙部1を形成させて、免疫クロマトグラフ試験片を製造した。この試験片は図1のような構造を有する。図1より試験片は、抗体固定化部5と、それよりも被検査溶液を接触させる側にある、抗hCG−α抗体と金コロイドとの複合体とを含有した標識試薬保持部4とを含む。これらの試験片は、次のようにして製造した。
【0084】
a)免疫クロマトグラフィー展開層の調製
まず、リン酸緩衝溶液にて希釈して、濃度調整を行った抗hCG−β抗体溶液を準備し、この抗体溶液を溶液吐出装置を用いて、ニトロセルロース膜上に塗布した。これにより、ニトロセルロース膜上に検出用の抗体固定化ラインが得られた。このニトロセルロース膜を乾燥後、1%スキムミルクを含有するTris−HCl緩衝溶液中に浸漬して30分間緩やかに振った。30分後、Tris−HCl緩衝溶液槽に膜を移動し、10分間緩やかに振った後に、別のTris−HCl緩衝溶液槽にて、さらに10分間緩やかに振り、膜の洗浄を行った。そして、2度洗浄を行った後に、膜を洗浄液から取り出して、室温で乾燥させた。
【0085】
金コロイドは、0.01%塩化金酸、還流中の100℃溶液に1%クエン酸溶液を加えることによって調製した。金コロイドは還流を30分間続けた後に冷却し、0.2Mの炭酸カリウム溶液によってpH9に調製した。この金コロイド溶液に、抗hCG−α抗体を加えて数分間攪拌した後に、10%BSA(牛血清アルブミン)溶液pH9を最終1%になる量だけ加えて攪拌することで、抗体金コロイド複合体(標識抗体)を調製した。その後4℃、20000Gで50分間遠心分離することによって、標識抗体を単離して、それを洗浄緩衝液(1%BSA・リン酸緩衝液)中に懸濁した後に、遠心分離を行って、標識抗体を洗浄単離した。この標識抗体を洗浄緩衝液で懸濁して、0.8μmのフィルタにて濾過することによって、当初の金コロイド溶液量の10分の1に調製し、4℃で貯蔵した。
【0086】
そして、このように調製された標識抗体溶液を溶液吐出装置にセットして、抗hCG−β抗体固定化乾燥膜上の抗体固定化位置から離れた位置に塗布した後に、膜を乾燥させた。これによって、固定化膜上に標識試薬保持部位が得られた。このようして免疫クロマトグラフィ反応層、即ち展開層を完成させた。
【0087】
b)免疫クロマトグラフィ試験片の作製
厚さ0.5mmの白色PETからなる基板上に、免疫クロマトグラフィ試験片を貼り付け、2.5mmの幅で裁断した。裁断後、免疫クロマトグラフィの各片を、標識抗体保持部分から終端部分にかけて、厚さ100μmの透明テ−プを巻き付けた。透明テ−プを巻き付けない始端部分上の中央に、厚さ100μmの透明PETを積層させて作製したあらかじめ空気孔をもつ空間形成材を貼り付け、間隙部(幅2.0mm×長さ6.0mm×高さ0.5mm)を形成した。このようにして免疫クロマトグラフィ試験片を製造した。
【0088】
c)試料の調製
ヒト尿中に既知濃度のhCG溶液を加えることにより、さまざまな既知濃度のhCG溶液を調製した。
【0089】
d)測定
濃度調整されたhCGを含む尿を15μl、PET基板上に滴下し、PET基板上に液滴を形成させた。形成させた液滴を、免疫クロマトグラフィ試験片の間隙部に接触させて、間隙部中に導入させた。導入された液滴は、吸水層方向へと展開処理し、抗原抗体反応をさせて抗体固定化部における呈色反応を行った。この試験片への試料添加から5分後の呈色状況を反射型分光光度計(CS9300;島津製作所製)を用いて計測して、呈色度を演算処理した。
【0090】
まず、hCG濃度が100、1000、10000U/lの各hCGを含有する尿を免疫クロマトグラフィ試験片に添加し、展開処理を行った。そして、各hCG濃度の尿に対する試験片上の抗体固定化部の呈色状況を反射型分光光度計で測定した。520nmの波長における吸光度を反射型分光光度計で計測し、予め作成しておいたhCG濃度と吸光度との関係を示す検量線に代入した。その結果を図5に示す。
【0091】
図5は、免疫クロマトグラフィー試験片に液体試料を添加し、添加開始から5分後の呈色度合の測定値をもとに、分析対象物の濃度を換算した結果を表している。その結果、各濃度n=10にて測定を行ったが、CV値は5%〜10%と非常に良い相関性を示した。
【0092】
実施例2.
全血CRP定量用試験片の作製
ニトロセルロース膜中に抗CRP抗体Aを固定化した試薬固定化部、さらに抗CRP抗体Bと金コロイドとの複合体を保持した標識試薬を含む免疫クロマトグラフィ試験片を製造した。この免疫クロマトグラフィ試験片は図6に示したバイオセンサと同様の構成を有しており、この免疫クロマトグラフィ試験片は、抗体が固定化された試薬固定化部5よりも被検査溶液を添加する展開開始点に近い部分にある、抗CRP抗体Bと金コロイドとの複合体が含有された領域である標識試薬4と、検体保持部11とを含む。この免疫クロマトグラフィ試験片は、次のようにして製造した。
【0093】
a)免疫クロマトグラフィ試験片の調製
リン酸緩衝溶液にて希釈して濃度調整をした抗CRP抗体A溶液を準備した。この抗体溶液は溶液吐出装置を用いて、ニトロセルロース膜上に塗布した。これにより、ニトロセルロース膜上に試薬固定化部である抗体固定化ラインが得られた。このニトロセルロース膜を乾燥後、1%スキムミルクを含有するTris−HCl緩衝溶液中に浸漬して30分間緩やかに振った。30分後、Tris−HCl緩衝溶液槽に膜を移動し、10分間緩やかに振った後に、別のTris−HCl緩衝溶液槽にて更に10分間緩やかに振り、膜の洗浄を行なった。2度洗浄を行った後に、膜を液槽から取り出して、室温で乾燥させた。
【0094】
金コロイドは、0.01%塩化金酸の還流中の100℃溶液に1%クエン酸溶液を加えることによって調製した。還流を30分間続けた後に、室温放置にて冷却した。0.2Mの炭酸カリウム溶液によって、pH9に調製した前記金コロイド溶液に、抗CRP抗体Bを加えて数分間攪拌した後に、pH9の10%BSA(牛血清アルブミン)溶液を最終1%になる量だけ加えて攪拌することで、検出物質である抗体−金コロイド複合体(標識抗体)を調製した。前記標識抗体溶液を4℃、20000Gで50分間遠心分離することによって、標識抗体を単離して、それを洗浄緩衝液(1%BSA・リン酸緩衝液)中に懸濁した後に、前記遠心分離を行って、標識抗体を洗浄単離した。この標識抗体を洗浄緩衝液で懸濁して、0.8μmのフィルタにて濾過した後に、当初の金コロイド溶液量の、10分の1量に調製して、4℃で貯蔵した。
【0095】
前記金コロイド標識抗体溶液を溶液吐出装置にセットして、抗CRP抗体固定化A乾燥膜上の固定化ラインから離れた、被検査溶液添加開始方向から順番に、標識抗体、固定化ライン、の位置関係になる様塗布した後に、膜を真空凍結乾燥させた。これによって、固定化膜上に標識試薬を持つ反応層担体が得られた。
【0096】
次に、調製された標識試薬を含む反応層担体を、厚さ0.5mmの白色PETからなる基板上に貼り付け、5.0mmの幅で裁断した。裁断後、各片を、標識抗体保持部分から終端部分にかけて、厚さ100μmの透明テ−プを巻き付けた。透明テ−プを巻き付けない始端部分上の中央に、厚さ100μmの透明PETを積層させて作製した、あらかじめ空気孔を持つ空間形成材を貼り付け、間隙部(幅5.0mm×長さ12.0mm×高さ0.5mm)を形成した。また空間形成材にはあらかじめ、検体保持部の液漏れ防止壁を形成している。さらに前記空間形成材はあらかじめ1.5Mに調製された塩化カリウム水溶液を、単位面積あたり2μl点着した後に、液体窒素にて直ちに凍結し、凍結乾燥を行い、これによって、塩化カリウムが乾燥状態で保持された収縮剤保持部を持つ空間形成材を作製したものである。こうして免疫クロマトグラフィ試験片を製造した。
【0097】
b)試料の調製
抗凝固剤としてEDTA・2Kを加えた人の血液を、ヘマトクリット値45%になるように調製した。この血液に既知濃度のCRP溶液を加えることにより、さまざまな既知濃度のCRP含有血液を調製した。
【0098】
c)試験片上の呈色度合の測定
前記調整された全血を用いて、実際の採血状態を考慮して、体積20ml用のシリンジに充填させ、検体保持部にCRPを含む全血を一定体積測定することなく適量添加した。添加後、被検査溶液は間隙部に吸入された。さらに吸水部方向へと展開処理して、抗原抗体反応をさせて抗体固定化部における呈色反応を行った。このバイオセンサへの試料添加から5分後の呈色状況を反射吸光度測定機により計測した。
【0099】
血漿濃度として、0.1mg/dl、1.0mg/dl、3.0mg/dl、のCRPを含有する全血をバイオセンサに前記20mlシリンジから直接適量添加して展開処理した。各CRP濃度の血液に対するバイオセンサ上の試薬固定化部の呈色状況を反射吸光度測定機(CS−9300 SIMADZU製)で測定した。635nmにおける吸光度を計測して、各CRP濃度に応じてプロットした。その図を、図8に示す。図8は本実施例2における多濃度測定結果を示す図であり、横軸は市販測定装置を用いて測定したCRP濃度を示す。ここでは、市販測定装置として、ラテックス免疫凝集法による試薬を用いた。また、縦軸は、得られた吸光度を示す。検量線とは、CRP濃度上昇に対して吸光度が上昇する領域のことで、通常あらかじめ、濃度既知の被検査溶液により計算しておき、その後、未知の被検査溶液を測定したとき、得られた吸光度から、その未知被検査溶液中のCRP濃度を算出するための数式を言う。図8に示すとおり、前述した実施例1同様に良好な結果が得られた。
【0100】
なお、本実施例2におけるバイオデバイスとして、ニトロセルロースやガラス繊維濾紙のような、任意の多孔質性担体で構成されたクロマトグラフィー材料からなるバイオセンサが用いられている。このような材料からなるバイオセンサは、例えば、抗原抗体反応のような任意の測定原理を用いて、ある特定物質を分析検出し、定性または定量する機能をもっている。
【0101】
また、本実施例2においては、同一ニトロセルロース膜上に標識試薬と試薬固定化部を設けたバイオセンサを用いたが、ニトロセルロースとは異なる材質の例えば不織布のような多孔質性担体に標識試薬を担持したものを標識試薬として、支持体上に配しても何ら問題はない。標識試薬を構成する標識物としては、金コロイドを用いて例を示したが、着色物質、蛍光物質、燐光物質、発光物質、酸化還元物質、酵素、核酸、小胞体でもよく、反応の前後において何らかの変化が生じるものであれば何を用いても良い。
【0102】
測定される被検査溶液としては、例えば、水や水溶液、尿、血液、血漿、血清、唾液などの体液、固体及び粉体や気体を溶かした溶液などがあり、その用途としては、例えば、尿検査や妊娠検査、水質検査、便検査、土壌分析、食品分析などがある。また、被検物質としてC反応性タンパク質(CRP)を例として実施例を述べたが、抗体、免疫グロブリン、ホルモン、酵素及びペプチドなどのタンパク質及びタンパク質誘導体や、細菌、ウイルス、真菌類、マイコプラズマ、寄生虫ならびにそれらの産物及び成分などの感染性物質、治療薬及び乱用薬物などの薬物及び腫瘍マーカーが挙げられる。具体的には、例えば、絨毛性性腺刺激ホルモン(hCG)、黄体ホルモン(LH)、甲状腺刺激ホルモン、濾胞形成ホルモン、副甲状腺刺激ホルモン、副腎脂質刺激ホルモン、エストラジオール、前立腺特異抗原、B型肝炎表面抗原、ミオグロビン、CRP、心筋トロポニン、HbA1c、アルブミン等でも何ら問題はない。また、水質検査、土壌分析、などの環境分析、や食品分析などにも実施可能である。前述した形態により、簡便かつ迅速で、高感度・高性能、正確性の高い測定が実現できる。
【0103】
産業上の利用可能性
以上のように、本発明によるバイオセンサは、免疫クロマトグラフィーや、いわゆるワンステップクロマトグラフィー等に利用されるバイオセンサとして有用であり、特に、医療診断現場や一般家庭向けなどの操作の簡便化や迅速化が要求される状況における測定に利用されるバイオセンサや、微量な体積の被検査溶液の測定に利用されるバイオセンサとして適している。
【図面の簡単な説明】
【図1】本発明の実施の形態1によるバイオセンサの構造図である。
【図2】本発明の実施の形態1による分離層を有したバイオセンサの構造図である。
【図3】本発明の実施の形態1による細胞成分破壊試薬部を有したバイオセンサの構造図である。
【図4】本発明の実施の形態2によるバイオセンサの構造図である。
【図5】本発明の実施例1におけるhCG濃度と吸光度との関係を示すグラフである。
【図6】本発明の実施の形態3によるバイオセンサの構成図である。
【図7】本発明の実施の形態3によるバイオセンサを用いた測定時の状況を示す図である。
【図8】本発明の実施例2におけるCRP濃度と吸光度との関係を示すグラフである。
Claims (21)
- 被検査溶液を展開する展開層の一部に、固定化された試薬固定化部と、前記被検査溶液の展開により溶出可能な標識試薬を保持する標識試薬保持部とを有し、前記試薬固定化部分における前記標識試薬の結合量を測定することにより、前記被検査溶液中の測定成分を定性もしくは定量するバイオセンサであって、
前記被検査溶液が毛細管現象によって流入される空間である間隙部を、前記展開層の一端部のみに形成する、空間形成部を備えることを特徴とするバイオセンサ。 - 被検査溶液を展開する展開層の一部に、固定化された試薬固定化部を有し、該試薬固定化部における標識試薬の結合量を測定することにより、前記被検査溶液中の測定成分を定性もしくは定量するバイオセンサであって、
前記被検査溶液が毛細管現象によって流入される空間である間隙部を、前記展開層の一端部のみに形成する、空間形成部を備えるとともに、
前記間隙部中に、前記被検査溶液の流入により溶解可能な標識試薬を保持している標識試薬保持部を備えることを特徴とするバイオセンサ。 - 請求項1または請求項2に記載のバイオセンサにおいて、
前記間隙部は、被検査溶液を一時的に保持することを特徴とするバイオセンサ。 - 請求項1または請求項2に記載のバイオセンサにおいて、
前記間隙部は、該間隙部の体積により被検査溶液の流入量を規定することを特徴とするバイオセンサ。 - 請求項1または請求項2に記載のバイオセンサにおいて、
前記間隙部は、前記展開層を展開する十分な被検査溶液を流入する体積を有することを特徴とするバイオセンサ。 - 請求項1または請求項2に記載のバイオセンサにおいて、
前記間隙部中に、細胞成分を破壊する細胞成分破壊試薬部を備えることを特徴とするバイオセンサ。 - 請求項1または請求項2に記載のバイオセンサにおいて、
前記間隙部中に、細胞成分を収縮する細胞成分収縮試薬部を備えることを特徴とするバイオセンサ。 - 請求項1または請求項2に記載のバイオセンサにおいて、
前記間隙部中に、漂白試薬部を備えることを特徴とするバイオセンサ。 - 請求項1または請求項2に記載のバイオセンサにおいて、
前記間隙部は、20μl(マイクロリットル)以下の体積を有することを特徴とするバイオセンサ。 - 請求項1または請求項2に記載のバイオセンサにおいて、
前記間隙部は、外部から被検査溶液の流入を確認する手段を有することを特徴とするバイオセンサ。 - 請求項1または請求項2に記載のバイオセンサにおいて、
前記空間形成部は、その一部もしくは全部が光透過性を有することを特徴とするバイオセンサ。 - 請求項1または請求項2に記載のバイオセンサにおいて、
前記間隙部中に、測定に不要な有形成分を分離する分離部を備えることを特徴とするバイオセンサ。 - 請求項1または請求項2に記載のバイオセンサにおいて、
前記間隙部に接するよう被検査溶液を保持する検体保持部を備えることを特徴とする、バイオセンサ。 - 請求項13に記載のバイオセンサにおいて、
前記検体保持部が、前記間隙部の体積よりも大きい量の被検査溶液を保持することを特徴とするバイオセンサ。 - 請求項13に記載のバイオセンサにおいて、
前記検体保持部の底面の高さ位置が、前記間隙部内の底面の高さ位置に対して、同一または高い位置にあることを特徴とするバイオセンサ。 - 請求項13に記載のバイオセンサにおいて、
前記間隙部は、100μl以下の体積を有することを特徴とするバイオセンサ。 - 請求項1または請求項2に記載のバイオセンサにおいて、
前記間隙部に、被検査溶液の流入を助成する空気孔を備えることを特徴とするバイオセンサ。 - 請求項1または請求項2に記載のバイオセンサにおいて、
前記間隙部に、被検査溶液の浸透により湿潤可能な多孔質材料を備えることを特徴とするバイオセンサ。 - 請求項1または請求項2に記載のバイオセンサにおいて、
前記試薬固定化部の試薬、及び前記標識試薬を含むすべての試薬が乾燥状態であるとともに、その全体が乾燥状態であることを特徴とするバイオセンサ。 - 請求項1または請求項2に記載のバイオセンサにおいて、
前記バイオセンサが免疫クロマトグラフィに用いられるものであることを特徴とするバイオセンサ。 - 請求項1または請求項2に記載のバイオセンサにおいて、
前記バイオセンサがワンステップ免疫クロマトグラフィに用いられるものであることを特徴とするバイオセンサ。
Applications Claiming Priority (3)
| Application Number | Priority Date | Filing Date | Title |
|---|---|---|---|
| JP2000-157049 | 2000-05-26 | ||
| JP2000157049 | 2000-05-26 | ||
| PCT/JP2001/004419 WO2001090754A1 (en) | 2000-05-26 | 2001-05-25 | Biosensor |
Publications (2)
| Publication Number | Publication Date |
|---|---|
| JPWO2001090754A1 JPWO2001090754A1 (ja) | 2003-08-05 |
| JP3553045B2 true JP3553045B2 (ja) | 2004-08-11 |
Family
ID=18661748
Family Applications (1)
| Application Number | Title | Priority Date | Filing Date |
|---|---|---|---|
| JP2001586467A Expired - Fee Related JP3553045B2 (ja) | 2000-05-26 | 2001-05-25 | バイオセンサ |
Country Status (7)
| Country | Link |
|---|---|
| US (1) | US7575915B2 (ja) |
| EP (1) | EP1202059B1 (ja) |
| JP (1) | JP3553045B2 (ja) |
| KR (1) | KR100505803B1 (ja) |
| CN (2) | CN100533147C (ja) |
| DE (1) | DE60121404T2 (ja) |
| WO (1) | WO2001090754A1 (ja) |
Cited By (1)
| Publication number | Priority date | Publication date | Assignee | Title |
|---|---|---|---|---|
| WO2009136477A1 (ja) | 2008-05-07 | 2009-11-12 | パナソニック株式会社 | バイオセンサ |
Families Citing this family (34)
| Publication number | Priority date | Publication date | Assignee | Title |
|---|---|---|---|---|
| US8071384B2 (en) | 1997-12-22 | 2011-12-06 | Roche Diagnostics Operations, Inc. | Control and calibration solutions and methods for their use |
| US20050103624A1 (en) | 1999-10-04 | 2005-05-19 | Bhullar Raghbir S. | Biosensor and method of making |
| US20020137200A1 (en) | 2000-06-01 | 2002-09-26 | Mie Takahashi | Biosensor and blood component analyzing method |
| WO2002001227A1 (en) * | 2000-06-28 | 2002-01-03 | Matsushita Electric Industrial Co., Ltd. | Biosensor |
| EP1353181B1 (en) * | 2001-08-10 | 2012-07-04 | Panasonic Corporation | Biosensor and method for analyzing blood components using it |
| US20050014275A1 (en) * | 2002-03-29 | 2005-01-20 | Fumihisa Kitawaki | Blood processing method, blood processing device, method of measuring hemoglobins and device for measuring hemoglobins |
| US7883899B2 (en) * | 2002-10-11 | 2011-02-08 | Zbx Corporation | Diagnostic devices |
| JP2004189665A (ja) * | 2002-12-11 | 2004-07-08 | Matsushita Electric Ind Co Ltd | 抗c反応性タンパク質抗体、この抗体を用いたバイオセンサ、この抗体の作製方法、及びこの抗体を用いた免疫測定方法 |
| EP1447665B1 (en) | 2003-02-11 | 2016-06-29 | Bayer HealthCare LLC | Method for reducing effect of hematocrit on measurement of an analyte in whole blood |
| US8071030B2 (en) | 2003-06-20 | 2011-12-06 | Roche Diagnostics Operations, Inc. | Test strip with flared sample receiving chamber |
| US7645421B2 (en) | 2003-06-20 | 2010-01-12 | Roche Diagnostics Operations, Inc. | System and method for coding information on a biosensor test strip |
| US7645373B2 (en) | 2003-06-20 | 2010-01-12 | Roche Diagnostic Operations, Inc. | System and method for coding information on a biosensor test strip |
| US7604721B2 (en) | 2003-06-20 | 2009-10-20 | Roche Diagnostics Operations, Inc. | System and method for coding information on a biosensor test strip |
| US7727467B2 (en) * | 2003-06-20 | 2010-06-01 | Roche Diagnostics Operations, Inc. | Reagent stripe for test strip |
| US7452457B2 (en) | 2003-06-20 | 2008-11-18 | Roche Diagnostics Operations, Inc. | System and method for analyte measurement using dose sufficiency electrodes |
| US8206565B2 (en) | 2003-06-20 | 2012-06-26 | Roche Diagnostics Operation, Inc. | System and method for coding information on a biosensor test strip |
| US8148164B2 (en) | 2003-06-20 | 2012-04-03 | Roche Diagnostics Operations, Inc. | System and method for determining the concentration of an analyte in a sample fluid |
| US8058077B2 (en) | 2003-06-20 | 2011-11-15 | Roche Diagnostics Operations, Inc. | Method for coding information on a biosensor test strip |
| US8679853B2 (en) | 2003-06-20 | 2014-03-25 | Roche Diagnostics Operations, Inc. | Biosensor with laser-sealed capillary space and method of making |
| US7718439B2 (en) | 2003-06-20 | 2010-05-18 | Roche Diagnostics Operations, Inc. | System and method for coding information on a biosensor test strip |
| US7597793B2 (en) | 2003-06-20 | 2009-10-06 | Roche Operations Ltd. | System and method for analyte measurement employing maximum dosing time delay |
| RU2006144458A (ru) | 2004-05-14 | 2008-06-20 | БАЙЕР ХЕЛТКЭР ЭлЭлСи (US) | Способы осуществления корректировки по гематокриту в анализах глюкозы и устройства для этого |
| US7556723B2 (en) | 2004-06-18 | 2009-07-07 | Roche Diagnostics Operations, Inc. | Electrode design for biosensor |
| US7569126B2 (en) | 2004-06-18 | 2009-08-04 | Roche Diagnostics Operations, Inc. | System and method for quality assurance of a biosensor test strip |
| KR100680267B1 (ko) * | 2005-09-16 | 2007-02-08 | 주식회사 인포피아 | 식별정보를 포함하는 바이오 센서 및 바이오 센서의식별정보 판독장치 |
| EP2034318B1 (en) | 2006-06-26 | 2013-09-04 | Nippon Telegraph and Telephone Corporation | Flow cell and process for manufacturing the same |
| CN101105495B (zh) * | 2007-07-31 | 2011-06-15 | 浙江省肿瘤医院 | 肿瘤标志物质控品的制备方法 |
| JP4840398B2 (ja) * | 2008-04-25 | 2011-12-21 | 富士電機株式会社 | 抗原の分離装置並びにこれを利用した抗原の計測方法及び装置 |
| US20110045578A1 (en) | 2008-05-07 | 2011-02-24 | Panasonic Corporation | Method of manufacturing biosensor and biosensor produced thereby |
| JP5036867B2 (ja) * | 2008-05-26 | 2012-09-26 | パナソニック株式会社 | バイオセンサ |
| KR101894100B1 (ko) * | 2012-02-29 | 2018-08-31 | 고려대학교 산학협력단 | 바이오 센서 |
| FR3012982B1 (fr) * | 2013-11-08 | 2015-12-25 | Espci Innov | Procede de stockage et de concentration d'un compose volatil |
| JP6417725B2 (ja) * | 2014-06-06 | 2018-11-07 | 凸版印刷株式会社 | 分析対象物の検出方法 |
| KR102766141B1 (ko) * | 2018-09-27 | 2025-02-12 | 세키스이 메디칼 가부시키가이샤 | 면역 크로마토그래피용 시험편 |
Family Cites Families (22)
| Publication number | Priority date | Publication date | Assignee | Title |
|---|---|---|---|---|
| BE754658A (fr) * | 1969-08-12 | 1971-02-10 | Merck Patent Gmbh | Lamelle indicatrice, se composant d'une matiere capillaire impregnee, absorbante et gainee de feuilles |
| US4252538A (en) * | 1979-03-02 | 1981-02-24 | Engineering & Research Associates, Inc. | Apparatus and method for antibody screening, typing and compatibility testing of red blood cells |
| EP0560410B1 (en) * | 1987-04-27 | 2002-10-02 | Inverness Medical Switzerland GmbH | A test device for performing specific binding assays |
| US4883764A (en) * | 1987-07-20 | 1989-11-28 | Kloepfer Mary A | Blood test strip |
| US5416000A (en) * | 1989-03-16 | 1995-05-16 | Chemtrak, Inc. | Analyte immunoassay in self-contained apparatus |
| US5234813A (en) * | 1989-05-17 | 1993-08-10 | Actimed Laboratories, Inc. | Method and device for metering of fluid samples and detection of analytes therein |
| AU637480B2 (en) | 1990-03-12 | 1993-05-27 | Biosite Diagnostics Incorporated | Bioassay device with non-absorbent textured capillary surface |
| US5166051A (en) * | 1990-08-08 | 1992-11-24 | Genesis Labs, Inc. | Membranes, membrane overlays for exclusion of erythrocytes, and method for immunoassay of whole blood analytes |
| US5607863A (en) * | 1991-05-29 | 1997-03-04 | Smithkline Diagnostics, Inc. | Barrier-controlled assay device |
| ES2151902T3 (es) * | 1992-03-10 | 2001-01-16 | Quidel Corp | Medio de separacion de globulos rojos para dosificarlos mediante union especifica. |
| DK0653625T3 (da) | 1993-11-12 | 2003-01-13 | Inverness Medical Switzerland | Aflæseindretninger til teststrimler |
| US5569608A (en) * | 1995-01-30 | 1996-10-29 | Bayer Corporation | Quantitative detection of analytes on immunochromatographic strips |
| JPH08285849A (ja) | 1995-04-14 | 1996-11-01 | Mochida Pharmaceut Co Ltd | 簡易測定装置およびこれを用いる測定方法 |
| WO1996036878A1 (en) * | 1995-05-19 | 1996-11-21 | Universal Healthwatch, Inc. | Rapid self-contained assay format |
| US6126899A (en) * | 1996-04-03 | 2000-10-03 | The Perkins-Elmer Corporation | Device for multiple analyte detection |
| JPH10274653A (ja) | 1997-03-28 | 1998-10-13 | Sanko Junyaku Kk | イムノクロマトグラフィによる検体の画像処理定量方 法 |
| US5985675A (en) * | 1997-12-31 | 1999-11-16 | Charm Sciences, Inc. | Test device for detection of an analyte |
| JP3655990B2 (ja) | 1997-07-28 | 2005-06-02 | アボットジャパン株式会社 | 免疫分析装置 |
| KR100292182B1 (ko) | 1997-09-18 | 2001-11-26 | 모리시타 요이찌 | 면역크로마토그라피장치 |
| US6194224B1 (en) * | 1998-07-27 | 2001-02-27 | Avitar, Inc. | Diagnostic membrane containing fatty acid sarcosinate surfactant for testing oral fluid |
| JP4233686B2 (ja) | 1999-06-11 | 2009-03-04 | 日水製薬株式会社 | イムノクロマトグラフィー装置のハウジング |
| JP4223163B2 (ja) | 1999-10-25 | 2009-02-12 | パナソニック株式会社 | 免疫クロマトグラフィー試験片、及びクロマトグラフ分析方法 |
-
2001
- 2001-05-25 DE DE60121404T patent/DE60121404T2/de not_active Expired - Lifetime
- 2001-05-25 CN CNB200410003625XA patent/CN100533147C/zh not_active Expired - Fee Related
- 2001-05-25 KR KR10-2002-7001064A patent/KR100505803B1/ko not_active Expired - Fee Related
- 2001-05-25 JP JP2001586467A patent/JP3553045B2/ja not_active Expired - Fee Related
- 2001-05-25 CN CNB018014372A patent/CN1161611C/zh not_active Expired - Fee Related
- 2001-05-25 EP EP01934357A patent/EP1202059B1/en not_active Expired - Lifetime
- 2001-05-25 US US10/031,988 patent/US7575915B2/en not_active Expired - Fee Related
- 2001-05-25 WO PCT/JP2001/004419 patent/WO2001090754A1/ja not_active Ceased
Cited By (2)
| Publication number | Priority date | Publication date | Assignee | Title |
|---|---|---|---|---|
| WO2009136477A1 (ja) | 2008-05-07 | 2009-11-12 | パナソニック株式会社 | バイオセンサ |
| US8303910B2 (en) | 2008-05-07 | 2012-11-06 | Panasonic Corporation | Biosensor |
Also Published As
| Publication number | Publication date |
|---|---|
| DE60121404T2 (de) | 2007-02-15 |
| KR20020042623A (ko) | 2002-06-05 |
| CN1828300A (zh) | 2006-09-06 |
| EP1202059B1 (en) | 2006-07-12 |
| EP1202059A4 (en) | 2003-01-15 |
| CN1380976A (zh) | 2002-11-20 |
| KR100505803B1 (ko) | 2005-08-04 |
| CN100533147C (zh) | 2009-08-26 |
| DE60121404D1 (en) | 2006-08-24 |
| CN1161611C (zh) | 2004-08-11 |
| US7575915B2 (en) | 2009-08-18 |
| WO2001090754A1 (en) | 2001-11-29 |
| US20020137230A1 (en) | 2002-09-26 |
| EP1202059A1 (en) | 2002-05-02 |
Similar Documents
| Publication | Publication Date | Title |
|---|---|---|
| JP3553045B2 (ja) | バイオセンサ | |
| CN100492010C (zh) | 生物传感器 | |
| JP4383860B2 (ja) | バイオセンサ、及び測定方法 | |
| JPWO2001090754A1 (ja) | バイオセンサ | |
| US11047844B2 (en) | Electronic analyte assaying device | |
| EP2284538B1 (en) | Biosensor | |
| KR20030036915A (ko) | 바이오센서 및 이를 사용한 혈액 성분 분석 방법 | |
| US20110045578A1 (en) | Method of manufacturing biosensor and biosensor produced thereby | |
| CN101120253B (zh) | 用于免疫色谱的试验器具以及使用该器具的半定量方法 | |
| JPS63210772A (ja) | 乾燥試験片及びそれを用いた被検流体中の分析成分の検出方法 | |
| JP2005257468A (ja) | バイオセンサ | |
| JP3053494U (ja) | 検査具 | |
| JPWO2003044534A1 (ja) | 微量検体中の分析対象物を測定するための免疫クロマトグラフィーテストストリップ | |
| KR20020042538A (ko) | 크로마토그래피 측정 장치 | |
| JP2009294116A (ja) | バイオセンサ | |
| HK1080937B (en) | Biosensor |
Legal Events
| Date | Code | Title | Description |
|---|---|---|---|
| A131 | Notification of reasons for refusal |
Free format text: JAPANESE INTERMEDIATE CODE: A131 Effective date: 20040106 |
|
| A521 | Request for written amendment filed |
Free format text: JAPANESE INTERMEDIATE CODE: A523 Effective date: 20040304 |
|
| TRDD | Decision of grant or rejection written | ||
| A01 | Written decision to grant a patent or to grant a registration (utility model) |
Free format text: JAPANESE INTERMEDIATE CODE: A01 Effective date: 20040406 |
|
| A61 | First payment of annual fees (during grant procedure) |
Free format text: JAPANESE INTERMEDIATE CODE: A61 Effective date: 20040427 |
|
| R150 | Certificate of patent or registration of utility model |
Ref document number: 3553045 Country of ref document: JP Free format text: JAPANESE INTERMEDIATE CODE: R150 Free format text: JAPANESE INTERMEDIATE CODE: R150 |
|
| FPAY | Renewal fee payment (event date is renewal date of database) |
Free format text: PAYMENT UNTIL: 20090514 Year of fee payment: 5 |
|
| FPAY | Renewal fee payment (event date is renewal date of database) |
Free format text: PAYMENT UNTIL: 20100514 Year of fee payment: 6 |
|
| FPAY | Renewal fee payment (event date is renewal date of database) |
Free format text: PAYMENT UNTIL: 20110514 Year of fee payment: 7 |
|
| FPAY | Renewal fee payment (event date is renewal date of database) |
Free format text: PAYMENT UNTIL: 20110514 Year of fee payment: 7 |
|
| FPAY | Renewal fee payment (event date is renewal date of database) |
Free format text: PAYMENT UNTIL: 20120514 Year of fee payment: 8 |
|
| FPAY | Renewal fee payment (event date is renewal date of database) |
Free format text: PAYMENT UNTIL: 20120514 Year of fee payment: 8 |
|
| FPAY | Renewal fee payment (event date is renewal date of database) |
Free format text: PAYMENT UNTIL: 20130514 Year of fee payment: 9 |
|
| FPAY | Renewal fee payment (event date is renewal date of database) |
Free format text: PAYMENT UNTIL: 20130514 Year of fee payment: 9 |
|
| S111 | Request for change of ownership or part of ownership |
Free format text: JAPANESE INTERMEDIATE CODE: R313113 |
|
| S533 | Written request for registration of change of name |
Free format text: JAPANESE INTERMEDIATE CODE: R313533 |
|
| R350 | Written notification of registration of transfer |
Free format text: JAPANESE INTERMEDIATE CODE: R350 |
|
| S111 | Request for change of ownership or part of ownership |
Free format text: JAPANESE INTERMEDIATE CODE: R313113 |
|
| R350 | Written notification of registration of transfer |
Free format text: JAPANESE INTERMEDIATE CODE: R350 |
|
| S111 | Request for change of ownership or part of ownership |
Free format text: JAPANESE INTERMEDIATE CODE: R313113 |
|
| R350 | Written notification of registration of transfer |
Free format text: JAPANESE INTERMEDIATE CODE: R350 |
|
| R250 | Receipt of annual fees |
Free format text: JAPANESE INTERMEDIATE CODE: R250 |
|
| R250 | Receipt of annual fees |
Free format text: JAPANESE INTERMEDIATE CODE: R250 |
|
| R250 | Receipt of annual fees |
Free format text: JAPANESE INTERMEDIATE CODE: R250 |
|
| R250 | Receipt of annual fees |
Free format text: JAPANESE INTERMEDIATE CODE: R250 |
|
| S533 | Written request for registration of change of name |
Free format text: JAPANESE INTERMEDIATE CODE: R313533 |
|
| R350 | Written notification of registration of transfer |
Free format text: JAPANESE INTERMEDIATE CODE: R350 |
|
| R250 | Receipt of annual fees |
Free format text: JAPANESE INTERMEDIATE CODE: R250 |
|
| R250 | Receipt of annual fees |
Free format text: JAPANESE INTERMEDIATE CODE: R250 |
|
| LAPS | Cancellation because of no payment of annual fees |