JP3553026B2 - 人形の腰部構造 - Google Patents

人形の腰部構造 Download PDF

Info

Publication number
JP3553026B2
JP3553026B2 JP2001106020A JP2001106020A JP3553026B2 JP 3553026 B2 JP3553026 B2 JP 3553026B2 JP 2001106020 A JP2001106020 A JP 2001106020A JP 2001106020 A JP2001106020 A JP 2001106020A JP 3553026 B2 JP3553026 B2 JP 3553026B2
Authority
JP
Japan
Prior art keywords
waist
locking
upper torso
doll
waist portion
Prior art date
Legal status (The legal status is an assumption and is not a legal conclusion. Google has not performed a legal analysis and makes no representation as to the accuracy of the status listed.)
Expired - Lifetime
Application number
JP2001106020A
Other languages
English (en)
Other versions
JP2002301273A (ja
Inventor
三郎 尾櫃
Current Assignee (The listed assignees may be inaccurate. Google has not performed a legal analysis and makes no representation or warranty as to the accuracy of the list.)
Obitsu Plastic Manufacturing Co Ltd
Original Assignee
Obitsu Plastic Manufacturing Co Ltd
Priority date (The priority date is an assumption and is not a legal conclusion. Google has not performed a legal analysis and makes no representation as to the accuracy of the date listed.)
Filing date
Publication date
Application filed by Obitsu Plastic Manufacturing Co Ltd filed Critical Obitsu Plastic Manufacturing Co Ltd
Priority to JP2001106020A priority Critical patent/JP3553026B2/ja
Publication of JP2002301273A publication Critical patent/JP2002301273A/ja
Application granted granted Critical
Publication of JP3553026B2 publication Critical patent/JP3553026B2/ja
Anticipated expiration legal-status Critical
Expired - Lifetime legal-status Critical Current

Links

Images

Landscapes

  • Toys (AREA)

Description

【0001】
【発明の属する技術分野】
本発明は、上胴部分と腰部分および左右脚部分とが分解・組み立て自在で、上胴部分と腰部分と左右脚部分が夫々可動可能な人形の腰部構造に関する。
【0002】
【従来の技術】
この種の人形の一例として図11・12を挙げる。
その腰部分100の構造について説明すると、腰部分100は、前後に二つ割された腰部分片101,102が採用されていた。
そして該二つ割された前後の腰部分片101,102を合わせてネジ止め固着する際に、上胴部分200側の係止片(図示省略)と左右の脚部分300側の係止片(図示省略)を、両腰部分片101,102の合わせ面における係止箇所にて回動可能に連結しているものが知られていた。
【0003】
【発明が解決しようとする課題】
昨今の人形業界において、特にフィギュアと称される人間の身体形態を忠実に模写した構成を有する人形にあっては、脚部分300や腰部分100などの各部位の人間的な動きが表現できる構成とすることは勿論のこと、外表面(肌面)の身体的リアルさも要求されているのが現実である。すなわち、より人間の身体的な特徴、例えば腰部分100における臀部分103の肌感なども人間の臀部分と変わらないものとしたいと欲しているものである。
【0004】
しかし、従来の構造によると、このような外表面のリアルさ要求に対して十分に満足し得るものを提供し得ていなかった。
すなわち、従来のこの種の人形にあっては、上述の通り、腰部分100と上胴部分200および左右の脚部分300を分解組み立て可能とすることから、二つ割された腰部分片101,102をネジ止めして分解可能に固着するものであったため、固着した際に必然的に生じる合わせ目の線(接合線ともいう)400が腰部分100の肌外表面に露呈しており、外観上の美観・リアルさに欠けていた(図11参照)。
【0005】
さらに、前後の腰部分片101,102がネジ501を介してネジ止めされるため、前後いずれかの腰部分片101,102の外表面には、必然的にネジ穴502が設けられる構造となる。このような構造では、そのネジ穴502およびネジ501が需要者の視覚に入るため、フィギュア全体としての外観上の美観を損ね、リアルさは到底得られていなかった(図12参照)。
【0006】
また、人形購入者(需要者)は、上胴部分200や脚部分300などの各部分(パーツともいう)を別の形態のパーツに適宜組み替えたいと欲することもあり、また洋服や装備(コスチュームともいう)などの小物を着せ替えたり・付け替えたりする場合に、各パーツを分解する必要性が出てくる。
このような場合に、上述した従来技術では、腰部分100と上胴部分200および左右の脚部分300を、人形購入者(需要者)が分解するにあたっては、上述した腰部分100のネジ501を、わざわざ外して腰部分100を腰部分片101,102に分解した後、該腰部分片101,102に係止されていた夫々の係止片を外して上胴部分200と左右の脚部分300を分離し、他のパーツに組み替えたり、洋服などを着せ替えたりしていた。
従って、このような従来技術は、腰部分100と上胴部分200および左右の脚部分300を分解組み立て可能であるとはいっても、現実には自由かつ容易に分解できる構造ではなく、その度に上述のような面倒かつ煩わしい作業をしなければならなかった。
さらに、腰部分100、上胴部分200、左右脚部分300を組み立てる場合には、腰部分片101,102の夫々の係止箇所に上胴部分200の係止片および左右脚部分300の係止片を夫々同時に係止させつつネジ501で腰部分片101,102を固着一体化させて組み立てなければならなっかった。この場合、上胴部分200の係止片および左右脚部分300の係止片がずれないように気を付けながらネジ止めしなければならず、その作業が面倒かつ煩わしく、他のパーツへの組み替えやコスチュームの着せ替え等に適した構成ではなかった。
【0007】
また、このようにネジ止め固着するタイプの腰部構造にあっては、ネジ止め構造部分500が腰部分100の上胴部分連結空間600に位置してしまうため、必然的に上胴部分200の回動スペースが狭小となってしまう。
リアルさを追求すると、腰部分100と上胴部分200との一体感を醸し出す関係上、腰部分100の上縁と上胴部分200の下縁とが摺接するように連結されるのが好ましく、このためには腰部分100の上胴部分連結空間600内で上胴部分200が回動可能とする連結構造が採用される。
しかし、上述の通り、その空間600が狭小では、上胴部分200の回動範囲が極端に制限され、リアルな腰の動き、上胴部分200と腰部分100との関節部分のリアルな屈曲作動が十分に得られないという不具合も生じていた。
【0008】
また、従来構成の中には、腰部分を一体成形し、上述のような接合線400を外表面に生じさせないものもあった。しかし、この従来構成は、左右の脚部分の基端側、若しくは上胴部分の下端に突設した夫々の連結部を、腰部分に設けた各対象嵌合穴に押込み嵌合せしめる構成とするか、あるいは、脚部分の基端側同士を弾性材、例えばゴムひもなどで連結した構成であったため、基本的には腰部分100と上胴部分200および左右の脚部分300を分離可能とするものではなく、対象を異にするものである。
【0009】
本発明は、従来技術の有するこのような問題点に鑑みなされたもので、その目的とするところは、一体成形した腰部分を採用し、腰部分の外表面のリアルさを表現しつつ、脚部分や腰部分において人間的なリアルな動きが表現できる分解組み立て可能な人形の腰部構造を提供することである。
【0010】
【課題を解決するための手段】
上記目的を達成するために本発明がなした技術的手段は、上胴部分と腰部分および左右脚部分とが分解組み立て自在で、腰部分は上胴部分連結空間と左右の脚部分連結空間とを備えて一体成形されると共に、左右の脚部分における関節部分の係止片を回動可能に連結する脚部分連結構造と、上胴部分を着脱可能に連結する上胴部分連結構造を有し、該脚部分連結構造は、一体成形された腰部分本体の股間位置内面に設けた係止部と、該係止部と合致して上記脚部分の係止片を回動可能に係止保持する係止部を有する着脱可能な押え部材とからなり、かつ該押え部材の頂面には上胴部分の連結部を立設して上胴部分連結構造を兼ねていることである。
【0011】
【発明の実施の形態】
以下、本発明の一実施形態を図に基いて説明する。
なお、以下に説明する実施形態は、本発明の一実施形態にすぎず、何等これに限定解釈されるものではない。
【0012】
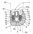
図1は、本発明人形の腰部構造を採用した一実施形態における要部を示す分解斜視図、図2は人形(頭部は省略した)の全体正面図、図3は分解正面図、図4乃至図10は腰部分の図で、図4は腰部分の正面図、図5は腰部分の背面図、図6は腰部分の平面図、図7は腰部分の底面図、図8は腰部分の左側面図(右側面図は同一のため省略)、図9は図4のIX−IX線断面図、図10は図6のX−X線断面図を示す。
図2中、1は腰部分、22は上胴部分、24は左右の脚部分、27は左右の足部分、28は左右の腕部分、29は左右の手部分、30は首部分を示し、上記各部分は、夫々分離組み立て可能(図3参照)で、その接合部位にて任意に回動作動が可能である。また、各部分の材質は特に限定解釈されず任意に選択可能である。
【0013】
なお、本発明において、腰部分1以外で人形を構成する部分、例えば上胴部分22・左右の脚部分(足部分27を含む)24・左右の腕部分(手部分29を含む)28・首部分30などの構造は、特に図示形態に限定解釈されるものではなく、本発明の範囲内で適宜必要に応じて他の形態・構成を採用することが可能である。
また、本実施形態では、上胴部分22・左右の脚部分24・左右の足部分27・左右の腕部分28・左右の手部分29・首部分30などがすべて分解組み立て可能な構成(図3参照)としているが、少なくとも腰部分1と上胴部分22・腰部分1と左右の脚部分24が分解組み立て可能な構成を有しているものであれば本発明の範囲内である。
また、本実施形態では、上胴部分22を腹部22aと胸部22bの二部構成とし、この腹部22aと胸部22bの連結箇所も回動可能に連結されている形態をもって説明するが、腹部22aと胸部22bが一体である形態であっても良い。
さらに言うまでもないが、本実施形態では図示したように人間の男性裸体を模写したものであるが、人間の女性裸体を模写した構成であってもよいことは勿論である。
【0014】
腰部分1は、上胴部分連結空間3と左右の脚部分連結空間4,4とを備えて人間の腰部分外表面を忠実に表現すべく一体成形され、左右の脚部分24,24の付け根位置における関節部分の係止片26,26を着脱・回動可能に連結する脚部分連結構造5と、上胴部分22を着脱可能に連結する上胴部分連結構造19を有している。このように一体成形されるため、腰部分1には従来のような合わせ面に生じていた線(図11に示すような接合線400)がなく、また臀部1aにはネジ穴(図12に示すようなネジ穴502)などもなく、より人間の腰部分外表面(肌面)を忠実に表現し得る。
上記上胴部分連結空間3と左右の脚部分連結空間4,4とは夫々連通状に形成されている。
腰部分1全体の大きさ、形状など任意で、また外表面の形状、例えば臀部1a・下腹部1bの膨らみ等、股1cの切れ込み程度等も任意で、特に図示形状に限定解釈されるものではなく、本発明の範囲内で任意に設計変更可能である。
【0015】
脚部分連結構造5は、一体成形された腰部分本体1の股間部6内面に設けた下側係止部7と、該下側係止部7と合致して左右の脚部分24,24の各係止片26,26を回動可能に係止保持する上側係止部12を有する着脱可能な押え部材10とからなり、該下側係止部7と上側係止部12とによって、左右の脚部分24,24の付け根位置を着脱可能、かつ回動可能に連結保持する構造である。
【0016】
腰部分本体2に設けられる下側係止部7は、左右の脚部分連結空間4,4の間に位置している股間部6の内面に、左右脚部分24,24の両係止片26,26を相対向して内装可能な単一の凹部8を設けると共に、該凹部8と連通状に股間部6の内面両端縁に設けた半円状の左右係止溝9,9にて構成されている。
【0017】
押え部材10は、押え部材本体11の下面に上側係止部12を備えると共に、該本体11の上面に上胴部分連結構造19を備えている。
押え部材本体11は、例えば腰部分本体2の股間部6内面幅と同幅の略直方体状に形成され、その下面略中央に上側係止部12を設けると共に、該上側係止部12の同一軸上の上面略中央に上胴部分連結構造19を立設する。
押え部材10に設けられる上側係止部12は、腰部分本体2に設けた下側係止部7の凹部8と同一形状の凹部13を有し、該凹部13は下側係止部7上に合わせた際に、下側係止部7の凹部8と共に短尺筒状の係止片内装空間15を形成する。そして上側係止部12は、下側係止部7の左右係止溝9,9と同一形状の半円状の左右係止溝14,14を、該凹部13と連通状に本体11の下面両端縁に設けて構成されている。
【0018】
そして、上述のように構成された押え部材10は、腰部分本体2の股間部6内面上に上方から被せて、該股間部6内面上にネジ止め固着する。図中16はネジ、17は押え部材本体2側のネジ穴、18は股間部6内面側のネジ穴を夫々示す。なお、固着構成は一例として上述したネジ止め構成に限らず、着脱可能な周知固着構成が適宜採用可能である。
【0019】
上記下側係止部7と上側係止部12は、本実施形態に限定解釈されるものではなく、本発明の範囲内で適宜設計変更可能である。すなわち、係止片内装空間15・係止溝9,14などの構成は本発明の範囲内で他の構成に変更可能である。また、下側係止部7の凹部8と上側係止部12の凹部13は、夫々左脚部係止片用凹部と右脚部係止片用凹部とを別個独立して凹設するものとしてもよい。
また、押え部材10の全体形状も特に限定されず設計変更可能である。
【0020】
上胴部分連結構造19は、上述した押え部材10の上面が兼ねている。すなわち、押え部材本体11の上面略中心に立設した連結部20を介して上胴部分22を連結している。
連結部20は、例えば本実施形態の如く、上面を開放し、差込み穴21を備えた円筒状に構成され、例えば上胴部分22の下部内面にすべり作動可能に配設されているボールジョイント23の円柱状棹部23aを、上記差込み穴21に着脱自在に差込み連結する。
なお、本実施形態では、上胴部分22と腰部分1との継手部分にボールジョイント23を使用しているため、上記連結部20の差込み穴21を断面角穴状とした場合には、この棹部23a外形も角柱状にすることが可能で、上胴部分22と腰部分1とが着脱自在な継手構造を有していれば、棹部23aと差込み穴21との関係は任意に設計変更可能である。但し、容易に抜け落ちないように嵌合されているものとする。
【0021】
従って、本実施形態における腰部分1に左右の脚部分24,24と上胴部分22を組み立て一体化する場合、まず、左右の脚部分24,24は、各付け根部の関節部分を構成するボールジョイント25,25に備えられている各係止片26,26を、夫々腰部分本体2の股間部6内面に設けられた係止溝9,9を介して下側凹部8内に各係止片26,26の下側半分を係止保持させる。
そして次に、押え部材10を、上胴部分連結空間19の方向(上方向)から股間部6内面上に被せて上側凹部13内に上記係止片26,26の上側半分を内装すると共に、係止溝14,14を上記係止溝9,9と合致させる。
次に、ネジ16を押え部材10の上方から締め付けて、該押え部材10を股間部6内面上に固着する。これにより、左右の脚部分24,24は、係止片26,26が係止片内装空間15で回動可能に連結保持される。
そして次に、上述の通り固着された押え部材10の連結部20の差込み穴21に、上胴部分22の下部内面に配設されているボールジョイント23の棹部23aを差込み連結する。これにより、上胴部分22の下側は、腰部分1の内方に挿入された状態で腰部分1に連結されるため、外観上上胴部分22と腰部分1とが分離せず一体感を醸し出す。
【0022】
また、分解する場合には、まず、腰部分1の連結部20の差込み穴21から、上胴部分22の棹部23aを単に引き抜くだけで良い。これにより、上胴部分22が腰部分1から簡単に分解される。
次に、上胴部分22を分解した腰部分1の上胴部分連結空間3には、押え部材10が現れ、そのネジ16が直視できるため、該押え部材10を腰部分1の股間部6内面に固着している該ネジ16を外すことができる。このネジ16を外すことにより、押え部材10は上方に外すことができる。これにより、股間部6の内面にある下側係止部7に内装係止されていた左右脚部分24,24の係止片26,26を外すことができる。
従って、このように簡単に分解組み立てができるため、他のパーツ(他の上胴部分や他の脚部分)への組み替え、あるいは洋服などの着せ替え・装備などの取付けなども容易に可能である。
【0023】
このように、本実施形態によれば、腰部本体2を一体成形し、従来のような上胴部分連結空間内に位置していたネジ止め構成部分(図12に示す符号500部分)が存在しないため、そして、押え部材10の上面に立設した連結部20を介して上胴部分22下部のボールジョイント23の棹部23aを、着脱自在に差込み連結する構成としたため、上胴部分連結空間3が広く確保できる。
すなわち、上胴部分連結空間3が広く確保できるということは、腰部分1の上胴部分連結空間3内に上胴部分22下側が挿入された状態で連結される人形において、該上胴部分22がその空間3内で自由に動き得るスペースが広く取れ、上胴部分22と腰部分1との境目の折曲・回動作動がスムーズかつ自由度が広がる。
【0024】
【発明の効果】
本発明は、上述の通りの腰部構造としたため、腰部分を一体成形した人形で、回動可能な左右の脚部分と回動可能な上胴部分を分解・組み立て自在なものとして提供し得る。
【0025】
このような構造を採用したことにより、人形の腰部分には、今までのように合わせ面(例えば、腰部分両側面)に生じていた接合線が全くなく、またネジ止め用に設けられていた穴もなくなる。従って、特にフィギュアと称される人間に近い外観形態を有する人形において、このような接合線やネジ穴が外観に現れないことにより、よりリアルかつ美的な腰部分外観を有したフィギュアが提供でき、需要者のニーズに十分対応できる。
【0026】
また、従来技術のように前後に分割された腰部分片同士をネジ止めする構造ではないことから、腰部分の上胴部分連結空間内には従来技術のようにネジ止め構造部分が全くない。従って、腰部分の上胴部分連結空間内に上胴部分下側が挿入された状態で連結される人形において、該上胴部分がその空間内で自由に動き得るスペースが広く取れ、上胴部分と腰部分との境目の折曲・回動作動がスムーズかつ自由度が広がる。
【0027】
さらに、本発明によれば、上胴部分と腰部分および左右の脚部分とが簡単に分解することが可能なため、人形購入者(需要者)が、上胴部分や脚部分などの各部分(パーツともいう)を別の形態のパーツに適宜組み替えたり、また洋服や装備など(コスチューム等ともいう)を着せ替えたり・付け替えたりする場合に、従来の人形と比した場合、容易かつ能率良く上述の作業が成し得る。
特に、フィギュアなどの場合、その性質上、コスチュームなどの装着が必要となるため、本発明の構造を有するものであれば、需要者などは容易にその装着作業などができ面白味が増大し、付加価値の高い人形の提供ができる。
【図面の簡単な説明】
【図1】本発明人形の腰部構造を採用した一実施形態における要部を示す分解斜視図。
【図2】本発明人形の腰部構造を採用した人形の全体正面図。
【図3】本発明人形の腰部構造を採用した人形の分解正面図。
【図4】腰部分の正面図。
【図5】腰部分の背面図。
【図6】腰部分の平面図。
【図7】腰部分の底面図。
【図8】腰部分の側面図。
【図9】図4のIX−IX線断面図。
【図10】図6のX−X線断面図。
【図11】従来技術の一実施形態を示す腰部分側面図。
【図12】従来技術の一実施形態を示す腰部分の横断平面図。
【符号の説明】
1:腰部分
3:上胴部分連結空間
4:脚部分連結空間
5:脚部連結構造
6:股間部
7:下側係止部
8:凹部
9:係止溝
10:押え部材
12:上側係止部
13:凹部
14:係止溝
19:上胴部分連結構造
20:連結部
22:上胴部分
23:ボールジョイント
24:脚部分
25:ボールジョイント
26:係止片

Claims (1)

  1. 上胴部分と腰部分および左右脚部分とが分解・組み立て自在で、腰部分は上胴部分連結空間と左右の脚部分連結空間とを備えて一体成形されると共に、左右の脚部における関節部分の係止片を回動可能に連結する脚部分連結構造と、上胴部分を着脱可能に連結する上胴部分連結構造を有し、該脚部分連結構造は、一体成形された腰部分本体の股間位置内面に設けた係止部と、該係止部と合致して上記脚部分の係止片を回動可能に係止保持する係止部を有する着脱可能な押え部材とからなり、かつ該押え部材の頂面には上胴部分の連結部を立設して上胴部分連結構造を兼ねていることを特徴とする人形の腰部構造。
JP2001106020A 2001-04-04 2001-04-04 人形の腰部構造 Expired - Lifetime JP3553026B2 (ja)

Priority Applications (1)

Application Number Priority Date Filing Date Title
JP2001106020A JP3553026B2 (ja) 2001-04-04 2001-04-04 人形の腰部構造

Applications Claiming Priority (1)

Application Number Priority Date Filing Date Title
JP2001106020A JP3553026B2 (ja) 2001-04-04 2001-04-04 人形の腰部構造

Publications (2)

Publication Number Publication Date
JP2002301273A JP2002301273A (ja) 2002-10-15
JP3553026B2 true JP3553026B2 (ja) 2004-08-11

Family

ID=18958603

Family Applications (1)

Application Number Title Priority Date Filing Date
JP2001106020A Expired - Lifetime JP3553026B2 (ja) 2001-04-04 2001-04-04 人形の腰部構造

Country Status (1)

Country Link
JP (1) JP3553026B2 (ja)

Families Citing this family (1)

* Cited by examiner, † Cited by third party
Publication number Priority date Publication date Assignee Title
JPWO2018135039A1 (ja) * 2017-01-20 2019-11-14 デジタルファクトリー株式会社 フィギュアおよび動作体

Also Published As

Publication number Publication date
JP2002301273A (ja) 2002-10-15

Similar Documents

Publication Publication Date Title
JP3171931U (ja) フィギュア玩具の関節構造
US7077717B2 (en) Doll with angled and jointed torso
US20030162477A1 (en) Toy figure having plurality of body parts joined by ball and socket joints
US3938277A (en) Articulated toy figure
US4696656A (en) Reconfigurable toy
JP4500220B2 (ja) 人形の球状関節
KR20190087300A (ko) 인형
EP2305078B1 (en) Jointed dummy
JP2004000774A (ja) 紙製人形
JP3553026B2 (ja) 人形の腰部構造
KR20120020727A (ko) 구체관절이 형성된 인형
JP6886684B2 (ja) 人形の首関節構造
CN113908563B (zh) 一种球形关节玩偶
KR20250170125A (ko) 블록 시스템 및 조립분해 블록 구조와 암형 블록
JP2004222935A (ja) ソフトビニル製大型可動人形の骨格構造および該骨格構造を有するソフトビニル製大型可動人形
US20240342623A1 (en) Interference joint digits, building elements, building systems, and assemblies
KR100623456B1 (ko) 인형
CN212395834U (zh) 一种球形关节玩偶
JP3609797B2 (ja) 人形
JP3667715B2 (ja) 可動人形用胴体
JPH0219185Y2 (ja)
CN112755543B (zh) 可分体的组合变形机器人
CN217988349U (zh) 一种变形机器人玩具
JPH0336393Y2 (ja)
CN223350973U (zh) 折叠变形结构和可变形玩具

Legal Events

Date Code Title Description
TRDD Decision of grant or rejection written
A01 Written decision to grant a patent or to grant a registration (utility model)

Free format text: JAPANESE INTERMEDIATE CODE: A01

Effective date: 20040406

A61 First payment of annual fees (during grant procedure)

Free format text: JAPANESE INTERMEDIATE CODE: A61

Effective date: 20040427

R150 Certificate of patent or registration of utility model

Free format text: JAPANESE INTERMEDIATE CODE: R150

Ref document number: 3553026

Country of ref document: JP

Free format text: JAPANESE INTERMEDIATE CODE: R150

R250 Receipt of annual fees

Free format text: JAPANESE INTERMEDIATE CODE: R250

R250 Receipt of annual fees

Free format text: JAPANESE INTERMEDIATE CODE: R250

R250 Receipt of annual fees

Free format text: JAPANESE INTERMEDIATE CODE: R250

EXPY Cancellation because of completion of term