JP3551037B2 - 便器設備 - Google Patents
便器設備 Download PDFInfo
- Publication number
- JP3551037B2 JP3551037B2 JP26827698A JP26827698A JP3551037B2 JP 3551037 B2 JP3551037 B2 JP 3551037B2 JP 26827698 A JP26827698 A JP 26827698A JP 26827698 A JP26827698 A JP 26827698A JP 3551037 B2 JP3551037 B2 JP 3551037B2
- Authority
- JP
- Japan
- Prior art keywords
- toilet seat
- toilet
- support member
- seat support
- lifting
- Prior art date
- Legal status (The legal status is an assumption and is not a legal conclusion. Google has not performed a legal analysis and makes no representation as to the accuracy of the status listed.)
- Expired - Fee Related
Links
- 230000003028 elevating effect Effects 0.000 claims description 8
- 230000002401 inhibitory effect Effects 0.000 claims description 3
- 238000005406 washing Methods 0.000 description 12
- 238000001514 detection method Methods 0.000 description 6
- XLYOFNOQVPJJNP-UHFFFAOYSA-N water Substances O XLYOFNOQVPJJNP-UHFFFAOYSA-N 0.000 description 6
- 235000014676 Phragmites communis Nutrition 0.000 description 3
- 230000003287 optical effect Effects 0.000 description 3
- 238000013459 approach Methods 0.000 description 1
- 210000001217 buttock Anatomy 0.000 description 1
- 239000003638 chemical reducing agent Substances 0.000 description 1
- 238000004140 cleaning Methods 0.000 description 1
- 239000003599 detergent Substances 0.000 description 1
- 238000007599 discharging Methods 0.000 description 1
- 230000000694 effects Effects 0.000 description 1
- 239000007788 liquid Substances 0.000 description 1
- 230000000630 rising effect Effects 0.000 description 1
- 210000002700 urine Anatomy 0.000 description 1
Images
Landscapes
- Toilet Supplies (AREA)
Description
【発明の属する技術分野】
本発明は、便座支持部材を上下動可能あるいは傾動可能とした便器設備に関する。
【0002】
【従来の技術】
洋風便器の上面に設置された便座は、便座支持部材を介して洋風便器に対し俯仰方向に回動自在に取り付けられている。
【0003】
この便座支持部材と洋風便器上面との間に尿などの汚れが染み込んで臭気の原因となり易い。そこで、便座支持部材をガイド部材によって洋風便器に対し昇降装置によって上下動可能とし、洋風便器の清掃時に便座支持部材を便座と共に上方に移動させるようにしたものが提案されている(特開平9−28619号公報)。
【0004】
【発明が解決しようとする課題】
便座支持部材を単に上下動可能とした場合、便座に着座状態にあるときに上昇スイッチをONとすると昇降装置に無理な力が加わり、故障をひき起すおそれがある。
【0005】
本発明は、便座に着座状態にあるときの便座支持部材の上昇あるいは傾動を防止するよう改良された昇降装置又は傾動装置付きの便器設備を提供することを目的とする。
【0006】
【課題を解決するための手段】
本発明(請求項1)の便器設備は、便器本体と、該便器本体に設けられた便座支持部材と、該便座支持部材に支持された便座と、該便座支持部材を昇降させる昇降装置とを有する便器設備において、前記便座が倒伏した状態にあるときには該昇降装置の便座支持部材を上昇させる動作を不能とするための上昇禁止装置を備えたことを特徴とするものである。
【0007】
かかる便器設備にあっては、便座が倒伏した状態にあるときに上昇禁止装置によって昇降装置による便座支持部材の上昇を禁止し、昇降装置の故障を防止することができる。
【0008】
本発明(請求項2)の便器設備は、便器本体と、該便器本体に設けられた便座支持部材と、該便座支持部材に支持された便座と、該便座支持部材を傾動させる傾動装置とを有する便器設備であって、前記便座が倒伏した状態にあるときには該昇降装置の便座支持部材を傾動させる動作を不能とするための傾動禁止装置を備えたことを特徴とするものである。
【0009】
かかる便器設備にあっては、便座が倒伏した状態にあるときに傾動禁止装置によって傾動装置による便座支持部材の傾動を禁止し、傾動装置の故障を防止することができる。
【0010】
【発明の実施の形態】
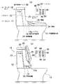
以下図面を参照して実施の形態について説明する。図1は本発明(請求項1,2)の実施の形態に係る便座支持部材の昇降装置を備えた洋風便器設備の側面図である。
【0011】
洋風便器本体10の上面の後部にロータンク12及び衛生洗浄装置14が設置され、このロータンク12及び衛生洗浄装置14がロータンクカバー18で囲まれている。このロータンク12には電動フラッシュ装置12aが設けられている。
【0012】
この衛生洗浄装置14は、洗浄ノズル14aと、該洗浄ノズル14aに配管を介して接続された温水源(例えば温水タンクや給湯配管)を有しており、このノズル14aに温水を供給するライン上に弁が設けられ、必要に応じ該ラインにポンプが設けられる。なお、以下この弁を衛生洗浄弁ということがある。
【0013】
このロータンクカバー18は、洋風便器本体10に固定されたリヤカバー22と、上下動自在なフロントカバー20とからなる。このフロントカバー20に便座24及び便蓋26が枢着されている。従って、この実施の形態では、該フロントカバー20が便座支持部材として機能している。
【0014】
このフロントカバー20の前面には、便座24の起立を検知する起立検知センサ30が設けられている。この起立検知センサとしては、例えばリードスイッチを用いることができる。便座24の先端側にマグネットを埋設しておき、便座24が起立すると該マグネットがリードスイッチに接近し、便座24の起立が検知される。なお、起立検知センサとしては、便座24の支軸に回動式のスイッチを設けてもよく、フロントカバー20の下部前面に光学センサを設け、便座24が起立するとこの光学センサが便座24を検知しなくなり便座24の起立が検出されるようにしたものを採用してもよい。この光学センサの代わりにリードスイッチや静電容量スイッチ等を用いてもよい。
【0015】
このフロントカバー20は昇降装置28によって上下動可能とされている。なお、このフロントカバー20は、リヤカバー22の前縁から前方に延出したガイドプレート(図示略)に案内されて上下動する。
【0016】
この昇降装置28としては、例えば、便器本体10に固定され、上下方向に延在するラックと、該ラックに噛合するピニオンと、該ピニオンを駆動するモータとを備えたものや、油圧シリンダ、エアシリンダ等を用いることができる。
【0017】
前記ロータンク12の電動フラッシュ装置12a、前記衛生洗浄装置14及び昇降装置28を操作するためのリモコン40がトイレルームの壁面に設けられている。なお、リモコン40はロータンクカバー18など他の箇所に設けられても良い。ロータンクカバー18内には、このリモコン40からの信号を受信して各装置を作動させる制御回路が設置されている。
【0018】
このリモコン40に設けられたフラッシュスイッチ42を押すと、電動フラッシュ装置12aが作動し、便器本体10に対しロータンク12から洗浄水が供給される。昇スイッチ44を押すと、昇降装置28が作動してフロントカバー20が規定高さの上昇限まで上昇し、降スイッチ46を押すとフロントカバー20が下降限まで下降し、便器本体10上に載った状態となる。洗浄スイッチ48を押すとノズル14aから人体臀部に向けて温水が噴出し、停止スイッチ50を押すとこの噴出が停止する。
【0019】
この実施の形態にあっては、起立検知センサ30が便座24の起立を検知している場合に限り昇スイッチ44が押されることによりフロントカバー20が便器本体10から浮上し、便座24が倒伏状態にあるときには、昇スイッチ44を押しても昇降装置28が上昇作動しないよう構成されている。これにより、便座24に着座中に昇降装置28が起動し昇降装置28が故障することが防止される。
【0020】
上記実施の形態ではフロントカバー20を上下動させる構成としているが、便座ボックス等の便座支持部材を昇降させても良い。
【0021】
請求項3,4の実施の形態にあっては、図2,3に示す傾動式便座ボックス70が採用される。この便座ボックス70は、便器本体10の便鉢の後部側の上面に設置される。この便座ボックス70に便座72と便蓋74とが枢支されている。この便座ボックス70内に温水タンクやポンプ、弁、洗浄ノズル等よりなる衛生洗浄装置が設置されている。
【0022】
この便座ボックス70は、図3に示すチルト機構によって傾動される。このチルト機構は、便器本体10の上面に固定されたベース80と、該ベース80の上面に形成されたラック82と、便座ボックス70に設けられ、該ラック82と噛合したピニオン84と、枢軸88,90によってベース80と便座ボックス70にそれぞれ端部が枢着されたリンク86とを備えている。ピニオン84には減速機を介してモータ(図示略)が連結されている。
【0023】
図3の実線に示す状態にあっては、便座ボックス70は水平となっている。モータによってピニオン84を正方向(時計方向)に回転させ、便座ボックス70を前進させると、便座ボックス70の前部側はリンク86によって押し上げられ、図3の2点鎖線70’で示されるように前縁側が持ち上げられ、便座ボックス70が傾く。
【0024】
この傾動式便座ボックス70の場合、リモコン40の昇スイッチ44を押すとモータが正回転し、便座ボックス70が傾き、降スイッチ46を押すとモータが逆回転し便座ボックス70が水平に戻る。
【0025】
この実施の形態にあっては、この便座72が倒伏状態にあるときには昇スイッチ44を押しても便座ボックス70が傾動しない。そして、便座72を起立させ、起立検知センサ30が便座72を検知しているときだけ昇スイッチ44によって便座ボックス70を傾けることができる。
【0026】
本発明では、フロントカバー20や便座ボックス70が上昇したり傾いたりしたときに、フロントカバー20や便座ボックス70の下側の便器本体上面に液状洗剤を流出させる機構を設けても良い。
【0027】
【発明の効果】
以上の通り、本発明によると、便座が起立しているときだけ便座支持部材を上昇又は傾動させることができ、昇降装置や傾動装置の故障が防止される。
【図面の簡単な説明】
【図1】本発明の実施の形態に係る洋風便器設備の側面図である。
【図2】傾動式の便座ボックスの斜視図である。
【図3】図2の便座ボックスの断面図である。
【符号の説明】
10 洋風便器本体
14 衛生洗浄装置
14a 衛生洗浄ノズル
18 ロータンクカバー
20 フロントカバー
22 リヤカバー
24,72 便座
26,74 便蓋
28 昇降装置
30 起立検知センサ
40 リモコン
70 便座ボックス
80 ベース
86 リンク
Claims (2)
- 便器本体と、該便器本体に設けられた便座支持部材と、該便座支持部材に支持された便座と、該便座支持部材を昇降させる昇降装置とを有する便器設備において、
前記便座が倒伏した状態にあるときには該昇降装置の便座支持部材を上昇させる動作を不能とするための上昇禁止装置を備えたことを特徴とする便器設備。 - 便器本体と、該便器本体に設けられた便座支持部材と、該便座支持部材に支持された便座と、該便座支持部材を傾動させる傾動装置とを有する便器設備であって、
前記便座が倒伏した状態にあるときには該昇降装置の便座支持部材を傾動させる動作を不能とするための傾動禁止装置を備えたことを特徴とする便器設備。
Priority Applications (1)
| Application Number | Priority Date | Filing Date | Title |
|---|---|---|---|
| JP26827698A JP3551037B2 (ja) | 1998-09-22 | 1998-09-22 | 便器設備 |
Applications Claiming Priority (1)
| Application Number | Priority Date | Filing Date | Title |
|---|---|---|---|
| JP26827698A JP3551037B2 (ja) | 1998-09-22 | 1998-09-22 | 便器設備 |
Publications (2)
| Publication Number | Publication Date |
|---|---|
| JP2000093352A JP2000093352A (ja) | 2000-04-04 |
| JP3551037B2 true JP3551037B2 (ja) | 2004-08-04 |
Family
ID=17456318
Family Applications (1)
| Application Number | Title | Priority Date | Filing Date |
|---|---|---|---|
| JP26827698A Expired - Fee Related JP3551037B2 (ja) | 1998-09-22 | 1998-09-22 | 便器設備 |
Country Status (1)
| Country | Link |
|---|---|
| JP (1) | JP3551037B2 (ja) |
Families Citing this family (2)
| Publication number | Priority date | Publication date | Assignee | Title |
|---|---|---|---|---|
| JP3948372B2 (ja) * | 2002-08-27 | 2007-07-25 | 株式会社Inax | 便器設備 |
| JP6775967B2 (ja) * | 2016-02-26 | 2020-10-28 | 株式会社Lixil | 便座昇降装置 |
-
1998
- 1998-09-22 JP JP26827698A patent/JP3551037B2/ja not_active Expired - Fee Related
Also Published As
| Publication number | Publication date |
|---|---|
| JP2000093352A (ja) | 2000-04-04 |
Similar Documents
| Publication | Publication Date | Title |
|---|---|---|
| US6189164B1 (en) | Toilet seat elevating system | |
| KR100804307B1 (ko) | 변기 커버 자동 닫힘 기능을 갖는 물 내림 시스템 및 물내림 방법 | |
| JP3551037B2 (ja) | 便器設備 | |
| KR20210056873A (ko) | 좌변기용 물 내림 장치 | |
| KR20230094629A (ko) | 입식 소변기의 소변 흘림 방지 구조 | |
| JP2009102842A (ja) | トイレ装置 | |
| JP4207506B2 (ja) | 便器設備 | |
| JP4254425B2 (ja) | 便器着座設備 | |
| US20070151012A1 (en) | Adjustable toilet bowl | |
| JP4254173B2 (ja) | 便器設備 | |
| JP4973375B2 (ja) | 便座装置 | |
| JP3859060B2 (ja) | 洋風水洗式便器 | |
| JP4075539B2 (ja) | トイレ設備 | |
| JP3948372B2 (ja) | 便器設備 | |
| JP2002097697A (ja) | 洋風便器装置 | |
| JP4206711B2 (ja) | 便器設備 | |
| JP4321322B2 (ja) | 昇降式水洗便器 | |
| JP2004166998A (ja) | 便座装置 | |
| JP4114475B2 (ja) | 洗浄給水装置 | |
| JP2003293435A (ja) | 昇降式便器 | |
| JP5647863B2 (ja) | 浴槽の排水制御装置と制御方法 | |
| JP2007159985A (ja) | 便器設備 | |
| JPH11217862A (ja) | 昇降便器 | |
| JP2000157603A (ja) | 浴槽付きベッドのベッド制御システム | |
| JP2021155982A (ja) | 水洗式便器 |
Legal Events
| Date | Code | Title | Description |
|---|---|---|---|
| A521 | Written amendment |
Free format text: JAPANESE INTERMEDIATE CODE: A523 Effective date: 20040113 |
|
| A521 | Written amendment |
Free format text: JAPANESE INTERMEDIATE CODE: A523 Effective date: 20040210 |
|
| A911 | Transfer of reconsideration by examiner before appeal (zenchi) |
Free format text: JAPANESE INTERMEDIATE CODE: A911 Effective date: 20040223 |
|
| TRDD | Decision of grant or rejection written | ||
| A01 | Written decision to grant a patent or to grant a registration (utility model) |
Free format text: JAPANESE INTERMEDIATE CODE: A01 Effective date: 20040330 |
|
| A61 | First payment of annual fees (during grant procedure) |
Free format text: JAPANESE INTERMEDIATE CODE: A61 Effective date: 20040412 |
|
| R150 | Certificate of patent or registration of utility model |
Free format text: JAPANESE INTERMEDIATE CODE: R150 |
|
| FPAY | Renewal fee payment (event date is renewal date of database) |
Free format text: PAYMENT UNTIL: 20080514 Year of fee payment: 4 |
|
| FPAY | Renewal fee payment (event date is renewal date of database) |
Free format text: PAYMENT UNTIL: 20090514 Year of fee payment: 5 |
|
| FPAY | Renewal fee payment (event date is renewal date of database) |
Free format text: PAYMENT UNTIL: 20090514 Year of fee payment: 5 |
|
| FPAY | Renewal fee payment (event date is renewal date of database) |
Free format text: PAYMENT UNTIL: 20100514 Year of fee payment: 6 |
|
| FPAY | Renewal fee payment (event date is renewal date of database) |
Free format text: PAYMENT UNTIL: 20100514 Year of fee payment: 6 |
|
| FPAY | Renewal fee payment (event date is renewal date of database) |
Free format text: PAYMENT UNTIL: 20110514 Year of fee payment: 7 |
|
| S111 | Request for change of ownership or part of ownership |
Free format text: JAPANESE INTERMEDIATE CODE: R313111 |
|
| FPAY | Renewal fee payment (event date is renewal date of database) |
Free format text: PAYMENT UNTIL: 20120514 Year of fee payment: 8 |
|
| R350 | Written notification of registration of transfer |
Free format text: JAPANESE INTERMEDIATE CODE: R350 |
|
| FPAY | Renewal fee payment (event date is renewal date of database) |
Free format text: PAYMENT UNTIL: 20120514 Year of fee payment: 8 |
|
| FPAY | Renewal fee payment (event date is renewal date of database) |
Free format text: PAYMENT UNTIL: 20130514 Year of fee payment: 9 |
|
| FPAY | Renewal fee payment (event date is renewal date of database) |
Free format text: PAYMENT UNTIL: 20140514 Year of fee payment: 10 |
|
| LAPS | Cancellation because of no payment of annual fees |