JP3550339B2 - 外熱式ロータリキルン - Google Patents
外熱式ロータリキルン Download PDFInfo
- Publication number
- JP3550339B2 JP3550339B2 JP2000098869A JP2000098869A JP3550339B2 JP 3550339 B2 JP3550339 B2 JP 3550339B2 JP 2000098869 A JP2000098869 A JP 2000098869A JP 2000098869 A JP2000098869 A JP 2000098869A JP 3550339 B2 JP3550339 B2 JP 3550339B2
- Authority
- JP
- Japan
- Prior art keywords
- tube
- rotary kiln
- packing
- furnace tube
- furnace
- Prior art date
- Legal status (The legal status is an assumption and is not a legal conclusion. Google has not performed a legal analysis and makes no representation as to the accuracy of the status listed.)
- Expired - Lifetime
Links
- 238000012856 packing Methods 0.000 claims description 45
- 210000004907 gland Anatomy 0.000 claims description 23
- 230000001681 protective effect Effects 0.000 claims description 17
- 239000000919 ceramic Substances 0.000 claims description 16
- 239000002184 metal Substances 0.000 claims description 7
- 230000002093 peripheral effect Effects 0.000 claims description 6
- 230000008646 thermal stress Effects 0.000 description 12
- 238000010438 heat treatment Methods 0.000 description 7
- 239000002994 raw material Substances 0.000 description 4
- 230000000694 effects Effects 0.000 description 3
- 238000006073 displacement reaction Methods 0.000 description 2
- 239000000835 fiber Substances 0.000 description 2
- 239000000463 material Substances 0.000 description 2
- 230000001105 regulatory effect Effects 0.000 description 2
- 238000007789 sealing Methods 0.000 description 2
- 238000011109 contamination Methods 0.000 description 1
- 238000001816 cooling Methods 0.000 description 1
- 238000001035 drying Methods 0.000 description 1
- 239000011810 insulating material Substances 0.000 description 1
- 230000035882 stress Effects 0.000 description 1
Images
Landscapes
- Muffle Furnaces And Rotary Kilns (AREA)
- Sealing Devices (AREA)
Description
【発明の属する技術分野】
この発明は、セラミックス製の炉心管を用いた外熱式ロータリキルンに関するものである。
【0002】
【従来の技術】
高純度が要求されるセラミック原料等の焼成や乾燥に使用される外熱式ロータリキルンでは、炉心管材料によるコンタミネーションを防止するために、セラミックス製の炉心管が使用されている。セラミックス製炉心管は、優れた耐熱性を有するが、熱応力等によるクラックが生じやすい問題がある。このため、セラミックス製炉心管の支持方法や保護方法に色々な工夫が試みられている。
【0003】
例えば、特開平10−148469号公報に開示された外熱式ロータリキルンでは、図6に示すように、セラミックス製炉心管51の支持部52を軸方向4ヶ所に設けて支持スパンを短くし、これらの支持部52の間に加熱手段としての伝熱ヒータ53を配置している。各支持部52は周方向に4分割されており、分割された各支持部52には、炉心管51の締め付け力の調整と芯出し調整を行うために、半径方向に進退可能な支持棒(図示省略)が取り付けられている。支持棒と炉心管51との間隙には、セラミックファイバ等のブランケット状の詰め物54が充填されており、炉心管51は熱膨張時に各支持部52で軸方向に移動して、軸方向の熱応力が解除されるとしている。
【0004】
また、特開平6−3054号公報に開示されたものでは、図7に示すように、セラミックス製炉心管55を耐熱金属製の外筒56の中に挿入し、両者の隙間にセラミックファイバブランケット等の不定形断熱材(図示省略)を詰め込み、炉心管55を保護するようにしている。加熱手段としてのヒータ57は、外筒56を取り囲んで炉体58の中に配設されている。このものでは、熱応力等により炉心管55に多少のクラックが生じても、炉心管55が外筒56で保護されているので、さほどの不都合を生じることなく運転を継続できるとしている。
【0005】
前者は、炉心管51の支持部52で炉心管51の軸方向の移動を容認しているので、炉心管51の軸方向の熱応力は緩和することができるが、炉心管51の芯出しを行うために、各支持部52での半径方向の締め付け力を確保する必要があるので、支持部52における炉心管51円周方向の熱膨張が拘束され、熱膨張が拘束されない支持部52以外の部分との間に大きな熱ひずみ差を生じ、これらの境界部分で発生する周方向の熱応力でクラックを生じやすい問題がある。
【0006】
後者は、炉心管55を全長に渡って詰め物を介して外筒56で支持しているので、軸方向にも周方向にも局所的に大きな熱ひずみ差は生じず、熱応力によるクラックを防止できる効果は有するが、炉心管55と外筒56との間に断熱材が詰め込まれているので、熱効率が悪くなる問題がある。
【0007】
【発明が解決しようとする課題】
そこで、この発明の課題は、セラミックス製炉心管にクラックが発生せず、かつ、高い熱効率を確保できる外熱式ロータリキルンを提供することである。
【0008】
【課題を解決するための手段】
上記の課題を解決するために、この発明は、炉心管がセラミックスで一体に形成された外熱式ロータリキルンにおいて、炉心管の少なくとも両端部を、回転自在に支持された金属製の保護管で覆い、この保護管が炉心管の両端部を覆う各部位の保護管内面側にパッキンボックスを形成し、このパッキンボックスに炉心管の外周面全周に当接するグランドパッキンを収納して、パッキンボックスの押さえ板とパッキン押さえによりグランドパッキンの両端を挟持し、このグランドパッキンにより炉心管を軸方向に摺動可能に支持した構成を採用した。
【0009】
すなわち、炉心管の少なくとも両端部を金属製の保護管で覆い、この保護管が炉心管の両端部を覆う部位で、回転部の軸封部材として使用されるグランドパッキンを活用して炉心管をソフトに支持し、この支持部で炉心管を締め付けることなく、かつ、炉心管の軸方向への摺動も可能とし、炉心管の軸方向および円周方向いずれにおいても、大きな熱応力や熱応力勾配が発生しないようにした。
【0010】
前記炉心管の軸方向への移動を規制する手段を設けることにより、万が一の炉心管の抜け止めをすることができる。
【0011】
前記グランドパッキンによる炉心管の支持位置を、前記保護管の支持位置に合致させて設けることにより、グランドパッキンの炉心管への当たりをより均一にすることができる。
【0012】
【発明の実施の形態】
以下、図1乃至図5に基づき、この発明の実施形態を説明する。図1乃至図4は、第1の実施形態を示す。この外熱式ロータリキルンは、図1および図2に示すように、セラミックス製炉心管1が金属製の保護管2に内嵌され、保護管2の両端部内面側にパッキンボックス3が形成され、各パッキンボックス3にグランドパッキン4が収納されて、炉心管1がグランドパッキン4を介して保護管2に支持されている。両端部を支持された炉心管1の中央部は、保護管2とともに加熱手段としての電気炉5の中に通されている。なお、加熱手段としては、熱風炉等を採用することもできる。
【0013】
前記炉心管1の供給端側には入口フード6が、排出端側には出口フード7が設けられ、原料の供給管8が入口フード6を貫通して、炉心管1の供給端に挿入されている。出口フード7の上部には空気の入口9が、入口フード6の上部には排ガスの出口10が設けられ、出口フード7の下部に製品の排出口11が設けられている。なお、供給管8は振動手段(図示省略)により振動を付与され、原料をスムーズに供給できるようになっている。
【0014】
前記保護管2の外周面には、パッキンボックス3の軸方向位置と合致させて2つのタイヤ12、13が取り付けられ、これらのタイヤ12、13を介して、保護管2が各一対のローラ14、15の上に回転自在に支持されている。また、入口フード6と供給端側のタイヤ12の間の外周面にはスプロケット16が取り付けられており、スプロケット16に巻き掛けられるチェーンにより保護管2が回転され、これとともにグランドパッキン4を介して保護管2に支持された炉心管1も回転されるようになっている。
【0015】
図3に示すように、前記供給端側のタイヤ12を支持するローラ14には、タイヤ12の両端を挟む鍔17が設けられており、保護管2はローラ14による支持点を中心として左右に熱膨張し、熱膨張による軸方向変位は排出端側で大きくなる。このため、排出端側のタイヤ13を支持するローラ15は、この軸方向変位に対応できるように、幅広に形成されている。
【0016】
前記保護管2の供給端側には、炉心管1の軸方向移動を規制する環状のストッパ18が取り付けられ、ストッパ18に、炉心管1の供給端側内周に突き出す円筒部19が設けられている。この円筒部19は、炉心管1端面とストッパ18との隙間から原料が落下するのを防止する。
【0017】
一方、保護管2の排出端側には、炉心管1の排出端側を覆って炉心管1の外側に延長された筒状の排出ガイド20が取り付けられている。この排出ガイド20は、炉心管1が熱膨張により伸縮しても、製品を出口フード7の所定の位置に安定して落下させるためのものである。また、排出ガイド20の端部内側面には、炉心管1の軸方向移動を規制する4つのストッパ21が、90°の位相で突出するように設けられている。
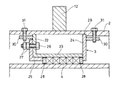
【0018】
図4に示すように、前記パッキンボックス3は、一端に外向きのフランジ22を有する筒部材23と環状の押さえ板24とから成り、フランジ22にパッキン押さえ25がボルト26とナツト27により取り付けられている。グランドパッキン4は筒部材23の内周側に収納され、両端の保護リング28を介して、押さえ板24とパッキン押さえ25により挟持されている。図示は省略するが、排出端側のパッキンボックス3も同じ構成である。
【0019】
前記グランドパッキン4を収納した各パッキンボックス3は、それぞれ保護管2の両端部から押さえ板24側を先にして挿入され、保護管2内周面の段差部29に係止される。フランジ22と押さえ板23には周方向4カ所にボルト取り付け座30が設けられており、これらのボルト取り付け座30に、保護管2の外側からボルト31を螺着して、パッキンボックス3が固定される。
【0020】
前記グランドパッキン4は、炉心管1を全周からソフトに支持するので、この支持部で炉心管1を締め付けることがなく、かつ、炉心管1の軸方向への摺動も可能とし、炉心管1の軸方向および円周方向いずれにおいても、大きな熱応力や熱応力勾配を発生させることがない。
【0021】
図5は、第2の実施形態を示す。この外熱式ロータリキルンは、セラミックス製炉心管32を覆う金属製の保護管33、34が、炉心管32の両端部のみに設けられ、各保護管33、34の内面側に形成されたパッキンボックス35に収納されたグランドパッキン36により、炉心管32の両端部が各保護管33、34に支持されている。各保護管33、34には2つずつのタイヤ37a、37b、38a、38bが取り付けられており、これらのタイヤ37a、37b、38a、38bが、同期して回転駆動されるローラ39a、39b、40a、40bの上に回転自在に支持され、炉心管32が各保護管33、34とともに回転するようになっている。
【0022】
前記グランドパッキン36を収納するパッキンボックス35は、それぞれタイヤ37aと37b、およびタイヤ38aと38bの中間に形成されている。また、ローラ39a、40aには、それぞれタイヤ37a、38aの両端を規制する鍔41が設けられ、排出端側の保護管34を支持する各ローラ40a、40bは、炉心管32の熱膨張を見込んで幅広に形成されている。その他の部分は、第1の実施形態と同じであるので、図1と同じ符号で表示した。この外熱式ロータリキルンでは、炉心管32が電気炉5により直接加熱されるので、より熱効率を高めることができる。
【0023】
上述した各実施形態の外熱式ロータリキルンは、加熱手段の外側に出た炉心管の端部が保護管で覆われているので、大気による炉心管端部の冷却が緩和され、炉心管中央部との温度勾配を小さくして、熱応力を低減する効果も有する。
【0024】
また、上述した各実施形態では、炉心管を水平に設置したが、排出端側へ向けて若干傾斜させてもよい。
【0025】
【発明の効果】
以上のように、この発明の外熱式ロータリキルンは、セラミックス製炉心管の少なくとも両端部を金属製の保護管で覆い、この保護管が炉心管の両端部を覆う部位で、回転部の軸封部材として使用されるグランドパッキンを活用して炉心管をソフトに支持し、この支持部で炉心管を締め付けることなく、かつ、炉心管の軸方向への摺動も可能とし、炉心管の軸方向および円周方向に過大な熱応力や熱応力勾配が生じないようにしたので、セラミックス製炉心管のクラック発生を防止でき、かつ高い熱効率を確保することができる。
【0026】
また、前記炉心管の軸方向への移動を規制する手段を設けることにより、万が一の炉心管の抜け止めをすることができ、前記グランドパッキンによる炉心管の支持位置を、前記保護管の支持位置に合致させて設けることにより、グランドパッキンの炉心管への当たりをより均一にすることができる。
【図面の簡単な説明】
【図1】第1の実施形態の外熱式ロータリキルンを示す一部省略縦断面図
【図2】図1のII−II線に沿った断面図
【図3】図1の要部拡大断面図
【図4】図3の要部拡大断面図
【図5】第2の実施形態の外熱式ロータリキルンを示す一部省略縦断面図
【図6】従来の外熱式ロータリキルンを示す縦断面図
【図7】従来の他の外熱式ロータリキルンを示す縦断面図
【符号の説明】
1 炉心管
2 保護管
3 パッキンボックス
4 グランドパッキン
5 電気炉
6 入口フード
7 出口フード
8 供給管
9 入口
10 出口
11 排出口
12、13 タイヤ
14、15 ローラ
16 鍔
17 スプロケット
18 ストッパ
19 円筒部
20 排出ガイド
21 ストッパ
22 フランジ
23 筒部材
24 押さえ板
25 パッキン押さえ
26 ボルト
27 ナット
28 保護リング
29 段差部
30 ボルト取り付け座
31 ボルト
32 炉心管
33、34 保護管
35 パッキンボックス
36 グランドパッキン
37a、37b、38a、38b ローラ
39a、39b、40a、40b タイヤ
41 鍔
Claims (3)
- 炉心管がセラミックスで一体に形成された外熱式ロータリキルンにおいて、炉心管の少なくとも両端部を、回転自在に支持された金属製の保護管で覆い、この保護管が炉心管の両端部を覆う各部位の保護管内面側にパッキンボックスを形成し、このパッキンボックスに炉心管の外周面全周に当接するグランドパッキンを収納して、パッキンボックスの押さえ板とパッキン押さえによりグランドパッキンの両端を挟持し、このグランドパッキンにより炉心管を軸方向に摺動可能に支持したことを特徴とする外熱式ロータリキルン。
- 前記炉心管の軸方向への移動を規制する手段を設けた請求項1に記載の外熱式ロータリキルン。
- 前記グランドパッキンによる炉心管の支持位置を、前記保護管の支持位置に合致させて設けた請求項1または2に記載の外熱式ロータリキルン。
Priority Applications (1)
| Application Number | Priority Date | Filing Date | Title |
|---|---|---|---|
| JP2000098869A JP3550339B2 (ja) | 2000-03-31 | 2000-03-31 | 外熱式ロータリキルン |
Applications Claiming Priority (1)
| Application Number | Priority Date | Filing Date | Title |
|---|---|---|---|
| JP2000098869A JP3550339B2 (ja) | 2000-03-31 | 2000-03-31 | 外熱式ロータリキルン |
Publications (2)
| Publication Number | Publication Date |
|---|---|
| JP2001280851A JP2001280851A (ja) | 2001-10-10 |
| JP3550339B2 true JP3550339B2 (ja) | 2004-08-04 |
Family
ID=18613301
Family Applications (1)
| Application Number | Title | Priority Date | Filing Date |
|---|---|---|---|
| JP2000098869A Expired - Lifetime JP3550339B2 (ja) | 2000-03-31 | 2000-03-31 | 外熱式ロータリキルン |
Country Status (1)
| Country | Link |
|---|---|
| JP (1) | JP3550339B2 (ja) |
Families Citing this family (6)
| Publication number | Priority date | Publication date | Assignee | Title |
|---|---|---|---|---|
| DE20302000U1 (de) * | 2003-02-08 | 2004-07-08 | Vta Verfahrenstechnik Und Automatisierung Gmbh | Ring-Dichtungsanordnung für einen indirekt beheizten Drehrohrofen |
| JP4647354B2 (ja) * | 2005-03-11 | 2011-03-09 | 高砂工業株式会社 | 炉心管用アタッチメント及びロータリーキルン |
| KR101597267B1 (ko) * | 2008-05-13 | 2016-02-24 | 하퍼 인터내셔날 코포레이션 | 현수형 회전식 튜브 노 |
| JP5704659B2 (ja) * | 2012-11-07 | 2015-04-22 | 杉山重工株式会社 | ロータリーキルン |
| JP6405934B2 (ja) * | 2014-11-25 | 2018-10-17 | 宇部興産株式会社 | 焼成原料の焼成方法、それに用いる円筒状炉芯管、およびその円筒状炉芯管を備える焼成炉 |
| JP5828606B2 (ja) * | 2014-12-09 | 2015-12-09 | 杉山重工株式会社 | ロータリーキルン |
-
2000
- 2000-03-31 JP JP2000098869A patent/JP3550339B2/ja not_active Expired - Lifetime
Also Published As
| Publication number | Publication date |
|---|---|
| JP2001280851A (ja) | 2001-10-10 |
Similar Documents
| Publication | Publication Date | Title |
|---|---|---|
| JP4285789B2 (ja) | 縦型電気炉 | |
| JP3550339B2 (ja) | 外熱式ロータリキルン | |
| US4370128A (en) | Protective device for a discharge end of a tubular rotary kiln | |
| US5326255A (en) | Burner with recuperative air preheating and thermal insulation between the recuperator and the external cap of the burner | |
| CA3125990C (en) | Expansion constraint assembly and related methods | |
| JPH01305289A (ja) | キルン等の回転シリンダー装置用の密封装置 | |
| JPH0112583B2 (ja) | ||
| US3789917A (en) | Rotary heat-exchanger | |
| JP4256084B2 (ja) | 回転体シール機構 | |
| JP2004116518A5 (ja) | ||
| RU2048664C1 (ru) | Вращающаяся печь для термообработки фтористого алюминия | |
| US4212632A (en) | Cooling arrangement for rotary kiln | |
| JP5656411B2 (ja) | ロータリーキルン | |
| KR100888485B1 (ko) | 분리형 턴디쉬 예열용 버너 | |
| US3939902A (en) | Heat exchanger rim and hub with L-shaped cross-section | |
| JPS6214755B2 (ja) | ||
| JP4288839B2 (ja) | 熱分解キルンの外熱ガスシール装置 | |
| JPH0762588B2 (ja) | 水冷ハ−スロ−ル | |
| JPS6349591B2 (ja) | ||
| US4159033A (en) | Trunnion seal | |
| EP0982555A1 (en) | Slab transport roller | |
| SU505380A3 (ru) | Вращающийс регенеративный теплообменник | |
| JP2532102B2 (ja) | 外熱式ロ−タリキルン | |
| US4055045A (en) | Port liner support device | |
| JP3998490B2 (ja) | ラジアントチューブの取付構造 |
Legal Events
| Date | Code | Title | Description |
|---|---|---|---|
| A131 | Notification of reasons for refusal |
Free format text: JAPANESE INTERMEDIATE CODE: A131 Effective date: 20040127 |
|
| A521 | Written amendment |
Free format text: JAPANESE INTERMEDIATE CODE: A523 Effective date: 20040316 |
|
| TRDD | Decision of grant or rejection written | ||
| A01 | Written decision to grant a patent or to grant a registration (utility model) |
Free format text: JAPANESE INTERMEDIATE CODE: A01 Effective date: 20040413 |
|
| A61 | First payment of annual fees (during grant procedure) |
Free format text: JAPANESE INTERMEDIATE CODE: A61 Effective date: 20040423 |
|
| R150 | Certificate of patent or registration of utility model |
Ref document number: 3550339 Country of ref document: JP Free format text: JAPANESE INTERMEDIATE CODE: R150 Free format text: JAPANESE INTERMEDIATE CODE: R150 |
|
| FPAY | Renewal fee payment (event date is renewal date of database) |
Free format text: PAYMENT UNTIL: 20100430 Year of fee payment: 6 |
|
| FPAY | Renewal fee payment (event date is renewal date of database) |
Free format text: PAYMENT UNTIL: 20110430 Year of fee payment: 7 |
|
| FPAY | Renewal fee payment (event date is renewal date of database) |
Free format text: PAYMENT UNTIL: 20120430 Year of fee payment: 8 |
|
| FPAY | Renewal fee payment (event date is renewal date of database) |
Free format text: PAYMENT UNTIL: 20130430 Year of fee payment: 9 |
|
| FPAY | Renewal fee payment (event date is renewal date of database) |
Free format text: PAYMENT UNTIL: 20130430 Year of fee payment: 9 |
|
| FPAY | Renewal fee payment (event date is renewal date of database) |
Free format text: PAYMENT UNTIL: 20140430 Year of fee payment: 10 |
|
| EXPY | Cancellation because of completion of term |