JP3218475U - 乾燥食品包装袋の包装保存容器 - Google Patents
乾燥食品包装袋の包装保存容器 Download PDFInfo
- Publication number
- JP3218475U JP3218475U JP2018003009U JP2018003009U JP3218475U JP 3218475 U JP3218475 U JP 3218475U JP 2018003009 U JP2018003009 U JP 2018003009U JP 2018003009 U JP2018003009 U JP 2018003009U JP 3218475 U JP3218475 U JP 3218475U
- Authority
- JP
- Japan
- Prior art keywords
- packaging bag
- bonding
- storage
- packaging
- storage chamber
- Prior art date
- Legal status (The legal status is an assumption and is not a legal conclusion. Google has not performed a legal analysis and makes no representation as to the accuracy of the status listed.)
- Expired - Fee Related
Links
- 238000004806 packaging method and process Methods 0.000 title claims abstract description 85
- 235000013305 food Nutrition 0.000 title claims abstract description 34
- 238000003860 storage Methods 0.000 claims abstract description 82
- 230000002093 peripheral effect Effects 0.000 claims abstract description 8
- 239000005452 food preservative Substances 0.000 claims abstract description 6
- 235000019249 food preservative Nutrition 0.000 claims abstract description 6
- 239000000463 material Substances 0.000 claims abstract description 5
- 235000013324 preserved food Nutrition 0.000 claims abstract description 5
- 238000007789 sealing Methods 0.000 claims description 33
- 238000000034 method Methods 0.000 claims description 6
- 230000008569 process Effects 0.000 claims description 6
- 238000010030 laminating Methods 0.000 claims description 5
- 239000000853 adhesive Substances 0.000 claims description 3
- 230000001070 adhesive effect Effects 0.000 claims description 3
- 239000003755 preservative agent Substances 0.000 abstract description 25
- 230000002335 preservative effect Effects 0.000 abstract description 21
- 230000002421 anti-septic effect Effects 0.000 abstract description 13
- 239000010408 film Substances 0.000 description 26
- 230000000694 effects Effects 0.000 description 5
- 239000002274 desiccant Substances 0.000 description 4
- 229940123973 Oxygen scavenger Drugs 0.000 description 3
- 238000004519 manufacturing process Methods 0.000 description 3
- 238000004026 adhesive bonding Methods 0.000 description 2
- 241001122767 Theaceae Species 0.000 description 1
- 239000006096 absorbing agent Substances 0.000 description 1
- 230000004075 alteration Effects 0.000 description 1
- XAGFODPZIPBFFR-UHFFFAOYSA-N aluminium Chemical compound [Al] XAGFODPZIPBFFR-UHFFFAOYSA-N 0.000 description 1
- 229910052782 aluminium Inorganic materials 0.000 description 1
- QVGXLLKOCUKJST-UHFFFAOYSA-N atomic oxygen Chemical compound [O] QVGXLLKOCUKJST-UHFFFAOYSA-N 0.000 description 1
- 239000003795 chemical substances by application Substances 0.000 description 1
- 235000016213 coffee Nutrition 0.000 description 1
- 235000013353 coffee beverage Nutrition 0.000 description 1
- 235000009508 confectionery Nutrition 0.000 description 1
- 235000014510 cooky Nutrition 0.000 description 1
- 238000005516 engineering process Methods 0.000 description 1
- 239000011888 foil Substances 0.000 description 1
- 230000007774 longterm Effects 0.000 description 1
- 230000003647 oxidation Effects 0.000 description 1
- 238000007254 oxidation reaction Methods 0.000 description 1
- 229910052760 oxygen Inorganic materials 0.000 description 1
- 239000001301 oxygen Substances 0.000 description 1
- 230000035699 permeability Effects 0.000 description 1
- 238000004321 preservation Methods 0.000 description 1
- 239000010409 thin film Substances 0.000 description 1
Images
Landscapes
- Packages (AREA)
Abstract
【課題】包装袋内の乾燥食品を汚染しない防腐包装の構造を提供する。【解決手段】防腐剤を収容する保存容器1は、押しつぶされにくい材質で成型された収納ボックス10及び通気性フィルム20からなり、収容ボックス内に食品防腐剤30を充填する収納室12を設けて、収納室開口端周縁に段差部13を形成して段差部外周縁に貼合部14を設けると共に貼合部表面には包装袋内面に粘着固定できる貼合面140と一以上の粘着固定しない隙間部141を設ける。通気性フィルムは収納ボックスの段差部に固設して収納室に充填した食品防腐剤を封止し、乾燥食品などを収容する包装袋内面に容器の収納室開口端周縁の段差部外周縁の貼合面により固設し、隙間部を介して包装袋内の雰囲気を収納室内に流通させる。【選択図】図3
Description
本考案は防腐剤が食品を汚染、或いは誤食のアクシデントが発生するのを避けるよう、食品包装袋の包装安全性を高められる食品包装袋の包装保存容器の構造に関する。
茶葉やコーヒー、クッキー、お菓子などの食品は、包装袋を使って包装し、通常その包装袋内の食品と一緒に、乾燥剤或いは脱酸素剤などの防腐剤を入れことで、食品が湿気を帯びたり、酸化或いは変質することを防止し、或いはその可能性を少なくし、或いは回避する。一般的に乾燥剤/脱酸素剤は、通気性のある紙で作られた小さい個別包装の形で食品の包装袋の中に入れられる。
食品包装袋の外部が不当な外力により押しつぶされると、乾燥剤/脱酸素剤が破損或いは破損する可能性があるために、食品が全く汚染されないのを避けることは難しい。また、過失や子供が識別できずに誤食するアクシデントが発生することさえもあり、長期にわたる食品の保存包装の安全性に影響を来たすことを鑑みて、更なる改善が必要であった。
食品包装袋の外部が不当な外力により押しつぶされると、乾燥剤/脱酸素剤が破損或いは破損する可能性があるために、食品が全く汚染されないのを避けることは難しい。また、過失や子供が識別できずに誤食するアクシデントが発生することさえもあり、長期にわたる食品の保存包装の安全性に影響を来たすことを鑑みて、更なる改善が必要であった。
前記公知構造の欠点を解決するため、本考案はこれらの問題を解消した乾燥食品包装袋の包装保存容器の構造を提供することを主な課題とする。
上述の目的を解決するために、本考案の第1の目的は、乾燥食品包装袋の包装保存容器の構造を提供するものである。保存容器に含まれるのは、押しつぶされにくい材質で成型した収納ボックス及び通気性のある薄いフィルムである。該収納ボックスはボックス本体内部に収納室を形成し、該収納室内部に食品防腐剤を充填する。且つ入口端の周縁に段差部を形成し、該段差部の外周縁に貼合部を設ける。該貼合部の表面端に包装袋の紙面に粘着固定できる貼合面を具有し、該貼合面の上に一個以上の貼り付けない隙間を保留する。該通気性フィルムは該収納ボックスの段差部の形状と対応する通気性フィルムであり、該段差部に固設し、該防腐剤を該ボックス本体の収納室内に制限して外部に漏れない。
包装袋を使って乾燥食品の包装を行いたい場合、該保存容器の収納ボックスの貼合面を包装袋の紙面に粘着するだけでよいため、該保存容器は該包装袋の内部の片側面に固設して取り出すことができず、押しつぶされにくい収納ボックスのボックス本体と合わせて防腐剤を収納保護する。一方防腐剤は、包装袋の内の雰囲気が通気性フィルムを通過することができ、更に該貼合面にある貼り付けない隙間から包装袋の袋本体内に通じあうため、乾燥食品に対して防腐作用を発揮する。よって乾燥食品包装袋の防腐包装は、効果的に防腐剤が乾燥食品を汚染したり、或いは誤食のアクシデントが発生するのを避けることができ、乾燥食品の包装袋の防腐包装の安全性がアップする。
包装袋を使って乾燥食品の包装を行いたい場合、該保存容器の収納ボックスの貼合面を包装袋の紙面に粘着するだけでよいため、該保存容器は該包装袋の内部の片側面に固設して取り出すことができず、押しつぶされにくい収納ボックスのボックス本体と合わせて防腐剤を収納保護する。一方防腐剤は、包装袋の内の雰囲気が通気性フィルムを通過することができ、更に該貼合面にある貼り付けない隙間から包装袋の袋本体内に通じあうため、乾燥食品に対して防腐作用を発揮する。よって乾燥食品包装袋の防腐包装は、効果的に防腐剤が乾燥食品を汚染したり、或いは誤食のアクシデントが発生するのを避けることができ、乾燥食品の包装袋の防腐包装の安全性がアップする。
本考案の第2の目的は、乾燥食品包装袋の包装保存容器の構造を提供するものである。該収納ボックスの貼合部の表面端にシーリングフィルムを貼り、且つ該貼合部の表面端にある貼合面及び該一個以上の貼り付けない隙間は、該シーリングフィルムの外表面に形成することで、該保存容器は包装袋内部に使用前を貼り付けるため、シーリングフィルムは防腐剤を長時間該ボックス本体の収納室内に封じ込むことができ、該防腐剤が長時間空気と触れることで効果を失うのを防止することができる。且つ該保存容器がシーリングフィルムの貼合面と包装袋の紙面と粘着して使用する過程において、短期間内にシーリングフィルムの突き刺しを完成し、一個以上の穴を形成する。そうすることで、該収納室内の防腐剤は、雰囲気が該通気性フィルム及び該穴を通じて、さらに該貼合面にある貼り付けない隙間から、包装袋の袋内部に通じあうため、乾燥食品に対して良好な防腐効果がある。
本考案の第3の目的は、乾燥食品包装袋の包装保存容器の構造を提供するものである。該収納ボックスの該段差部と該貼合部の間に、シーリング段差部を形成し、該シーリング段差部にシーリングダイヤフロムを貼ることで、該保存容器は包装袋内部に使用前に貼り付けるため、該シーリングダイヤフロムは防腐剤を長時間該ボックス本体の収納室内に保存することができ、該防腐剤が長時間外界の空気に触れて効果がなくなるのを防止する。且つ該保存容器を該貼合面と包装袋の紙面に粘着して使用する過程において、短期間内にシーリングダイヤフロムの突き刺しを完成し、一個以上の穴を形成すると、該収納室内にある防腐剤は雰囲気が該通気性フィルム及び該穴を通じて、さらに該貼合面にある貼り付けない隙間から包装袋の袋本体内部と通じ合うため、乾燥食品に良好な保存効果が発揮される。
本考案の構造の包装袋を使って乾燥食品の包装を行いたい場合、該保存容器の収納ボックスの貼合面を包装袋の紙面に粘着するだけでよいため、該保存容器は該包装袋の内部の片側面に固設して取り出すことができず、押しつぶされにくい収納ボックスのボックス本体と合わせて防腐剤を収納保護する。一方、防腐剤は雰囲気が通気性フィルムを通過することができ、更に該貼合面にある貼り付けない隙間から包装袋の袋本体内に通じあうため、乾燥食品に対して防腐作用を行う。よって乾燥食品包装袋の防腐包装は、有効的に防腐剤が乾燥食品を汚染、或いは誤食のアクシデントが発生するのを避けることができ、乾燥食品の包装袋の防腐包装の安全性がアップする。
以下、本考案の構造と特徴および効果を、最良実施例と図面を参照しながら詳細に説明する。
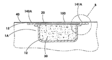
一種の乾燥食品包装袋の包装保存容器である。図1、図2、図3に示すように、一つの保存容器1に含まれるのは、押しつぶされにくい材質(例えばプラスティック材料)で成型する収納ボックス10及び通気性のある薄いフィルム20である。該収納ボックス10はボックス本体11内部に収納室12を形成し、該収納室12内部に食品防腐剤30(例えば乾燥剤或いは脱酸素剤)を充填する。且つ開口端の内周縁に段差部13を形成し、該段差部13の外周縁に一つの貼合部14を設ける。該貼合部14の表面端に包装袋40の紙面に粘着固定できる糊付け貼合面140を具有し、該貼合面140の上面に一個以上の糊付けをしない貼り付けない隙間141を保留する。該通気性フィルム20は該収納ボックス10の段差部13の形状と対応する不織布の通気性フィルムであり、該段差部13に固設し、該防腐剤30を該ボックス本体11の収納室12内に制限して外部に漏れないようにする。
図3、図4に示すように、包装袋40を使って乾燥食品(図に未掲載)の包装を行いたい場合、包装袋40の製造過程において、該保存容器1の収納ボックス10の貼合面140(糊付けされている)を包装袋40内側の紙面に粘着するだけでよい。乾燥食品の包装袋40の包装が完成すると、該保存容器1は該包装袋40の内部の片側面に固設して取り出すことができず、押しつぶされにくい収納ボックス10のボックス本体11と合わせて防腐剤30を収納保護する。一方、防腐剤30は雰囲気が通気性フィルム20を通過することができ、更に該貼合面40にある貼り付けない隙間141から包装袋40の袋本体内に通じあうため、乾燥食品に対して防腐作用を行う。よって乾燥食品包装袋40の防腐包装は、効果的に防腐剤30が乾燥食品が汚染されたり、或いは誤食のアクシデントが発生するのを避けることができ、乾燥食品の包装袋40の防腐包装の安全性がアップする。
図3、図4に示すように、包装袋40を使って乾燥食品(図に未掲載)の包装を行いたい場合、包装袋40の製造過程において、該保存容器1の収納ボックス10の貼合面140(糊付けされている)を包装袋40内側の紙面に粘着するだけでよい。乾燥食品の包装袋40の包装が完成すると、該保存容器1は該包装袋40の内部の片側面に固設して取り出すことができず、押しつぶされにくい収納ボックス10のボックス本体11と合わせて防腐剤30を収納保護する。一方、防腐剤30は雰囲気が通気性フィルム20を通過することができ、更に該貼合面40にある貼り付けない隙間141から包装袋40の袋本体内に通じあうため、乾燥食品に対して防腐作用を行う。よって乾燥食品包装袋40の防腐包装は、効果的に防腐剤30が乾燥食品が汚染されたり、或いは誤食のアクシデントが発生するのを避けることができ、乾燥食品の包装袋40の防腐包装の安全性がアップする。
上述の実施例と同様にして、図5、図6及び図7に示すように、該収納ボックス10の貼合部14の表面端にシーリングフィルム15を貼り、且つ該貼合部14の表面端にある糊付け貼合面140A及び該一個以上の糊付けしない貼り付けない隙間141Aは、該シーリングフィルム15の外表面に形成することで、該保存容器1Aは予定の包装袋(図に未掲載)内部に使用前に貼り付けるため、シーリングフィルム15は防腐剤30を長時間該ボックス本体11の収納室12内に封じ込めることができ、該防腐剤30が長時間空気と触れることで効果を失うのを防止することができる。
図8、図9及び図10に示すように、且つ該保存容器1Aがシーリングフィルム15の貼合面140Aと包装袋40の紙面と粘着して使用する過程において、短期間内にシーリングフィルム15の突き刺し(包装生産ラインにおいて、針を使ってシーリングフィルムに穴を通す)を完成し、一個以上の穴150を形成する。そうすることで、該収納室12内の防腐剤30は、雰囲気が該通気性フィルム20及び該穴150を通じて、さらに該貼合面140Aにある貼り付けない隙間141Aから、包装袋40の袋内部に通じあうため、乾燥食品に対して良好な防腐効果がある。
図8、図9及び図10に示すように、且つ該保存容器1Aがシーリングフィルム15の貼合面140Aと包装袋40の紙面と粘着して使用する過程において、短期間内にシーリングフィルム15の突き刺し(包装生産ラインにおいて、針を使ってシーリングフィルムに穴を通す)を完成し、一個以上の穴150を形成する。そうすることで、該収納室12内の防腐剤30は、雰囲気が該通気性フィルム20及び該穴150を通じて、さらに該貼合面140Aにある貼り付けない隙間141Aから、包装袋40の袋内部に通じあうため、乾燥食品に対して良好な防腐効果がある。
上述の実施例と同様にして、図11、図12、図13に示すように、該収納ボックス10Aの該段差部13と該貼合部14の間に、一つのシーリング段差部16を形成し、該シーリング段差部16にアルミ箔材質のシーリングダイヤフロム17を貼ることで、保存容器1Bは包装袋(図に未掲載)内部に使用前に貼り付けるため、該シーリングダイヤフロム17は防腐剤30を長時間該ボックス本体11の収納室12内に保存することができ、該防腐剤30が長い時間外界の空気に触れて効果がなくなるのを防止する。図14、図15及び図16に示すように、且つ該保存容器1Bを該貼合面140と包装袋40の紙面に粘着して使用する過程において、短期間内にシーリングダイヤフロム17の突き刺しを行い(包装生産ラインにおいてシーリングダイヤフロム17を針で突き刺すことができる)、一個以上の穴170を形成することによって、該収納室12内にある防腐剤30は該通気性フィルム20及び該穴170を通じて、さらに該貼合面140にある貼り付けない隙間141から包装袋40の袋本体内部と雰囲気が通じ合うため、乾燥食品に良好な保存効果が生まれる。
以上の実施例による本考案の詳細な説明は本考案の範囲を制限するものではない。本技術に熟知する者が、本考案の範囲内にて変更や調整を行っても、本考案の重要な意義は失われず、本考案の範囲に含まれる。
1、1A、1B 保存容器
10、10A 収納ボックス
11 ボックス本体
12 收納室
13 段差部
14 貼合部
140、140A 貼合面
141、141A 貼り付けない隙間
15 シーリングフィルム
150 穴
16 シーリング段差部
17 シーリングダイヤフロム
170 穴
20 通気性フィルム
30 防腐剤
40 包裝袋
10、10A 収納ボックス
11 ボックス本体
12 收納室
13 段差部
14 貼合部
140、140A 貼合面
141、141A 貼り付けない隙間
15 シーリングフィルム
150 穴
16 シーリング段差部
17 シーリングダイヤフロム
170 穴
20 通気性フィルム
30 防腐剤
40 包裝袋
Claims (3)
- 保存容器は、押しつぶされにくい材質で成型された収納ボックス及び通気性フィルムからなり、
該収容ボックス内に食品防腐剤を充填する収納室を設け、該収納室開口端周縁に段差部を形成してその段差部外周縁に貼合部を設けると共に該貼合部表面には包装袋内面に粘着固定できる貼合面と一以上の粘着固定しない隙間部を設け、
該通気性フィルムは上記収納ボックスの段差部の形状と対応する形状であって、該段差部に固設して上記収納室に充填した食品防腐剤を封止し、
乾燥食品などを収容する包装袋内面に上記容器の収納室開口端周縁の段差部外周縁の貼合面により固設し、上記隙間部を介して包装袋内の雰囲気を収容室内と流通せしめることを特徴とする乾燥食品包装袋の包装保存容器の構造。 - 前記収納ボックスの段差部外周縁に対してシーリングフィルムを設けて粘着固定するため、該シーリングフィルムに段差部外周縁に対する貼合部を設けると共に該貼合部表面には包装袋内面に粘着固定できる貼合面と一以上の粘着固定しない隙間部を設け
該保存容器をシーリングフィルムの貼合面と包装袋内面と粘着して使用する過程において、短期間内にシーリングフィルムの突き刺しによって一個以上の穴を形成し、
該通気性フィルム及び該穴を通じて、さらに該貼合面にある貼り付けない上記隙間部を介して包装袋内の雰囲気を収容室内と流通せしめることを特徴とする請求項1記載の乾燥食品包装袋の包装保存容器の構造。 - 前記該収納ボックスの段差部と貼合部の間に、シーリング段差部を形成し、該シーリング段差部にシーリングダイヤフロムを貼り、
該保存容器を該貼合面と包装袋の紙面に粘着して使用する過程において、短期間内にシーリングダイヤフロムの突き刺しを行って一個以上の穴を形成することにより、
該通気性フィルム及び該穴を通じて、さらに該貼合面にある貼り付けない上記隙間部を介して包装袋内の雰囲気を収容室内と流通せしめることを特徴とする請求項1記載の乾燥食品包装袋の包装保存容器の構造。
Applications Claiming Priority (2)
| Application Number | Priority Date | Filing Date | Title |
|---|---|---|---|
| TW106211702U TWM562837U (zh) | 2017-08-09 | 2017-08-09 | 乾燥食品包裝袋包裝保鮮器 |
| TW106211702 | 2017-08-09 |
Publications (1)
| Publication Number | Publication Date |
|---|---|
| JP3218475U true JP3218475U (ja) | 2018-10-18 |
Family
ID=63641763
Family Applications (1)
| Application Number | Title | Priority Date | Filing Date |
|---|---|---|---|
| JP2018003009U Expired - Fee Related JP3218475U (ja) | 2017-08-09 | 2018-08-03 | 乾燥食品包装袋の包装保存容器 |
Country Status (2)
| Country | Link |
|---|---|
| JP (1) | JP3218475U (ja) |
| TW (1) | TWM562837U (ja) |
Families Citing this family (2)
| Publication number | Priority date | Publication date | Assignee | Title |
|---|---|---|---|---|
| TWI649241B (zh) * | 2017-08-09 | 2019-02-01 | 川本國際包裝有限公司 | Dry food packaging bag packaging preservative |
| TWI682880B (zh) * | 2018-09-25 | 2020-01-21 | 川本國際包裝有限公司 | 自助式乾燥食品保鮮排氣袋結構 |
-
2017
- 2017-08-09 TW TW106211702U patent/TWM562837U/zh unknown
-
2018
- 2018-08-03 JP JP2018003009U patent/JP3218475U/ja not_active Expired - Fee Related
Also Published As
| Publication number | Publication date |
|---|---|
| TWM562837U (zh) | 2018-07-01 |
Similar Documents
| Publication | Publication Date | Title |
|---|---|---|
| ES2802288T3 (es) | Materiales de envasado de control de la humedad | |
| US11425921B2 (en) | Dried food fresh-keeping packaging bag structure | |
| JP3218475U (ja) | 乾燥食品包装袋の包装保存容器 | |
| JP3218872U (ja) | 包装袋乾燥食品包装鮮度保持器 | |
| WO2015099108A1 (ja) | 薬剤揮散袋及びこれを収納する薬剤揮散容器 | |
| KR102399827B1 (ko) | 포장 시트, 포장 밥덩어리 및 그 포장을 푸는 방법 | |
| TWI687358B (zh) | 包裝袋乾燥食品包裝保鮮器 | |
| JP3813274B2 (ja) | 包装体 | |
| CN206446947U (zh) | 一种存放胶囊的药品包装盒 | |
| JP2006069635A (ja) | ウェット状シート包装体 | |
| JP2015196533A (ja) | スキンケアキット、及びスキンケアキットの保存方法 | |
| CN205675426U (zh) | 防潮透气型咖啡包装袋 | |
| TWM607597U (zh) | 乾燥食品包裝袋用雙效保鮮器 | |
| JP2007246092A (ja) | 包装体 | |
| JPS6151833U (ja) | ||
| CN221915599U (zh) | 一种可撕拉八边封吸湿袋 | |
| TWI742879B (zh) | 乾燥食品包裝袋用雙效保鮮器 | |
| TWI649241B (zh) | Dry food packaging bag packaging preservative | |
| TWM582933U (zh) | 自助式乾燥食品保鮮包裝袋結構 | |
| TWM593388U (zh) | 易撕型保鮮器 | |
| CN214877101U (zh) | 一种用于茶叶的干燥密封盒 | |
| JPH10120049A (ja) | ウエットティッシュ包装体 | |
| CN205034533U (zh) | 保鲜袋 | |
| JPS6313178Y2 (ja) | ||
| JPH0237725Y2 (ja) |
Legal Events
| Date | Code | Title | Description |
|---|---|---|---|
| R150 | Certificate of patent or registration of utility model |
Ref document number: 3218475 Country of ref document: JP Free format text: JAPANESE INTERMEDIATE CODE: R150 |
|
| R250 | Receipt of annual fees |
Free format text: JAPANESE INTERMEDIATE CODE: R250 |
|
| R250 | Receipt of annual fees |
Free format text: JAPANESE INTERMEDIATE CODE: R250 |
|
| LAPS | Cancellation because of no payment of annual fees |