JP3171908U - 折り畳み可能なステージ - Google Patents

折り畳み可能なステージ Download PDF

Info

Publication number
JP3171908U
JP3171908U JP2011005116U JP2011005116U JP3171908U JP 3171908 U JP3171908 U JP 3171908U JP 2011005116 U JP2011005116 U JP 2011005116U JP 2011005116 U JP2011005116 U JP 2011005116U JP 3171908 U JP3171908 U JP 3171908U
Authority
JP
Japan
Prior art keywords
stage
surface forming
foldable
plate
support frame
Prior art date
Legal status (The legal status is an assumption and is not a legal conclusion. Google has not performed a legal analysis and makes no representation as to the accuracy of the status listed.)
Expired - Fee Related
Application number
JP2011005116U
Other languages
English (en)
Inventor
林平 佐藤
林平 佐藤
Original Assignee
株式会社 ジーエーピー
株式会社 ジーエーピー
Priority date (The priority date is an assumption and is not a legal conclusion. Google has not performed a legal analysis and makes no representation as to the accuracy of the date listed.)
Filing date
Publication date
Application filed by 株式会社 ジーエーピー, 株式会社 ジーエーピー filed Critical 株式会社 ジーエーピー
Priority to JP2011005116U priority Critical patent/JP3171908U/ja
Application granted granted Critical
Publication of JP3171908U publication Critical patent/JP3171908U/ja
Anticipated expiration legal-status Critical
Expired - Fee Related legal-status Critical Current

Links

Images

Landscapes

  • Steps, Ramps, And Handrails (AREA)

Abstract

【課題】例えば、車椅子などで比較的に高い段差を乗り越えるときに長い直線スロープを作らず、狭い場所でも該段差を乗り越えるときに中継台としても使用でき、しかも、コンパクトに折り畳んでどこへでも持ち運べる折り畳み可能なステージを提供することにある。【解決手段】折り畳み可能なステージ10は、4つの側面形成体31〜34からなる四角形の折り畳み可能な支持フレーム本体30の上部に折り畳み可能なステージ板11を着脱可能に配置して構成されている。支持フレーム本体30は、相対向する第1及び第2側面形成体31,32のそれぞれが、相互に隣接する第3及び第4側面形成体の幅方向端部どうしにヒンジ39を用いて接続されており、相対向する第3及び第4側面形成体33,34が、それぞれの幅方向中間部で折り畳み可能にヒンジ40を用いて接続された2つの側面構成部35〜38により構成されている。【選択図】図1

Description

本考案は、折り畳み可能なステージに関し、更に詳細には、例えば、車椅子などで段差を通過する際、その途中に台を設置し、この台を中継してその方向を転換するか直進し、或いはさらに高い位置まで移動する中継台として使用できる折り畳み可能なステージに関する。
従来、車椅子などで、段差のある場所を通過する場合、一般的には、渡し板を架け渡してスロープ(傾斜通路)を作り、このスロープを利用して段差を乗り越えている。しかしながら、車椅子が、このようなスロープを通行して段差を乗り越える場合、その勾配におのずから限界があり、車椅子が介助者に押されてこのスロープを通過し得る角度はおおよそ10度〜15度程度までとされている。従って、高さが比較的に高い段差の場合には、スロープの勾配を緩くするため、相当に長いスロープが必要となる。通常、車椅子用に準備されている渡し板は、その用途の目的からしてそれ程長いものはなく、そのため、車椅子により高さが比較的に高い段差を乗り越える場合には、中継台を設置し、この中継台に渡し板を掛けて車椅子を該中継台まで上げ、そこから更に渡し板を使ってそれより高い位置に移動する、という手法をとっていた。このような手法は、特許文献1の図11に開示されており、既によく知られている。
特開2004−293195号公報
しかしながら、特許文献1の図11に図示されている中継台については、非常に重く、また大型であるため持ち運びや保管に非常に不便である、という問題点が該特許文献1でも指摘されている。特許文献1では、このような中継台の問題点を解決するため、中継台を使用しないで所定高さの段差を乗り越えるべく複数の渡し板を連結する結合装置を提供し、この結合装置により長いスロープを作り、以ってスロープの勾配を小さくしようとするものである。
しかし、特許文献1に開示された結合装置では、複数の渡し板が同方向に結合されることから、結合により形成されたスロープは相当に長くなる。そのため、段差の正面側にこのような長いスロープを設置するスペースがない場所ではまったく利用するができない、という問題があった。従って、車椅子が、比較的に狭い場所で高さのある段差を乗り越えるには、中継台が非常に便利でかつ重要な用具となることは明らかである。このような理由から、折り畳んで手軽に収納或いは持ち運びができる中継台の提供が望まれていた。
本考案の目的は、かかる従来の問題点を解決するためになされたものであって、例えば、車椅子などで比較的に高い段差を乗り越えるときに長い直線スロープを作らず、狭い場所でも該段差を乗り越えるときに中継台としても使用でき、しかも、コンパクトに折り畳んでどこへでも持ち運べる折り畳み可能なステージを提供することにある。
本考案の折り畳み可能なステージは、相対する一対の第1及び第2側面形成体と、これら2つの第1及び第2側面形成体のそれぞれ一方の幅方向端部どうし間に配置された第3側面形成体と、前記第1及び第2側面形成体のそれぞれ他方の幅方向端部どうし間に配置され、前記第3側面形成体に対向する第4側面形成体とからなる四角形の支持フレーム本体と、この支持フレーム本体の上部に着脱可能に配置されて床板となるステージ板とを備え、相互に隣接する前記側面形成体の前記幅方向端部どうしのそれぞれが、折り畳み可能にヒンジを用いて接続されており、相対向する前記第3側面形成体と前記第4側面形成体が、それぞれの幅方向中間部で折り畳み可能にヒンジを用いて接続された2つの側面構成部から構成されていることを特徴としている。
本考案に係る折り畳み可能なステージの他の実施態様としては、前記第1及び第2側面形成体と、前記第3及び第4側面形成体をそれぞれ構成する2つの前記側面構成部とが、各々4本の棒状のフレームを額縁状に結合して構成されている。
本考案に係る折り畳み可能なステージの他の実施態様としては、前記ステージ板に着脱自在に取り付けられる脱落防止柵を備えている。
本考案に係る折り畳み可能なステージの他の実施態様としては、前記ステージ板が、裏面側に取り付けられたガイド部材を備え、前記ステージ板が、直方体形状に広げられた前記支持フレーム本体の上部に取り付けられるとき、前記ガイド部材が前記支持フレーム本体の上部に画成される四角形の開口部に緊密に嵌合するように取り付けられている。さらに、本考案に係る折り畳み可能なステージの他の実施態様として、前記ステージ板が、少なくとも2つ又はそれ以上の板部材をヒンジ装置で接続して折り畳み可能に構成されている。また、本考案に係る折り畳み可能なステージの他の実施態様として、前記ガイド部材が、鋼材で形成されたアングル材若しくはチャンネル材で構成されている。
本考案の折り畳み可能なステージによれば、例えば、車椅子が比較的に高い段差を乗り越えなければならないときに中継台を必要とするが、そのような場合、折り畳まれている支持フレーム本体を展開し、その上にステージ板を乗せることにより、この考案のステージを中継台として使用すべく非常に簡単に組み立てて使用できる。このように車椅子通行時の中継台として用いることができる本考案の折り畳み可能なステージは、折り畳めるように構成された支持フレーム本体を備えていることから、不使用時にはコンパクトに折り畳んでおくことができるため持ち運びが容易で、かつ保管するときでも大きなスペースを必要としない。
また、本考案の折り畳み可能なステージによれば、第1及び第2側面形成体のそれぞれが、少なくとも4本の棒状のフレームを額縁状に結合して構成され、また、第3及び第4側面形成体をそれぞれ構成する2つの側面構成部のそれぞれも、同様に4本の棒状のフレームを額縁状に結合して構成されているので、非常に軽量であり、その結果、持ち運びや組み立てが容易で、しかも組み立て時にその労力や時間を軽減することができる。
また、本考案の折り畳み可能なステージによれば、ステージ板に着脱自在に取り付けられる脱落防止柵を備えていることから、このような折り畳み可能なステージであっても脱落防止柵を容易に取り付けることができ、これにより、かかるステージを使用する際の安全性を高めることができる。
また、本考案の折り畳み可能なステージによれば、ステージ板が、平面で見て四角形状に広げられた支持フレーム本体の上部に取り付けられるとき、ステージ板の裏面に設けられたガイド部材が支持フレーム本体の上部に画成される四角形の開口部に緊密に嵌合するので、このステージを中継台として使用しているときに、ステージ板が支持フレーム本体から簡単に外れるようなことがない。さらに、ステージ板は、少なくとも2つ又はそれ以上の板部材をヒンジ装置で接続して折り畳み可能に構成されているので、不使用時にはこれもコンパクトに収納できステージの持ち運びを容易にしている。さらにまた、本考案の折り畳み可能なステージによれば、ガイド部材が、鋼材で形成されたアングル材若しくはチャンネル材で構成されているので、車椅子がステージ板上に乗ってその方向を転換する場合にも支持フレーム本体から外れることがない。
本考案の一実施形態に係る持ち折り畳み可能なステージを示す斜視図。 図1に示される折り畳み可能なステージを構成する支持フレーム本体を示す平面図。 図2に示される支持フレーム本体を折り畳んでいる途中の状態を示す斜視図。 図2に示される支持フレーム本体に載せる折り畳み可能なステージ板の断面図。 ステージ板を構成する2つの板部材を2つのテープで連結する状態を示す断面図。 脱落防止柵をステージ板に着脱可能に取り付けるべくその支柱に設けられた挿入棒をステージ板の穴に挿入した状態を示す部分的な断面図。
以下、本考案の折り畳み可能なステージを添付の図に示された好適な実施形態についてさらに詳細に説明する。ここでは、本考案の折り畳み可能なステージの好適な実施形態として、車椅子が所定高さの段差を乗り越えるときに使用される中継台を例にして説明する。本考案の一実施形態に係る折り畳み可能なステージ10は、図1に示されるように、ほぼ四角形状をした所定厚みのステージ板11と、このステージ板11をその下面側から支持すべく配置され、ステージ板11が載る上部側から見て四角形状の支持フレーム本体30とから構成されている。支持フレーム本体30は、相対する一対の第1及び第2側面形成体31,32と、これら2つの第1及び第2側面形成体31,32のそれぞれ一方の幅方向端部31a,32aどうし間に配置された第3側面形成体33と、第1及び第2側面形成体31,32のそれぞれ他方の幅方向端部31b,32bどうし間に配置され、第3側面形成体33に対向する第4側面形成体34とから構成されている。
さらに具体的に説明すると、第1及び第2側面形成体31,32は、それぞれ断面四角形の4本の鋼材を額縁状に組み合わせて形成されている。第1側面形成体31は、図1及び図2から明らかなようにその幅方向各端部31a,31bにおける一方の各側面が、第3側面形成体33の一方の幅方向端部33aにおける端面と、第4側面形成体34の一方の幅方向端部34aにおける端面とに当接し、それら隣接する端部どうしは内側に取り付けたヒンジ即ち蝶番39により屈折可能に連結されている。同様に、第2側面形成体32も、その幅方向各端部32a,32bにおける一方の各側面が、第3側面形成体33の他方の幅方向端部33bにおける端面と、第4側面形成体34の他方の幅方向端部34bにおける端面とに当接し、それら隣接する端部どうしが内側に取り付けたヒンジ即ち蝶番39により屈折可能に連結されている。これにより、支持フレーム本体30は、前述したようにステージ板11が載る上部側から見て四角形状の台座を形成することになる。
第3側面形成体33は、2つの側面構成部35,36から形成されている。すなわち、各側面構成部35,36は、断面四角形の4本の鋼材を額縁状に連結して形成され、側面構成部35の幅方向端部側に位置する一方の側枠部35bと側面構成部36の幅方向端部側に位置する一方の側枠部36aとの各端面どうしが接するように並べられ、隣接する2つの側枠部35b,36aの外側面に取り付けられたヒンジ即ち蝶番40により屈折可能に連結されて第3側面形成体33とされている。また、第4側面形成体34は、2つの側面構成部37,38から形成されている。すなわち、各側面構成部37,38は、断面四角形の4本の鋼材を額縁状に連結して形成され、側面構成部37の幅方向端部側に位置する一方の側枠部37bと側面構成部38の幅方向端部側に位置する一方の側枠部38aとの各端面どうしが接するように並べられ、隣接する2つの側枠部37b,38aの外側面に取り付けられたヒンジ即ち蝶番40により屈折可能に連結されて第4側面形成体34とされている。
このように構成された支持フレーム本体30では、第3側面形成体33を構成している2つの側面構成部35,36どうしがヒンジ40で連結され、かつ第3側面形成体33の両端部33a,33bでもある各側面構成部35,36の各端部35a,36bと第1及び第2側面形成体31,32の端部31a,32aとがヒンジ39で連結されていることから、第3側面形成体33がその幅方向中間部で内方側に屈折可能となる。また、第4側面形成体34を構成している2つの側面構成部37,38どうしもヒンジ40で連結され、かつ第4側面形成体34の両端部34a,34bである各側面構成部37,38の各端部37a,38bと第1及び第2側面形成体31,32の端部31b,32bとがヒンジ30で連結されていることから、第4側面形成体34もまたその幅方向中間部で内方側に屈折可能となる。その結果、支持フレーム本体30は、ステージ板11が載る上部側から見て四角形状の状態から、それぞれ所定の厚みを持った板状を呈している各側面形成体31,32,33,34を重ねた状態に折り畳むことができ、また逆に、そのような状態に折り畳まれた支持フレーム本体30を図1に示される直方体形状に広げてステージ板11のための台座とすることができる。
支持フレーム本体30を構成している4つの側面形成体31〜34における平坦な上面部には、その内方側にステージ板11の外周部を嵌め込んで載せるための凹部41が形成されている。すなわち、この凹部41は、各側面形成体31〜34それぞれの上面部内側寄りに形成されたL字状の切欠き部41a,41b,41c,41dによって形成されている。個々の側面形成体について更に具体的に説明すると、支持フレーム本体30は、前述したように第3側面形成体33とこれに対向する側に配置された第4側面形成体34とのそれぞれが、第1側面形成体31とこれに対向する側に配置された第2側面形成体32との各端部間に挟まれて構成されているので、第3及び第4側面形成体33,34についてはその幅方向全長に亘って切欠き部41c,41dが上面部内側寄り形成され、他方、第1及び第2側面形成体31,32については、図2から明らかなように両端部側を僅かに残した状態で切欠き部41a,41bが形成されている。
すなわち、切欠き部41a,41bが「第1及び第2側面形成体31,32の両端部側を僅かに残した状態で形成される」とは、切欠き部41a,41bの幅方向両端面が、各側面形成体31,32,33,34を前述したように平面で見て四角形に組み立てたとき、隣接する第3及び第4側面形成体33,34の上面部に形成された切欠き部41c,41dの内方に向いた側面と同一面になる位置にあり、その位置より幅方向外側には切欠き部が形成されていない、ことを意味している。また、これらの切欠き部41a〜41dにより形成される凹部41の深さは、この凹部41に嵌め込まれるステージ板11の厚みにほぼ一致する。
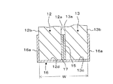
ステージ板11は、繊維強化プラスチック(FRP)から形成されたほぼ同じ大きさ及び厚さの2枚の板部材12,13を折り畳み可能に接続して構成されている。各板部材12,13は、表面12a,13a及び裏面12b,13b、対向する側面12c,12d、13c,13d及び対向する端面12e,12f,13e,13fの六面を備える所定厚さの直方体である。これらの板部材12,13は、それぞれの表面12a,13aと裏面12b,13bとは平坦(平滑)に形成され、また、各側面12c,12d,12e,12f、13c,13d,13e,13fも平坦(平滑)に形成されている。
これら2枚の板部材12,13は、それぞれの側面12d,13cが対面するように対峙させられ、それら各側面12d,13c間に僅かな間隙部14を形成するように接近して並べられた状態で可撓性を有する合成樹脂製の第1テープ15及び第2テープ16により接続されている。これら第1テープ15及び第2テープ16を用いた板部材12,13どうしの接続構造について詳細に説明すると、第1テープ15は、図4の断面図及び図5の拡大図から明らかなように板部材12の側面12dと板部材13の側面13cを近接対峙させた時に形成される間隙部14を跨いで両板材12,13の各表面12a,13aに接着剤又は粘着剤で貼り付けられる。
また、第2テープ16は、間隙部14で対面している両板部材12,13の各側面12d,13cに接着剤又は粘着剤で貼り付けられ、更にその第2テープ16の幅方向側方部16a,16bが各板部材12,13の裏面12b,13bにも及んで接着剤又は粘着剤で貼り付けられている。そして、間隙部14では第1テープ15と第2テープ16とが、相互に貼り合わされている。図4及び図5では、第1テープ15と第2テープ16とが間隙部14で相互に接合している部分を符号17で示す。
可撓性を有する合成樹脂製の第1テープ15と第2テープ16で2つの板部材12,13を連結する際のこれらテープ15,16の貼り付け方について説明すると、図4に示されるように隣接する板部材12,13を、それぞれの一側面12d,13cが対面するように対峙させ、それら各側面12d,13c間に僅かな間隙部14が形成されるように接近して並べる。そして、第1テープ15が、側面12d,13c間の間隙部14を跨ぐように、かつこの間隙部14に沿って両板部材12,13の長さ方向に亘ってその表面12a,13aに接着剤又は粘着剤により貼り付けられる。次いで、図5に示されるように第1テープ15で仮接続された両板部材12,13が、第1テープ15の間隙横断部分をヒンジ部として2つの板部材12,13の表面12a,13aどうしが対面するように旋回させられる。
このように第1テープ15により仮接続された2つの板部材12,13が、それらの表面12a,13aどうしを対面させるように折り畳まれると、図5に示されるように対面していた側面12d,13cが同じ平面上に位置することになる。そこで、第2テープ16が、両側面12d,13cに、対面している表面12a,13a間の間隙部を跨ぐように側面12d,13cの長さ方向に亘って接着剤又は粘着剤により貼り付けられる。これにより、第2テープ16は、2つの板部材12,13の両側面12d,13cに貼り付けられると共に、間隙部14を横断する部分では、間隙部14を跨いで表面12a,13aに貼り付けられた第1テープ15の間隙横断部と貼り合わされ、その結果、間隙部14には2つのテープ15,16どうしの接合部17が形成される。
この接合部17は、2枚の板部材12,13を連結するだけではなく、図1に示されるように各表面12a,13aがほぼ連続する平面になるように広げ、また、各表面12a,13aを重ね合わせるべく折り畳むときの各板部材12,13の旋回中心、即ちヒンジ部としても機能する。このヒンジ部を兼ねた連結部は、第1テープ15と第2テープ16とが相互に接合されている結果、非常に強靱である。
ところで、第2テープ16は、ステージ板11が、図5に示されるように各板部材12,13の表面12a,13aどうしを対面させるように折り畳まれたとき、表面12a,13a間の間隙部を挟んでその両側に位置する両側面12d,13cの全幅寸法Wより大きい幅寸法を有している。従って、表面12a,13a間の間隙部を跨いで側面12d,13cに、その長さ方向に亘り接着剤又は粘着剤によって貼り付けられた第2テープ16の幅方向側方部は各板部材12,13の各側面12d,13cからはみ出す。このはみ出した幅方向側方部即ちテープ部分16a,16bは各板部材12,13の裏面側に折り返されて裏面12b,13bに貼り付けられる。
2つの板部材12,13を連結する第1テープ15及び第2テープ16としては、間隙部14を横断する方向、即ちテープの幅方向に延びる多数の補強繊維(糸)の入っているテープを用いることができる。このように各テープ15,16にその幅方向に延びる多数の補強繊維を入れると、各テープ15,16における幅方向への引っ張り力に対する強度が高くなるため間隙部14での2つのテープ15,16の接合部17の強度が更に高まり、2つの板部材12,13の連結作用及びヒンジ作用の耐久性をより向上させることができる。さらに、第1テープ15及び第2テープ16に、間隙部14に沿って延びる方向、即ちテープ15,16の長さ方向に延びる多数の補強繊維(糸)を入れたテープを用いることも好ましく、このようなテープを用いた場合にはテープ自体の引っ張り強度がより大きくなることから、間隙部14に形成される接合部17の強度はより一層高くなる。
ところで、長さ方向及びこれに直交する幅方向に補強用の縦糸横糸を入れたテープとしては、例えば、一面に予め粘着剤が塗布されて巻き取られている布粘着テープと称されるものをはじめとして市販されている種々のテープ、例えば、ポリエステル不織布を補強材に使用したポリエステルフィルムに粘着剤を塗布したストロングテープ(日東電工CSシステム株式会社製)を第1テープ15及び第2テープ16として使用することができる。勿論、市販されている他の布粘着テープなどを使用することもできる。
このようなステージ板11の裏面には、該ステージ板11を支持フレーム本体30の凹部41に嵌め込む際のガイド部材18が補助的に取り付けられている。このガイド部材18は、断面コ字型をしたチャンネル鋼材を用いて構成され、図6に示されるようにステージ板11を支持フレーム本体30の上部に形成されている凹部41に嵌め込んだときに各側面構成体31,32,33,34の内側面に接触する位置に取り付けられている。もちろん、ステージ板11は、前述したように2枚の板部材12,13を折り畳み可能に接続しているので、その接続部を横断するガイド部材18は、それぞれの板部材12,13ごとに分かれている。このようなチャンネル鋼材からなるガイド部材18は、ステージ板11が支持フレーム本体30の上部における凹部41に嵌め込まれたときに各側面形成体31〜34の内側に接する位置に部分的に取り付けられていてもよく、或いはステージ板11の裏面を平面的に見て四角形の環状を呈するように全周に取り付けられていてもよい。
この実施形態では、ステージ板11が、支持フレーム本体30の上部枠部材上面に形成された切欠き部41a〜41dにより構成される凹部41に落とし込まれるように載せられるため、前述したガイド部材18がなくてもステージ板11が支持フレーム本体30から外れることはないが、凹部41を形成している切欠き部の寸法誤差から生じるかもしれないステージ板11のがたつきなどを防止することができる。本考案の折り畳み可能なステージ10では、支持フレーム本体30の上部枠上面に切欠き部を形成して凹部41とし、この凹部41にステージ板11を落とし込むようにしたが、本考案では、このような凹部41はかならずしも必要ではなく、単に支持フレーム本体30の上部枠上面を支持体としてそこにステージ板11を載せるようにしてもよく、そのような場合にはガイド部材18がステージ板11の支持フレーム本体30からの位置ずれを防ぐことになる。
なお、このようなガイド部材は、断面L形のアングル鋼材を使用して形成することもできる。
さらに、この折り畳み可能なステージ10は、ステージ板11に着脱可能に取り付けられる脱落防止柵19を備えている。この脱落防止柵19は、真っ直ぐな棒材19aと、4本の支柱19bとから構成され、各支柱19bの一端が棒材32aの長手方向にほぼ等間隔に接続された櫛形状を呈している。各支柱19bの他端には、支柱19bより小径の挿入棒19cが支柱19bから連続するように取り付けられている。他方、ステージ板11の表面における各側縁部には、脱落防止柵19を着脱可能に取り付けるため、これら各側縁部に沿ってそれぞれ4つの挿入穴20が形成されている。
具体的には、ステージ板11の一側縁部に形成された4つの挿入穴20は、脱落防止柵19の4つの支柱19bから延びる各挿入棒19cが同時に挿入可能なように4つの支柱19bの間隔と同じ間隔で形成され、かつステージ板11の裏面に設けられているガイド部材18の直上からこのガイド部材18を貫通して形成されている。これにより、この折り畳み可能なステージ10を車椅子用の中継台として使用するとき、不要な進路を脱落防止柵19により塞ぐことができるので、ステージ板11の上に移動してきた車椅子が誤って間違った進路に進んで中継台から落ちるのを防止することができる。
次に、この折り畳み可能なステージ10が車椅子用の中継台として使用されるときの使用方法について説明する。不使用状態のステージ10は、前述したように折り畳まれて保管場所に格納されているか、若しくは車椅子と共に車両などに乗せて搬送される。車椅子が1つの渡し板では乗り越えることができない段差などを通行しなければならないときには、折り畳まれていた支持フレーム本体30が広げられ、同様に折り畳まれていたステージ板11も広げられて支持フレーム本体30の凹部41に嵌め込まれる。そして、組み立てられたステージ10が段差の近傍に配置され、地面とステージ10上に渡し板(図示せず)が掛けられる。車椅子は、ステージ10上で90度方向転換をして段差を乗り越える場合と、ステージ10から更に直進して段差を乗り越える場合とがあるので、その時の予定進路即ちステージ10を通過して向かう方向の進路には2つ目の渡し板が掛けられる。次いで、ステージ10から次の進路となる方向以外の方向には必要に応じた数の脱落防止柵19がステージ板11に装着される。
このようにして車椅子がステージ10を中継台として所定の段差を乗り越えた後には、ステージ板11から脱落防止柵19を外した後、支持フレーム本体30からステージ板11を外して折り畳み、次に、支持フレーム本体30も図3に示されるように相対向する側面形成体23,24それぞれを幅方向中間部のヒンジ40により内方へ屈曲されて各側面形成体21,22,23,24が折り重なるように折り畳まれる。これによりステージ10は、折り畳まれた支持フレーム本体30と、折り畳まれたステージ板11と、脱落防止柵19とになるので、これらをまとめて保管場所に格納するか、或いは車椅子と共に車両に乗せて運搬する。
なお、ステージ板11を構成する各板部材12,13の表面12a,13aには、車椅子が通行する際の滑り止め手段(図示せず)を設けることも好ましい。このような滑り止め手段は、例えば、ゴム製のシートなどからなる薄い滑り止め材を各板部材12,13の表面12a,13aのほぼ全面に貼り付けるか、或いはゴム製の帯材を板部材12,13の表面12a,13aにその長手方向に等間隔に並べて接着するなどして構成することができる。また、板部材12,13が繊維強化プラスチックで形成されるとき、その表面に無数の微少突起を直接成形することで滑り止め手段とすることもできる。
また、前述したステージ板11は、図1から明らかなように2枚の板部材12,13が、それらの対向する側面12d,13cどうしを第1テープ15及び第2テープ16で接続したものであったが、このステージ板11は、上述した例に限定されるものではなく、板部材が3枚以上であってもよい。さらに、前述した実施形態に係る折り畳み可能なステージ10では、支持フレーム本体30を構成している各側面形成体31〜34が、角材を額縁状に組み立てた形成されたものであったが、本考案ではこのような側面形成体に限定されるものではなく、板状の部材によって側面形成体を構成することもできる。
以上説明したように、本考案の折り畳み可能なステージによれば、例えば、車椅子が比較的に高い段差を乗り越えなければならないときに中継台を必要とする場合、折り畳まれている支持フレーム本体を展開し、その上にステージ板を乗せることにより、この考案の折り畳み可能なステージを非常に簡単に組み立てて中継台として使用できる。このように車椅子通行時の中継台として用いることができる本考案の折り畳み可能なステージは、折り畳めるように構成された支持フレーム本体を備えていることから、不使用時にはコンパクトに折り畳んでおくことができるため持ち運びが容易で、かつ保管するときでも大きなスペースを必要としないなど多くの利点を備え、長い渡し板を使用することができない場所での段差の乗り越え等に非常に便利である。
さらに、前述した実施形態は、車椅子が段差を乗り越えるときの中継台として本考案の折り畳み可能なステージを使用する例についてのものであったが、本考案の折り畳み可能なステージは、収納時には非常にコンパクトに折り畳め、従って持ち運びが非常に容易であり、また使用時の組み立ても簡単であることから、前述したような中継台についての使用に限定されず、例えばイベント会場での監視員の立ち台、演習会場での指揮者の立ち台、或いは演説会場での立ち台などにも利用することができる。
10 折り畳み可能なステージ
11 ステージ板
12,13 板部材
12a,13a 板部材の表面
12c,12d,13c,13d 板部材の側面
15 第1テープ
16 第2テープ
17 両テープどうしの接合部
18 ガイド部材
19 脱落防止柵
30 指示フレーム本体
31 第1側面形成体
32 第2側面形成体
33 第3側面形成体
34 第4側面形成体
35,36,37,38 側面構成部
39,40 蝶番
41 凹部

Claims (6)

  1. 相対する一対の第1及び第2側面形成体と、これら2つの第1及び第2側面形成体のそれぞれ一方の幅方向端部どうし間に配置された第3側面形成体と、前記第1及び第2側面形成体のそれぞれ他方の幅方向端部どうし間に配置され、前記第3側面形成体に対向する第4側面形成体とからなる四角形の支持フレーム本体と、この支持フレーム本体の上部に着脱可能に配置されて床板となるステージ板とを備え、
    相互に隣接する前記側面形成体の前記幅方向端部どうしのそれぞれが、折り畳み可能にヒンジを用いて接続されており、相対向する前記第3側面形成体と前記第4側面形成体が、それぞれの幅方向中間部で折り畳み可能にヒンジを用いて接続された2つの側面構成部から構成されていることを特徴とする折り畳み可能なステージ。
  2. 前記第1及び第2側面形成体のそれぞれが、4本の棒状のフレームを額縁状に結合して構成されており、前記第3及び第4側面形成体をそれぞれ構成する2つの前記側面構成部のそれぞれが、4本の棒状のフレームを額縁状に結合して構成されている請求項1に記載された折り畳み可能なステージ。
  3. 前記折り畳み可能なステージが、前記ステージ板に着脱自在に取り付けられる脱落防止柵を備えている請求項1又は2に記載の折り畳み可能なステージ。
  4. 前記ステージ板が、裏面側に取り付けられたガイド部材を備え、前記ステージ板が、直方体形状に広げられた前記支持フレーム本体の上部に取り付けられるとき、前記ガイド部材が前記支持フレーム本体の上部に画成される四角形の開口部に緊密に嵌合するように取り付けられている折り畳み可能なステージ。
  5. 前記ステージ板が、少なくとも2つ又はそれ以上の板部材をヒンジ装置で接続して折り畳み可能に構成されている請求項1〜4のいずれかに記載の折り畳み可能なステージ。
  6. 前記ガイド部材が、鋼材で形成されたアングル材若しくはチャンネル材で構成されている請求項4に記載の折り畳み可能なステージ。
JP2011005116U 2011-08-31 2011-08-31 折り畳み可能なステージ Expired - Fee Related JP3171908U (ja)

Priority Applications (1)

Application Number Priority Date Filing Date Title
JP2011005116U JP3171908U (ja) 2011-08-31 2011-08-31 折り畳み可能なステージ

Applications Claiming Priority (1)

Application Number Priority Date Filing Date Title
JP2011005116U JP3171908U (ja) 2011-08-31 2011-08-31 折り畳み可能なステージ

Publications (1)

Publication Number Publication Date
JP3171908U true JP3171908U (ja) 2011-11-24

Family

ID=54882178

Family Applications (1)

Application Number Title Priority Date Filing Date
JP2011005116U Expired - Fee Related JP3171908U (ja) 2011-08-31 2011-08-31 折り畳み可能なステージ

Country Status (1)

Country Link
JP (1) JP3171908U (ja)

Similar Documents

Publication Publication Date Title
ES2911332T3 (es) Filtro de aire con miembro de soporte de tracción
US20170182445A1 (en) Refillable Air Filter Assembly
US20160263515A1 (en) Collapsible air filter
JP6110660B2 (ja) 携帯用スロープ
KR20230043966A (ko) 윈도우 차양 및 그 패널 조립체
CA3106181A1 (en) Safety device for ladder
US20100129007A1 (en) Bag with elastic support members
JP3171908U (ja) 折り畳み可能なステージ
JP2013180248A (ja) エアフィルタ枠およびエアフィルタユニット
KR20120008431U (ko) 다용도 안전 표지판
JP4008755B2 (ja) ベッド装置
JP5460786B2 (ja) 着脱ルーフ付き車体構造
JP2019157506A (ja) 養生シート
JP2000210513A (ja) ユニット交換型フィルタ装置
KR200490212Y1 (ko) 야외용 접이식 매트
JP2007239359A (ja) シート張りパネル
JP3122365U (ja) フレキシブルコンテナバッグ
JP7744670B2 (ja) ちりとり
JP2018089085A (ja) 選択可能な補強部材を具備した可搬式スロープ
JP6965415B1 (ja) 折畳み式柄付きうちわ
JP3235178U (ja) 取手付きごみ袋用折り畳み型スタンド
JP2013052050A (ja) 組立式台座
JP2010270433A (ja) テント
KR200442506Y1 (ko) 조립식 상자
ES2753725T3 (es) Filtro de aire con miembro de soporte de tracción

Legal Events

Date Code Title Description
A521 Request for written amendment filed

Free format text: JAPANESE INTERMEDIATE CODE: A523

Effective date: 20110916

R150 Certificate of patent or registration of utility model

Free format text: JAPANESE INTERMEDIATE CODE: R150

FPAY Renewal fee payment (event date is renewal date of database)

Free format text: PAYMENT UNTIL: 20141102

Year of fee payment: 3

R250 Receipt of annual fees

Free format text: JAPANESE INTERMEDIATE CODE: R250

R250 Receipt of annual fees

Free format text: JAPANESE INTERMEDIATE CODE: R250

R250 Receipt of annual fees

Free format text: JAPANESE INTERMEDIATE CODE: R250

R250 Receipt of annual fees

Free format text: JAPANESE INTERMEDIATE CODE: R250

LAPS Cancellation because of no payment of annual fees