JP3125818U - 側溝ユニット及びグレーチング蓋の構造 - Google Patents
側溝ユニット及びグレーチング蓋の構造 Download PDFInfo
- Publication number
- JP3125818U JP3125818U JP2006006290U JP2006006290U JP3125818U JP 3125818 U JP3125818 U JP 3125818U JP 2006006290 U JP2006006290 U JP 2006006290U JP 2006006290 U JP2006006290 U JP 2006006290U JP 3125818 U JP3125818 U JP 3125818U
- Authority
- JP
- Japan
- Prior art keywords
- grating lid
- side groove
- concrete
- lid
- grating
- Prior art date
- Legal status (The legal status is an assumption and is not a legal conclusion. Google has not performed a legal analysis and makes no representation as to the accuracy of the status listed.)
- Expired - Lifetime
Links
Images
Landscapes
- Sewage (AREA)
Abstract
【課題】グレーチング蓋と側溝の構造を介してコンクリート側溝に導き排水を向上することと,敷設後のコンクリート側溝の強度を高めて,側溝の寿命を長くすること。
【解決手段】コンクリート側溝110の端面112側の上部に位置する載置面115上に配設されるボルトに対し,グレーチング蓋130を載置してナットで締めて一体構造とし,これを透水性のアスファルト50が敷設された道路に敷設して,浸透した雨水を,グレーチング蓋130の両側面に設置された排水孔付き鉄板136を通して,コンクリート側溝110内の排水路に効率良く排水することを可能とする。また,コンクリート側溝110にグレーチング蓋130がボルト固定されることにより,グレーチング蓋130だけでなくコンクリート蓋も位置ずれを生じなくなり騒音の発生を減らせると共に,コンクリート側溝110の端面112の上部が外側または内側に開く力を抑える働きを有する。
【選択図】図8
【解決手段】コンクリート側溝110の端面112側の上部に位置する載置面115上に配設されるボルトに対し,グレーチング蓋130を載置してナットで締めて一体構造とし,これを透水性のアスファルト50が敷設された道路に敷設して,浸透した雨水を,グレーチング蓋130の両側面に設置された排水孔付き鉄板136を通して,コンクリート側溝110内の排水路に効率良く排水することを可能とする。また,コンクリート側溝110にグレーチング蓋130がボルト固定されることにより,グレーチング蓋130だけでなくコンクリート蓋も位置ずれを生じなくなり騒音の発生を減らせると共に,コンクリート側溝110の端面112の上部が外側または内側に開く力を抑える働きを有する。
【選択図】図8
Description
本考案は,U字型側溝等の道路側溝とこれに載置されるコンクリート蓋及びグレーチング蓋を配設するU字型側溝等の側溝ユニット及びそれに使用するグレーチング蓋に関するもので,特に,透水性のアスファルトが敷設された道路に設置されたコンクリート側溝における排水能力を向上可能な側溝ユニット及びそれに使用するグレーチング蓋に関するものである。
従来,グレーチング蓋を備えた道路側溝として,図12乃至図14に示すような構成からなるものが知られている。ここで,図12はグレーチシグ蓋を備えた側溝ユニットの全体構成,図13は道路側溝の全体構成図,図14はグレーチング蓋の全体構成を示す斜視図である。また,図15は従来の側溝ユニットでグレーチング蓋やコンクリート蓋に隙間ができ,位置ずれが生じた状態を示す説明図,図16は従来の側溝ユニットに対して道路からの雨水の流れ込み状態を示す断面斜視図である。なお,図中,左右対称な部位には同一符号を付して示すと共に,同様の構成または相当部分からなるものについては同一符号を付し,その重複する説明を省略する。
図に示すように,側溝ユニット1は,ベースとなるコンクリート側溝10に対して,例えば,1個以上のコンクリート蓋20と1個以上のグレーチング蓋30とが載置されて構成されている。この側溝ユニット1の道路への設置では,まず,道路に沿ってコンクリート側溝10の外形形状よりやや大きめで深めの溝が掘られ基礎となるコンクリートが打たれた後,その上に,コンクリート側溝10が内底面11における水の流れ方向を設定し,かつ,側溝の両側の端面12同士が当接するように据え置かれ,その当接面がモルタル等で固められて各コンクリート側溝10が接続される。
図に示すように,側溝ユニット1は,ベースとなるコンクリート側溝10に対して,例えば,1個以上のコンクリート蓋20と1個以上のグレーチング蓋30とが載置されて構成されている。この側溝ユニット1の道路への設置では,まず,道路に沿ってコンクリート側溝10の外形形状よりやや大きめで深めの溝が掘られ基礎となるコンクリートが打たれた後,その上に,コンクリート側溝10が内底面11における水の流れ方向を設定し,かつ,側溝の両側の端面12同士が当接するように据え置かれ,その当接面がモルタル等で固められて各コンクリート側溝10が接続される。
ここで,コンクリート側溝10の端面12の内壁側の上部には,端面12の最上部に位置する天端部13より低い段差からなる脚受面14が形成されている。このコンクリート側溝10の脚受面14に対して,図12に示すように,ほぼ同じ幅に形成されたコンクリート蓋20及びグレーチング蓋30が載置される。
この状態で,コンクリート側溝10の最上部に位置する天端部13は,コンクリート蓋20の上面及びグレーチング蓋30の上面と略同一平面となる。そして,コンクリート側溝10の最上部に位置する天端部13と略同一平面以上となるように,道路にアスファルトが敷設される。
この状態で,コンクリート側溝10の最上部に位置する天端部13は,コンクリート蓋20の上面及びグレーチング蓋30の上面と略同一平面となる。そして,コンクリート側溝10の最上部に位置する天端部13と略同一平面以上となるように,道路にアスファルトが敷設される。
前述の側溝ユニット1は,コンクリート側溝10に対して,コンクリート蓋20と共に同じ幅寸法からなるグレーチング蓋30を単に並べただけの構成であるため,例えば,長年の使用によってコンクリート蓋20の一部が欠けて隙間ができたり,割れたり,また,車両等の踏みつけにより一部が跳ね上がったりして側溝内に落下したりしていた。
また,図15に示すように,コンクリート蓋20相互やコンクリート蓋20とグレーチング蓋30との間に隙間ができて位置ずれが生じたり,更に,上方からのトラック等の大きな重量がグレーチング蓋30にかかって脚部材35に集中的にかかり,脚部材35を歪めて,コンクリート側溝10の脚受面14上でシーソー状態となり,脚受面14を損傷させるなどして騒音が発生してしまうという不具合が起きることもあった。
また,図15に示すように,コンクリート蓋20相互やコンクリート蓋20とグレーチング蓋30との間に隙間ができて位置ずれが生じたり,更に,上方からのトラック等の大きな重量がグレーチング蓋30にかかって脚部材35に集中的にかかり,脚部材35を歪めて,コンクリート側溝10の脚受面14上でシーソー状態となり,脚受面14を損傷させるなどして騒音が発生してしまうという不具合が起きることもあった。
更に,近年,道路の基礎コンクリート上に透水性のアスファルトが敷設されることが多くなってきている。これは,雨が降った際に道路の水はけがよく,透水性のアスファルト表面に雨水が溜まらないこと,夜間における車両の運転者の前方視認性が向上すること等の利点を有している。
しかしながら,前述のような側溝ユニット1が道路に設置されている場合には,図16に道路からの雨水の流れ込み状態を示すように,喩え,道路に透水性のアスファルト50が敷設されたとしても,一旦,透水性のアスファルト50内に浸透した雨水は,透水性のアスファルト50内に溜まったままとなり,この状態ではコンクリート側溝10内に流れ込むことはできない。つまり,透水性のアスファルト50内に浸透した雨水は,結局,透水性のアスファルト50表面まで達した後にコンクリート側溝10の天端部13を乗り越えてコンクリート側溝10内に流れ込むこととなる。このため,道路に透水性のアスファルト50を敷設したとしても降雨量が多く所定量を越えたときには透水性のアスファルト50表面に水が浮いた状態となってその効果が半減し,周辺の道路が水浸しになってしまうことも起き,洪水や床下浸水の原因ともなっていた。
加えて,近年,アジア等における近代化に伴い,セメントやコンクリート材,鉄材が不足している状況にあって,世界的に材料不足による材料価格の上昇もあり,製造者は益々のコスト削減を迫られている環境下にある。
しかしながら,前述のような側溝ユニット1が道路に設置されている場合には,図16に道路からの雨水の流れ込み状態を示すように,喩え,道路に透水性のアスファルト50が敷設されたとしても,一旦,透水性のアスファルト50内に浸透した雨水は,透水性のアスファルト50内に溜まったままとなり,この状態ではコンクリート側溝10内に流れ込むことはできない。つまり,透水性のアスファルト50内に浸透した雨水は,結局,透水性のアスファルト50表面まで達した後にコンクリート側溝10の天端部13を乗り越えてコンクリート側溝10内に流れ込むこととなる。このため,道路に透水性のアスファルト50を敷設したとしても降雨量が多く所定量を越えたときには透水性のアスファルト50表面に水が浮いた状態となってその効果が半減し,周辺の道路が水浸しになってしまうことも起き,洪水や床下浸水の原因ともなっていた。
加えて,近年,アジア等における近代化に伴い,セメントやコンクリート材,鉄材が不足している状況にあって,世界的に材料不足による材料価格の上昇もあり,製造者は益々のコスト削減を迫られている環境下にある。
そこで,本考案はかかる不具合やコスト削減,住環境整備を解決するためになされたもので,透水性のアスファルトが敷設された道路に浸透した雨水等をコンクリート側溝に効率良く導くことができ,また,コンクリート側溝に配置されるグレーチング蓋の位置ずれを防止すると共に,騒音の発生をなくすことができ,且つ,グレーチング蓋が載置する部分のコンクリート材を減らしてコスト削減を図ると共に,コンクリート側溝におけるグレーチング蓋の載置面の損傷によるグレーチング蓋の脱落を防止できる側溝ユニット及びそれに使用するグレーチング蓋の提供を課題とするものである。
請求項1の側溝は,側溝の端面側から始まる最上部に位置する天端面に対し,グレーチング蓋の高さ分だけ低くした段差部を設けてグレーチング蓋を載せて固定するための載置面とし,その載置面にグレーチング蓋を拘束するボルトを数箇所に配設したものであり,該側溝の載置面のボルトに対し,請求項2の両側面からの雨水排水を可能とするグレーチング蓋を載せてナットで締めてグレーチング蓋の移動を拘束させる側溝であり,これにより,透水性アスファルトを浸透した雨水が,該側溝の長さ方向に対して直角方向に前記グレーチング蓋の両側面の鉄製プレートの排水孔を通過し,該側溝の排水路内部に流入する構造としたものである。
該側溝の載置面に載ったグレーチング蓋表面の高さは該側溝の天端面と同じ高さになるので,道路に敷設された場合は,透水性アスファルトの表面と略同一の高さとなる。
また,該側溝に示すグレーチング蓋の載置面以外の脚受面は,1個以上のコンクリート蓋が載る部分であり,該側溝の載置面にグレーチング蓋がボルト固定されることで,該側溝が連続で接続された場合,該側溝の脚受面に載ったコンクリート蓋の移動も拘束する。
尚,該側溝に示す脚受面の形状については,平面,曲面,傾斜面等の形状等を指定するものではなく,併せてコンクリート蓋の形状も指定するものではない。
該側溝の載置面に載ったグレーチング蓋表面の高さは該側溝の天端面と同じ高さになるので,道路に敷設された場合は,透水性アスファルトの表面と略同一の高さとなる。
また,該側溝に示すグレーチング蓋の載置面以外の脚受面は,1個以上のコンクリート蓋が載る部分であり,該側溝の載置面にグレーチング蓋がボルト固定されることで,該側溝が連続で接続された場合,該側溝の脚受面に載ったコンクリート蓋の移動も拘束する。
尚,該側溝に示す脚受面の形状については,平面,曲面,傾斜面等の形状等を指定するものではなく,併せてコンクリート蓋の形状も指定するものではない。
該側溝の載置面に配設したボルトは,前記グレーチング蓋の移動を拘束するボルトであり,前記グレーチング蓋が前記ボルト部に合わさると共にナットで螺合されて締められ,該側溝の載置面に固定されることで,側溝とグレーチング蓋,及び,コンクリート蓋によるガタガタ騒音も解消することができる構造となる。
また,該側溝に設けられたボルトはアンカーボルト等のような雄ねじであることから,グレーチング蓋が載置されるまでに塵や埃等の異物が付いても落とし易い。
そして,該側溝の載置面に設けられたグレーチング蓋の移動を拘束するボルトは,単に円柱状の突起部材であってもよいが,グレーチング蓋をナットで締めるビス螺状が望ましく,また,グレーチング蓋の位置決め穴をそのボルトに挿入することも容易となる。このグレーチング蓋の前記ボルトに移動を拘束される構成は,該側溝に設けられたボルトの位置及び径寸法に応じて設定される。
また,該側溝に設けられたボルトはアンカーボルト等のような雄ねじであることから,グレーチング蓋が載置されるまでに塵や埃等の異物が付いても落とし易い。
そして,該側溝の載置面に設けられたグレーチング蓋の移動を拘束するボルトは,単に円柱状の突起部材であってもよいが,グレーチング蓋をナットで締めるビス螺状が望ましく,また,グレーチング蓋の位置決め穴をそのボルトに挿入することも容易となる。このグレーチング蓋の前記ボルトに移動を拘束される構成は,該側溝に設けられたボルトの位置及び径寸法に応じて設定される。
該側溝の載置面の段差部に前記グレーチング蓋が載る構造となることによって,透水性アスファルトに浸透した雨水が,該側溝の長さ方向に対して直角方向に前記グレーチング蓋の両側面の鉄製プレートの排水孔を通過し,該側溝の排水路内部に流入する構造が可能となる。
また,前記グレーチング蓋の両側面の鉄製プレートの排水孔が直接に透水性アスファルトに接触しているため,仮に雨水が透水性アスファルトの表面上に溢れたとしても,両側面の排水孔だけでなく,前記グレーチング蓋の最上部からも雨水の排水が可能である。
また,該側溝の載置面の段差部分によって,段差部分のセメント又はコンクリート材を必要としない構造となるため,コスト削減が可能である。
また,前記グレーチング蓋の両側面の鉄製プレートの排水孔が直接に透水性アスファルトに接触しているため,仮に雨水が透水性アスファルトの表面上に溢れたとしても,両側面の排水孔だけでなく,前記グレーチング蓋の最上部からも雨水の排水が可能である。
また,該側溝の載置面の段差部分によって,段差部分のセメント又はコンクリート材を必要としない構造となるため,コスト削減が可能である。
請求項2のグレーチング蓋は,グレーチング蓋の下部には脚部材を必要とせず,長方形の細長い平板状の鉄板を均等間隔で縦に配し,その上部から,断面が多角形の細長い棒鉄筋を均等間隔で交差させて圧接または溶接を施して格子状のグレーチングを形成し,そのグレーチングの両側面部に,最上部より下方に雨水が通過し且つアスファルト粒塊が通過できない程度の大きさの複数の排水孔を有する鉄製プレートを両側面に設け,ボルト固定できる位置決め穴のあるプレートをグレーチングの最下部に溶接してグレーチング蓋となし,前記請求項1の側溝の載置面に配設したボルトに固定され,雨水が該グレーチング蓋の両側面の鉄製プレートの排水孔を通過し,前記請求項1の側溝の排水路内部に流入することを可能とした構造のグレーチング蓋である。
前記請求項1の側溝の載置面に載った該グレーチング蓋の表面部の高さは,前記の側溝の天端面と同じ高さになるので,道路に敷設された場合は,透水性アスファルトの表面と略同一の高さとなる。
さらに,前記の側溝の載置面に該グレーチング蓋がボルト固定されることで,前記の側溝の脚受面に載ったコンクリート蓋の移動も拘束することに加え,側溝とグレーチング蓋及びコンクリート蓋によるガタガタ騒音も解消することができる構造となる。
さらに,前記の側溝の載置面に該グレーチング蓋がボルト固定されることで,前記の側溝の脚受面に載ったコンクリート蓋の移動も拘束することに加え,側溝とグレーチング蓋及びコンクリート蓋によるガタガタ騒音も解消することができる構造となる。
また,前記請求項1の側溝の載置面に該グレーチング蓋が載る構造となることで,透水性アスファルトを浸透した雨水が,前記の側溝の長さ方向に対して直角方向に該グレーチング蓋の両側面の鉄製プレートの排水孔を通過し,前記の側溝の排水路内部に流入する構造とすることができる。
尚,該グレーチング蓋の両側面の鉄製プレートの排水孔が直接に透水性アスファルトに接触しているため,雨水が透水性アスファルトの表面上に溢れたとしても,両側面の排水孔だけでなく,該グレーチング蓋の最上部からも雨水の排水が可能である。
尚,該グレーチング蓋の両側面の鉄製プレートの排水孔が直接に透水性アスファルトに接触しているため,雨水が透水性アスファルトの表面上に溢れたとしても,両側面の排水孔だけでなく,該グレーチング蓋の最上部からも雨水の排水が可能である。
該グレーチング蓋の両側面に設置される鉄製プレートの排水孔の位置は,該グレーチング蓋の最上部から略11mm下方に設けることが望ましく,透水性アスファルト内の雨水が流れやすい位置であることや,鉄製プレートの上部は車両のタイヤによる掘り起こしの防止やタイヤに傷つけることもない平面とすることで,鉄製プレートの上部部分の強化も維持することができる。また,透水性のアスファルト粒塊と比べたときの,排水孔の形状や寸法としては,アスファルト粒塊が入り込まない程度の大きさからなる逆U字孔,丸字孔などの形状が好ましいが,四角孔,楕円孔,菱形孔,三角孔などでもよい。喩え,アスファルト粒塊が多少入り込んだり詰まったりしたとしても,該グレーチング蓋を持ち上げる際に,透水性のアスファルト側に無理な力が加わることのない形状であればよく,例えば,下方に向かって開状態となる逆U字スリット形状,逆V字形状等も適している。これら排水孔の径や幅の具体的な寸法としては,余り小さいと塵や埃等の異物によって詰まり易いため,透水性のアスファルト粒塊やその流動性等を考慮して最大値としては略20mm以下程度を適用すると良く,また,前記グレーチング蓋に透水性のアスファルト粒塊が入り込むのを絶対的に禁止するものではなく,適切に雨水を通すことができる構造であればよい。
請求項3の側溝ユニットは,側溝の端面側から始まる最上部に位置する天端部に対し,グレーチング蓋を載せて固定するためのグレーチング蓋の幅に併せ且つ高さを同じくする段差部を設けて載置面とし,その載置面にグレーチング蓋を拘束するボルトを数箇所に配設した側溝と,脚部材を必要としないグレーチング蓋であって,該グレーチング蓋の最上部より下方に雨水が通過し且つアスファルト粒塊が通過できない大きさの複数の排水孔を有する鉄製プレートを両側面に設けたグレーチング蓋からなり,該側溝の載置面に配設されたボルト部に対し,該グレーチング蓋が載置されてナットで固定され,該グレーチング蓋の両側面の鉄製プレートの排水孔によって通過した雨水が該側溝の排水路内部に流入する雨水排水構造を可能にした,請求項1の側溝と請求項2のグレーチング蓋の一体構造とした側溝ユニットである。
側溝ユニットの請求項1の側溝の載置面に載った請求項2のグレーチング蓋表面の高さは該側溝の天端面と同じ高さになるので,該側溝ユニットが道路に敷設された場合は,透水性アスファルトの道路の表面と略同一の高さとなる。
また,該側溝ユニットに示す前記グレーチング蓋の載置面以外の脚受面は,1個以上のコンクリート蓋が載る部分であり,該側溝ユニットの載置面にグレーチング蓋がボルト固定されることで,該側溝ユニットが連続で接続され敷設された場合,該側溝ユニットの脚受面に載ったコンクリート蓋の移動も拘束する構造となる。
また,該側溝ユニットに示す前記グレーチング蓋の載置面以外の脚受面は,1個以上のコンクリート蓋が載る部分であり,該側溝ユニットの載置面にグレーチング蓋がボルト固定されることで,該側溝ユニットが連続で接続され敷設された場合,該側溝ユニットの脚受面に載ったコンクリート蓋の移動も拘束する構造となる。
該側溝ユニットの載置面に配設したボルトは,前記グレーチング蓋の移動を拘束するボルトであり,前記グレーチング蓋が前記ボルト部に合わさると共にナットで螺合されて締められ,該側溝ユニットの載置面に固定されることで,側溝とグレーチング蓋,及び,コンクリート蓋によるガタガタ騒音も解消することができる構造となる。
また,該側溝に設けられたボルトはアンカーボルト等のような雄ねじであることから,前記グレーチング蓋が載置されるまでに塵や埃等の異物が付いても落とし易い。
そして,該側溝の載置面に設けられたグレーチング蓋の移動を拘束するボルトは,単に円柱状の突起部材であってもよいが,グレーチング蓋をナットで締めるビス螺状が望ましく,また,グレーチング蓋の位置決め穴をそのボルトに挿入することも容易となる。このグレーチング蓋の前記ボルトに移動を拘束される構成は,該側溝に設けられたボルトの位置及び径寸法に応じて設定される。
また,該側溝に設けられたボルトはアンカーボルト等のような雄ねじであることから,前記グレーチング蓋が載置されるまでに塵や埃等の異物が付いても落とし易い。
そして,該側溝の載置面に設けられたグレーチング蓋の移動を拘束するボルトは,単に円柱状の突起部材であってもよいが,グレーチング蓋をナットで締めるビス螺状が望ましく,また,グレーチング蓋の位置決め穴をそのボルトに挿入することも容易となる。このグレーチング蓋の前記ボルトに移動を拘束される構成は,該側溝に設けられたボルトの位置及び径寸法に応じて設定される。
該側溝ユニットの載置面の段差部に前記グレーチング蓋が載る構造となることによって,透水性アスファルトに浸透した雨水が,該側溝ユニットの長さ方向に対して直角方向に前記グレーチング蓋の両側面の鉄製プレートの排水孔を通過し,該側溝の排水路内部に流入する構造が可能となる。
また,前記グレーチング蓋の両側面の鉄製プレートの排水孔が直接に透水性アスファルトに接触しているため,雨水が透水性アスファルトの表面上に溢れたとしても,両側面の排水孔だけでなく,前記グレーチング蓋の最上部からも雨水の排水が可能である。
また,該側溝ユニットの載置面の段差部分によって,段差部分のセメント又はコンクリート材を必要としない構造となるため,コスト削減が可能である。
また,前記グレーチング蓋の両側面の鉄製プレートの排水孔が直接に透水性アスファルトに接触しているため,雨水が透水性アスファルトの表面上に溢れたとしても,両側面の排水孔だけでなく,前記グレーチング蓋の最上部からも雨水の排水が可能である。
また,該側溝ユニットの載置面の段差部分によって,段差部分のセメント又はコンクリート材を必要としない構造となるため,コスト削減が可能である。
該側溝ユニットの載置面の段差部にボルト固定される前記グレーチング蓋の両側面の鉄製プレートの排水孔の位置は,該グレーチング蓋の最上部から略11mm下方に設けることが望ましく,透水性アスファルト内の雨水が流れやすい位置であることや,鉄製プレートの上部は車両のタイヤによる掘り起こしの防止やタイヤに傷つけることもない平面とすることで,鉄製プレートの上部部分の強化も維持することができる。また,透水性のアスファルト粒塊と比べたときの,排水孔の形状や寸法としては,透水性のアスファルト粒塊が入り込まない程度の大きさからなる逆U字孔,丸字孔などの形状が好ましいが,四角孔,楕円孔,菱形孔,三角孔などでもよい。喩え,透水性のアスファルト粒塊が多少入り込んだり,詰まっていたりしたとしても,該グレーチング蓋を持ち上げる際に,透水性のアスファルト側に無理な力が加わることのない形状であればよく,例えば,下方に向かって開状態となる逆U字スリット形状,逆V字形状等なども適している。これら排水孔の径や幅の具体的な寸法としては,余り小さいと塵や埃等の異物によって詰まり易いため,透水性のアスファルト粒塊やその流動性等を考慮して最大値としては略20mm以下程度を適用すると良く,また,前記グレーチング蓋に透水性のアスファルト粒塊が入り込むのを絶対的に禁止するものではなく,適切に雨水を通すことができる構造であればよい。
請求項1の側溝は,グレーチング蓋を載せる載置面の段差部によれば,該側溝の天端面より低く形成された載置面に対して同じ寸法の幅や高さからなるグレーチング蓋が載置されて,該側溝の天端面とグレーチング蓋及びコンクリート蓋の上面とが同一平面となるから,歩行または自転車で通過しても,安全性が確保できる。
グレーチング蓋が載置された該側溝が,透水性のアスファルトが敷設された道路に設置されることで,透水性のアスファルト内に浸透した雨水等が,グレーチング蓋の両側面の鉄製プレートの排水孔を通過して,該側溝の内側の排水路に排水される。
該側溝の載置面に配設されたボルトは,グレーチング蓋の移動を拘束さするためのものであるから,前記ボルトに対してナットが螺合されて堅固にグレーチング蓋を固定して移動を拘束するので,該側溝の開口側を堅固に一体化し,該側溝に対してグレーチング蓋が位置ずれを起こすことがなく抑制力も働き,また,該側溝の開口側を広げる方向の力に対抗する構造となるため,グレーチング蓋の上面からトラック等の大きな重力がかかったとしても,該側溝は外に開く力がかからないので,亀裂が入ったり損傷することがない。
加えて,グレーチング蓋が載置されるまでに塵や埃等の異物が付いても落とし易く,取り付けが簡単である上に,堅固にグレーチング蓋の移動を拘束するから,コンクリート蓋の移動も起きず,グレーチング蓋やコンクリート蓋の浮き上がりもなくなることで,がたつき音の騒音発生も防止されるという効果が得られる。
さらに,該側溝にグレーチング蓋を載せる載置面を作る部分は,該側溝の天端部より低い段差部分である載置面の部分だけコンクリート等の材料の必要がないため,セメント材料分のコストを削減できる利点もある。
グレーチング蓋が載置された該側溝が,透水性のアスファルトが敷設された道路に設置されることで,透水性のアスファルト内に浸透した雨水等が,グレーチング蓋の両側面の鉄製プレートの排水孔を通過して,該側溝の内側の排水路に排水される。
該側溝の載置面に配設されたボルトは,グレーチング蓋の移動を拘束さするためのものであるから,前記ボルトに対してナットが螺合されて堅固にグレーチング蓋を固定して移動を拘束するので,該側溝の開口側を堅固に一体化し,該側溝に対してグレーチング蓋が位置ずれを起こすことがなく抑制力も働き,また,該側溝の開口側を広げる方向の力に対抗する構造となるため,グレーチング蓋の上面からトラック等の大きな重力がかかったとしても,該側溝は外に開く力がかからないので,亀裂が入ったり損傷することがない。
加えて,グレーチング蓋が載置されるまでに塵や埃等の異物が付いても落とし易く,取り付けが簡単である上に,堅固にグレーチング蓋の移動を拘束するから,コンクリート蓋の移動も起きず,グレーチング蓋やコンクリート蓋の浮き上がりもなくなることで,がたつき音の騒音発生も防止されるという効果が得られる。
さらに,該側溝にグレーチング蓋を載せる載置面を作る部分は,該側溝の天端部より低い段差部分である載置面の部分だけコンクリート等の材料の必要がないため,セメント材料分のコストを削減できる利点もある。
請求項2のグレーチング蓋は,前記側溝の載置面に配設されたボルトによって移動を拘束され,前記側溝に対して該グレーチング蓋が位置ずれを生じることがなく抑制力も働くことで,該グレーチング蓋の上面からトラック等の大きな重力がかかったとしても,前記側溝は外側又は内側に開く力がかからないので,亀裂が入ったり損傷することがない。
該グレーチング蓋の両側面の鉄製プレートの排水孔により,前記側溝の長さ方向に対して直角方向に,透水性のアスファルト内に浸透した雨水等が,該グレーチング蓋の両側面の鉄製プレートの排水孔を通過して,該側溝の内側の排水路に排水される。また,該グレーチング蓋の両側面に設置される鉄製プレートの排水孔の位置を,該グレーチング蓋の最上部から略11mm下方に設けることで,透水性アスファルト内の雨水が流れやすなると共に,鉄製プレートの上部を平面とすることで,車両のタイヤによる掘り起こしによってタイヤに傷つけることもなく,鉄製プレートの上部部分も強化される。また,排水孔の形状は,道路に敷設されるアスファルト粒塊が入り込まず,目詰まりすることのない形状及び寸法に設定したものであるから,透水性のアスファルトが邪魔をして排水孔から雨水等を前記側溝の排水路内へ通過させる効果が薄れたり,仮に,敷設後に該グレーチング蓋を前記側溝から取り外すとしても,透水性のアスファルトを損傷させずに前記側溝の載置面に該グレーチング蓋を元に戻すことが容易であり,排水孔から雨水等を前記側溝内へ通過させる効果を維持することができる。
また,該グレーチング蓋は請求項1の側溝の載置面にボルト固定されることにより,脚部材を必要としないため,脚部材の材料分のコストを削減できる利点もある。
該グレーチング蓋の両側面の鉄製プレートの排水孔により,前記側溝の長さ方向に対して直角方向に,透水性のアスファルト内に浸透した雨水等が,該グレーチング蓋の両側面の鉄製プレートの排水孔を通過して,該側溝の内側の排水路に排水される。また,該グレーチング蓋の両側面に設置される鉄製プレートの排水孔の位置を,該グレーチング蓋の最上部から略11mm下方に設けることで,透水性アスファルト内の雨水が流れやすなると共に,鉄製プレートの上部を平面とすることで,車両のタイヤによる掘り起こしによってタイヤに傷つけることもなく,鉄製プレートの上部部分も強化される。また,排水孔の形状は,道路に敷設されるアスファルト粒塊が入り込まず,目詰まりすることのない形状及び寸法に設定したものであるから,透水性のアスファルトが邪魔をして排水孔から雨水等を前記側溝の排水路内へ通過させる効果が薄れたり,仮に,敷設後に該グレーチング蓋を前記側溝から取り外すとしても,透水性のアスファルトを損傷させずに前記側溝の載置面に該グレーチング蓋を元に戻すことが容易であり,排水孔から雨水等を前記側溝内へ通過させる効果を維持することができる。
また,該グレーチング蓋は請求項1の側溝の載置面にボルト固定されることにより,脚部材を必要としないため,脚部材の材料分のコストを削減できる利点もある。
請求項3の側溝ユニットは,側溝の天端面より低く形成された載置面に対して,載置面に載せることが出来る同じ寸法且つ天端面までの高さからなるグレーチング蓋が載置されることにより,該側溝ユニットが道路に敷設された場合,該側溝の天端面と該グレーチング蓋及びコンクリート蓋の上面とが同一平面となるから,歩行または自転車で通過しても安全性が確保できる。
該側溝ユニットが,透水性のアスファルトが敷設された道路に設置されることで,該側溝ユニットのグレーチング蓋の両側面の鉄製プレートの排水孔により,透水性のアスファルト内に浸透した雨水等が,グレーチング蓋の両側面の排水孔を通過して,該側溝ユニットの排水路に排水される。
該側溝の載置面に配設されたボルトは,グレーチング蓋の移動を拘束さするためのものであるから,前記ボルトに対してナットが螺合されて堅固にグレーチング蓋を固定して移動を拘束するので,該側溝の開口側を堅固に一体化し、該側溝に対してグレーチング蓋が位置ずれを起こすことがなく抑制力も働き,また,該側溝の開口側を外側に広げる方向または内側に縮小させる力に対抗する構造となるため,グレーチング蓋の上面からトラック等の大きな重力がかかったとしても,該側溝は外側又は内側に開く力が小さくなるので,亀裂が入ったり損傷することがない。
加えて,前記ボルトは,グレーチング蓋が載置されるまでに塵や埃等の異物が付いても落とし易く,取り付けが簡単である上に,堅固にグレーチング蓋の移動を拘束するから,コンクリート蓋の移動も起きず,グレーチング蓋やコンクリート蓋の浮き上がりもなくなることで,がたつき音の騒音発生も防止されるという効果が得られる。
また該側溝ユニットのグレーチング蓋の排水孔の形状は,道路に敷設されるアスファルト粒塊が入り込まず,目詰まりすることのない形状及び寸法に設定したものであるから,透水性のアスファルトが邪魔をして排水孔から雨水等を前記側溝の排水路内へ通過させる効果が薄れたり,また,敷設後にグレーチング蓋を該側溝ユニットから取り外すとしても,透水性のアスファルトを損傷させずに該側溝ユニットの載置面にグレーチング蓋を元に戻すことが容易であり,排水孔から雨水等を該側溝ユニット内へ通過させる効果を維持することができる。
さらに,該側溝ユニットである側溝にグレーチング蓋を載せる載置面を作る部分は,側溝の天端部より低い段差部分である載置面の部分だけコンクリート等の材料の必要がないため,セメント材料分のコストを削減でき,また,グレーチング蓋は側溝の載置面にボルト固定されることにより,脚部材である鉄材を必要としないため,脚部材の材料分のコストを削減できる利点もある。
該側溝ユニットが,透水性のアスファルトが敷設された道路に設置されることで,該側溝ユニットのグレーチング蓋の両側面の鉄製プレートの排水孔により,透水性のアスファルト内に浸透した雨水等が,グレーチング蓋の両側面の排水孔を通過して,該側溝ユニットの排水路に排水される。
該側溝の載置面に配設されたボルトは,グレーチング蓋の移動を拘束さするためのものであるから,前記ボルトに対してナットが螺合されて堅固にグレーチング蓋を固定して移動を拘束するので,該側溝の開口側を堅固に一体化し、該側溝に対してグレーチング蓋が位置ずれを起こすことがなく抑制力も働き,また,該側溝の開口側を外側に広げる方向または内側に縮小させる力に対抗する構造となるため,グレーチング蓋の上面からトラック等の大きな重力がかかったとしても,該側溝は外側又は内側に開く力が小さくなるので,亀裂が入ったり損傷することがない。
加えて,前記ボルトは,グレーチング蓋が載置されるまでに塵や埃等の異物が付いても落とし易く,取り付けが簡単である上に,堅固にグレーチング蓋の移動を拘束するから,コンクリート蓋の移動も起きず,グレーチング蓋やコンクリート蓋の浮き上がりもなくなることで,がたつき音の騒音発生も防止されるという効果が得られる。
また該側溝ユニットのグレーチング蓋の排水孔の形状は,道路に敷設されるアスファルト粒塊が入り込まず,目詰まりすることのない形状及び寸法に設定したものであるから,透水性のアスファルトが邪魔をして排水孔から雨水等を前記側溝の排水路内へ通過させる効果が薄れたり,また,敷設後にグレーチング蓋を該側溝ユニットから取り外すとしても,透水性のアスファルトを損傷させずに該側溝ユニットの載置面にグレーチング蓋を元に戻すことが容易であり,排水孔から雨水等を該側溝ユニット内へ通過させる効果を維持することができる。
さらに,該側溝ユニットである側溝にグレーチング蓋を載せる載置面を作る部分は,側溝の天端部より低い段差部分である載置面の部分だけコンクリート等の材料の必要がないため,セメント材料分のコストを削減でき,また,グレーチング蓋は側溝の載置面にボルト固定されることにより,脚部材である鉄材を必要としないため,脚部材の材料分のコストを削減できる利点もある。
以下,本考案の実施の形態について,図面に基づいて説明する。
なお,以下の図中,実施の形態において,左右対称な部位には同一符号を付して示すと共に,実施の形態2以降の共通する構成または相当部分からなるものについては同一符号を付し,その重複する説明を省略する。
[実施の形態1]
なお,以下の図中,実施の形態において,左右対称な部位には同一符号を付して示すと共に,実施の形態2以降の共通する構成または相当部分からなるものについては同一符号を付し,その重複する説明を省略する。
[実施の形態1]
図1は本考案の実施の形態1にかかる側溝ユニットの全体構成を示す斜視図である。また,図2は図1のコンクリート側溝の全体構成を示す斜視図,図3は図1のグレーチング蓋の全体構成を示す斜視図である。そして,図4は図1の側溝ユニットのコンクリート側溝に対応するグレーチング蓋及びコンクリート蓋を示す分解斜視図である。更に,図5は図1の側溝ユニットを上方から見た平面図であり,図6は図1のグレーチング蓋を上方から見た平面図と,側面から見た側面図である。図7は側溝ユニットが透水性のアスファルト道路に敷設された状態を示す参考図である。
図に示すように,本実施の形態の側溝ユニット100は,コンクリート側溝110に対して,例えば,1以上,例えば,本実施の形態では3つのコンクリート蓋120と,1以上,例えば,本実施の形態では1つのグレーチング蓋130とが載置されて構成されている。即ち,本考案の実施の形態の側溝ユニット100は,コンクリート側溝110及び1以上のコンクリート蓋120と1以上のグレーチング蓋130とによって構成される。
本考案を実施する場合の側溝ユニット100は,コンクリート側溝110と、1以上のグレーチング蓋130,及び,本考案の請求範囲以外の1以上のコンクリート蓋120とによって構成される。
図に示すように,本実施の形態の側溝ユニット100は,コンクリート側溝110に対して,例えば,1以上,例えば,本実施の形態では3つのコンクリート蓋120と,1以上,例えば,本実施の形態では1つのグレーチング蓋130とが載置されて構成されている。即ち,本考案の実施の形態の側溝ユニット100は,コンクリート側溝110及び1以上のコンクリート蓋120と1以上のグレーチング蓋130とによって構成される。
本考案を実施する場合の側溝ユニット100は,コンクリート側溝110と、1以上のグレーチング蓋130,及び,本考案の請求範囲以外の1以上のコンクリート蓋120とによって構成される。
この側溝ユニット100の道路への設置については,従来の施工と同様,まず,道路に沿ってコンクリート側溝110の外形形状よりやや大きめで深めの溝が掘られ,基礎となるコンクリートが打たれた後,その上に,コンクリート側溝110の端面112同士が当接するように連続して配設され,その当接面がモルタル等で固められて各コンクリート側溝110が接続される。
ここで,図2に示すように,コンクリート側溝110の端面112の上部開口の内壁面には,その端面112に所定の半径からなる凹曲面を有する脚受面114がコンクリート側溝110の長さ方向に形成されている。また,コンクリート側溝110の天端面113に隣接して,図2の手前部分には,グレーチング蓋130の高さ寸法に合わせた載置面115が形成されている。即ち,脚受面114は,コンクリート側溝110の天端面113より低く形成された載置面115より,更に,低い位置に形成されている。載置面115には,各2箇所にボルト116が埋設されている。なお,この載置面115のボルト116に対応させ,後述するように,グレーチング蓋130に4箇所に位置決め穴134が穿設されている。このボルト116はグレーチング蓋130を拘束し,コンクリート蓋120の移動を防止するボルトとして作用するものである。
ここで,図2に示すように,コンクリート側溝110の端面112の上部開口の内壁面には,その端面112に所定の半径からなる凹曲面を有する脚受面114がコンクリート側溝110の長さ方向に形成されている。また,コンクリート側溝110の天端面113に隣接して,図2の手前部分には,グレーチング蓋130の高さ寸法に合わせた載置面115が形成されている。即ち,脚受面114は,コンクリート側溝110の天端面113より低く形成された載置面115より,更に,低い位置に形成されている。載置面115には,各2箇所にボルト116が埋設されている。なお,この載置面115のボルト116に対応させ,後述するように,グレーチング蓋130に4箇所に位置決め穴134が穿設されている。このボルト116はグレーチング蓋130を拘束し,コンクリート蓋120の移動を防止するボルトとして作用するものである。
ここで,端面112の厚み方向に段差を設けてコンクリート蓋120の収容空間を形成し,コンクリート蓋対応部110Aを構成している。また,端面112の厚み方向が略同一高さ平面とし,コンクリート蓋対応部110Aの端面112の高さとの間にグレーチング蓋130の厚みに相当する段差を形成し,かつ,グレーチング蓋130の移動を拘束するボルト116からなるボルトを配設し,グレーチング蓋対応部110Bを構成している。コンクリート蓋対応部110Aとグレーチング蓋対応部110Bは,一体化され,コンクリート側溝110を構成している。
そこで,図4に示すように,グレーチング蓋対応部110Bの載置面115のボルト116に対して,グレーチング蓋130の位置決め穴134が嵌め込まれることにより,コンクリート側溝110の載置面115にグレーチング蓋130が載置される。そして,図4及び図5に示すように,グレーチング蓋130をコンクリート側溝110の載置面115に固定してがたつきを防止するため,載置面115のボルト116に対してナット119が螺合される。この状態で,コンクリート側溝110の天端面113はグレーチング蓋130の上面と,コンクリート蓋120の上面とは略同一平面となる。
そして,コンクリート蓋対応部110Aには,コンクリート側溝110の端面112の内壁面の上部に形成された脚受面114に対して,図4に示すように,ほぼ同じ幅で,所定の曲率からなる凹曲面にほぼ添うように,下面の両端縁が凸曲面に形成された3つのコンクリート蓋120が載置される。この状態で,コンクリート蓋対応部110Aのコンクリート側溝110の端面112の天端面113は,コンクリート蓋120の上面と同一平面となる。この後,コンクリート側溝110の天端面113と同一平面またはそれ以上の高さとなるように,道路に対して,前述した透水性のアスファルト50が敷設される。これにより,図7の施工参考図のとおり,道路面に対してコンクリート側溝110の天端面113,コンクリート蓋120及びグレーチング蓋130の上面が略同一となるように設置されることとなる。
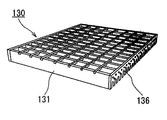
次に,本実施の形態におけるグレーチング蓋130の構成について,上記図1乃至図5及び図6を参照して詳細に説明する。
図6は本実施の形態における側溝ユニットに使用するグレーチング蓋の詳細を示す構成図である。ここで,図6(a)はグレーチング蓋を上方から見た平面図,図6(b)はコンクリート側溝に固定されるグレーチング蓋を道路側から見た側面図である。
グレーチング蓋130は,断面が長方形の細長い平板状の平鉄板131を均等間隔で縦に配し,その上部から,断面が多角形の細長い棒鉄筋を均等間隔で交差させて格子状のグレーチングを形成し,その形成されたグレーチングの両側面に,2枚の排水孔付き鉄板136を溶接設置することによって構成される。
また,グレーチング蓋130の下面には,コンクリート側溝110の載置面115に設けられたボルト116(図2及び図4等参照)に対応する部分となす位置決め穴134が穿設された穴あきプレート133が4箇所に固設されている。
図6は本実施の形態における側溝ユニットに使用するグレーチング蓋の詳細を示す構成図である。ここで,図6(a)はグレーチング蓋を上方から見た平面図,図6(b)はコンクリート側溝に固定されるグレーチング蓋を道路側から見た側面図である。
グレーチング蓋130は,断面が長方形の細長い平板状の平鉄板131を均等間隔で縦に配し,その上部から,断面が多角形の細長い棒鉄筋を均等間隔で交差させて格子状のグレーチングを形成し,その形成されたグレーチングの両側面に,2枚の排水孔付き鉄板136を溶接設置することによって構成される。
また,グレーチング蓋130の下面には,コンクリート側溝110の載置面115に設けられたボルト116(図2及び図4等参照)に対応する部分となす位置決め穴134が穿設された穴あきプレート133が4箇所に固設されている。
そして,グレーチング蓋130を形成する平鉄板131の両側面に設置された排水孔付き鉄板136において,コンクリート側溝110の連結方向に対し,その直角方向には,その内側に向かって雨水が通過自在となるように,所定の配列からなる丸孔137及び下側に逆U字形スリット形状の逆U字孔138が,排水路として設けられている。この丸孔137の直径,逆U字孔138のスリット幅径は,雨水が通過自在であり,道路に敷設される透水性のアスファルト50のアスファルト粒塊が入り込んだり,詰まったりすることのない寸法として,例えば,略5〜15mm程度に穿設されている。なお,排水孔の他の形状としては,喩え,透水性のアスファルト50が多少入り込んだり,詰まっていたりしたとしても,グレーチング蓋130を持ち上げる際に,透水性のアスファルト50側に無理な力がかかることのないように,グレーチング蓋130の鉄板136の下方に向かって開状態となる逆V字形状,逆U字形状等を適用することもできる。
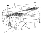
次に,道路に透水性のアスファルト50の敷設状況について,本実施の形態の側溝ユニット100が道路に設置されている場合を示す図7と,従来の側溝ユニット1が道路に設置されている場合を示す図16とを比較して説明する。ここで,図7は図1の側溝ユニットに対して道路からの雨水の流れ込み状態を示す一部断面斜視図である。また,本願考案の実施の形態の説明のために示した図16は,従来の側溝ユニットに対して道路からの雨水の流れ込み状態を示す一部断面斜視図である。
図16において,前述したように,道路面上に降った雨は,一旦,透水性のアスファルト50内に浸透する。しかしながら,透水性のアスファルト50内に浸透した雨水は,打設コンクリート層50Aに阻まれ,透水性のアスファルト50内を側溝ユニット1側に移動したとしても,そのままコンクリート側溝10内に流れ込むことができないため,透水性のアスファルト50表面まで達して溢れた後,コンクリート側溝10の端面12の最上部に位置する天端面13を乗り越えてコンクリート側溝10内に流れ込むことになる。
これに対して,図7の実施の形態においては,道路面上に降った雨は,透水性のアスファルト50内に浸透し,下部の打設コンクリート層50Aに浸透を阻まれ,透水性のアスファルト50内を側溝ユニット100側に移動する。すると,側溝ユニット100のコンクリート側溝110の端面112側の載置面115に固定されているグレーチング蓋130の排水孔付き鉄板136に穿設されている丸孔137及び逆U字孔138を通って,側面から内側に向かって雨水が通過し,コンクリート側溝110の内底面111にまで流れ込む。これにより,道路に側溝ユニット100を設置し,透水性のアスファルト50を敷設した場合には,大量の雨が降った際にも水はけがよく,透水性のアスファルト50表面に水が浮いた状態とはならず,特に夜間における車両の運転者の前方視認性が向上する。
これに対して,図7の実施の形態においては,道路面上に降った雨は,透水性のアスファルト50内に浸透し,下部の打設コンクリート層50Aに浸透を阻まれ,透水性のアスファルト50内を側溝ユニット100側に移動する。すると,側溝ユニット100のコンクリート側溝110の端面112側の載置面115に固定されているグレーチング蓋130の排水孔付き鉄板136に穿設されている丸孔137及び逆U字孔138を通って,側面から内側に向かって雨水が通過し,コンクリート側溝110の内底面111にまで流れ込む。これにより,道路に側溝ユニット100を設置し,透水性のアスファルト50を敷設した場合には,大量の雨が降った際にも水はけがよく,透水性のアスファルト50表面に水が浮いた状態とはならず,特に夜間における車両の運転者の前方視認性が向上する。
このように,本実施の形態の側溝ユニット100は,コンクリート側溝110に対してコンクリート蓋120とグレーチング蓋130とを載置して構成したものであって,コンクリート側溝110のグレーチング蓋対応部110Bは,載置面115に対して同じ幅寸法や高さからなるグレーチング蓋130が載置されたとき,コンクリート蓋対応部110Aの天端面113とが同一平面となる。そして,コンクリート側溝110の長さ方向に対して直角方向にグレーチング蓋130の外部の雨水がグレーチング蓋130の排水孔付き鉄板136を通過してグレーチング蓋対応部110B内に流入し,コンクリート側溝110の端面112の内側である脚受面114の蓋受面にほぼ添って,雨水がコンクリート側溝110の排水路内の内底面111に流れ込む構造となるものである。
即ち,グレーチング蓋130が載置されたコンクリート側溝110が,透水性のアスファルト50が敷設された道路に設置されることで,透水性のアスファルト50内に浸透した雨水等を,コンクリート側溝110の天端面113より低く設定されることとなるグレーチング蓋130の排水孔付き鉄板136に穿設された丸孔137及び逆U字孔138を通って,グレーチング蓋130の排水孔付き鉄板136の側面から内側に良好に流入,即ち,グレーチング蓋130の排水孔付き鉄板136を介してコンクリート側溝110内に効率良く排水することができる。
また,コンクリート側溝110の天端面113よりも低く形成された載置面115に対して,同じ幅や高さの寸法からなるグレーチング蓋130が載置され,天端面113とグレーチング蓋130の上面とコンクリート蓋120が略同一平面となる構造であるため,歩行または自転車で通過しても,安全性が確保できる。
そして,載置面115にボルト116が設けられており,このボルト116にグレーチング蓋130に穿設された位置決め穴134が挿入されているため,コンクリート側溝110に対してグレーチング蓋130が位置ずれを生じることがない。そして,ボルト116にグレーチング蓋130が固着されているので,コンクリート側溝110を外側に拡張又は内側に収縮する圧力に対する耐力が強くなり,グレーチング蓋130の上面からトラック等の大きな重量がかかったとしても,ボルト固定によりコンクリート側溝110は損傷し難くなり,当然,グレーチング蓋130の脱落を防止することもできる。
また,コンクリート側溝110の天端面113よりも低く形成された載置面115に対して,同じ幅や高さの寸法からなるグレーチング蓋130が載置され,天端面113とグレーチング蓋130の上面とコンクリート蓋120が略同一平面となる構造であるため,歩行または自転車で通過しても,安全性が確保できる。
そして,載置面115にボルト116が設けられており,このボルト116にグレーチング蓋130に穿設された位置決め穴134が挿入されているため,コンクリート側溝110に対してグレーチング蓋130が位置ずれを生じることがない。そして,ボルト116にグレーチング蓋130が固着されているので,コンクリート側溝110を外側に拡張又は内側に収縮する圧力に対する耐力が強くなり,グレーチング蓋130の上面からトラック等の大きな重量がかかったとしても,ボルト固定によりコンクリート側溝110は損傷し難くなり,当然,グレーチング蓋130の脱落を防止することもできる。
また,本実施の形態の側溝ユニット100におけるコンクリート側溝110の載置面115上に配設された突起部材は,ネジ部を有するボルト116であり,グレーチング蓋130の位置決め穴134が挿入された後,ボルト116に対してナット119が螺合されることで,グレーチング蓋130がコンクリート側溝110の載置面115に固定されるものである。
これにより,コンクリート側溝110に対するグレーチング蓋130は位置ずれを起こすことが無く,また,がたつきによる騒音も完全に防止されることとなる。この場合,グレーチング蓋130は,コンクリート側溝110の載置面115にて支えられ,縦方向の荷重に対して十分な強度を有しており,かつ,ボルト116にグレーチング蓋130が固着されているので,コンクリート側溝110を外側に拡張又は内側に縮小する方向の耐力が強くなる。即ち,グレーチング蓋130は,位置決め穴134を介してコンクリート側溝110のボルト116に固着されているので,コンクリート側溝110の端面112が外側又は内側に開くような外力に対しても強度を増すことができ,結果,コンクリート側溝110のひび割れ防止に有効である。
よって,グレーチング蓋130は,コンクリート側溝110のボルト116に固着されていることで,図14及び図16で示すように,従来の側溝ユニット1に使用されるグレーチング蓋30のように,その下部に設置されている脚部材35を使用する必要がなく,コスト削減も可能となる。
これにより,コンクリート側溝110に対するグレーチング蓋130は位置ずれを起こすことが無く,また,がたつきによる騒音も完全に防止されることとなる。この場合,グレーチング蓋130は,コンクリート側溝110の載置面115にて支えられ,縦方向の荷重に対して十分な強度を有しており,かつ,ボルト116にグレーチング蓋130が固着されているので,コンクリート側溝110を外側に拡張又は内側に縮小する方向の耐力が強くなる。即ち,グレーチング蓋130は,位置決め穴134を介してコンクリート側溝110のボルト116に固着されているので,コンクリート側溝110の端面112が外側又は内側に開くような外力に対しても強度を増すことができ,結果,コンクリート側溝110のひび割れ防止に有効である。
よって,グレーチング蓋130は,コンクリート側溝110のボルト116に固着されていることで,図14及び図16で示すように,従来の側溝ユニット1に使用されるグレーチング蓋30のように,その下部に設置されている脚部材35を使用する必要がなく,コスト削減も可能となる。
そして,本実施の形態の側溝ユニット100におけるグレーチング蓋130の排水路としての丸孔137及び逆U字孔138は,グレーチング蓋130がコンクリート側溝110と共に道路設置された後,道路に敷設される透水性のアスファルト50が入り込んで詰まることのない形状及び寸法に設定されるものである。
つまり,側溝ユニット100が道路に設置された後に,透水性のアスファルト50が道路に敷設されることとなるが,この際に,透水性のアスファルト50が入り込んだり,詰まったりすることのないように,グレーチング蓋130の丸孔137及び逆U字孔138が所定の形状及び所定の寸法に設定される。これにより,道路への透水性のアスファルト50の敷設後において,側溝ユニット100のコンクリート側溝110内の清掃等のためグレーチング蓋130を取り外したとしても,グレーチング蓋130の排水孔付き鉄板136に隣接する透水性のアスファルト50の一部を持ち上げて損傷させたりすることがなくなる。そして,清掃等の後,グレーチング蓋130を側溝ユニット100のコンクリート側溝110の元の位置に何ら問題なく戻すことができる。
また,本実施の形態の側溝ユニット100におけるグレーチング蓋130の排水路としての丸孔137及び逆U字孔138は,グレーチング蓋130の排水孔付き鉄板136に形成したものであるが,本考案を実施する場合には,グレーチング蓋130の排水孔付き鉄板136から道路に敷設される透水性のアスファルト50が入り込んだり,詰まったりすることのない形状及び寸法に設定されるものであればよい。
[実施の形態2]
つまり,側溝ユニット100が道路に設置された後に,透水性のアスファルト50が道路に敷設されることとなるが,この際に,透水性のアスファルト50が入り込んだり,詰まったりすることのないように,グレーチング蓋130の丸孔137及び逆U字孔138が所定の形状及び所定の寸法に設定される。これにより,道路への透水性のアスファルト50の敷設後において,側溝ユニット100のコンクリート側溝110内の清掃等のためグレーチング蓋130を取り外したとしても,グレーチング蓋130の排水孔付き鉄板136に隣接する透水性のアスファルト50の一部を持ち上げて損傷させたりすることがなくなる。そして,清掃等の後,グレーチング蓋130を側溝ユニット100のコンクリート側溝110の元の位置に何ら問題なく戻すことができる。
また,本実施の形態の側溝ユニット100におけるグレーチング蓋130の排水路としての丸孔137及び逆U字孔138は,グレーチング蓋130の排水孔付き鉄板136に形成したものであるが,本考案を実施する場合には,グレーチング蓋130の排水孔付き鉄板136から道路に敷設される透水性のアスファルト50が入り込んだり,詰まったりすることのない形状及び寸法に設定されるものであればよい。
[実施の形態2]
次に,上述の実施の形態1における側溝ユニットのコンクリート側溝の脚受面の変形例について,図8を参照して説明する。
図8は本考案の実施の形態1にかかる側溝ユニットの変形例とそれに対応するグレーチング蓋及びコンクリート蓋を示す斜視図である。
なお,本実施の形態の側溝ユニット100では,上述したように,コンクリート側溝110の脚受面114が,所定の曲率からなる凹曲面にて形成され,コンクリート蓋対応部110Aには,脚受面114の凹曲面にほぼ添って当接する凸曲面が形成されたコンクリート蓋120が載置されて構成されている。この場合,上記脚受面114に対応するコンクリート蓋120の下面の両端縁は凸曲面に形成されている。また,コンクリート側溝110のグレーチング蓋対応部110Bには,グレーチング蓋130が載置されて構成されている。この場合,上記脚受面114に対応するコンクリート蓋120の下面の両端縁は凸曲面に形成されている。
図8は本考案の実施の形態1にかかる側溝ユニットの変形例とそれに対応するグレーチング蓋及びコンクリート蓋を示す斜視図である。
なお,本実施の形態の側溝ユニット100では,上述したように,コンクリート側溝110の脚受面114が,所定の曲率からなる凹曲面にて形成され,コンクリート蓋対応部110Aには,脚受面114の凹曲面にほぼ添って当接する凸曲面が形成されたコンクリート蓋120が載置されて構成されている。この場合,上記脚受面114に対応するコンクリート蓋120の下面の両端縁は凸曲面に形成されている。また,コンクリート側溝110のグレーチング蓋対応部110Bには,グレーチング蓋130が載置されて構成されている。この場合,上記脚受面114に対応するコンクリート蓋120の下面の両端縁は凸曲面に形成されている。
これに対して,図8に変形例を示すように,コンクリート側溝110の脚受面114bが平面からなる構造とすることもできる。この場合のコンクリート蓋対応部110Aは,上記脚受面114bに対応した平面からなるコンクリート蓋120bが採用される。
また,グレーチング蓋対応部110Bは,グレーチング蓋130bが採用される。このとき,コンクリート側溝110のボルト116に対してナット119が螺合されることでグレーチング蓋130bがコンクリート側溝110の載置面115に固定され,がたつきによる音の発生を抑制できる。
また,本実施の形態2の側溝ユニットが道路に設置された後に,道路に透水性のアスファルト50が敷設された状況についても,上述の実施の形態1の側溝ユニット100と同様,多量の雨が降った際にも水はけがよく,透水性のアスファルト50表面に水が浮いた状態とはならず,特に,夜間における車両の運転者の前方視認性が向上する。
[実施の形態3]
また,グレーチング蓋対応部110Bは,グレーチング蓋130bが採用される。このとき,コンクリート側溝110のボルト116に対してナット119が螺合されることでグレーチング蓋130bがコンクリート側溝110の載置面115に固定され,がたつきによる音の発生を抑制できる。
また,本実施の形態2の側溝ユニットが道路に設置された後に,道路に透水性のアスファルト50が敷設された状況についても,上述の実施の形態1の側溝ユニット100と同様,多量の雨が降った際にも水はけがよく,透水性のアスファルト50表面に水が浮いた状態とはならず,特に,夜間における車両の運転者の前方視認性が向上する。
[実施の形態3]
次に,上述の実施の形態1における側溝ユニットのコンクリート側溝の外形の変形例について,図9を参照して説明する。
図9は本考案の実施の形態1にかかる側溝ユニットの変形例とそれに対応するグレーチング蓋及びコンクリート蓋を示す斜視図である。
本実施の形態における側溝ユニット400では,コンクリート側溝110の外観形状及び内部の排水路形状以外は上記実施の形態1における側溝ユニット100と同様である。
本実施の形態3の側溝ユニット400は,グレーチング蓋230が,コンクリート側溝110の載置面115に載置される。このグレーチング蓋230が,コンクリート側溝110の載置面115に設けられているボルト116に対応して,ナット119が螺合されることで,載置面115に固定されることで,コンクリート蓋120の移動も拘束することができるとともに,がたつきによる騒音の発生を抑制できる。
図9は本考案の実施の形態1にかかる側溝ユニットの変形例とそれに対応するグレーチング蓋及びコンクリート蓋を示す斜視図である。
本実施の形態における側溝ユニット400では,コンクリート側溝110の外観形状及び内部の排水路形状以外は上記実施の形態1における側溝ユニット100と同様である。
本実施の形態3の側溝ユニット400は,グレーチング蓋230が,コンクリート側溝110の載置面115に載置される。このグレーチング蓋230が,コンクリート側溝110の載置面115に設けられているボルト116に対応して,ナット119が螺合されることで,載置面115に固定されることで,コンクリート蓋120の移動も拘束することができるとともに,がたつきによる騒音の発生を抑制できる。
また,側溝ユニット400のコンクリート側溝110の載置面115が端面112の鉛直上に位置していることから,縦方向の荷重に対して十分な強度を有しており,グレーチング蓋230がコンクリート側溝110にボルト固定されることで,コンクリート側溝110の端面112が外側に開き,また,内側に縮小するような荷重に対しても強度を増すことができ,ひび割れ防止に有効である。
また,本実施の形態の側溝ユニット400が道路に設置された後に,道路に透水性のアスファルト50が敷設された状況についても,上述の実施の形態1の側溝ユニット100と同様,多量の雨が降った際にも水はけがよく,透水性のアスファルト50表面に水が浮いた状態とはならず,特に,夜間における車両の運転者の前方視認性が向上する。
また,本実施の形態の側溝ユニット400が道路に設置された後に,道路に透水性のアスファルト50が敷設された状況についても,上述の実施の形態1の側溝ユニット100と同様,多量の雨が降った際にも水はけがよく,透水性のアスファルト50表面に水が浮いた状態とはならず,特に,夜間における車両の運転者の前方視認性が向上する。
このように,本実施の形態の端面112の厚み方向に段差を設けてコンクリート蓋120の収容空間を形成してなるコンクリート蓋対応部110Aと,端面112が略同一高さとし,コンクリート蓋対応部110Aの端面112の高さとの間にグレーチング蓋230の厚みに相当する段差を形成し,かつ,グレーチング蓋230の移動を拘束するボルト116を配設してなるグレーチング蓋対応部110Bとを連続して一体化されてなるコンクリート側溝110を具備する側溝ユニット400において,グレーチング蓋230はボルト116に移動を拘束され,コンクリート側溝110の長さ方向に対して直角方向にグレーチング蓋230の外部の雨水がグレーチング蓋230の両側面に設置された排水孔付き鉄板136を通過してグレーチング蓋対応部110B内に流入し,側溝ユニット400の排水路内に雨水を排水する構造としたものである。
また,側溝ユニット400は,コンクリート側溝110に対してコンクリート蓋120とグレーチング蓋230を載置して構成したものであって,コンクリート側溝110のグレーチング蓋対応部110Bにグレーチング蓋230が載置され,また,コンクリート側溝110の端面112の内側に位置する脚受面114の上にコンクリート蓋120が載置されたとき,コンクリート側溝110の端面112の最上部に位置する天端面とが略同一平面となる構造となるため,歩行または自転車で通過しても,安全性が確保できる。
[実施の形態4]
[実施の形態4]
次に,上述の実施の形態1における側溝ユニットのコンクリート側溝の外形の変形例について,図10を参照して説明する。
図10は,実施の形態1乃至実施の形態3と異なり,底の部分がない自由勾配型と呼ばれるコンクリート側溝にグレーチング蓋を使用した全体構成で,グレーチング蓋を取り外した状態を示す分解斜視図である。
本実施の形態の側溝ユニット500では,コンクリート側溝110の脚受面114が,所定の曲率からなる凹曲面にて形成されているが,脚受面114の部分は傾斜面または平面,または凸曲面でもよい。
また,コンクリート側溝110の上部に位置する110Aの部分はコンクリート側溝110の端面112と一体化されて成形されており,コンクリート側溝110のグレーチング蓋対応部110Bには,グレーチング蓋230が載置されるように構成される。このとき,コンクリート側溝110のボルト116に対してナット119が螺合されることで,グレーチング蓋230がコンクリート側溝110の載置面115に固定され,がたつきによる音の発生を抑制できる。
図10は,実施の形態1乃至実施の形態3と異なり,底の部分がない自由勾配型と呼ばれるコンクリート側溝にグレーチング蓋を使用した全体構成で,グレーチング蓋を取り外した状態を示す分解斜視図である。
本実施の形態の側溝ユニット500では,コンクリート側溝110の脚受面114が,所定の曲率からなる凹曲面にて形成されているが,脚受面114の部分は傾斜面または平面,または凸曲面でもよい。
また,コンクリート側溝110の上部に位置する110Aの部分はコンクリート側溝110の端面112と一体化されて成形されており,コンクリート側溝110のグレーチング蓋対応部110Bには,グレーチング蓋230が載置されるように構成される。このとき,コンクリート側溝110のボルト116に対してナット119が螺合されることで,グレーチング蓋230がコンクリート側溝110の載置面115に固定され,がたつきによる音の発生を抑制できる。
グレーチング蓋230は,コンクリート側溝110の載置面115で支えられ,かつ,コンクリート側溝110の端面112の最上面で堅固に一体化されて支えられ,この載置面115は端面112のほぼ鉛直上に位置しているから,縦方向の荷重に対して十分な強度を有している。
また,グレーチング蓋230は,位置決め穴134を介してコンクリート側溝110のボルト116に挿入され,コンクリート側溝110の端面112が外側に拡張または内側に縮小するようなことがなく,併せて,コンクリート側溝110の端面112の最上面は120Aとして堅固に一体化構造となるために強度を増すことができ,ひび割れ防止に有効である。
また,グレーチング蓋230は,位置決め穴134を介してコンクリート側溝110のボルト116に挿入され,コンクリート側溝110の端面112が外側に拡張または内側に縮小するようなことがなく,併せて,コンクリート側溝110の端面112の最上面は120Aとして堅固に一体化構造となるために強度を増すことができ,ひび割れ防止に有効である。
このように,本実施の形態の端面112の高さが同一平面で,かつ,コンクリート側溝110との相対移動を拘束するボルト116を配設してなるコンクリート側溝110において,グレーチング蓋230はボルト116に移動を拘束されると共に,コンクリート側溝110の長さ方向に対して直角方向にグレーチング蓋230の外部の雨水がグレーチング蓋230の排水孔付き鉄板136を通過して,コンクリート側溝110内に流入する構造としたものである。
したがって,グレーチング蓋230が載置されたコンクリート側溝110が,透水性のアスファルト50が敷設された道路に設置されることで,透水性のアスファルト50内に浸透した雨水等を,コンクリート側溝110のグレーチング蓋230の側面である排水孔付き鉄板136から内側に流入し,コンクリート側溝110内に排水することができる。
また,コンクリート側溝110の端面112の最上面が載置面115となり,グレーチング蓋230が載置され,コンクリート側溝110の上面とグレーチング蓋230の上面が略同一平面となり,歩行または自転車で通過しても,安全性が確保できる。さらに,載置面115にボルト116が設けられており,このボルト116にグレーチング蓋230に穿設された位置決め穴134が挿入されているため,コンクリート側溝110に対してグレーチング蓋230が位置ずれを生じることがない。そして,仮に,グレーチング蓋230の上面からトラック等の大きな重力がかかったとしても,コンクリート側溝110側はその全体として受け止めることができ,かつ,グレーチング蓋230の移動を拘束するボルトによって,グレーチング蓋230によって位置ずれの抑制力が働き,コンクリート側溝110はその力を端面112の全面にて受けることで損傷し難くなり,グレーチング蓋230の脱落も防止することができる。特に,本実施の形態4では,コンクリート蓋を使用せず,グレーチング蓋230が端面112を開口する方向の外力を加えない構造であるから,破壊に強いコンクリート側溝110となる。
また,コンクリート側溝110の端面112の最上面が載置面115となり,グレーチング蓋230が載置され,コンクリート側溝110の上面とグレーチング蓋230の上面が略同一平面となり,歩行または自転車で通過しても,安全性が確保できる。さらに,載置面115にボルト116が設けられており,このボルト116にグレーチング蓋230に穿設された位置決め穴134が挿入されているため,コンクリート側溝110に対してグレーチング蓋230が位置ずれを生じることがない。そして,仮に,グレーチング蓋230の上面からトラック等の大きな重力がかかったとしても,コンクリート側溝110側はその全体として受け止めることができ,かつ,グレーチング蓋230の移動を拘束するボルトによって,グレーチング蓋230によって位置ずれの抑制力が働き,コンクリート側溝110はその力を端面112の全面にて受けることで損傷し難くなり,グレーチング蓋230の脱落も防止することができる。特に,本実施の形態4では,コンクリート蓋を使用せず,グレーチング蓋230が端面112を開口する方向の外力を加えない構造であるから,破壊に強いコンクリート側溝110となる。
図11は本考案の各実施の形態で使用するグレーチング蓋の両側面に設ける排水路となる排水口の説明図である。
図3のグレーチング蓋130の両側面に設置される排水孔付き鉄板136からなる板材に対して,図11(a)は丸61及び逆U字形状62を形成したものである。特に,下部位置にある逆U字形状62は透水性のアスファルト50が入り込んでも,垂直方向に持ち上げるとき,容易に持ち上げができる。また,図11(b)は楕円丸63及び三角形状64を形成したものである。特に,下部位置にある三角形状64は透水性のアスファルト50が入り込んでも,垂直方向に持ち上げるとき,容易に持ち上げができる。図11(c)は鉛筆形シルエット65を形成したものである。特に,鉛筆形シルエット65は透水性のアスファルト50が入り込んでも,垂直方向に持ち上げるとき,容易に持ち上げができる。図11(d)はグレーチング蓋130の平鉄板131の端辺を折曲して形成したもので,折曲部66は,水路口を形成するために切り欠き67を有している。この場合も,切り欠き67に透水性のアスファルト50が入り込んでも,垂直方向に持ち上げるとき,容易に持ち上げができる。図11(e)は四角台形68を形成したものである。特に,四角台形68は透水性のアスファルト50が入り込んでも,垂直方向に持ち上げるとき,容易に持ち上げができる。なお,このように示した排水口61〜68を通過した雨水は,グレーチング蓋130,230の平鉄板131の隙間からコンクリート側溝110の排水路である内底面111に流入することとなる。
このように,本考案の実施の形態で使用するグレーチング蓋130,230に設ける排水路は,グレーチング蓋130,230に設置した排水孔付き鉄板136の各排水口61〜68を通して,外部の雨水がグレーチング蓋130,230の排水孔付き鉄板136を通過してコンクリート側溝110の排水路に流入する構造であればよい。
図3のグレーチング蓋130の両側面に設置される排水孔付き鉄板136からなる板材に対して,図11(a)は丸61及び逆U字形状62を形成したものである。特に,下部位置にある逆U字形状62は透水性のアスファルト50が入り込んでも,垂直方向に持ち上げるとき,容易に持ち上げができる。また,図11(b)は楕円丸63及び三角形状64を形成したものである。特に,下部位置にある三角形状64は透水性のアスファルト50が入り込んでも,垂直方向に持ち上げるとき,容易に持ち上げができる。図11(c)は鉛筆形シルエット65を形成したものである。特に,鉛筆形シルエット65は透水性のアスファルト50が入り込んでも,垂直方向に持ち上げるとき,容易に持ち上げができる。図11(d)はグレーチング蓋130の平鉄板131の端辺を折曲して形成したもので,折曲部66は,水路口を形成するために切り欠き67を有している。この場合も,切り欠き67に透水性のアスファルト50が入り込んでも,垂直方向に持ち上げるとき,容易に持ち上げができる。図11(e)は四角台形68を形成したものである。特に,四角台形68は透水性のアスファルト50が入り込んでも,垂直方向に持ち上げるとき,容易に持ち上げができる。なお,このように示した排水口61〜68を通過した雨水は,グレーチング蓋130,230の平鉄板131の隙間からコンクリート側溝110の排水路である内底面111に流入することとなる。
このように,本考案の実施の形態で使用するグレーチング蓋130,230に設ける排水路は,グレーチング蓋130,230に設置した排水孔付き鉄板136の各排水口61〜68を通して,外部の雨水がグレーチング蓋130,230の排水孔付き鉄板136を通過してコンクリート側溝110の排水路に流入する構造であればよい。
1 側溝ユニット(従来)
10 コンクリート側溝(従来)
11 排水路(従来)
12 端面(従来)
13 天端面(従来)
14 脚受面(従来)
20 コンクリート蓋(従来)
30 グレーチング蓋(従来)
35 脚部材(従来)
50 透水性のアスファルト
50A 打設コンクリート層
100,400,500 側溝ユニット
110 コンクリート側溝
110A,110B コンクリート蓋対応部
111 内底面
112 端面
113 天端面
114,114a,114b 脚受面
115 載置面
116 ボルト
119 ナット
120,120b コンクリート蓋
120A コンクリート側溝(一体構造の上部)
130,130b,230 グレーチング蓋
131 平鉄板
133 穴あきプレート
134 位置決め穴
136 排水孔付き鉄板
137 丸孔
138 逆U字孔
10 コンクリート側溝(従来)
11 排水路(従来)
12 端面(従来)
13 天端面(従来)
14 脚受面(従来)
20 コンクリート蓋(従来)
30 グレーチング蓋(従来)
35 脚部材(従来)
50 透水性のアスファルト
50A 打設コンクリート層
100,400,500 側溝ユニット
110 コンクリート側溝
110A,110B コンクリート蓋対応部
111 内底面
112 端面
113 天端面
114,114a,114b 脚受面
115 載置面
116 ボルト
119 ナット
120,120b コンクリート蓋
120A コンクリート側溝(一体構造の上部)
130,130b,230 グレーチング蓋
131 平鉄板
133 穴あきプレート
134 位置決め穴
136 排水孔付き鉄板
137 丸孔
138 逆U字孔
Claims (3)
- 側溝の端面側から始まる最上部に位置する天端部に対し,グレーチング蓋を載せて固定するためのグレーチング蓋の幅及び高さと同じくする段差部を設けて載置面とし,その載置面にグレーチング蓋を拘束するボルトを数箇所に配設した側溝。
- 脚部材を必要としないグレーチング蓋であって,該グレーチング蓋の最上部より下方に雨水が通過し且つアスファルト粒塊が通過できない大きさの複数の排水孔を有する鉄製プレートを該グレーチング蓋の両側面に設け,雨水が該グレーチング蓋の両側面の鉄製プレートの排水孔を通過し,前記請求項1の側溝の排水路内部に流入することを可能とした,前記請求項1の側溝にボルト固定されるグレーチング蓋。
- 側溝の端面側から始まる最上部に位置する天端部に対し,グレーチング蓋を載せて固定するためのグレーチング蓋の幅に併せ且つ高さを同じくする段差部を設けて載置面とし,その載置面にグレーチング蓋を拘束するボルトを数箇所に配設した側溝と,脚部材を必要としないグレーチング蓋であって,該グレーチング蓋の最上部より下方に雨水が通過し且つアスファルト粒塊が通過できない大きさの複数の排水孔を有する鉄製プレートを該グレーチング蓋の両側面に設けたグレーチング蓋からなり,該側溝の載置面に配設されたボルト部に対し,該グレーチング蓋が載置されてナットで固定され,該グレーチング蓋の両側面の鉄製プレートの排水孔を通過した雨水が該側溝の排水路内部に流入する雨水排水構造を可能にした,前記請求項1の側溝と前記請求項2のグレーチング蓋の一体構造となす側溝ユニット。
Priority Applications (1)
| Application Number | Priority Date | Filing Date | Title |
|---|---|---|---|
| JP2006006290U JP3125818U (ja) | 2006-07-06 | 2006-07-06 | 側溝ユニット及びグレーチング蓋の構造 |
Applications Claiming Priority (1)
| Application Number | Priority Date | Filing Date | Title |
|---|---|---|---|
| JP2006006290U JP3125818U (ja) | 2006-07-06 | 2006-07-06 | 側溝ユニット及びグレーチング蓋の構造 |
Publications (1)
| Publication Number | Publication Date |
|---|---|
| JP3125818U true JP3125818U (ja) | 2006-10-05 |
Family
ID=43475665
Family Applications (1)
| Application Number | Title | Priority Date | Filing Date |
|---|---|---|---|
| JP2006006290U Expired - Lifetime JP3125818U (ja) | 2006-07-06 | 2006-07-06 | 側溝ユニット及びグレーチング蓋の構造 |
Country Status (1)
| Country | Link |
|---|---|
| JP (1) | JP3125818U (ja) |
Cited By (5)
| Publication number | Priority date | Publication date | Assignee | Title |
|---|---|---|---|---|
| CN110273427A (zh) * | 2019-06-24 | 2019-09-24 | 中铁二十四局集团安徽工程有限公司 | 一种基坑排水型喷射混凝土结构及其施工方法 |
| CN110409896A (zh) * | 2019-07-15 | 2019-11-05 | 南阳师范学院 | 一种停车场用蓄水装置 |
| CN116676997A (zh) * | 2023-06-19 | 2023-09-01 | 山东宝诚集团有限公司 | 一种地下室防排水结合的施工方法 |
| CN117051942A (zh) * | 2023-08-04 | 2023-11-14 | 天津市政工程设计研究总院有限公司 | 一种隧道一体式横截沟构造 |
| KR102796364B1 (ko) * | 2024-07-30 | 2025-04-18 | 주식회사 대양환경기술 | 도로 배수시설 시공방법 및 그에 의하여 시공되는 도로 배수시설 |
-
2006
- 2006-07-06 JP JP2006006290U patent/JP3125818U/ja not_active Expired - Lifetime
Cited By (5)
| Publication number | Priority date | Publication date | Assignee | Title |
|---|---|---|---|---|
| CN110273427A (zh) * | 2019-06-24 | 2019-09-24 | 中铁二十四局集团安徽工程有限公司 | 一种基坑排水型喷射混凝土结构及其施工方法 |
| CN110409896A (zh) * | 2019-07-15 | 2019-11-05 | 南阳师范学院 | 一种停车场用蓄水装置 |
| CN116676997A (zh) * | 2023-06-19 | 2023-09-01 | 山东宝诚集团有限公司 | 一种地下室防排水结合的施工方法 |
| CN117051942A (zh) * | 2023-08-04 | 2023-11-14 | 天津市政工程设计研究总院有限公司 | 一种隧道一体式横截沟构造 |
| KR102796364B1 (ko) * | 2024-07-30 | 2025-04-18 | 주식회사 대양환경기술 | 도로 배수시설 시공방법 및 그에 의하여 시공되는 도로 배수시설 |
Similar Documents
| Publication | Publication Date | Title |
|---|---|---|
| KR200489711Y1 (ko) | 조립식 트렌치 | |
| KR20080108705A (ko) | 교량 신축이음장치의 볼트풀림 방지구조 | |
| JP3125818U (ja) | 側溝ユニット及びグレーチング蓋の構造 | |
| JP6532256B2 (ja) | 側溝蓋、及び当該側溝蓋を備えた路面構造 | |
| JP2019148156A (ja) | 排水溝ユニット及びその施工方法 | |
| JP5010770B2 (ja) | 集水性能を備える側溝の施工方法および同施工方法に用いられる集水金具 | |
| CN110042751B (zh) | 基于毛细原理的沥青铺装层排水装置及其施工方法 | |
| KR200404280Y1 (ko) | 수밀성 맨홀 뚜껑 조립체 | |
| KR100859262B1 (ko) | 보도용 블록 및 이를 구비한 보도용 블록 조립체 | |
| KR100585619B1 (ko) | 길이조절이 가능한 측구용 덮개 | |
| JP7572030B2 (ja) | 基礎一体型ハンドホール、及び、ウェイト付きハンドホール | |
| JP2007092315A (ja) | 側溝ユニット及びそれに使用するグレーチング蓋 | |
| JP3943114B2 (ja) | 水路の敷設工法 | |
| JP3864393B2 (ja) | 河川横断構造物の構築方法 | |
| JP5534503B2 (ja) | L型側溝ブロック | |
| JP3125931U (ja) | 側溝の道路横断構造 | |
| JP7017003B2 (ja) | 橋梁用排水桝の取付構造 | |
| JP3130944U (ja) | 鉄枠及び鉄受枠不要の横断型側溝ユニットと側面排水型グレーチング蓋 | |
| JP7499163B2 (ja) | 貯水型側溝およびそれを用いた貯水型側溝設備 | |
| KR200425920Y1 (ko) | 조립식 아스콘 복합형 복공판 | |
| KR102788758B1 (ko) | 교량의 선배수장치 | |
| KR20240066622A (ko) | 우수 저류성과 지반 침하에 대한 저항성이 향상된 측구 저류관로 | |
| KR102351211B1 (ko) | 상하부 구조물의 보강장치 | |
| JP3228283U (ja) | 排水溝ユニット | |
| KR100821742B1 (ko) | 측벽 보강형 집수정 구조체 |
Legal Events
| Date | Code | Title | Description |
|---|---|---|---|
| FPAY | Renewal fee payment (event date is renewal date of database) |
Free format text: PAYMENT UNTIL: 20120913 Year of fee payment: 6 |
|
| FPAY | Renewal fee payment (event date is renewal date of database) |
Free format text: PAYMENT UNTIL: 20130913 Year of fee payment: 7 |
|
| R250 | Receipt of annual fees |
Free format text: JAPANESE INTERMEDIATE CODE: R250 |
|
| R250 | Receipt of annual fees |
Free format text: JAPANESE INTERMEDIATE CODE: R250 |
|
| R250 | Receipt of annual fees |
Free format text: JAPANESE INTERMEDIATE CODE: R250 |
|
| EXPY | Cancellation because of completion of term |