JP2023027770A - 内燃機関用の排ガス装置 - Google Patents

内燃機関用の排ガス装置 Download PDF

Info

Publication number
JP2023027770A
JP2023027770A JP2022129544A JP2022129544A JP2023027770A JP 2023027770 A JP2023027770 A JP 2023027770A JP 2022129544 A JP2022129544 A JP 2022129544A JP 2022129544 A JP2022129544 A JP 2022129544A JP 2023027770 A JP2023027770 A JP 2023027770A
Authority
JP
Japan
Prior art keywords
exhaust gas
casing
region
shielding
wall
Prior art date
Legal status (The legal status is an assumption and is not a legal conclusion. Google has not performed a legal analysis and makes no representation as to the accuracy of the status listed.)
Granted
Application number
JP2022129544A
Other languages
English (en)
Other versions
JP7425840B2 (ja
Inventor
ダッツ ヴォルフガング
Datz Wolfgang
カンツライター ラルフ
Kanzleiter Ralph
Current Assignee (The listed assignees may be inaccurate. Google has not performed a legal analysis and makes no representation or warranty as to the accuracy of the list.)
Eberspaecher Exhaust Technology GmbH and Co KG
Original Assignee
Purem GmbH
Priority date (The priority date is an assumption and is not a legal conclusion. Google has not performed a legal analysis and makes no representation as to the accuracy of the date listed.)
Filing date
Publication date
Application filed by Purem GmbH filed Critical Purem GmbH
Publication of JP2023027770A publication Critical patent/JP2023027770A/ja
Application granted granted Critical
Publication of JP7425840B2 publication Critical patent/JP7425840B2/ja
Active legal-status Critical Current
Anticipated expiration legal-status Critical

Links

Images

Classifications

    • FMECHANICAL ENGINEERING; LIGHTING; HEATING; WEAPONS; BLASTING
    • F01MACHINES OR ENGINES IN GENERAL; ENGINE PLANTS IN GENERAL; STEAM ENGINES
    • F01NGAS-FLOW SILENCERS OR EXHAUST APPARATUS FOR MACHINES OR ENGINES IN GENERAL; GAS-FLOW SILENCERS OR EXHAUST APPARATUS FOR INTERNAL-COMBUSTION ENGINES
    • F01N3/00Exhaust or silencing apparatus having means for purifying, rendering innocuous, or otherwise treating exhaust
    • F01N3/08Exhaust or silencing apparatus having means for purifying, rendering innocuous, or otherwise treating exhaust for rendering innocuous
    • F01N3/10Exhaust or silencing apparatus having means for purifying, rendering innocuous, or otherwise treating exhaust for rendering innocuous by thermal or catalytic conversion of noxious components of exhaust
    • F01N3/24Exhaust or silencing apparatus having means for purifying, rendering innocuous, or otherwise treating exhaust for rendering innocuous by thermal or catalytic conversion of noxious components of exhaust characterised by constructional aspects of converting apparatus
    • F01N3/28Construction of catalytic reactors
    • F01N3/2892Exhaust flow directors or the like, e.g. upstream of catalytic device
    • FMECHANICAL ENGINEERING; LIGHTING; HEATING; WEAPONS; BLASTING
    • F01MACHINES OR ENGINES IN GENERAL; ENGINE PLANTS IN GENERAL; STEAM ENGINES
    • F01NGAS-FLOW SILENCERS OR EXHAUST APPARATUS FOR MACHINES OR ENGINES IN GENERAL; GAS-FLOW SILENCERS OR EXHAUST APPARATUS FOR INTERNAL-COMBUSTION ENGINES
    • F01N13/00Exhaust or silencing apparatus characterised by constructional features
    • F01N13/08Other arrangements or adaptations of exhaust conduits
    • FMECHANICAL ENGINEERING; LIGHTING; HEATING; WEAPONS; BLASTING
    • F01MACHINES OR ENGINES IN GENERAL; ENGINE PLANTS IN GENERAL; STEAM ENGINES
    • F01NGAS-FLOW SILENCERS OR EXHAUST APPARATUS FOR MACHINES OR ENGINES IN GENERAL; GAS-FLOW SILENCERS OR EXHAUST APPARATUS FOR INTERNAL-COMBUSTION ENGINES
    • F01N13/00Exhaust or silencing apparatus characterised by constructional features
    • F01N13/14Exhaust or silencing apparatus characterised by constructional features having thermal insulation
    • F01N13/141Double-walled exhaust pipes or housings
    • FMECHANICAL ENGINEERING; LIGHTING; HEATING; WEAPONS; BLASTING
    • F01MACHINES OR ENGINES IN GENERAL; ENGINE PLANTS IN GENERAL; STEAM ENGINES
    • F01NGAS-FLOW SILENCERS OR EXHAUST APPARATUS FOR MACHINES OR ENGINES IN GENERAL; GAS-FLOW SILENCERS OR EXHAUST APPARATUS FOR INTERNAL-COMBUSTION ENGINES
    • F01N13/00Exhaust or silencing apparatus characterised by constructional features
    • F01N13/14Exhaust or silencing apparatus characterised by constructional features having thermal insulation
    • F01N13/141Double-walled exhaust pipes or housings
    • F01N13/143Double-walled exhaust pipes or housings with air filling the space between both walls
    • FMECHANICAL ENGINEERING; LIGHTING; HEATING; WEAPONS; BLASTING
    • F01MACHINES OR ENGINES IN GENERAL; ENGINE PLANTS IN GENERAL; STEAM ENGINES
    • F01NGAS-FLOW SILENCERS OR EXHAUST APPARATUS FOR MACHINES OR ENGINES IN GENERAL; GAS-FLOW SILENCERS OR EXHAUST APPARATUS FOR INTERNAL-COMBUSTION ENGINES
    • F01N13/00Exhaust or silencing apparatus characterised by constructional features
    • F01N13/009Exhaust or silencing apparatus characterised by constructional features having two or more separate purifying devices arranged in series
    • FMECHANICAL ENGINEERING; LIGHTING; HEATING; WEAPONS; BLASTING
    • F01MACHINES OR ENGINES IN GENERAL; ENGINE PLANTS IN GENERAL; STEAM ENGINES
    • F01NGAS-FLOW SILENCERS OR EXHAUST APPARATUS FOR MACHINES OR ENGINES IN GENERAL; GAS-FLOW SILENCERS OR EXHAUST APPARATUS FOR INTERNAL-COMBUSTION ENGINES
    • F01N13/00Exhaust or silencing apparatus characterised by constructional features
    • F01N13/009Exhaust or silencing apparatus characterised by constructional features having two or more separate purifying devices arranged in series
    • F01N13/0097Exhaust or silencing apparatus characterised by constructional features having two or more separate purifying devices arranged in series the purifying devices are arranged in a single housing
    • FMECHANICAL ENGINEERING; LIGHTING; HEATING; WEAPONS; BLASTING
    • F01MACHINES OR ENGINES IN GENERAL; ENGINE PLANTS IN GENERAL; STEAM ENGINES
    • F01NGAS-FLOW SILENCERS OR EXHAUST APPARATUS FOR MACHINES OR ENGINES IN GENERAL; GAS-FLOW SILENCERS OR EXHAUST APPARATUS FOR INTERNAL-COMBUSTION ENGINES
    • F01N13/00Exhaust or silencing apparatus characterised by constructional features
    • F01N13/18Construction facilitating manufacture, assembly, or disassembly
    • F01N13/1872Construction facilitating manufacture, assembly, or disassembly the assembly using stamp-formed parts or otherwise deformed sheet-metal
    • FMECHANICAL ENGINEERING; LIGHTING; HEATING; WEAPONS; BLASTING
    • F01MACHINES OR ENGINES IN GENERAL; ENGINE PLANTS IN GENERAL; STEAM ENGINES
    • F01NGAS-FLOW SILENCERS OR EXHAUST APPARATUS FOR MACHINES OR ENGINES IN GENERAL; GAS-FLOW SILENCERS OR EXHAUST APPARATUS FOR INTERNAL-COMBUSTION ENGINES
    • F01N2240/00Combination or association of two or more different exhaust treating devices, or of at least one such device with an auxiliary device, not covered by indexing codes F01N2230/00 or F01N2250/00, one of the devices being
    • F01N2240/20Combination or association of two or more different exhaust treating devices, or of at least one such device with an auxiliary device, not covered by indexing codes F01N2230/00 or F01N2250/00, one of the devices being a flow director or deflector
    • FMECHANICAL ENGINEERING; LIGHTING; HEATING; WEAPONS; BLASTING
    • F01MACHINES OR ENGINES IN GENERAL; ENGINE PLANTS IN GENERAL; STEAM ENGINES
    • F01NGAS-FLOW SILENCERS OR EXHAUST APPARATUS FOR MACHINES OR ENGINES IN GENERAL; GAS-FLOW SILENCERS OR EXHAUST APPARATUS FOR INTERNAL-COMBUSTION ENGINES
    • F01N2250/00Combinations of different methods of purification
    • F01N2250/02Combinations of different methods of purification filtering and catalytic conversion
    • FMECHANICAL ENGINEERING; LIGHTING; HEATING; WEAPONS; BLASTING
    • F01MACHINES OR ENGINES IN GENERAL; ENGINE PLANTS IN GENERAL; STEAM ENGINES
    • F01NGAS-FLOW SILENCERS OR EXHAUST APPARATUS FOR MACHINES OR ENGINES IN GENERAL; GAS-FLOW SILENCERS OR EXHAUST APPARATUS FOR INTERNAL-COMBUSTION ENGINES
    • F01N2260/00Exhaust treating devices having provisions not otherwise provided for
    • F01N2260/20Exhaust treating devices having provisions not otherwise provided for for heat or sound protection, e.g. using a shield or specially shaped outer surface of exhaust device
    • FMECHANICAL ENGINEERING; LIGHTING; HEATING; WEAPONS; BLASTING
    • F01MACHINES OR ENGINES IN GENERAL; ENGINE PLANTS IN GENERAL; STEAM ENGINES
    • F01NGAS-FLOW SILENCERS OR EXHAUST APPARATUS FOR MACHINES OR ENGINES IN GENERAL; GAS-FLOW SILENCERS OR EXHAUST APPARATUS FOR INTERNAL-COMBUSTION ENGINES
    • F01N2450/00Methods or apparatus for fitting, inserting or repairing different elements
    • F01N2450/22Methods or apparatus for fitting, inserting or repairing different elements by welding or brazing
    • FMECHANICAL ENGINEERING; LIGHTING; HEATING; WEAPONS; BLASTING
    • F01MACHINES OR ENGINES IN GENERAL; ENGINE PLANTS IN GENERAL; STEAM ENGINES
    • F01NGAS-FLOW SILENCERS OR EXHAUST APPARATUS FOR MACHINES OR ENGINES IN GENERAL; GAS-FLOW SILENCERS OR EXHAUST APPARATUS FOR INTERNAL-COMBUSTION ENGINES
    • F01N2530/00Selection of materials for tubes, chambers or housings
    • F01N2530/26Multi-layered walls
    • FMECHANICAL ENGINEERING; LIGHTING; HEATING; WEAPONS; BLASTING
    • F01MACHINES OR ENGINES IN GENERAL; ENGINE PLANTS IN GENERAL; STEAM ENGINES
    • F01NGAS-FLOW SILENCERS OR EXHAUST APPARATUS FOR MACHINES OR ENGINES IN GENERAL; GAS-FLOW SILENCERS OR EXHAUST APPARATUS FOR INTERNAL-COMBUSTION ENGINES
    • F01N2610/00Adding substances to exhaust gases
    • F01N2610/02Adding substances to exhaust gases the substance being ammonia or urea
    • FMECHANICAL ENGINEERING; LIGHTING; HEATING; WEAPONS; BLASTING
    • F01MACHINES OR ENGINES IN GENERAL; ENGINE PLANTS IN GENERAL; STEAM ENGINES
    • F01NGAS-FLOW SILENCERS OR EXHAUST APPARATUS FOR MACHINES OR ENGINES IN GENERAL; GAS-FLOW SILENCERS OR EXHAUST APPARATUS FOR INTERNAL-COMBUSTION ENGINES
    • F01N2610/00Adding substances to exhaust gases
    • F01N2610/10Adding substances to exhaust gases the substance being heated, e.g. by heating tank or supply line of the added substance
    • F01N2610/102Adding substances to exhaust gases the substance being heated, e.g. by heating tank or supply line of the added substance after addition to exhaust gases, e.g. by a passively or actively heated surface in the exhaust conduit
    • FMECHANICAL ENGINEERING; LIGHTING; HEATING; WEAPONS; BLASTING
    • F01MACHINES OR ENGINES IN GENERAL; ENGINE PLANTS IN GENERAL; STEAM ENGINES
    • F01NGAS-FLOW SILENCERS OR EXHAUST APPARATUS FOR MACHINES OR ENGINES IN GENERAL; GAS-FLOW SILENCERS OR EXHAUST APPARATUS FOR INTERNAL-COMBUSTION ENGINES
    • F01N2610/00Adding substances to exhaust gases
    • F01N2610/14Arrangements for the supply of substances, e.g. conduits
    • F01N2610/1453Sprayers or atomisers; Arrangement thereof in the exhaust apparatus
    • FMECHANICAL ENGINEERING; LIGHTING; HEATING; WEAPONS; BLASTING
    • F01MACHINES OR ENGINES IN GENERAL; ENGINE PLANTS IN GENERAL; STEAM ENGINES
    • F01NGAS-FLOW SILENCERS OR EXHAUST APPARATUS FOR MACHINES OR ENGINES IN GENERAL; GAS-FLOW SILENCERS OR EXHAUST APPARATUS FOR INTERNAL-COMBUSTION ENGINES
    • F01N3/00Exhaust or silencing apparatus having means for purifying, rendering innocuous, or otherwise treating exhaust
    • F01N3/02Exhaust or silencing apparatus having means for purifying, rendering innocuous, or otherwise treating exhaust for cooling, or for removing solid constituents of, exhaust
    • F01N3/021Exhaust or silencing apparatus having means for purifying, rendering innocuous, or otherwise treating exhaust for cooling, or for removing solid constituents of, exhaust by means of filters
    • FMECHANICAL ENGINEERING; LIGHTING; HEATING; WEAPONS; BLASTING
    • F01MACHINES OR ENGINES IN GENERAL; ENGINE PLANTS IN GENERAL; STEAM ENGINES
    • F01NGAS-FLOW SILENCERS OR EXHAUST APPARATUS FOR MACHINES OR ENGINES IN GENERAL; GAS-FLOW SILENCERS OR EXHAUST APPARATUS FOR INTERNAL-COMBUSTION ENGINES
    • F01N3/00Exhaust or silencing apparatus having means for purifying, rendering innocuous, or otherwise treating exhaust
    • F01N3/08Exhaust or silencing apparatus having means for purifying, rendering innocuous, or otherwise treating exhaust for rendering innocuous
    • F01N3/10Exhaust or silencing apparatus having means for purifying, rendering innocuous, or otherwise treating exhaust for rendering innocuous by thermal or catalytic conversion of noxious components of exhaust
    • F01N3/103Oxidation catalysts for HC and CO only
    • FMECHANICAL ENGINEERING; LIGHTING; HEATING; WEAPONS; BLASTING
    • F01MACHINES OR ENGINES IN GENERAL; ENGINE PLANTS IN GENERAL; STEAM ENGINES
    • F01NGAS-FLOW SILENCERS OR EXHAUST APPARATUS FOR MACHINES OR ENGINES IN GENERAL; GAS-FLOW SILENCERS OR EXHAUST APPARATUS FOR INTERNAL-COMBUSTION ENGINES
    • F01N3/00Exhaust or silencing apparatus having means for purifying, rendering innocuous, or otherwise treating exhaust
    • F01N3/08Exhaust or silencing apparatus having means for purifying, rendering innocuous, or otherwise treating exhaust for rendering innocuous
    • F01N3/10Exhaust or silencing apparatus having means for purifying, rendering innocuous, or otherwise treating exhaust for rendering innocuous by thermal or catalytic conversion of noxious components of exhaust
    • F01N3/105General auxiliary catalysts, e.g. upstream or downstream of the main catalyst
    • F01N3/106Auxiliary oxidation catalysts
    • FMECHANICAL ENGINEERING; LIGHTING; HEATING; WEAPONS; BLASTING
    • F01MACHINES OR ENGINES IN GENERAL; ENGINE PLANTS IN GENERAL; STEAM ENGINES
    • F01NGAS-FLOW SILENCERS OR EXHAUST APPARATUS FOR MACHINES OR ENGINES IN GENERAL; GAS-FLOW SILENCERS OR EXHAUST APPARATUS FOR INTERNAL-COMBUSTION ENGINES
    • F01N3/00Exhaust or silencing apparatus having means for purifying, rendering innocuous, or otherwise treating exhaust
    • F01N3/08Exhaust or silencing apparatus having means for purifying, rendering innocuous, or otherwise treating exhaust for rendering innocuous
    • F01N3/10Exhaust or silencing apparatus having means for purifying, rendering innocuous, or otherwise treating exhaust for rendering innocuous by thermal or catalytic conversion of noxious components of exhaust
    • F01N3/105General auxiliary catalysts, e.g. upstream or downstream of the main catalyst
    • F01N3/108Auxiliary reduction catalysts
    • FMECHANICAL ENGINEERING; LIGHTING; HEATING; WEAPONS; BLASTING
    • F01MACHINES OR ENGINES IN GENERAL; ENGINE PLANTS IN GENERAL; STEAM ENGINES
    • F01NGAS-FLOW SILENCERS OR EXHAUST APPARATUS FOR MACHINES OR ENGINES IN GENERAL; GAS-FLOW SILENCERS OR EXHAUST APPARATUS FOR INTERNAL-COMBUSTION ENGINES
    • F01N3/00Exhaust or silencing apparatus having means for purifying, rendering innocuous, or otherwise treating exhaust
    • F01N3/08Exhaust or silencing apparatus having means for purifying, rendering innocuous, or otherwise treating exhaust for rendering innocuous
    • F01N3/10Exhaust or silencing apparatus having means for purifying, rendering innocuous, or otherwise treating exhaust for rendering innocuous by thermal or catalytic conversion of noxious components of exhaust
    • F01N3/18Exhaust or silencing apparatus having means for purifying, rendering innocuous, or otherwise treating exhaust for rendering innocuous by thermal or catalytic conversion of noxious components of exhaust characterised by methods of operation; Control
    • F01N3/20Exhaust or silencing apparatus having means for purifying, rendering innocuous, or otherwise treating exhaust for rendering innocuous by thermal or catalytic conversion of noxious components of exhaust characterised by methods of operation; Control specially adapted for catalytic conversion
    • F01N3/206Adding periodically or continuously substances to exhaust gases for promoting purification, e.g. catalytic material in liquid form, NOx reducing agents
    • F01N3/2066Selective catalytic reduction [SCR]
    • FMECHANICAL ENGINEERING; LIGHTING; HEATING; WEAPONS; BLASTING
    • F01MACHINES OR ENGINES IN GENERAL; ENGINE PLANTS IN GENERAL; STEAM ENGINES
    • F01NGAS-FLOW SILENCERS OR EXHAUST APPARATUS FOR MACHINES OR ENGINES IN GENERAL; GAS-FLOW SILENCERS OR EXHAUST APPARATUS FOR INTERNAL-COMBUSTION ENGINES
    • F01N3/00Exhaust or silencing apparatus having means for purifying, rendering innocuous, or otherwise treating exhaust
    • F01N3/08Exhaust or silencing apparatus having means for purifying, rendering innocuous, or otherwise treating exhaust for rendering innocuous
    • F01N3/10Exhaust or silencing apparatus having means for purifying, rendering innocuous, or otherwise treating exhaust for rendering innocuous by thermal or catalytic conversion of noxious components of exhaust
    • F01N3/24Exhaust or silencing apparatus having means for purifying, rendering innocuous, or otherwise treating exhaust for rendering innocuous by thermal or catalytic conversion of noxious components of exhaust characterised by constructional aspects of converting apparatus
    • F01N3/28Construction of catalytic reactors
    • F01N3/2882Catalytic reactors combined or associated with other devices, e.g. exhaust silencers or other exhaust purification devices
    • YGENERAL TAGGING OF NEW TECHNOLOGICAL DEVELOPMENTS; GENERAL TAGGING OF CROSS-SECTIONAL TECHNOLOGIES SPANNING OVER SEVERAL SECTIONS OF THE IPC; TECHNICAL SUBJECTS COVERED BY FORMER USPC CROSS-REFERENCE ART COLLECTIONS [XRACs] AND DIGESTS
    • Y02TECHNOLOGIES OR APPLICATIONS FOR MITIGATION OR ADAPTATION AGAINST CLIMATE CHANGE
    • Y02ATECHNOLOGIES FOR ADAPTATION TO CLIMATE CHANGE
    • Y02A50/00TECHNOLOGIES FOR ADAPTATION TO CLIMATE CHANGE in human health protection, e.g. against extreme weather
    • Y02A50/20Air quality improvement or preservation, e.g. vehicle emission control or emission reduction by using catalytic converters
    • YGENERAL TAGGING OF NEW TECHNOLOGICAL DEVELOPMENTS; GENERAL TAGGING OF CROSS-SECTIONAL TECHNOLOGIES SPANNING OVER SEVERAL SECTIONS OF THE IPC; TECHNICAL SUBJECTS COVERED BY FORMER USPC CROSS-REFERENCE ART COLLECTIONS [XRACs] AND DIGESTS
    • Y02TECHNOLOGIES OR APPLICATIONS FOR MITIGATION OR ADAPTATION AGAINST CLIMATE CHANGE
    • Y02TCLIMATE CHANGE MITIGATION TECHNOLOGIES RELATED TO TRANSPORTATION
    • Y02T10/00Road transport of goods or passengers
    • Y02T10/10Internal combustion engine [ICE] based vehicles
    • Y02T10/12Improving ICE efficiencies

Landscapes

  • Engineering & Computer Science (AREA)
  • Chemical & Material Sciences (AREA)
  • Chemical Kinetics & Catalysis (AREA)
  • Combustion & Propulsion (AREA)
  • Mechanical Engineering (AREA)
  • General Engineering & Computer Science (AREA)
  • Health & Medical Sciences (AREA)
  • Toxicology (AREA)
  • Exhaust Gas After Treatment (AREA)
  • Materials Engineering (AREA)
  • Processes For Solid Components From Exhaust (AREA)
  • Exhaust Gas Treatment By Means Of Catalyst (AREA)

Abstract

【課題】構造的に簡単な対策で外部への熱放出を低減する熱遮蔽を達成することができる内燃機関のための排ガス装置を提供すること。【解決手段】内燃機関用の排ガス装置であって、外壁により排ガス流容積を画定し、かつ外壁の、排ガス流容積に面した内面において少なくとも1つの遮蔽要素(64,66)を支持する少なくとも1つの構成要素を含んでおり、外壁と遮蔽要素(64,66)との間に中間室(65、67)が形成されており、少なくとも1つの遮蔽要素(64,66)に、外壁に向けられ、この外壁に固定的に結合された少なくとも1つの結合成形部が設けられている、排ガス装置。【選択図】図1

Description

本発明は、内燃機関の排ガス装置に関する。
車両に設けられた内燃機関もしくは内燃機関に対応して配置された排ガス装置では、有害物質排出に関して重要な段階はコールドスタートであり、このコールドスタートでは、内燃機関もしくは排ガス装置の様々な構成要素も比較的低い温度を有していて、したがって、たとえばこのような排ガス装置に含まれる、排ガス浄化のための排ガス処理ユニット、たとえば酸化触媒コンバータ、粒子フィルタまたはSCR触媒が実質的にアクティブではありえない。比較的高い汚染物質排出を伴うこの段階をできるだけ短く維持するために、排ガス装置の様々なシステム領域を、内燃機関から排出される排ガス中の汚染物質割合の十分な低減を保証することができるような高温にできるだけ迅速に到達させることが必要となる。
本発明の課題は、構造的に簡単な対策で外部への熱放出を低減する熱遮蔽を達成することができる内燃機関のための排ガス装置を提供することである。
本発明によれば、この課題は、内燃機関用の排ガス装置であって、外壁により排ガス流容積を画定し、かつ外壁の、排ガス流容積に面した内面において少なくとも1つの遮蔽要素を支持する少なくとも1つの構成要素を含んでおり、外壁と遮蔽要素との間に中間室が形成されており、少なくとも1つの遮蔽要素に、外壁に向けられ、この外壁に固定的に結合された少なくとも1つの第1の結合成形部が設けられており、かつ/または外壁に、少なくとも1つの遮蔽要素に向けられ、少なくとも1つの遮蔽要素に固定的に結合された少なくとも1つの第2の結合成形部が設けられている、排ガス装置によって解決される。
排ガス装置の1つ以上の構成要素に1つ以上の遮蔽要素を設けることによって、その内側において覆われていて、外側において概して周囲と熱伝達接触している外壁は、少なくとも部分的に排ガスが直接に当たるように流れることに対して遮蔽される。このような遮蔽要素は外壁に対して間隔を有しており、専ら結合成形部の領域においてこの外壁に接触しているので、排ガス内で搬送された熱は、ごく限られた程度でのみ外壁に伝達され、この外壁を介して外部へ放出される。これにより、熱損失が著しく制限され、このことは一方ではコールドスタート段階での排ガス装置の迅速な加熱をもたらし、他方では、このような排ガス装置の周辺に設けられた車両のシステム領域への熱負荷を減じるので、このようなシステム領域を排ガス装置の近傍に配置することも可能性も生じる。
十分な安定性で良好な遮蔽特性を提供できるようにするために、少なくとも1つの遮蔽要素が、金属薄板変形加工部材である、または/かつ少なくとも1つの遮蔽要素が、0.6mm~1.0mmの範囲、好適には約0.8mmの厚さを有していることが規定されている。
外壁も、少なくとも1つの金属薄板変形加工部材を含んでいてよい。さらに、良好な遮蔽効果を達成するために、中間室が、0.5mm~6mmの範囲の寸法を有していてよい。
一方では熱的接触を回避し、他方では相互の当付けによるガタつき騒音を回避するために、少なくとも1つの、好適には各遮蔽要素が、外壁に対して間隔を空けて位置決めされた外縁部領域を含んでいることが提案される。つまり、このような遮蔽要素は、実質的に単に結合成形部の領域においてのみ、この遮蔽要素に結合された構成要素もしくはその外壁との物理的な接触を有している。
ケーシングの外壁が複雑な幾何学形状である場合にも、排ガスが直接に当たって流れることに対して外壁をほぼ完全に遮蔽することができるように、複数の遮蔽要素がこのような構成要素もしくは構成要素の外壁に設けられていてよい。この場合に、このような遮蔽要素が互いに接続する場所において、構成要素の外壁に直接に当たって流れることを回避するために、少なくとも2つの遮蔽要素が、隣接領域において互いに部分的にオーバラップするように配置されていてよい。
このようなオーバラップ領域において相互の当接およびこれに伴うガタつき騒音を回避するために、隣接領域において互いにオーバラップして配置された遮蔽部材間に、中間室が形成されていることが提案される。
熱負荷可能かつ化学的に耐性を有する結合のために、少なくとも1つの遮蔽要素が、少なくとも1つの、好適には各結合成形部において材料結合部、好適には溶接、たとえば抵抗溶接、レーザ溶接またはスロット溶接により外壁に結合されていてよい。
コンパクトな構成のために、排ガス装置は、上流側の流入領域および下流側の流出領域を備えた少なくとも1つの第1の排ガス処理ユニットと、上流側の流入領域および下流側の流出領域を備えた少なくとも1つの第2の排ガス処理ユニットと、少なくとも1つの第1の排ガス処理ユニットの下流側の流出領域および少なくとも1つの第2の排ガス処理ユニットの上流側の流入領域に結合された結合ケーシングとを含んでいてよい。結合ケーシングは、1つの構成要素を提供することができる。
構造的に単純に実現すべき構成では、結合ケーシングは、流入開口および流出開口を備えた第1のケーシング要素を含んでよく、流入開口の領域において、少なくとも1つの第1の排ガス処理ユニットの下流側の流出領域が、結合ケーシングに結合されており、流出開口の領域において、少なくとも1つの第2の排ガス処理ユニットの上流側の流入領域が、結合ケーシングに結合されている。さらに、結合ケーシングは、第1のケーシング要素と一緒に、排ガスにより通流可能な結合容積を画定する第2のケーシング要素を含んでいてよい。結合ケーシングが、その内面において少なくとも1つの遮蔽要素によって遮蔽された構成要素を提供する場合、この構成要素の外壁が、第1のケーシング要素または/および第2のケーシング要素を含んでいてよい。
結合ケーシングの領域において排ガス流の流れ変向が行われてよく、かつ特に第2のケーシング要素の、流入開口もしくは流出開口もしくは流入開口と流出開口との間の移行領域と反対に位置する領域が、排ガス流と相互作用することができるので、良好な遮蔽効果を達成するために、第2のケーシング要素の、結合容積に面した内面に、流入開口に対峙する領域において、または/かつ流出開口に対峙する領域において、または/かつ流入開口と流出開口との間に形成された移行領域に対峙する領域において、少なくとも1つの遮蔽要素が設けられていることが提案される。
結合ケーシングの複雑な幾何学形状に適合させるために、第2のケーシング要素に、第1のケーシング要素の移行領域に対峙する領域において互いにオーバラップする少なくとも2つの遮蔽要素が設けられていてよい。
第2のケーシング要素に少なくとも1つの遮蔽要素を設けることに対して代替的または付加的に、第1のケーシング要素に、移行領域の領域において、少なくとも1つの遮蔽要素が設けられていてよい。
排ガス装置のたとえば管状の別の要素に結合するために、第1の排ガス処理ユニットの上流側の流入領域が、流入ケーシングに結合されていてよい。この流入ケーシングは、1つの構成要素を提供することができる。
第1の排ガス処理ユニットは、酸化触媒または/および粒子フィルタまたは/およびSCR触媒を含んでいてよい。第2の排ガス処理ユニットは、SCR触媒を含んでいてよい。
特に、第2の排ガス処理ユニットがSCR触媒を含んでいる場合、結合ケーシングにおいてSCR触媒の上流で排ガスと反応物質とを混合するために、結合ケーシング内を通流する排ガスに反応物質を放出する反応物質放出装置が設けられていてよい。
本発明を以下に添付した図面を参照しながら詳細に説明する。
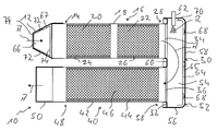
内燃機関のための排ガス装置の原理的な縦断面図である。 図1に示した排ガス装置の結合ケーシングを結合ケーシングに支持された遮蔽要素と一緒に示す詳細図である。 結合ケーシングに支持された2つの遮蔽要素を備えた、図2に対応する図である。 図3に示した2つの遮蔽要素を上からみた平面図である。 結合ケーシングの、流入開口および流出開口を提供する第1のケーシング要素の移行領域における結合ケーシングを、この移行領域に設けられた遮蔽要素と一緒に示す詳細図である。 図1に示した排ガス装置の流入ケーシングを、流入ケーシングにおいて支持された遮蔽要素と一緒に示す断面図である。
図1には、車両の内燃機関用の排ガス装置もしくは排ガス装置の一部が概して符号10で示されている。この排ガス装置10は、その上流側の領域において、排ガス装置10内に導入され、もしくはこの排ガス装置10内を流れる排ガスAの流れ方向で拡張する流入ケーシング12を含んでいる。この流入ケーシング12には、概して符号16で示される第1の排ガス処理ユニットの上流側の流入領域14が結合されている。第1の排ガス処理ユニット16は、管状のケーシング18内に、酸化触媒20または/および粒子フィルタ22を含んでいてよく、酸化触媒20および粒子フィルタ22は、流れ方向で連続して管状のケーシング18内に配置されており、このケーシング18内でたとえば繊維マット24,26等によって支持されていてよい。さらに第1の排ガス処理ユニット16は、たとえばSCR触媒を含んでいてよく、このSCR触媒は、たとえばディーゼル酸化触媒と組み合わせて、またはディーゼル粒子フィルタと組み合わせてケーシング18内に配置されていてよい。
第1の排ガス処理ユニット16の下流側の流出領域28は、概して符号30で示される結合ケーシングに結合されている。結合ケーシング30は、たとえば金属薄板変形加工部材として一体的に形成された、流入開口34を備えた第1のケーシング要素32を含んでおり、流入開口34の領域において、第1の排ガス処理ユニット16の管状のケーシング18が結合ケーシング30に気密に結合されている。さらに第1のケーシング要素32は、流出開口36を含んでおり、流出開口36の領域において、第2の排ガス処理ユニット40の上流側の流入領域38が結合ケーシング30に気密に結合されている。
第2の排ガス処理ユニット40は、たとえば管状のケーシング42を含んでおり、ケーシング42内に、たとえば繊維マット44を介してSCR触媒46が支持されている。第2の排ガス処理ユニット40の下流側の流出領域48は、たとえば、流出ケーシング50に結合されているか、または排ガス装置10の、たとえば消音器に通じるたとえば管状の要素に結合されている。
結合ケーシング30は、たとえば金属薄板変形加工部材として一体的に提供された第2のケーシング要素52をさらに含んでいる。第1のケーシング要素32が、たとえば実質的にプレート状に形成されていてよく、流入開口34または流出開口36の領域に排ガス処理ユニット16、40との結合のために設けられた縁部状の成形を有していてよい一方で、第2のケーシング要素52は、第1のケーシング要素32と一緒に、排ガスAが通流可能である結合容積54を画定するために鍋状に形成されていてよい。この場合、第2のケーシング要素52の周壁56は、第1のケーシング要素32の外周領域に形成された縁部領域に被さっていてよく、かつこの縁部領域にたとえば溶接によって固定的かつ気密に結合されていてよい。第2のケーシング要素52の底壁58は、第1のケーシング要素32、特に第1のケーシング要素32の流入開口34、流出開口36、および流入開口34と流出開口36との間に形成された移行領域60に対峙している。
結合ケーシング30もしくは結合ケーシング30の第2のケーシング要素52に、概してインジェクタと呼ばれる反応物質放出装置62が支持されている。反応物質放出装置62は、たとえば尿素および水の混合物である反応物質Rを結合容積54内に放出するので、結合容積54内を流れる排ガスAと反応物質Rとが混合され、排ガスAと反応物質Rもしくは反応物質蒸気との混合物が上流側の流入領域38において第2の排ガス処理ユニット40に流入することができる。
図1を参照して上述した排ガス装置の構造を、多種多様な形式で変化させることができることに留意されたい。たとえば、2つの排ガス処理ユニットもしくは排ガス処理ユニットの管状のケーシング18、42を、その長手方向で実質的に平行ではなく、かつ互いに隣接もしくは互いにオーバラップして配置し、これにより結合ケーシング30が、2つの排ガス処理ユニット16、40間の移行部で排ガス流が約180°変向される変向ケーシングを本質的に提供するが、2つの排ガス処理ユニットを結合ケーシングにおいて実質的にその長手方向で互いに隣接して設けることが可能である。さらに、たとえば、2つの第1の排ガス処理ユニット16または/および2つの第2の排ガス処理ユニット40が互いに実質的に平行に配置され、かつ結合ケーシング30に結合されていてよい。2つの排ガス処理ユニット16,40において、図1に関連して上述した構成要素とは別の排ガス処理のために働く構成要素が位置決めされていてよい。
図1に図示した排ガス装置10では、結合ケーシング30と流入ケーシング12とに、金属薄板変形加工部材として提供された遮蔽部材64,66が設けられている。結合ケーシング30に設けられた遮蔽要素64は、その形状において、第2のケーシング要素52の輪郭に実質的に適合させられており、これによりたとえば底壁58の実質的な領域を覆っている。周壁56の少なくとも一部も、遮蔽要素64によって覆われていてよい。たとえば0.8mmの厚さを有する金属薄板材料で構成された遮蔽要素64は、第2のケーシング要素52に対して間隔を有しており、この間隔は、0.5mm~6mmの範囲であってよく、遮蔽要素64にわたって変化してもよく、これにより遮蔽要素64と第2のケーシング要素52との間に中間室65が形成されている。
複数の位置において、遮蔽要素64には、金属薄板ブランクを変形加工することによって形成された結合成形部68が設けられており、この結合成形部68の領域において、遮蔽要素64が第2のケーシング要素52の底壁58の内面に接触し、底壁58に材料結合部、特にたとえば抵抗溶接、レーザ溶接または穴溶接のような溶接によって固定的に結合されている。結合成形部68間の領域もしくは結合成形部68の外側の領域において、特にその外縁部領域70全体においても、遮蔽要素64は第2のケーシング要素52に対して間隔を空けて配置されているので、運転中に発生する振動は遮蔽要素64と第2のケーシング要素52との相互の衝突をもたらすことがない。
図1において、遮蔽要素64が、第2のケーシング要素52において、流入開口34、流出開口36、さらに移行領域60に対峙する領域に設けられていることが分かる。したがって、結合ケーシング30の第2のケーシング要素52が、結合容積54内を流れる排ガスAが直接に当たるように流れることに対して効率的に遮蔽される。したがって、排ガスAと結合ケーシング30との間の直接的な熱伝達接触は、遮蔽要素64によって遮蔽された結合ケーシング30の領域において実質的に排除される。遮蔽要素64と結合ケーシング30との間の直接的な熱伝達は、遮蔽要素64がその結合成形部68の領域で第2のケーシング要素52に接触している僅かな領域に限定されている。したがって、外方に向かって露出する比較的大きな面を提供する結合ケーシング30からの排ガス装置10からの放熱は著しく減じられ、これにより、排ガス装置10を通流する排ガスAを比較的高い温度レベルに保つことができ、したがって排ガスA中で輸送される熱の大部分を排ガス処理ユニット16,40に伝達することができるようにすることが保証されている。
流入ケーシング12に設けられた遮蔽要素66も、複数の結合成形部72を有しており、これらの結合成形部72の領域において、遮蔽要素66は流入ケーシング12の内面に接触し、この流入ケーシング12にたとえば溶接のような材料結合によって結合されている。遮蔽要素66は、その形状において、流入ケーシング12の形状に適合されていてよく、たとえば排ガスの流れ方向で拡張する輪郭を有していてもよい。遮蔽要素66と流入ケーシング12もしくは流入ケーシング12の、遮蔽要素66を支持する壁との間にも、中間室67が形成されており、この中間室は、0.5mm~6mmの範囲の寸法を有していてよい。同様に、遮蔽要素66は、実質的に結合成形部72の領域のみで流入ケーシング12に接触している。遮蔽要素66は、その外縁部領域74の領域において、流入ケーシング12と結合もしくは接触していない。代替的には、遮蔽要素66が流入ケーシング12の流入開口に隣接して位置決めされている外縁部領域74において、遮蔽要素66は、溶接によって遮蔽ケーシング12に固定的に結合されていてよい。
図1に関連して上述した排ガス装置10の構造では、結合ケーシング30および流入ケーシング12がそれぞれ排ガス装置10の構成要素を提供する。この構成要素は、排ガス流に面したその内面に1つもしくは少なくとも1つの遮蔽要素を支持しており、遮蔽要素によって、この遮蔽要素により覆われている外壁の領域において排ガスが直接に当たるように流れることに対して遮蔽されている。排ガス装置の別の領域においても、基本的に図1に関連して上述で説明した構成を有していてよい遮蔽要素によりこのような遮蔽硬化を達成することができることに留意すべきである。
以下で説明するように、このような遮蔽要素は、異なって構成されているか、もしくは別の形式でこの遮蔽要素を支持し、この遮蔽要素により遮蔽される構成要素に結合されていてよい。
図2は、代替的な構成で、遮蔽ケーシング30の第2のケーシング要素52の底壁58の領域を示している。この底壁58の領域において、図2に示す実施例の第2のケーシング要素52は、底壁58と遮蔽要素64との間に既に述べた中間室65が形成されているように、遮蔽要素64によって覆われている。遮蔽要素64には、複数の結合成形部68が設けられている。第2のケーシング要素52の、遮蔽要素64がその結合成形部68で第2のケーシング要素52に固定されるべき領域において、第2のケーシング要素52はやはり結合成形部76を有している。したがって、遮蔽要素64の結合成形部68が第1の結合成形部を提供する一方で、結合ケーシング30の第2のケーシング要素52の結合成形部76は、第2の結合成形部を提供する。好適には、遮蔽要素64の各第1の結合成形部68が、第2のケーシング要素52の第2の結合成形部76に対応配置されているので、遮蔽要素64と第2のケーシング要素52とはそれぞれ、互いに対応配置された対において第1の結合成形部68および第2の結合成形部76で互いに接触し、材料結合部によって互いに結合されている。したがって、比較的小さく寸法設計された結合成形部68、76によって、それぞれの対の結合成形部78,76の間もしくは周辺に位置する領域において、遮蔽要素64と第2のケーシング要素52との間に比較的大きな間隔を提供する可能が生じる。
図3および図4は、結合ケーシング30の第2のケーシング部材52に2つの遮蔽要素64,64’が支持されている構成を示している。遮蔽要素64,64’の各々は、複数の第1の結合成形部68を有しており、これらの第1の結合成形部68の領域において、それぞれの遮蔽要素64,64’が、たとえば、第2のケーシング要素52のそれぞれの第2の結合成形部76において材料結合部により固定されている。
2つの遮蔽要素64,64’は、隣接領域78において互いに隣接し、隣接領域78において互いにオーバラップしている。この場合、遮蔽要素64,64’の互いにオーバラップしている区分においても、これらの区分間に間隔が空いているようにされる。したがって、隣接領域78においても、遮蔽要素64,64’が互いにぶつかり合うことがなく、ひいてはガタつき騒音が発生しないことが保証されている。
図3および図4に図示した構成では、たとえば、遮蔽要素64が、第2のケーシング要素52の、流入開口34に対峙する領域において実質的に結合ケーシング30に支持されている一方で、接続要素64’が、第2のケーシング要素52の、流出開口36に対峙する領域において実質的に結合ケーシング30に支持されていることが規定されていてよい。2つの遮蔽要素64,64’の隣接領域78は、実質的に、第2のケーシング要素52の、第1のケーシング要素32の移行領域60に対峙して位置決めされている領域に位置決めされていてよい。
図5は、結合ケーシング30の第2のケーシング要素52に1つ以上の結合要素64,64’を設けることに対して代替的または付加的に、第1のケーシング要素32、特に流入開口34と流出開口36と間の移行領域60にも、この移行領域60を遮蔽する遮蔽要素80が設けられており、1つ以上の結合成形部82の領域において、材料結合部、たとえば溶接により結合成形部に固定されている構成を示している。したがって、この構成では、結合ケーシング30の、排ガスが当たるように流れ得る内側表面全体を、排ガスが直接に当たるように流れることに対して遮蔽することができる。
図6は、図1に図示した流入ケーシング12に対応配置された遮蔽要素66もしくは流入ケーシング12の構成の変化形を示している。この変形形では、遮蔽要素66における結合成形部72に対応して、流入ケーシング12にも結合成形部84が設けられている。好適には、遮蔽要素66の各第1の結合成形部72に対応して、流入ケーシング12の第2の結合成形部84が設けられているので、遮蔽要素66と流入ケーシング12との間の固定的な結合部を、遮蔽要素66に設けられた第1の結合成形部72と流入ケーシング12に設けられた第2の結合成形部84から成る各対の領域において達成することができる。これにより、比較的小さく寸法設計された結合成形部72、84で、遮蔽要素66と、流入ケーシング12の、遮蔽要素66に対峙する壁との間に比較的大きく寸法設計された中間室67を達成することができる。
本発明は、構造的に簡単な措置で、排ガス装置の構成要素の1つ以上の外壁の効果的な遮蔽を達成することができる排ガス装置の構造を規定している。排ガスが直接に当たるように流れることを、特にこれに関して重要な領域において十分に排除することができるので、外部への熱損失が減じられ、したがって排ガスを浄化するための排ガス装置の効率が高められる。さらに、熱が車両の別のシステム領域に伝達されるリスクが減じられ、これにより、このようなシステム領域を排ガス装置の近傍に位置決めすることが可能にされる。
本発明により使用すべき遮蔽要素は、単に離散的な領域においてこの遮蔽要素を支持する構成要素もしくは構成要素の外壁に結合されているので、熱膨張を考慮しながら生じる過剰な負荷は、遮蔽要素の領域、遮蔽要素を支持する構成要素の領域、かつそれぞれ材料結合式の結合部の領域において回避される。排ガスによる化学的負荷にも耐性のある、熱機械的に耐久性のある構成が達成される。特に、互いに隣接し、互いにオーバラップする複数の遮蔽要素を設けることは、このような遮蔽要素を支持する構成要素の幾何学形状が複雑な場合であっても効率的な遮蔽を可能にし、互いに分離し、好適には互いに接触しない複数の遮蔽要素を設けることにより、それぞれの遮蔽要素が、この遮蔽要素を支持する構成要素に結合されている領域の、熱膨張により発生する負荷も減じることができる。
最後に、本発明の意図において、外壁、特に排ガスが直接に当たるように流れることに対して遮蔽要素によって遮蔽された外壁は、排ガスが流れる容積を画定し、したがって排ガスに直接接触することができる壁であることが指摘される。このような外壁は、排ガスが通流する容積に面する外側面において周囲に露出することができるが、たとえば排ガス装置の別の構成要素により覆われており、かつこれらの構成要素に直接接触していてよい。

Claims (15)

  1. 内燃機関用の排ガス装置であって、外壁により排ガス流容積を画定し、かつ前記外壁の、前記排ガス流容積に面した内面において少なくとも1つの遮蔽要素(64,64’,66,80)を支持する少なくとも1つの構成要素を含んでおり、前記外壁と前記遮蔽要素(64,64’,66,80)との間に中間室(65,67)が形成されており、前記少なくとも1つの遮蔽要素(64,64’,66,80)に、前記外壁に向けられ、該外壁に固定的に結合された少なくとも1つの第1の結合成形部(68,72,82)が設けられており、または/かつ前記外壁に、前記少なくとも1つの遮蔽要素(64,64’,66,80)に向けられ、前記少なくとも1つの遮蔽要素(64,64’,66,80)に固定的に結合された少なくとも1つの第2の結合成形部(76,84)が設けられている、排ガス装置。
  2. 前記少なくとも1つの遮蔽要素(64,64’,66,80)が、金属薄板変形加工部材である、または/かつ前記少なくとも1つの遮蔽要素(64,64’,66,80)が、0.6mm~1.0mmの範囲、好適には約0.8mmの厚さを有している、請求項1記載の排ガス装置。
  3. 前記外壁が、少なくとも1つの金属薄板変形加工部材を含んでおり、または/かつ前記中間室(65,67)が、0.5mm~6mmの範囲の寸法を有している、請求項1または2記載の排ガス装置。
  4. 少なくとも1つの、好適には各遮蔽要素(64,64’,66,80)が、前記外壁に対して間隔を空けて位置決めされた外縁部領域(70,74)を含んでいる、請求項1から3までのいずれか1項記載の排ガス装置。
  5. 少なくとも2つの遮蔽要素(64,64’)が、隣接領域(78)において互いに部分的にオーバラップして配置されている、請求項1から4までのいずれか1項記載の排ガス装置。
  6. 前記隣接領域(78)において互いにオーバラップして配置された前記遮蔽要素(64,64’)間に、中間室が形成されている、請求項5記載の排ガス装置。
  7. 前記少なくとも1つの遮蔽要素(64,64’,66,80)が、少なくとも1つの、好適には各結合成形部(68,72,82)において材料結合部、好適には溶接により、前記外壁に結合されている、請求項1から6までのいずれか1項記載の排ガス装置。
  8. 上流側の少なくとも1つの流入領域(14)および下流側の流出領域(28)を備えた第1の排ガス処理ユニット(16)と、上流側の流入領域(38)および下流側の流出領域(48)を備えた少なくとも1つの第2の排ガス処理ユニット(40)と、前記少なくとも1つの第1の排ガス処理ユニット(16)の前記下流側の流出領域(28)および前記少なくとも1つの第2の排ガス処理ユニット(40)の前記上流側の流入領域(38)に結合された結合ケーシング(30)とが設けられており、好適には前記結合ケーシング(30)が、1つの構成要素を提供する、請求項1から7までのいずれか1項記載の排ガス装置。
  9. 前記結合ケーシング(30)が、流入開口(34)および流出開口(36)を備えた第1のケーシング要素(32)を含んでおり、前記流入開口(34)の領域において、前記少なくとも1つの第1の排ガス処理ユニット(16)の前記下流側の流出領域(28)が、前記結合ケーシング(30)に結合されており、前記流出開口(36)の領域において、前記少なくとも1つの第2の排ガス処理ユニット(40)の前記上流側の流入領域(38)が、前記結合ケーシング(30)に結合されており、前記結合ケーシング(30)が、前記第1のケーシング要素(32)と一緒に、排ガスにより通流可能な結合容積(54)を画定する第2のケーシング要素(52)を含んでおり、前記外壁が、前記第1のケーシング要素(32)および/または前記第2のケーシング要素(52)を含んでいる、請求項8記載の排ガス装置。
  10. 前記第2のケーシング要素(52)の、前記結合容積(54)に面した内面に、前記流入開口(34)に対峙する領域において、または/かつ前記流出開口(36)に対峙する領域において、または/かつ前記流入開口(34)と前記流出開口(36)との間に形成された移行領域(60)に対峙する領域において、少なくとも1つの遮蔽要素(64,64’)が設けられている、請求項9記載の排ガス装置。
  11. 前記第2のケーシング要素(52)に、前記第1のケーシング要素(32)の前記移行領域(60)に対峙する領域において互いにオーバラップする少なくとも2つの遮蔽要素(64,64’)が設けられている、請求項5または請求項6および請求項10記載の排ガス装置。
  12. 前記第1のケーシング要素(32)に、前記移行領域(60)の領域において、少なくとも1つの遮蔽要素(80)が設けられている、請求項10または11記載の排ガス装置。
  13. 前記第1の排ガス処理ユニット(16)の前記上流側の流入領域(14)が、流入ケーシング(12)に結合されており、好適には該流入ケーシング(12)が、1つの構成要素を提供する、請求項8から12までのいずれか1項記載の排ガス装置。
  14. 前記第1の排ガス処理ユニット(16)が、酸化触媒(20)または/および粒子フィルタ(22)または/およびSCR触媒を含んでいる、または/かつ前記第2の排ガス処理ユニット(40)が、SCR触媒(46)を含んでいる、請求項8から13のいずれか1項記載の排ガス装置。
  15. 前記結合ケーシング(30)に、前記結合ケーシング(30)を通流する排ガス(A)内に反応物質(R)を放出するための反応物質放出装置(62)が設けられている、請求項14記載の排ガス装置。
JP2022129544A 2021-08-17 2022-08-16 内燃機関用の排ガス装置 Active JP7425840B2 (ja)

Applications Claiming Priority (2)

Application Number Priority Date Filing Date Title
DE102021121289.8 2021-08-17
DE102021121289.8A DE102021121289A1 (de) 2021-08-17 2021-08-17 Abgasanlage für eine Brennkraftmaschine

Publications (2)

Publication Number Publication Date
JP2023027770A true JP2023027770A (ja) 2023-03-02
JP7425840B2 JP7425840B2 (ja) 2024-01-31

Family

ID=82702896

Family Applications (1)

Application Number Title Priority Date Filing Date
JP2022129544A Active JP7425840B2 (ja) 2021-08-17 2022-08-16 内燃機関用の排ガス装置

Country Status (5)

Country Link
US (1) US12025045B2 (ja)
EP (1) EP4137683B1 (ja)
JP (1) JP7425840B2 (ja)
CN (1) CN115875119A (ja)
DE (1) DE102021121289A1 (ja)

Citations (2)

* Cited by examiner, † Cited by third party
Publication number Priority date Publication date Assignee Title
JP2003193835A (ja) * 2001-12-27 2003-07-09 Toyota Motor Corp 排気管構造
JP2007247549A (ja) * 2006-03-16 2007-09-27 Mitsubishi Fuso Truck & Bus Corp 内燃機関の排気浄化装置

Family Cites Families (32)

* Cited by examiner, † Cited by third party
Publication number Priority date Publication date Assignee Title
US4685534A (en) * 1983-08-16 1987-08-11 Burstein A Lincoln Method and apparatus for control of fluids
DE4445557A1 (de) * 1994-12-20 1996-06-27 Emitec Emissionstechnologie Doppelwandiges Gehäuse, insbesondere für Abgas-Katalysatoren von Kraftfahrzeugen
DE59914322D1 (de) * 1998-10-05 2007-06-14 Scambia Ind Dev Ag Abgasleitelement und Verfahren zur Herstellung eines Abgasleitelements
JP2005155404A (ja) * 2003-11-25 2005-06-16 Komatsu Ltd 内燃機関の排気ガス浄化装置
DE102006058402A1 (de) * 2006-12-12 2008-06-19 Bayerische Motoren Werke Ag Vorrichtung zum Zumischen eines Reduktionsmittels in einen Abgasstrom einer Brennkraftmaschine
US8939638B2 (en) * 2008-04-21 2015-01-27 Tenneco Automotive Operating Company Inc. Method for mixing an exhaust gas flow
DE102009027713A1 (de) * 2009-07-15 2011-01-20 Robert Bosch Gmbh Abgasnachbehandlungsvorrichtung
JP6053096B2 (ja) * 2012-01-12 2016-12-27 日野自動車株式会社 排気浄化装置
KR101686365B1 (ko) * 2012-09-28 2016-12-13 포레시아 이미션스 컨트롤 테크놀로지스, 유에스에이, 엘엘씨 임팩터를 구비한 배기 시스템 혼합기
WO2014167352A1 (en) * 2013-04-11 2014-10-16 Perkins Engines Company Limited Heat shield and emissions cleaning module
GB2512934C (en) * 2013-04-12 2020-03-11 Eminox Ltd Reductant injection in an exhaust system
US9238991B2 (en) * 2013-04-29 2016-01-19 GM Global Technology Operations LLC Internal combustion engine and exhaust aftertreatment system
CN203547852U (zh) * 2013-11-07 2014-04-16 哈尔滨艾瑞汽车排气系统有限公司 催化器封装用进气端锥
DE102014214093A1 (de) 2013-11-15 2015-05-21 Robert Bosch Gmbh Einrichtung zum Vermischen eines flüssigen Mediums mit einem Gasstrom
DE102013223296A1 (de) * 2013-11-15 2015-05-21 Robert Bosch Gmbh Einspritzmodul und Abgasstrang mit Einspritzmodul
KR101914396B1 (ko) * 2014-06-05 2018-11-01 포레시아 이미션스 컨트롤 테크놀로지스, 유에스에이, 엘엘씨 혼합기 조립체를 위한 절연 커버
DE102014112651A1 (de) * 2014-09-03 2016-03-03 Friedrich Boysen Gmbh & Co. Kg Abgasanlage einer Brennkraftmaschine
WO2016056420A1 (ja) * 2014-10-06 2016-04-14 ヤンマー株式会社 エンジン装置
US10625319B2 (en) * 2015-01-29 2020-04-21 Faurecia Emissions Control Technologies, Germany Gmbh Method of manufacturing a cylindrical housing of an exhaust gas treatment unit and method of manufacturing an exhaust gas treatment unit for vehicles
WO2017022301A1 (ja) * 2015-07-31 2017-02-09 日産自動車株式会社 金属板とそれを用いた金属製カバー
JP2017155693A (ja) * 2016-03-03 2017-09-07 いすゞ自動車株式会社 内燃機関の排ガス浄化装置
EP3346103B1 (de) * 2017-01-05 2019-05-22 Eberspächer Exhaust Technology GmbH & Co. KG Abgasanlage
DE102017100132A1 (de) * 2017-01-05 2018-07-05 Eberspächer Exhaust Technology GmbH & Co. KG Abgasanlage
EP3372797B1 (en) * 2017-03-06 2019-12-11 Volvo Car Corporation Exhaust gas aftertreatment system
EP3437717A1 (en) * 2017-08-01 2019-02-06 Alfa Laval Corporate AB A scrubber for cleaning of a gas
WO2019138427A1 (en) * 2018-01-12 2019-07-18 Hero MotoCorp Limited Exhaust system of an internal combustion engine
DE102018103368A1 (de) * 2018-02-15 2019-08-22 Man Truck & Bus Ag Vorrichtung zum Mischen von Abgas und einem Additiv
DE202018105198U1 (de) * 2018-09-11 2019-12-16 Reinz-Dichtungs-Gmbh Hitzeschild und Bauelement mit einem derartigen Hitzeschild
WO2020074072A1 (en) * 2018-10-09 2020-04-16 Volvo Truck Corporation An exhaust aftertreatment arrangement for an exhaust system of an internal combustion engine
CN110420560A (zh) * 2019-08-14 2019-11-08 江苏科技大学 一种船用scr系统反应器导流装置
US11421577B2 (en) * 2020-02-25 2022-08-23 Divergent Technologies, Inc. Exhaust headers with integrated heat shielding and thermal syphoning
CN111764987B (zh) * 2020-06-29 2023-10-13 东风商用车有限公司 一种后处理封装scr混合器系统及其处理方法

Patent Citations (2)

* Cited by examiner, † Cited by third party
Publication number Priority date Publication date Assignee Title
JP2003193835A (ja) * 2001-12-27 2003-07-09 Toyota Motor Corp 排気管構造
JP2007247549A (ja) * 2006-03-16 2007-09-27 Mitsubishi Fuso Truck & Bus Corp 内燃機関の排気浄化装置

Also Published As

Publication number Publication date
BR102022016157A2 (pt) 2023-03-07
US12025045B2 (en) 2024-07-02
DE102021121289A1 (de) 2023-02-23
US20230057647A1 (en) 2023-02-23
JP7425840B2 (ja) 2024-01-31
CN115875119A (zh) 2023-03-31
EP4137683A1 (de) 2023-02-22
EP4137683B1 (de) 2024-02-28

Similar Documents

Publication Publication Date Title
JP4554294B2 (ja) 内部熱シールドを有するマフラー
US5220789A (en) Integral unitary manifold-muffler-catalyst device
EP2841731B1 (en) Emissions cleaning module and associated electronics suppport unit
CN114526143B (zh) 用于高效混合器的冠状入口挡板
US7611561B2 (en) Diesel exhaust filter construction
KR101756240B1 (ko) 배기가스 정화장치
US10907522B2 (en) Internal box flow deflector for a vehicle exhaust system mixer assembly
US20090107761A1 (en) Exhaust sound and emission control systems
CN100376768C (zh) 发动机用附带排气净化功能的排气消声器
CN114522537A (zh) 用于高效混合器的偏流器
CN103174498B (zh) 一种用于内燃机的排气系统
CN103174499B (zh) 排气系统
US20120000181A1 (en) Exhaust system having an aftertreatment module
RU2653715C2 (ru) Компонент системы отвода выхлопных газов для двигателя внутреннего сгорания и способ изготовления компонента системы отвода выхлопных газов
JP2952997B2 (ja) 排気ガス浄化装置
JP2023027770A (ja) 内燃機関用の排ガス装置
US7517501B2 (en) Exhaust system for internal combustion engines
CN115217593B (zh) 排气/反应剂混合组件
JP2018168806A (ja) 排気浄化装置
US10724415B1 (en) Exhaust aftertreatment component with heat exchanger
JP2583377Y2 (ja) 偏平型メタル担体
JP2011241707A (ja) 排気ガス浄化装置

Legal Events

Date Code Title Description
A521 Request for written amendment filed

Free format text: JAPANESE INTERMEDIATE CODE: A523

Effective date: 20220816

A621 Written request for application examination

Free format text: JAPANESE INTERMEDIATE CODE: A621

Effective date: 20220816

A977 Report on retrieval

Free format text: JAPANESE INTERMEDIATE CODE: A971007

Effective date: 20230831

A131 Notification of reasons for refusal

Free format text: JAPANESE INTERMEDIATE CODE: A131

Effective date: 20230905

A521 Request for written amendment filed

Free format text: JAPANESE INTERMEDIATE CODE: A523

Effective date: 20231204

TRDD Decision of grant or rejection written
A01 Written decision to grant a patent or to grant a registration (utility model)

Free format text: JAPANESE INTERMEDIATE CODE: A01

Effective date: 20231220

A61 First payment of annual fees (during grant procedure)

Free format text: JAPANESE INTERMEDIATE CODE: A61

Effective date: 20240119

R150 Certificate of patent or registration of utility model

Ref document number: 7425840

Country of ref document: JP

Free format text: JAPANESE INTERMEDIATE CODE: R150