JP2022076216A - ランドセル支持具 - Google Patents
ランドセル支持具 Download PDFInfo
- Publication number
- JP2022076216A JP2022076216A JP2020186530A JP2020186530A JP2022076216A JP 2022076216 A JP2022076216 A JP 2022076216A JP 2020186530 A JP2020186530 A JP 2020186530A JP 2020186530 A JP2020186530 A JP 2020186530A JP 2022076216 A JP2022076216 A JP 2022076216A
- Authority
- JP
- Japan
- Prior art keywords
- school bag
- support
- child
- pedestal
- base
- Prior art date
- Legal status (The legal status is an assumption and is not a legal conclusion. Google has not performed a legal analysis and makes no representation as to the accuracy of the status listed.)
- Pending
Links
Images
Landscapes
- Purses, Travelling Bags, Baskets, Or Suitcases (AREA)
Abstract
【課題】ランドセルを好適に支持して子供の身体にかかる負担を軽減することができるランドセル支持具を提供する。【解決手段】 ランドセル30を背負う子供Cの腰部に装着して使用されるランドセル支持具1であって、腰部に装着可能な腰部ベルト2に取付けられ、該腰部ベルト2が腰部に装着されたときに子供Cの背部に接するように配置される基部3と、基部3から後方に向けて突出してランドセル30の底部31Uを支持可能な台座部4と、を有し、ランドセル30の上部が子供Cの背部側に近づくように該ランドセル30の底部31Uが台座部4により支持される。【選択図】図1
Description
本発明は、ランドセルを背負う子供の腰部に装着して使用されるランドセル支持具に関する。
数年前より、小学生が使用する教科書は重量が増大する傾向にあることで、教科書を収納した重いランドセルを背負って日々登下校を繰返す子供たちに大きな負担がかかっており、ランドセルの荷重により首、背中、腰に痛みを訴える子供たちが増えている。
ここで、腰のベルトから垂設されて腰に接する垂直部と、この垂直部に設けられ略水平方向へ突出してリュックサックの底部を支持する支持棚部と、を有するリュックサック支持具等により、肩にかかるリュックサックの重さが分散されるようにしたもの等がある(例えば、特許文献1、2参照)。
上記特許文献1、2に記載されたリュックサック支持具などを用いてランドセルを支持することが考えられるが、小学生の身体に対しランドセルは大きく、また、リュックサックとは形状なども異なるので、子供の身体にかかる負担を十分に軽減することができない虞があった。
本発明は、このような問題点に着目してなされたもので、ランドセルを好適に支持して子供の身体にかかる負担を軽減することができるランドセル支持具を提供することを目的とする。
前記課題を解決するために、本発明のランドセル支持具は、
ランドセルを背負う子供の腰部に装着して使用されるランドセル支持具であって、
腰部に装着可能な腰部ベルトに取付けられ、該腰部ベルトが腰部に装着されたときに子供の背部に接するように配置される基部と、
前記基部から後方に向けて突出してランドセルの底部を支持可能な台座部と、
を有し、
ランドセルの上部が子供の背部側に近づくように該ランドセルの底部が前記台座部により支持されることを特徴としている。
この特徴によれば、ランドセルが台座部に支持されることにより、ランドセルの荷重が肩部だけでなく腰部に分散されるとともに、ランドセルの上部が子供の背部側に近づくことでランドセルの荷重が子供の背部にも分散されるため、子供の身体にかかる負担が好適に軽減される。
ランドセルを背負う子供の腰部に装着して使用されるランドセル支持具であって、
腰部に装着可能な腰部ベルトに取付けられ、該腰部ベルトが腰部に装着されたときに子供の背部に接するように配置される基部と、
前記基部から後方に向けて突出してランドセルの底部を支持可能な台座部と、
を有し、
ランドセルの上部が子供の背部側に近づくように該ランドセルの底部が前記台座部により支持されることを特徴としている。
この特徴によれば、ランドセルが台座部に支持されることにより、ランドセルの荷重が肩部だけでなく腰部に分散されるとともに、ランドセルの上部が子供の背部側に近づくことでランドセルの荷重が子供の背部にも分散されるため、子供の身体にかかる負担が好適に軽減される。
前記台座部における前記基部からの突出寸法は、ランドセルの底部の前端から後端にかけて支持可能な寸法であることを特徴としている。
この特徴によれば、子供の身体から最も離れた位置にあるランドセルの底部の後端が支持されるため、ランドセルが子供の背部から離れる方向に傾倒することが防止される。
この特徴によれば、子供の身体から最も離れた位置にあるランドセルの底部の後端が支持されるため、ランドセルが子供の背部から離れる方向に傾倒することが防止される。
前記台座部は、ランドセルの少なくとも後面側に立設される支持部を有することを特徴としている。
この特徴によれば、ランドセルの後面が支持部により支持されるため、ランドセルが子供の背部から離れる方向に傾倒することや、台座部の後側への移動が防止される。
この特徴によれば、ランドセルの後面が支持部により支持されるため、ランドセルが子供の背部から離れる方向に傾倒することや、台座部の後側への移動が防止される。
前記台座部は、
ランドセルの底部が載置可能な平坦状の支持面と、
前記支持面に形成され、ランドセルの底部に設けられた突起部を収容可能な凹部と、
を有することを特徴としている。
この特徴によれば、ランドセルの底部に設けられた突起部を収容しつつ、平坦状の支持面によりランドセルの底部を安定して支持することができる。
ランドセルの底部が載置可能な平坦状の支持面と、
前記支持面に形成され、ランドセルの底部に設けられた突起部を収容可能な凹部と、
を有することを特徴としている。
この特徴によれば、ランドセルの底部に設けられた突起部を収容しつつ、平坦状の支持面によりランドセルの底部を安定して支持することができる。
前記基部は、前記腰部ベルトを左右方向に挿通可能な挿通穴を有し、
前記台座部は、前記基部の背面における前記挿通穴に対応する位置に突設されていることを特徴としている。
この特徴によれば、台座部が腰部ベルトの近傍に配置されるので、ランドセルを安定して支持することができる。
前記台座部は、前記基部の背面における前記挿通穴に対応する位置に突設されていることを特徴としている。
この特徴によれば、台座部が腰部ベルトの近傍に配置されるので、ランドセルを安定して支持することができる。
前記基部の前面には弾性部材からなるクッション部が設けられており、前記クッション部における少なくとも下部には隆起部が形成されていることを特徴としている。
この特徴によれば、クッション部が子供の背部に配置されたときに隆起部が腰部付近の凹みに嵌って支えられるため、ランドセルの荷重が腰部にて好適に支持される。
この特徴によれば、クッション部が子供の背部に配置されたときに隆起部が腰部付近の凹みに嵌って支えられるため、ランドセルの荷重が腰部にて好適に支持される。
本発明に係るランドセル支持具を実施するための形態を実施例に基づいて以下に説明する。
本発明の実施例に係るランドセル支持具について、図1~図7を参照して説明する。なお、以下においては、ランドセルを背負う子供の身体の前側、後側、左側、右側をランドセル支持具の正面、背面、左側、右側として説明する。つまり、図2における紙面の下側をランドセル支持具の正面、紙面の上側をランドセル支持具の背面、紙面の左側をランドセル支持具の左側、紙面の右側をランドセル支持具の右側として説明する。
まず、図1(a)(b)に示されるように、ランドセル30は、上面が開口する四角箱状に形成され、教科書や筆記用具などの物品を収納可能な収納部31と、収納部31の正面上部から下部にかけて掛け渡される肩ベルト32L,32Rと、収納部31の上部に上辺が取付けられ、収納部31の上面から背面にかけて被覆可能な冠部33と、を主に有する一般的なランドセルである。収納部31の底部31Uは平面視四角形状をなす板状に形成されており、底部31Uの下面略中央位置には、冠部33の下辺から延設されるベロ部33aの先端に設けられた下り34を施解錠可能な錠前35が設けられ、その左右側には、左右の肩ベルト32L,32Rの下端を回転可能に支持する留め具36L,36Rが設けられており、これら錠前35及び留め具36L,36Rは、底部31Uの下面から下方に突出するように設けられる突起部とされている。
図1(a)~図5に示されるように、ランドセル支持具1は、ランドセル30とは別個に設けられ、使用者である子供Cの腰部に装着することにより使用される。詳しくは、子供Cの腰部に装着可能な腰部ベルト2と、腰部ベルト2に取付けられ、該腰部ベルト2が腰部に装着されたときに子供Cの背部に接するように配置される基部3と、基部3から後方に向けて突出してランドセル30の底部31Uを下方から支持可能な台座部4と、を主に有している。
腰部ベルト2は、軽量かつ丈夫なナイロン材などからなる帯状のベルトからなり、両端部に取付けられたバックル11a、11bを係脱することにより、子供Cの腰部に装着したり外したりできるようになっている(図5参照)。また、バックル11a、11bは、ベルトの長さを調整可能な長さ調整機構(図示略)を有している。尚、腰部ベルト2の上下幅寸法L1は、安定性を考慮して約5cm以上であることが好ましい。また、弾性部材からなるパッドなどが腰部ベルト2に装着されていてもよい。
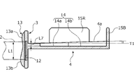
基部3及び台座部4は、軽量かつ高強度を有する合成樹脂材により一体に形成されている。基部3は、上下方向に延びる板状に形成され、内部には、縦断面縦長長方形状をなすスリット状の挿通穴12が左右方向に貫通するように形成されており、腰部ベルト2が左右方向に移動可能に挿通されている。
基部3の前面、つまり、装着時に子供の背部に接する部分には、弾性部材からなるクッション部13が所定の厚みを有するように形成されており、腰部ベルト2により締め付けられたときに子供の背部にフィットするようになっている(図4、図6参照)。また、クッション部13における上部と下部には、上部よりも前方に隆起する隆起部13a、13bが形成されている。尚、上部の隆起部13aよりも下部の隆起部13bの方が若干大きく隆起しているが、クッション部13の形状は任意であり、種々に変形可能である。
台座部4は、平面視略横長長方形状をなす板状に形成され、基部3の背面における上下方向の中央位置よりやや上方、つまり、挿通穴12に対応する位置から、基部3の背面に対し略直交するように後方に突出している。台座部4は、一般的なランドセル30の底部31U(例えば、前後寸法約20cm、左右寸法約26.5cm)よりも大きく形成され、その左右寸法L3は、基部3の左右寸法L2よりも大寸とされている(L3>L2)。
台座部4の上面4aは平坦状に形成されており、この上面4aには、平面視略台形状の前凹部14aと後凹部14bとからなる凹部14が形成されている(図5参照)。凹部14は、上面4aにランドセル30の底部31Uが載置されたときに、錠前35及び留め具36L,36Rなどの突起物や、左右の肩ベルト32L,32Rやベロ部33aを収容可能な深さ寸法L7を有している(図4参照)。
また、台座部4の後辺における基部3との対向位置には、板状の後支持部15Bが突設され、台座部4の左右側辺における対向位置には、板状の左支持部15L、右支持部15Rが突設されている。台座部4にランドセル30が載置されたときに、冠部33の背面に後支持部15Bが接触または近接し、収納部31の左右側面に左支持部15L及び右支持部15Rが接触または近接することで、台座部4上でのランドセル30の前後左右方向への位置ずれや傾倒が防止されるようになっている。
尚、図2に示されるように、後支持部15Bの左右寸法L4は、台座部4の後辺の左右寸法L14よりも短寸とされ(L4<L14)、左支持部15L及び右支持部15Rの左右寸法L5は、台座部4の左右側辺の前後寸法L15よりも短寸とされている(L5<L15)。また、図3に示されるように、後支持部15B、左支持部15L及び右支持部15Rの上下寸法L6は、約3cm~10cm以内であることが好ましい。
また、台座部4の上面4aは、後方に向けて上側に傾斜する傾斜面とされており、載置されたランドセル30の上部が前側に傾倒するようになっている。詳しくは、上面4aは、基部3の背面に対し直交する直交線T1に対し所定角度(例えば、約1~5度)傾いている(図4参照)。尚、台座部4全体が基部3の背面に対し直交する直交線T1に対し所定角度(例えば、約1~5度)傾いて設けられてもよい。また、凹部14の底部や上面4aの複数個所に上下方向に貫通する孔部を複数形成して軽量化を図ってもよい。
このように構成されたランドセル支持具1は、図6~図7(a)に示すように、子供Cがランドセル30を背負う前に(または背負った後でもよい)、子供Cの腰部に腰部ベルト2を掛け回してバックル11a、11bを係止することで装着される。腰部ベルト2が装着された状態において、基部3のクッション部13における上下の隆起部13a、13bが、腰部の凹みにフィットするように接することで、基部3が背部に沿うように上下方向に起立するとともに、台座部4にランドセル30の荷重が加わったときに基部3の上部が後下方に回転してしまうことが防止される。また、基部3が背部に対しやや前傾するように配置されてもよい。
その後、子供Cがランドセル30を背負うと、台座部4の前凹部14aに左右の肩ベルト32L,32Rと錠前35及び留め具36L,36Rなどの突起物とが収容され、後凹部14bにベロ部33aが収容されることで、ランドセル30の底部31Uが上面4aに載置される。そして、肩ベルト32L,32Rの長さを調整する。
ランドセル30の底部31Uが上面4aに載置された状態において、ランドセル30の底部31Uが子供Cの腰部または腰部よりもやや上方に位置するように支持されることで、ランドセル30の荷重が子供Cの肩部だけでなく腰部に分散される。
また、図6及び図7(a)に示されるように、ランドセル30の底部31Uは前端から後端にかけて台座部4により下方から支持されるとともに、上面4aが後方に向けて上側に傾斜していることで、ランドセル30の上部が子供Cの背部に近づくように支持される。具体的には、垂線T2に対しランドセル30の前面に沿う仮想線T3が前側に傾倒するように支持される。特にランドセル30の前面は屈曲変形し難い構造であることから、ランドセル30の底部31Uを支持するだけで、底部31Uに対して直交するランドセル30の前面はランドセル30の上部の角度を補正することができる。
ここで、図7(b)に示されるように、ランドセル支持具1を装着せずにランドセル30を背負う子供Cの場合、ランドセル30の上部が後側に傾倒することがあり、このようになると、子供Cの身体の重心位置G1に対しランドセル30の重心位置G2が後下方に移動して遠ざかるため、ランドセル30の荷重が子供Cの肩部に集中してしまう。特にランドセル30は、その前面が屈曲変形し難い構造であるため、子供Cの背部と当接する前面の下端を支点としてランドセル30の上部が後側に傾倒した際に前面が大きく子供Cの背部から遠ざかることになる。これに対し、図7(a)に示されるように、ランドセル支持具1を装着してランドセル30を背負う子供Cの場合、ランドセル30の上部が子供Cの背部に近づくように支持されることで、子供Cの身体の重心位置G1に対しランドセル30の重心位置G2が前上方に移動して近づくことで、ランドセル30の荷重が腰部だけでなく背部にも分散されるため、子供Cの肩部に荷重が集中することにより子供の身体にかかる負担が好適に軽減される。
また、腰部に装着された状態において、基部3の上部が下部よりやや前方に位置するように前方に傾倒することで、台座部4の後端が前端よりも上方に位置するように傾斜するため、ランドセル30の上部が子供Cの背部に近づきやすくなる。
また、ランドセル支持具1はランドセル30と別個に設けられており、ランドセル30は台座部4の上面4aに載置されるだけであることで、子供Cが走るなどすることでランドセル30が上下に移動することがあるが、台座部4に載置されたランドセル30の背面及び左右側方に後支持部15B、左支持部15L及び右支持部15Rが立設されていることで、台座部4に対しランドセル30が上下に動いてもランドセル30が台座部4の上面4aに案内されるため、台座部4の後側や左右側から落下することを抑制できる。
以上説明したように、本発明の実施例としてのランドセル支持具1は、腰部に装着可能な腰部ベルト2に取付けられ、該腰部ベルト2が腰部に装着されたときに子供Cの背部に接するように配置される基部3と、基部3から後方に向けて突出してランドセル30の底部31Uを支持可能な台座部4と、を有し、ランドセル30の上部が子供Cの背部側に近づくように該ランドセル30の底部31Uが台座部4により支持されることから、ランドセル30が台座部4に支持されることにより、ランドセル30の荷重が肩部だけでなく腰部に分散されるとともに、ランドセル30の上部が子供Cの背部側に近づくことでランドセル30の荷重が子供Cの背部にも分散されるため、子供Cの身体にかかる負担が好適に軽減される。
また、台座部4における基部3からの突出寸法(前後寸法L15)は、ランドセル30の底部31Uの前端から後端にかけて支持可能な寸法であることから、子供Cの身体から最も離れた位置にあるランドセル30の底部31Uの後端が支持される。つまり、底部31Uの前端から後端にかけて支持されるため、ランドセル30が子供Cの背部から離れる方向に傾倒することが防止される。尚、前後寸法L15はランドセル30の前後寸法よりも短寸であってもよく、この場合、少なくとも台座部4の後端がランドセル30の底部31Uにおける前後方向の略中央位置よりも後方に配置されることが好ましい。
また、台座部4は、ランドセル30の少なくとも後面側に立設される後支持部15Bを有することから、ランドセルの30後面が後支持部15Bにより支持されるため、ランドセル30が子供Cの背部から離れる方向に傾倒することや、台座部4の後側への移動が防止される。また、本実施例では、台座部4の縁辺に沿うように後支持部15B,左支持部15L,右支持部15Rが立設されていたが、これら後支持部15B,左支持部15L,右支持部15Rは必ずしも立設されていなくてもよい。
また、台座部4は、ランドセル30の底部31Uが載置可能な平坦状の支持面としての上面4aと、上面4aに形成されランドセル30の底部31Uに設けられた突起部としての錠前35及び留め具36L,36Rを収容可能な凹部14と、を有することから、ランドセル30の底部31Uに設けられた錠前35及び留め具36L,36Rを収容しつつ、平坦状の上面4aによりランドセル30の底部31Uを安定して支持することができる。
また、基部3は、腰部ベルト2を左右方向に挿通可能な挿通穴12を有し、台座部4は、基部3の背面における挿通穴12に対応する位置に突設されていることから、台座部4が腰部ベルト2の近傍に配置されるので、ランドセル30を安定して支持することができる。
尚、本実施例では、台座部4は基部3における挿通穴12に対応する位置に突設されていたが、挿通穴12よりも上方位置または下方位置から後方に突出されていてもよい。
また、基部3の前面には弾性部材からなるクッション部13が設けられており、クッション部13における少なくとも下部には隆起部13a,13bが形成されていることから、クッション部13が子供Cの背部に配置されたときに隆起部13a,13bが腰部付近の凹みに嵌って支えられるため、ランドセル30の荷重が腰部にて好適に支持される。
以上、本発明の実施例を図面により説明してきたが、具体的な構成はこれら実施例に限られるものではなく、本発明の要旨を逸脱しない範囲における変更や追加があっても本発明に含まれる。
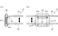
例えば、前記実施例においては、台座部4の縁辺に沿うように後支持部15B,左支持部15L,右支持部15Rが立設されていたが、図8に示される変形例1としてのランドセル支持具1Aに示されるように、平面視略矩形状に形成された台座部4の四隅に断面視略L字状のL字片を台座部4の縁部に沿ってそれぞれ立設させてもよい。台座部4の左前端部にはL字片16LF、左後端部にはL字片16LBが配置され、台座部4の右前端部にはL字片16RF、右後端部にはL字片16RBが配置される。これにより、台座部4に対しランドセル30が上下に動いてもランドセル30が台座部4の上面4aに案内されるため、台座部4からの落下や上面4a上での位置ずれを抑制できる。
また、前記実施例においては、台座部4は左右幅広、つまり、ランドセル30の左右寸法よりも若干幅広に形成されていたが、図9に示される変形例2としてのランドセル支持具1Bに示されるように、基部3の左右寸法L2と略同寸の左右寸法L8から形成される台座部40としてもよい。ランドセル支持具1Bの台座部40は、ランドセル支持具1の台座部4よりもその左右寸法が短寸となることで軽量化され、子供Cへの負担が軽減するようになっている。尚、台座部40の左右寸法L8は、基部3の左右寸法L2よりも幅狭としてもよい。つまり、ランドセル30の左右寸法よりも幅狭としてもよい。
また、前記実施例においては、基部3から後方に向けて突出してランドセル30の底部を支持可能な台座部4は、基部3の背面所定位置に一体的に設けられていたが、これに限られず、図10に示される変形例3としてのランドセル支持具1Cに示されるように、基部50の背面側の上下方向に雌ネジ孔51,51を複数箇所穿設し、台座部42の底面に取り付けられ断面視略L字状に形成されたL字金具41を雄ネジ41a,41aを介して取付けることで、基部50に対して台座部42の上下位置を可変させることができるランドセル支持具1Cとしてもよい。このようにすることで、子供の成長に合わせてランドセル30を支持する上下位置を調整することができる。
また、図11に示される変形例4としてのランドセル支持具1Dに示されるように、基部52の背面側かつ左右両端から水平に延出する取付金具52a,52aと、該取付金具52a,52a間を横架して配設される軸52bとを配置し、台座部43の一端側を軸52bに回動可能に支持させてもよい。尚、ランドセル支持具1Dは、基部52と台座部43とが直交する位置関係へ展開された場合においては、基部52の背面52cから台座部43の側部43Sへと延設される支持部44によって展開状態が保持されるようになっている。台座部43と基部52とが略水平となる収納状態にすると、支持部44は軸44aを中心にくの字形状を経てコンパクトに折り畳まれるようになっている。このように、基部3に対し台座部43を折り畳み可能とすることで、持ち運びや収納が容易になる。
また、前記実施例では、基部3や台座部4は軽量かつ高強度の合成樹脂材から板状に形成されていたが、本発明はこれに限定されるものではなく、例えば、軽量なアルミ材などから形成されていてもよく、素材は種々に変更可能である。また、基部3や台座部4は板状でなくてもよく、例えば、台座部4は、基部3の背面から後方に突出する複数本の筒状部材などから構成されていてもよい。
1 ランドセル支持具
2 腰部ベルト
3 基部
4 台座部
4a 上面
13 クッション部
13a,13b 隆起部
14 凹部
15B 後支持部
15L 左支持部
15R 右支持部
30 ランドセル
31U 底部
C 子供
2 腰部ベルト
3 基部
4 台座部
4a 上面
13 クッション部
13a,13b 隆起部
14 凹部
15B 後支持部
15L 左支持部
15R 右支持部
30 ランドセル
31U 底部
C 子供
Claims (6)
- ランドセルを背負う子供の腰部に装着して使用されるランドセル支持具であって、
腰部に装着可能な腰部ベルトに取付けられ、該腰部ベルトが腰部に装着されたときに子供の背部に接するように配置される基部と、
前記基部から後方に向けて突出してランドセルの底部を支持可能な台座部と、
を有し、
ランドセルの上部が子供の背部側に近づくように該ランドセルの底部が前記台座部により支持されることを特徴とするランドセル支持具。 - 前記台座部における前記基部からの突出寸法は、ランドセルの底部の前端から後端にかけて支持可能な寸法であることを特徴とする請求項1に記載のランドセル支持具。
- 前記台座部は、ランドセルの少なくとも後面側に立設される支持部を有することを特徴とする請求項2に記載のランドセル支持具。
- 前記台座部は、
ランドセルの底部が載置可能な平坦状の支持面と、
前記支持面に形成され、ランドセルの底部に設けられた突起部を収容可能な凹部と、
を有することを特徴とする請求項1~3のいずれかに記載のランドセル支持具。 - 前記基部は、前記腰部ベルトを左右方向に挿通可能な挿通穴を有し、
前記台座部は、前記基部の背面における前記挿通穴に対応する位置に突設されていることを特徴とする請求項1~4のいずれかに記載のランドセル支持具。 - 前記基部の前面には弾性部材からなるクッション部が設けられており、前記クッション部における少なくとも下部には隆起部が形成されていることを特徴とする請求項1~5のいずれかに記載のランドセル支持具。
Priority Applications (1)
| Application Number | Priority Date | Filing Date | Title |
|---|---|---|---|
| JP2020186530A JP2022076216A (ja) | 2020-11-09 | 2020-11-09 | ランドセル支持具 |
Applications Claiming Priority (1)
| Application Number | Priority Date | Filing Date | Title |
|---|---|---|---|
| JP2020186530A JP2022076216A (ja) | 2020-11-09 | 2020-11-09 | ランドセル支持具 |
Publications (1)
| Publication Number | Publication Date |
|---|---|
| JP2022076216A true JP2022076216A (ja) | 2022-05-19 |
Family
ID=81606547
Family Applications (1)
| Application Number | Title | Priority Date | Filing Date |
|---|---|---|---|
| JP2020186530A Pending JP2022076216A (ja) | 2020-11-09 | 2020-11-09 | ランドセル支持具 |
Country Status (1)
| Country | Link |
|---|---|
| JP (1) | JP2022076216A (ja) |
Citations (6)
| Publication number | Priority date | Publication date | Assignee | Title |
|---|---|---|---|---|
| JPS5333508U (ja) * | 1976-08-26 | 1978-03-24 | ||
| JPH1175468A (ja) * | 1997-09-08 | 1999-03-23 | Koichi Yushimo | 草刈り機の背負具 |
| JP2002058516A (ja) * | 2000-08-22 | 2002-02-26 | Ikeda Chikyu:Kk | ランドセル |
| JP2016513996A (ja) * | 2013-03-08 | 2016-05-19 | ウルフェ, デイビッドWolffe, David | バックパック |
| JP6040432B1 (ja) * | 2015-10-28 | 2016-12-07 | 悦子 木田 | 背負い具の補助具 |
| JP2020018822A (ja) * | 2018-07-20 | 2020-02-06 | フミオ工業株式会社 | 背負いかばん |
-
2020
- 2020-11-09 JP JP2020186530A patent/JP2022076216A/ja active Pending
Patent Citations (6)
| Publication number | Priority date | Publication date | Assignee | Title |
|---|---|---|---|---|
| JPS5333508U (ja) * | 1976-08-26 | 1978-03-24 | ||
| JPH1175468A (ja) * | 1997-09-08 | 1999-03-23 | Koichi Yushimo | 草刈り機の背負具 |
| JP2002058516A (ja) * | 2000-08-22 | 2002-02-26 | Ikeda Chikyu:Kk | ランドセル |
| JP2016513996A (ja) * | 2013-03-08 | 2016-05-19 | ウルフェ, デイビッドWolffe, David | バックパック |
| JP6040432B1 (ja) * | 2015-10-28 | 2016-12-07 | 悦子 木田 | 背負い具の補助具 |
| JP2020018822A (ja) * | 2018-07-20 | 2020-02-06 | フミオ工業株式会社 | 背負いかばん |
Similar Documents
| Publication | Publication Date | Title |
|---|---|---|
| US6811217B2 (en) | Rocker device | |
| US6997507B2 (en) | Rucksack having folding chair | |
| CN214677941U (zh) | 旅行行李箱和增高座椅的组合件 | |
| US6008983A (en) | Adjusting device for a screen of a computer | |
| JP6514816B1 (ja) | 背負いかばん | |
| JP2022076216A (ja) | ランドセル支持具 | |
| US20040050893A1 (en) | Backpack | |
| US8678253B2 (en) | Ergonomic backpack | |
| US11160379B2 (en) | Booster seat and method for producing a booster seat | |
| JP4900862B1 (ja) | 腰掛け | |
| KR101128300B1 (ko) | 하중분산이 가능한 학생용 가방 | |
| KR101196808B1 (ko) | 인체공학적 배낭 | |
| JP3248070U (ja) | リュックサック | |
| US20200245746A1 (en) | Backpack | |
| US11089882B2 (en) | Seating aid | |
| JP3229713U (ja) | 座部を備えた鞄 | |
| JP4160366B2 (ja) | ハンガー付き椅子 | |
| JP7706215B1 (ja) | 物品供給装置、及び物品供給装置セット | |
| JP7448173B1 (ja) | ラップトップコンピュータ用スタンドおよび鞄 | |
| JPH09135752A (ja) | 乳幼児保持具 | |
| JP2023182919A (ja) | ベルト取付け具および背負いカバン | |
| KR950000471Y1 (ko) | 어깨걸이 가방의 등받침 구조 | |
| JP2018130630A (ja) | 椅子 | |
| JP7017798B2 (ja) | ベルト角度制限装置、背負ベルト、背鐶、及びランドセル | |
| JP2000270956A (ja) | 前面にクッション体を付加しうる椅子の背もたれ |
Legal Events
| Date | Code | Title | Description |
|---|---|---|---|
| A621 | Written request for application examination |
Free format text: JAPANESE INTERMEDIATE CODE: A621 Effective date: 20210204 |
|
| A131 | Notification of reasons for refusal |
Free format text: JAPANESE INTERMEDIATE CODE: A131 Effective date: 20220228 |
|
| A02 | Decision of refusal |
Free format text: JAPANESE INTERMEDIATE CODE: A02 Effective date: 20220830 |