JP2022018400A - 水門開閉器用駆動装置 - Google Patents
水門開閉器用駆動装置 Download PDFInfo
- Publication number
- JP2022018400A JP2022018400A JP2020121484A JP2020121484A JP2022018400A JP 2022018400 A JP2022018400 A JP 2022018400A JP 2020121484 A JP2020121484 A JP 2020121484A JP 2020121484 A JP2020121484 A JP 2020121484A JP 2022018400 A JP2022018400 A JP 2022018400A
- Authority
- JP
- Japan
- Prior art keywords
- shaft
- attached
- rotation
- drive device
- input shaft
- Prior art date
- Legal status (The legal status is an assumption and is not a legal conclusion. Google has not performed a legal analysis and makes no representation as to the accuracy of the status listed.)
- Granted
Links
Images
Landscapes
- Barrages (AREA)
Abstract
【解決手段】手動ハンドル28が取付け可能な操作軸11を備え、操作軸11の正逆回転により水門を開閉する水門開閉器12に取付けられる水門開閉器用駆動装置10であって、(a)電動モータ17と、一側が電動モータ17に連結されたモータ用入力軸18及び一側又は他側が操作軸11に連結される直付け用出力軸19を有し電動モータ17の回転を操作軸11に伝達する回転伝達機構20とを備えた駆動部13と、(b)遠隔から駆動部13を操作するための制御信号を送信する遠隔コントローラ14と、(c)遠隔コントローラ14から送信される制御信号を受信して駆動部13の動作を制御する制御部15とを有する。
【選択図】図1
Description
しかしながら、人力で水門を開閉するには、十分な力と時間を必要とし、極めて作業性が悪いという問題があった。
そこで、本出願人は、特許文献1に示すように、電動工具を動力源として、既存の水門開閉器に付設される補助駆動装置を出願し、特許された。この特許文献1の水門開閉器の補助駆動装置においては、動力源となる電動工具が、ギアボックスに対して取付け取外しできるため、電動工具を収納する部屋を設ける必要がなく、装置全体の小型化が図られ、一台の電動工具で、複数の水門開閉器を順次、駆動することも可能であった。また、電動工具に取付けた水平ロッドが、ギアボックスの蓋材に形成された貫通孔に嵌入されることによって、電動工具の駆動時に発生する反回転力が作業者に伝わることが防止され、作業性の改善が図られた。
(a)電動モータと、一側が前記電動モータに連結されたモータ用入力軸及び一側又は他側が前記操作軸に連結される直付け用出力軸を有し前記電動モータの回転(正転又は逆転)を前記操作軸に伝達する回転伝達機構とを備えた駆動部と、(b)遠隔から前記駆動部を操作するための制御信号を送信する遠隔コントローラと、(c)該遠隔コントローラから送信される前記制御信号を受信して前記駆動部の動作を制御する制御部とを有する。
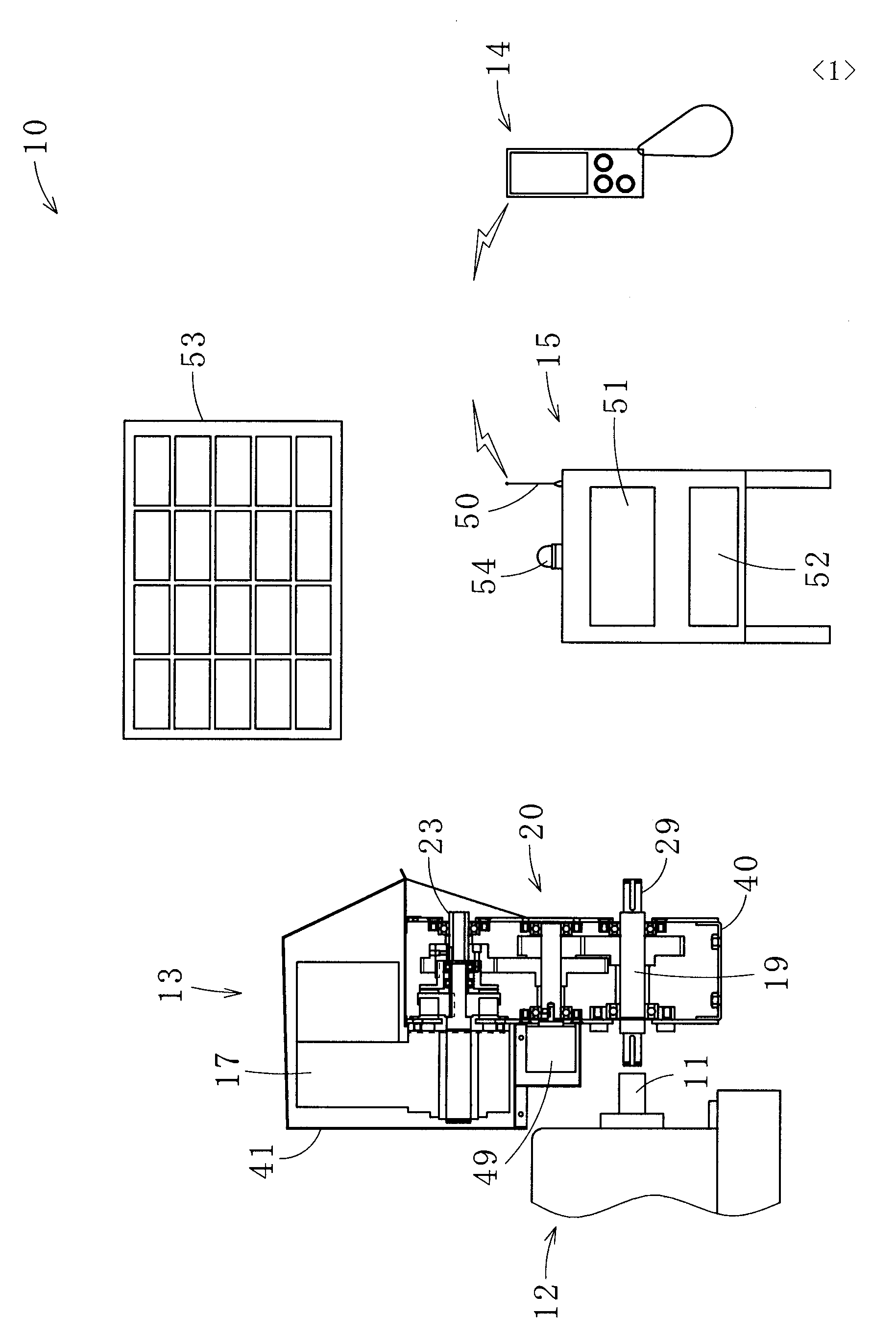
図1に示す本発明の一実施の形態に係る水門開閉器用駆動装置10は、手動ハンドルが取付け可能な操作軸11を備え、操作軸11の正逆回転により水門(図示せず)を開閉する水門開閉器12に取付けられて、水門の開閉の電動化及び遠隔操作を実現するものである。
水門開閉器用駆動装置10は、水門開閉器12に取付けられる駆動部13と、遠隔から駆動部13を操作するための制御信号を送信する遠隔コントローラ14と、水門開閉器12(又は駆動部13)の近傍に設置され、遠隔コントローラ14から送信される制御信号を受信して駆動部13の動作を制御する制御部15とを有している。そして、駆動部13は、図1~図3に示すように、電動モータ17と、一側(図1、図2では左側)が電動モータ17に連結されたモータ用入力軸18及び一側が操作軸11に連結される直付け用出力軸19を有し電動モータ17の回転を操作軸11に伝達する回転伝達機構20を備えている。
本実施の形態では、図4に示すように、略円柱状に形成した回り止め具47を電動工具35の左側部に取付け、それに対応して、図3に示すように、ケーシング40(外部入力軸23の左側)に回り止め具47が挿通される丸孔状の工具固定手段48を設けたが、回り止め具の断面形状、大きさ及び配置は、適宜、選択することができ、それに対応して、工具固定手段の形状、大きさ及び配置も、適宜、選択することができる。
第1のギア24、仲介ギア機構部25(第3のギア32と第4のギア33)及び第2のギア26は減速機構として機能し、電動モータ17又は電動工具35による駆動時に、外部入力軸23の回転が直付け用出力軸19に伝達される間に回転速度を下げ、トルクを増幅することができる。なお、仲介ギア機構部(減速機構)の構成は、これに限定されるものではなく、ギアの数、配置及び減速比等は、適宜、選択することができる。また、仲介ギア機構部を省略し、第1のギアに直接、第2のギアを連結(噛合)させることもできる。
なお、上記実施の形態では、図1に示したように、駆動部13の直付け用出力軸19を水門開閉器12の操作軸11に連結する場合について説明したが、必要に応じて、図6に示す変形例の駆動部55のように、回転伝達機構20が収容されるケーシング40の下方に脚部56を連結し、嵩上げを行うことができる。
なお、駆動部13では、直付け用出力軸19に第1のスプロケットは取付けられていないが、脚部56による嵩上げの要否に関わらず、直付け用出力軸19に第1のスプロケットを取付けておけば、ケーシング40内の回転伝達機構の構造を共通化することができる。
例えば、上記実施の形態において、嵩上げ用出力軸の他側に手動ハンドルが取付け可能な構成とすることもできる。
また、上記実施の形態では、直付け用出力軸の一側を操作軸に連結し、直付け用出力軸の他側に手動ハンドルが取付け可能なハンドル取付け部を設けたが、直付け用出力軸の他側を操作軸に連結し、直付け用出力軸の一側に手動ハンドルが取付け可能なハンドル取付け部を設けることもできる。なお、ハンドル取付け部に取付ける手動ハンドルは、既存の水門開閉器で使用されていた手動ハンドルをそのまま使用してもよいし、別の手動ハンドルを使用してもよい。
電動工具としては、主に電動ドライバー又は電動ドリルが用いられるが、その他の手持ち式の電動工具を適宜、用いることができる。なお、電動工具は、電池又は充電式のバッテリーで駆動できるものが好ましいが、制御部のバッテリーで駆動できるようにしてもよい。
また、遠隔コントローラには、ID及び/又はパスワードによる認証機能を搭載し、誤操作や悪戯を防止することができる。
エンコーダとしてはロータリエンコーダが好適に用いられるが、最終的に制御部で水門の開閉量(昇降量)を把握することができればよく、仲介回転軸の回転量を検出する代わりに、モータ用入力軸又は直付け用出力軸の回転量を検出してもよい。
Claims (9)
- 手動ハンドルが取付け可能な操作軸を備え、該操作軸の正逆回転により水門を開閉する水門開閉器に取付けられる水門開閉器用駆動装置であって、
(a)電動モータと、一側が前記電動モータに連結されたモータ用入力軸及び一側又は他側が前記操作軸に連結される直付け用出力軸を有し前記電動モータの回転を前記操作軸に伝達する回転伝達機構とを備えた駆動部と、(b)遠隔から前記駆動部を操作するための制御信号を送信する遠隔コントローラと、(c)該遠隔コントローラから送信される前記制御信号を受信して前記駆動部の動作を制御する制御部とを有することを特徴とする水門開閉器用駆動装置。 - 請求項1記載の水門開閉器用駆動装置において、前記回転伝達機構は、前記モータ用入力軸の他側に取付けられたクラッチと、該クラッチを介して前記モータ用入力軸の他側に連結される外部入力軸と、該外部入力軸に取付けられた第1のギアと、前記直付け用出力軸に取付けられ前記第1のギアに直接又は仲介ギア機構部を介して連結された第2のギアと、前記直付け用出力軸の他側又は一側に設けられ前記手動ハンドル若しくは別の手動ハンドルが取付け可能なハンドル取付け部とを備え、前記電動モータによる駆動時にのみ、前記モータ用入力軸の回転を前記クラッチにより前記外部入力軸に伝達し、前記直付け用出力軸を連動させて前記操作軸を回転させ、前記手動ハンドル若しくは前記別の手動ハンドルによる駆動時には、前記操作軸を回転させる前記直付け用出力軸の回転に連動して回転する前記外部入力軸の回転を前記モータ用入力軸に伝達させないことを特徴とする水門開閉器用駆動装置。
- 請求項2記載の水門開閉器用駆動装置において、前記回転伝達機構は、前記外部入力軸の他側に、電動工具のチャックに取付けられる連結具が着脱可能に装着される工具連結部を有し、前記電動工具による駆動時に、前記外部入力軸の回転を前記モータ用入力軸に伝達することなく前記直付け用出力軸に伝達して前記操作軸を回転させることを特徴とする水門開閉器用駆動装置。
- 請求項3記載の水門開閉器用駆動装置において、前記駆動部は、前記電動工具の使用時に、該電動工具に取付けられた回り止め具を保持する工具固定手段を備えたことを特徴とする水門開閉器用駆動装置。
- 請求項2~4のいずれか1記載の水門開閉器用駆動装置において、前記仲介ギア機構部は、仲介回転軸と、該仲介回転軸に取付けられ前記第1のギアに噛合する第3のギアと、前記仲介回転軸に取付けられ前記第2のギアに噛合する第4のギアとを備えたことを特徴とする水門開閉器用駆動装置。
- 請求項5記載の水門開閉器用駆動装置において、前記駆動部は、前記仲介回転軸に取付けられたエンコーダを有することを特徴とする水門開閉器用駆動装置。
- 請求項1~6のいずれか1記載の水門開閉器用駆動装置において、前記駆動部は、前記直付け用出力軸に取付けられた第1のスプロケットと、前記回転伝達機構が収容されるケーシングと、該ケーシングの下方に連結される脚部と、該脚部の高さ方向の途中に回転可能に保持され前記直付け用出力軸の代わりに一側又は他側が前記操作軸に連結される嵩上げ用出力軸と、該嵩上げ用出力軸に取付けられた第2のスプロケットと、前記第1のスプロケットと前記第2のスプロケットに巻回されて前記直付け用出力軸の回転を前記嵩上げ用出力軸に伝達するチェーンとを備えたことを特徴とする水門開閉器用駆動装置。
- 請求項1~7のいずれか1記載の水門開閉器用駆動装置において、前記制御部にバッテリーが内蔵されていることを特徴とする水門開閉器用駆動装置。
- 請求項8記載の水門開閉器用駆動装置において、前記バッテリーに太陽光パネルが接続されていることを特徴とする水門開閉器用駆動装置。
Priority Applications (1)
| Application Number | Priority Date | Filing Date | Title |
|---|---|---|---|
| JP2020121484A JP7362126B2 (ja) | 2020-07-15 | 2020-07-15 | 水門開閉器用駆動装置 |
Applications Claiming Priority (1)
| Application Number | Priority Date | Filing Date | Title |
|---|---|---|---|
| JP2020121484A JP7362126B2 (ja) | 2020-07-15 | 2020-07-15 | 水門開閉器用駆動装置 |
Publications (2)
| Publication Number | Publication Date |
|---|---|
| JP2022018400A true JP2022018400A (ja) | 2022-01-27 |
| JP7362126B2 JP7362126B2 (ja) | 2023-10-17 |
Family
ID=80203299
Family Applications (1)
| Application Number | Title | Priority Date | Filing Date |
|---|---|---|---|
| JP2020121484A Active JP7362126B2 (ja) | 2020-07-15 | 2020-07-15 | 水門開閉器用駆動装置 |
Country Status (1)
| Country | Link |
|---|---|
| JP (1) | JP7362126B2 (ja) |
Cited By (3)
| Publication number | Priority date | Publication date | Assignee | Title |
|---|---|---|---|---|
| JP7257085B1 (ja) | 2022-12-29 | 2023-04-13 | 菅原産業株式会社 | ゲート開閉用動力伝達装置 |
| JP7493848B1 (ja) | 2023-05-10 | 2024-06-03 | 株式会社乗富鉄工所 | 水門開閉装置の設置方法 |
| KR102862638B1 (ko) * | 2025-01-20 | 2025-09-23 | 코리아이엔티 주식회사 | 유압모터와 임팩터의 회전력 전달장치 및 이를 이용한 수문시스템 |
Citations (8)
| Publication number | Priority date | Publication date | Assignee | Title |
|---|---|---|---|---|
| JPS60148333U (ja) * | 1984-03-14 | 1985-10-02 | 株式会社 丸島水門製作所 | 水門扉揚降装置 |
| JPH10266172A (ja) * | 1997-03-28 | 1998-10-06 | Hitachi Ltd | 水門開閉機の電動駆動装置 |
| JP2000205429A (ja) * | 1999-01-11 | 2000-07-25 | Mizota Corp | パワ―アシスト付き水門開閉機 |
| JP2006265913A (ja) * | 2005-03-23 | 2006-10-05 | Seibu Electric & Mach Co Ltd | バルブ・ゲート用駆動装置 |
| KR20110117452A (ko) * | 2010-04-21 | 2011-10-27 | (주)달성산업개발 | 수문의 권양 장치 |
| JP2011219915A (ja) * | 2010-04-02 | 2011-11-04 | Kyowa Seisakusho:Kk | 水門開閉機操作装置 |
| WO2012090984A1 (ja) * | 2010-12-27 | 2012-07-05 | Hashidume Shigeru | 水門扉の昇降開閉装置 |
| JP2016160650A (ja) * | 2015-03-02 | 2016-09-05 | 一身 谷 | 水門開閉器の補助駆動装置 |
-
2020
- 2020-07-15 JP JP2020121484A patent/JP7362126B2/ja active Active
Patent Citations (8)
| Publication number | Priority date | Publication date | Assignee | Title |
|---|---|---|---|---|
| JPS60148333U (ja) * | 1984-03-14 | 1985-10-02 | 株式会社 丸島水門製作所 | 水門扉揚降装置 |
| JPH10266172A (ja) * | 1997-03-28 | 1998-10-06 | Hitachi Ltd | 水門開閉機の電動駆動装置 |
| JP2000205429A (ja) * | 1999-01-11 | 2000-07-25 | Mizota Corp | パワ―アシスト付き水門開閉機 |
| JP2006265913A (ja) * | 2005-03-23 | 2006-10-05 | Seibu Electric & Mach Co Ltd | バルブ・ゲート用駆動装置 |
| JP2011219915A (ja) * | 2010-04-02 | 2011-11-04 | Kyowa Seisakusho:Kk | 水門開閉機操作装置 |
| KR20110117452A (ko) * | 2010-04-21 | 2011-10-27 | (주)달성산업개발 | 수문의 권양 장치 |
| WO2012090984A1 (ja) * | 2010-12-27 | 2012-07-05 | Hashidume Shigeru | 水門扉の昇降開閉装置 |
| JP2016160650A (ja) * | 2015-03-02 | 2016-09-05 | 一身 谷 | 水門開閉器の補助駆動装置 |
Cited By (5)
| Publication number | Priority date | Publication date | Assignee | Title |
|---|---|---|---|---|
| JP7257085B1 (ja) | 2022-12-29 | 2023-04-13 | 菅原産業株式会社 | ゲート開閉用動力伝達装置 |
| JP2024095870A (ja) * | 2022-12-29 | 2024-07-11 | 菅原産業株式会社 | ゲート開閉用動力伝達装置 |
| JP7493848B1 (ja) | 2023-05-10 | 2024-06-03 | 株式会社乗富鉄工所 | 水門開閉装置の設置方法 |
| JP2024162392A (ja) * | 2023-05-10 | 2024-11-21 | 株式会社乗富鉄工所 | 水門開閉装置の設置方法 |
| KR102862638B1 (ko) * | 2025-01-20 | 2025-09-23 | 코리아이엔티 주식회사 | 유압모터와 임팩터의 회전력 전달장치 및 이를 이용한 수문시스템 |
Also Published As
| Publication number | Publication date |
|---|---|
| JP7362126B2 (ja) | 2023-10-17 |
Similar Documents
| Publication | Publication Date | Title |
|---|---|---|
| JP2022018400A (ja) | 水門開閉器用駆動装置 | |
| WO2012090984A1 (ja) | 水門扉の昇降開閉装置 | |
| KR101436379B1 (ko) | 오거머신의 스크류헤드 마운트 장치로 활용되는 원격 조종식 조인트클램프 | |
| JP2787402B2 (ja) | 弁用アクチュエータの手動・電動切換装置 | |
| CN219840685U (zh) | 一种煤矿井下风门 | |
| CN210527501U (zh) | 一种齿轮减速装置及垃圾桶 | |
| JP3164824U (ja) | 弁類の電動駆動装置 | |
| JPH11229358A (ja) | 水門開閉機の駆動装置 | |
| KR100958835B1 (ko) | 보링 기계의 피딩 장치 | |
| CN219164092U (zh) | 一种电动线缆剥线装置 | |
| JP7759772B2 (ja) | 電動シャッター | |
| CN107420488A (zh) | 一种电动缸用双向手动输入结构 | |
| CN101540235B (zh) | 电动接地开关 | |
| JP2005027596A (ja) | ハウス用の開閉装置 | |
| JP2021025221A (ja) | 遠隔操作式排水栓装置 | |
| KR102735996B1 (ko) | 권양기 | |
| JP2007217881A (ja) | シャッタ装置 | |
| JP6948439B1 (ja) | 電動補助機能を備えるラチェットレンチ | |
| JP3218452U (ja) | 灌漑用水栓後付電動化装置 | |
| JPH0519655Y2 (ja) | ||
| JP7515355B2 (ja) | 建具 | |
| JP3205723U (ja) | 建設機械用アタッチメントおよび建設機械用アタッチメントシステム | |
| CN220642135U (zh) | 一种转动电缆盘的装置 | |
| KR101162737B1 (ko) | 수동개폐 노브를 구비한 전동 엑츄에이터 | |
| CN216743070U (zh) | 一种单侧可分离式电控与手动多回转阀门驱动装置 |
Legal Events
| Date | Code | Title | Description |
|---|---|---|---|
| A621 | Written request for application examination |
Free format text: JAPANESE INTERMEDIATE CODE: A621 Effective date: 20221031 |
|
| A977 | Report on retrieval |
Free format text: JAPANESE INTERMEDIATE CODE: A971007 Effective date: 20230614 |
|
| RD02 | Notification of acceptance of power of attorney |
Free format text: JAPANESE INTERMEDIATE CODE: A7422 Effective date: 20230703 |
|
| A131 | Notification of reasons for refusal |
Free format text: JAPANESE INTERMEDIATE CODE: A131 Effective date: 20230808 |
|
| A521 | Request for written amendment filed |
Free format text: JAPANESE INTERMEDIATE CODE: A523 Effective date: 20230825 |
|
| TRDD | Decision of grant or rejection written | ||
| A01 | Written decision to grant a patent or to grant a registration (utility model) |
Free format text: JAPANESE INTERMEDIATE CODE: A01 Effective date: 20230919 |
|
| A61 | First payment of annual fees (during grant procedure) |
Free format text: JAPANESE INTERMEDIATE CODE: A61 Effective date: 20230927 |
|
| R150 | Certificate of patent or registration of utility model |
Ref document number: 7362126 Country of ref document: JP Free format text: JAPANESE INTERMEDIATE CODE: R150 |
|
| R250 | Receipt of annual fees |
Free format text: JAPANESE INTERMEDIATE CODE: R250 |
