JP2022013884A - 容易にアクセス可能なパッチパネル - Google Patents
容易にアクセス可能なパッチパネル Download PDFInfo
- Publication number
- JP2022013884A JP2022013884A JP2021108911A JP2021108911A JP2022013884A JP 2022013884 A JP2022013884 A JP 2022013884A JP 2021108911 A JP2021108911 A JP 2021108911A JP 2021108911 A JP2021108911 A JP 2021108911A JP 2022013884 A JP2022013884 A JP 2022013884A
- Authority
- JP
- Japan
- Prior art keywords
- port
- tray
- patch panel
- cable
- assembly
- Prior art date
- Legal status (The legal status is an assumption and is not a legal conclusion. Google has not performed a legal analysis and makes no representation as to the accuracy of the status listed.)
- Pending
Links
Images
Classifications
-
- H—ELECTRICITY
- H01—ELECTRIC ELEMENTS
- H01R—ELECTRICALLY-CONDUCTIVE CONNECTIONS; STRUCTURAL ASSOCIATIONS OF A PLURALITY OF MUTUALLY-INSULATED ELECTRICAL CONNECTING ELEMENTS; COUPLING DEVICES; CURRENT COLLECTORS
- H01R13/00—Details of coupling devices of the kinds covered by groups H01R12/70 or H01R24/00 - H01R33/00
- H01R13/40—Securing contact members in or to a base or case; Insulating of contact members
-
- G—PHYSICS
- G02—OPTICS
- G02B—OPTICAL ELEMENTS, SYSTEMS OR APPARATUS
- G02B6/00—Light guides; Structural details of arrangements comprising light guides and other optical elements, e.g. couplings
- G02B6/44—Mechanical structures for providing tensile strength and external protection for fibres, e.g. optical transmission cables
- G02B6/4439—Auxiliary devices
- G02B6/444—Systems or boxes with surplus lengths
- G02B6/44528—Patch-cords; Connector arrangements in the system or in the box
-
- G—PHYSICS
- G02—OPTICS
- G02B—OPTICAL ELEMENTS, SYSTEMS OR APPARATUS
- G02B6/00—Light guides; Structural details of arrangements comprising light guides and other optical elements, e.g. couplings
- G02B6/44—Mechanical structures for providing tensile strength and external protection for fibres, e.g. optical transmission cables
- G02B6/4439—Auxiliary devices
- G02B6/444—Systems or boxes with surplus lengths
- G02B6/4452—Distribution frames
- G02B6/44526—Panels or rackmounts covering a whole width of the frame or rack
-
- H—ELECTRICITY
- H01—ELECTRIC ELEMENTS
- H01R—ELECTRICALLY-CONDUCTIVE CONNECTIONS; STRUCTURAL ASSOCIATIONS OF A PLURALITY OF MUTUALLY-INSULATED ELECTRICAL CONNECTING ELEMENTS; COUPLING DEVICES; CURRENT COLLECTORS
- H01R13/00—Details of coupling devices of the kinds covered by groups H01R12/70 or H01R24/00 - H01R33/00
- H01R13/02—Contact members
-
- H—ELECTRICITY
- H01—ELECTRIC ELEMENTS
- H01R—ELECTRICALLY-CONDUCTIVE CONNECTIONS; STRUCTURAL ASSOCIATIONS OF A PLURALITY OF MUTUALLY-INSULATED ELECTRICAL CONNECTING ELEMENTS; COUPLING DEVICES; CURRENT COLLECTORS
- H01R24/00—Two-part coupling devices, or either of their cooperating parts, characterised by their overall structure
- H01R24/60—Contacts spaced along planar side wall transverse to longitudinal axis of engagement
- H01R24/62—Sliding engagements with one side only, e.g. modular jack coupling devices
- H01R24/64—Sliding engagements with one side only, e.g. modular jack coupling devices for high frequency, e.g. RJ 45
-
- H—ELECTRICITY
- H01—ELECTRIC ELEMENTS
- H01R—ELECTRICALLY-CONDUCTIVE CONNECTIONS; STRUCTURAL ASSOCIATIONS OF A PLURALITY OF MUTUALLY-INSULATED ELECTRICAL CONNECTING ELEMENTS; COUPLING DEVICES; CURRENT COLLECTORS
- H01R35/00—Flexible or turnable line connectors, i.e. the rotation angle being limited
-
- H—ELECTRICITY
- H01—ELECTRIC ELEMENTS
- H01R—ELECTRICALLY-CONDUCTIVE CONNECTIONS; STRUCTURAL ASSOCIATIONS OF A PLURALITY OF MUTUALLY-INSULATED ELECTRICAL CONNECTING ELEMENTS; COUPLING DEVICES; CURRENT COLLECTORS
- H01R9/00—Structural associations of a plurality of mutually-insulated electrical connecting elements, e.g. terminal strips or terminal blocks; Terminals or binding posts mounted upon a base or in a case; Bases therefor
- H01R9/22—Bases, e.g. strip, block, panel
- H01R9/24—Terminal blocks
-
- H—ELECTRICITY
- H04—ELECTRIC COMMUNICATION TECHNIQUE
- H04Q—SELECTING
- H04Q1/00—Details of selecting apparatus or arrangements
- H04Q1/02—Constructional details
- H04Q1/04—Frames or mounting racks for selector switches; Accessories therefor, e.g. frame cover
-
- H—ELECTRICITY
- H04—ELECTRIC COMMUNICATION TECHNIQUE
- H04Q—SELECTING
- H04Q1/00—Details of selecting apparatus or arrangements
- H04Q1/02—Constructional details
- H04Q1/13—Patch panels for monitoring, interconnecting or testing circuits, e.g. patch bay, patch field or jack field; Patching modules
- H04Q1/133—Patch panels for monitoring, interconnecting or testing circuits, e.g. patch bay, patch field or jack field; Patching modules being slidable
-
- G—PHYSICS
- G02—OPTICS
- G02B—OPTICAL ELEMENTS, SYSTEMS OR APPARATUS
- G02B6/00—Light guides; Structural details of arrangements comprising light guides and other optical elements, e.g. couplings
- G02B6/24—Coupling light guides
- G02B6/36—Mechanical coupling means
- G02B6/38—Mechanical coupling means having fibre to fibre mating means
- G02B6/3807—Dismountable connectors, i.e. comprising plugs
- G02B6/381—Dismountable connectors, i.e. comprising plugs of the ferrule type, e.g. fibre ends embedded in ferrules, connecting a pair of fibres
- G02B6/3825—Dismountable connectors, i.e. comprising plugs of the ferrule type, e.g. fibre ends embedded in ferrules, connecting a pair of fibres with an intermediate part, e.g. adapter, receptacle, linking two plugs
-
- H—ELECTRICITY
- H01—ELECTRIC ELEMENTS
- H01R—ELECTRICALLY-CONDUCTIVE CONNECTIONS; STRUCTURAL ASSOCIATIONS OF A PLURALITY OF MUTUALLY-INSULATED ELECTRICAL CONNECTING ELEMENTS; COUPLING DEVICES; CURRENT COLLECTORS
- H01R2201/00—Connectors or connections adapted for particular applications
- H01R2201/04—Connectors or connections adapted for particular applications for network, e.g. LAN connectors
-
- H—ELECTRICITY
- H04—ELECTRIC COMMUNICATION TECHNIQUE
- H04Q—SELECTING
- H04Q2213/00—Indexing scheme relating to selecting arrangements in general and for multiplex systems
- H04Q2213/003—Constructional details
Landscapes
- Physics & Mathematics (AREA)
- General Physics & Mathematics (AREA)
- Optics & Photonics (AREA)
- Engineering & Computer Science (AREA)
- Computer Networks & Wireless Communication (AREA)
- Light Guides In General And Applications Therefor (AREA)
- Mechanical Coupling Of Light Guides (AREA)
- Connector Housings Or Holding Contact Members (AREA)
- Coupling Device And Connection With Printed Circuit (AREA)
Abstract
Description
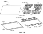
フレームと、前記フレームに支持されて第1の方向に積み重ねられた複数のトレイとを備えるパッチパネルであって、前記トレイの各々は、ケーブル接続端子のそれぞれの対を受け入れるように構成され、前記ケーブル接続端子の各対において、前記対のケーブル接続端子は、第1の軸の方向において互いから離れて外方に延び、互いに通信可能に連結されるように構成されているパッチパネルにおいて、前記複数のトレイの各トレイは、前記複数のトレイの他のトレイと平行又は実質的に平行に前記第1の軸から角度ずれした第2の軸の方向に摺動することによって、前記フレーム内において1つ又は複数のガイドに沿ってトレイ・イン位置と少なくとも1つのトレイ・アウト位置との間で摺動するように適合され、前記トレイは、前記トレイ・イン位置と前記トレイ・アウト位置との間で摺動した時に100mm未満変位され、前記複数のトレイの1つ又は複数のトレイは、前記トレイの摺動に用いられるように構成された少なくとも1つのハンドルを備える、パッチパネル。
前記複数のトレイの任意のトレイにおいて、互いに通信可能に連結されていない任意の互いに隣接する2つのケーブル接続端子は、距離(d)を隔てて互いに離間され、任意のケーブル接続端子は、前記トレイが前記トレイ・イン位置にある時、前記第1の軸の方向において第1の線に沿って延び、前記トレイが前記トレイ・アウト位置にある時、前記第1の軸の方向において第2の線に沿って延び、前記第1の線及び前記第2の線は、前記第1の軸と直交する方向において、距離(d/2)だけ離れている、[1]に記載のパッチパネル。
前記距離(d)は、約15mmから約25mmの間である、[2]に記載のパッチパネル。
ロック位置とロック解除位置との間で移動するように構成された機械的ストッパと、前記機械的ストッパを前記ロック位置に付勢するために前記機械的ストッパに力を加えるように構成された付勢バネと、を更に備え、前記機械的ストッパは、前記トレイの各々が前記ロック位置にある時に前記トレイ・イン位置から前記少なくとも1つのトレイーアウト位置に摺動するのを阻止し、前記トレイの各々が前記ロック解除位置にある時に前記トレイ・イン位置から前記少なくとも1つのトレイ・アウト位置に摺動するのを許容するようになっており、前記少なくとも1つのトレイ・アウト位置にある任意のトレイは、前記付勢バネが前記機械的ストッパを前記ロック位置に付勢するのを阻止するように構成されている、[1]に記載のパッチパネル。
前記機械的ストッパは、フレーム幅方向に複数のノッチを備え、前記ノッチは、前記機械的ストッパが前記ロック位置にある時、前記フレームの前記ガイドと並ばないように構成され、前記ノッチは、前記機械的ストッパが前記ロック解除位置にある時、前記フレーム内の前記ガイドと並ぶように構成されている、[4]に記載のパッチパネル。
フレームと、前記フレームによって支持されて第1の方向に積み重ねられた複数のトレイ対とを備えるパッチパネルであって、前記複数のトレイ対の各々は、それぞれの対のケーブル接続端子を受け入れるように構成され、前記トレイ対に受け入れられた各対のケーブル接続端子において、前記ケーブル接続端子の第1のケーブル接続端子は、前記トレイ対の第1のトレイに受け入れられ、前記ケーブル接続端子の第2のケーブル接続端子は、前記トレイ対の第2のトレイに受け入れられ、前記第1のケーブル接続端子及び前記第2のケーブル接続端子は、前記対のケーブル接続端子が第1の軸の方向において互いから離れて外方に向かって延在し、中間ケーブルによって通信可能に互いに連結されるように構成され、前記トレイ対の前記第1のトレイは、前記トレイ対の前記第2のトレイが移動しない状態において、前記複数のトレイ対の他のトレイ対のトレイに対して平行又は実質的に平行に摺動することによって、第1のトレイ・イン位置と少なくとも1つの第1のトレイ・アウト位置との間で摺動するように適合されている、パッチパネル。
前記中間ケーブルを支持するための支持体を更に備える、[6]に記載のパッチパネル。
前記支持体は、前記第1のトレイが摺動するように適合された方向と直交又は実質的に直交する方向における支持を行い、前記第1のトレイが摺動するように適合された方向と平行又は実質的に平行な方向における支持を行なわない、[7]に記載のパッチパネル。
前記トレイ対の前記第2のトレイは、前記トレイ対の前記第1のトレイが移動しない状態において、前記複数のトレイ対の他のトレイ対のトレイに対して平行又は実質的に平行に摺動することによって、第2のトレイ・イン位置と少なくとも1つの第2のトレイ・アウト位置との間で摺動するように適合されている、[6]に記載のパッチパネル。
前記複数のトレイ対の1つ又は複数のトレイは、前記トレイの摺動に用いられるように構成された少なくとも1つのハンドルを備える、[6]に記載のパッチパネル。
少なくとも1つのパッチパネルサブアセンブリを備えるパッチパネルであって、前記パッチパネルサブアセンブリは、少なくとも1つの取付プレートと複数のポートアセンブリとを備え、前記少なくとも1つの取付プレートは、各ポートアセンブリが個別に前記取付プレートの表面と平行な方向に沿って移動することができ、かつ前記取付プレートの前記表面と直交する軸を中心として回転することができるように、前記ポートアセンブリを取り付けるように構成されている、パッチパネル。
前記少なくとも1つの取付プレートは、前記ポートアセンブリを取り付けるための少なくとも1つの開口を備える、[11]に記載のパッチパネル。
前記少なくとも1つの取付プレートは、前記複数のポートアセンブリのそれぞれを取り付けるための複数の開口を備え、各ポートアセンブリは、それぞれの開口の長軸に沿って移動可能であり、かつ前記長軸と直交する軸を中心として回転可能である、[12]に記載のパッチパネル。
少なくとも1つのサブアセンブリにおいて、前記ポートアセンブリは、前記少なくとも1つの取付プレートの長手方向に沿って均一に互いに離間するように作動可能であり、前記ポートアセンブリは、共通の幅寸法を有し、前記ポートアセンブリ間の間隔距離は、前記幅寸法の約2%から前記幅寸法の約20%の範囲内にある、[13]に記載のパッチパネル。
各ポートアセンブリは、ポートホルダー内に固定されたポートを備え、各ポートは、前記ポートの第1のインターフェイスにおいて1つ又は複数のケーブル接続端子を受け入れ、前記ポートの第2のインターフェイスにおいて1つ又は複数のケーブル接続端子を受け入れるように構成されている、[11]に記載のパッチパネル。
前記ポートアセンブリの各々は、ラベルタブを備える、[11]に記載のパッチパネル。
ケーブルハンガーを備える少なくとも1つのヒンジ付き部分を更に備え、前記少なくとも1つのヒンジ付き部分は、前記少なくとも1つのサブアセンブリの少なくとも一部の側面を露出させるように開くことが可能である、[11]に記載のパッチパネル。
少なくとも2つのヒンジ付き部分を備え、前記ヒンジ付き部分の第1のヒンジ付き部分は、1つ又は複数の第1のケーブルハンガーを備え、前記少なくとも1つのサブアセンブリの少なくとも一部の第1の側面を露出させるように開くことが可能であり、前記ヒンジ付き部分の第2のヒンジ付き部分は、1つ又は複数の第2のケーブルハンガーを備え、少なくとも1つのサブアセンブリの第2の側面を露出させるように開くことが可能である、[17]に記載のパッチパネル。
前記1つ又は複数の第1のケーブルハンガーは、前記少なくとも1つのサブアセンブリの前記第1の側面から延在するケーブルを支持し、前記第2のケーブルハンガーは、前記少なくとも1つのサブアセンブリの前記第2の側面から延在するケーブルを支持する、[18]に記載のパネルパッチ。
前記ヒンジ付き部分の前記第1のヒンジ付き部分の第1のヒンジは、第1の回転軸を有し、前記ヒンジ付き部分の前記第2のヒンジ付き部分の第2のヒンジは、第2の回転軸を有し、前記第1の回転軸は、前記第2の回転軸と平行又は実質的に平行である、[18]に記載のパッチパネル。
前記ヒンジ付き部分の前記第1のヒンジ付き部分の第1のヒンジは、第1の回転軸を有し、前記ヒンジ付き部分の前記第2のヒンジ付き部分の第2のヒンジは、第2の回転軸を有し、前記第1の回転軸は、前記第2の回転軸と直交又は実質的に直交している、[18]に記載のパッチパネル。
前記複数のパッチパネルサブアセンブリが取り付けられた摺動トレイを更に備える、[11]に記載のパッチパネル。
前記複数のパッチパネルサブアセンブリの第1の側から延在する1つ又は複数のケーブルを取り囲むための第1のケーブルジャケットと、前記摺動トレイの摺動方向と直交する方向において前記第1のケーブルジャケットを支持し、前記第1のケーブルジャケットが前記摺動トレイが摺動する面と平行又は実質的に平行な面内において移動することを可能にする第1の支持体と、前記第1のケーブルジャケットの一端を位置決めするための第1のケーブルハンガーと、前記複数のパッチパネルサブアセンブリの第2の側から延在する1つ又は複数のケーブルを取り囲むための第2のケーブルジャケットと、前記摺動トレイの摺動方向と直交する方向において前記第2のケーブルジャケットを支持し、前記第2のケーブルジャケットが前記摺動トレイが摺動する面と平行又は実質的に平行な面内において移動することを可能にする第2の支持体と、前記第2のケーブルジャケットの一端を位置決めするための第2のケーブルハンガーと、を更に備える、[22]に記載のパッチパネル。
第1の方向において積み重ねられた複数のパッチパネルサブアセンブリを備える、[11]に記載のパッチパネル。
前記少なくとも1つの取付プレートは、鳩尾型断面を有する切欠きを備える、[11]に記載のパッチパネル。
前記ポートアセンブリの少なくとも一部は、前記取付プレートに係合するための鳩尾型断面を有する係合部材を備える、[25]に記載のパッチパネル。
複数のポートアセンブリを備えるパッチパネルであって、前記複数のポートアセンブリは個別に回転可能であり、前記複数のポートアセンブリのいずれか1つのポートアセンブリの前側ポートの中心及び前記1つのポートアセンブリの対応する後側ポートの中心を貫通する軸が、前記複数のポートアセンブリの他の1つポートアセンブリの前側ポートの中心及び前記他の1つのポートアセンブリの対応する後側ポートの中心を貫通する軸と非平行となるように位置決め可能である、パッチパネル。
空間内に配置された複数のポートアセンブリを備えるパッチパネルであって、前記空間の1つの寸法は、前記ポートアセンブリの深さ寸法の2倍よりも小さく、前記ポートアセンブリは、前記空間内において個別に並進可能及び回転可能である、パッチパネル。
空間内に配置された複数のポートアセンブリを備えるパッチパネルであって、前記空間の1つの寸法は、前記ポートアセンブリの深さ寸法の2倍よりも小さく、前記ポートアセンブリは、前記空間内において個別に移動可能及び回転可能であり、前記ポートアセンブリの1つのポートと前記ポートアセンブリの他の1つのポートとの間の距離は、前記ポートアセンブリの前記1つ及び前記ポートアセンブリの前記他の1つの一方又は両方を移動させることによって、変化させることが可能である、パッチパネル。
少なくとも1つの取付手段に関連付けられた複数のポートアセンブリを備えるパッチパネルであって、前記複数のポートアセンブリの各々は、前記少なくとも1つの取付手段との接触を保ちながら回転可能及び移動可能である、パッチパネル。
前記複数のポートアセンブリの各々は、狭小部分を有する係合部材を備え、前記取付手段は、前記ポートアセンブリの移動を一方向の移動に拘束するために、前記係合部材に係合するための拘束部分を備える、[30]に記載のパッチパネル。
細長の空間内に固定された複数のポートアセンブリであって、前記空間の長軸が第1の方向を画定し、前記ポートアセンブリは、少なくとも1つの前側ポート及び1つの後側ポートを有し、前記前側ポートに第1のケーブル接続端子を受け入れると共に前記後側ポートに第2のケーブル接続端子を受け入れ、前記第1のケーブル接続端子と前記第2のケーブル接続端子との間にエネルギー伝搬接続をもたらすように構成され、前記前側ポート及び前記後側ポートの相対位置は、第2の方向を画定し、前記第1の方向と前記第2の方向との間の角度は、30°から90°の範囲内において調整可能であり、前記ポートアセンブリは、少なくとも前記第1の方向において移動可能である、複数のポートアセンブリ。
Claims (18)
- 少なくとも1つのパッチパネルサブアセンブリを備えるパッチパネルであって、
前記パッチパネルサブアセンブリは、少なくとも1つの取付プレートと、複数のポートアセンブリとを備え、
前記少なくとも1つの取付プレートは、各ポートアセンブリが個別に前記取付プレートの表面と平行な方向に沿って移動することができ、かつ前記取付プレートの前記表面と直交する軸を中心として回転することができるように、前記ポートアセンブリを取り付けるように構成されている、パッチパネル。 - 前記少なくとも1つの取付プレートは、前記ポートアセンブリを取り付けるための少なくとも1つの開口を備える、請求項1に記載のパッチパネル。
- 各ポートアセンブリは、ポートホルダー内に固定されたポートを備え、
各ポートは、前記ポートの第1のインターフェイスにおいて1つ又は複数のケーブル接続端子を受け入れ、前記ポートの第2のインターフェイスにおいて1つ又は複数のケーブル接続端子を受け入れるように構成されている、請求項1に記載のパッチパネル。 - ケーブルハンガーを備える少なくとも1つのヒンジ付き部分を更に備え、前記少なくとも1つのヒンジ付き部分は、前記少なくとも1つのパッチパネルサブアセンブリの少なくとも一部の側面を露出させるように開くことが可能である、請求項1に記載のパッチパネル。
- 複数の前記パッチパネルサブアセンブリが取り付けられた摺動トレイを更に備える、請求項1に記載のパッチパネル。
- 前記少なくとも1つの取付プレートは、鳩尾型の断面を有する切欠きを備える、請求項1に記載のパッチパネル。
- 前記ポートアセンブリの少なくとも一部は、前記取付プレートに係合するための鳩尾型の断面を有する係合部材を備える、請求項6に記載のパッチパネル。
- 複数のポートアセンブリを備えるパッチパネルであって、
前記複数のポートアセンブリは個別に回転可能であって、前記複数のポートアセンブリのいずれか1つのポートアセンブリの前側ポートの中心及び前記1つのポートアセンブリの対応する後側ポートの中心を貫通する軸が、前記複数のポートアセンブリの他の1つのポートアセンブリの前側ポートの中心及び前記他の1つのポートアセンブリの対応する後側ポートの中心を貫通する軸と非平行となるように位置決め可能である、パッチパネル。 - 前記複数のポートアセンブリは、前記ポートアセンブリの深さ寸法の2倍よりも小さい1つの寸法を有する空間内に配置され、前記ポートアセンブリは、前記空間内において個別に移動可能である、請求項8に記載のパッチパネル。
- 前記複数のポートアセンブリの1つのポートアセンブリのポートと前記複数のポートアセンブリの他の1つのポートアセンブリのポートとの間の距離は、前記1つのポートアセンブリ及び前記他の1つのポートアセンブリの一方又は両方を移動させることによって変化可能である、請求項9に記載のパッチパネル。
- 少なくとも1つの取付手段に関連付けられた複数のポートアセンブリを備えるパッチパネルであって、
前記複数のポートアセンブリの各々は、前記少なくとも1つの取付手段との接触を保ちながら回転可能及び移動可能である、パッチパネル。 - 前記少なくとも1つの取付手段は、前記パッチパネルのフレーム又は筐体に対して移動可能である、請求項11に記載のパッチパネル。
- 各ポートアセンブリは、ポートホルダー内に固定されたポートを備え、各ポートは、前記ポートの第1のインターフェイスにおいて1つ又は複数のマルチファイバ・プッシュオン(MPO)ケーブル接続端子を受け入れ、前記ポートの第2のインターフェイスにおいて1つ又は複数のMPOケーブル接続端子を受け入れるように構成されている、請求項11に記載のパッチパネル。
- 各ポートアセンブリは、ポートホルダー内に固定されたポートを備え、各ポートは、前記ポートの第1のインターフェイスにおいて1つ又は複数のラッチ式ケーブル接続端子を受け入れ、前記ポートの第2のインターフェイスにおいて1つ又は複数のラッチ式ケーブル接続端子を受け入れるように構成されている、請求項11に記載のパッチパネル。
- 各ポートアセンブリは、第1のインターフェイスにおいて1つ又は複数のケーブル接続端子を受け入れると共に第2のインターフェイスにおいて1つ又は複数のケーブル接続端子を受け入れるように構成され、前記第1のインターフェイスにおける前記1つ又は複数のケーブル接続端子の少なくとも1つは、前記第2のインターフェイスにおける前記1つ又は複数のケーブル接続端子の少なくとも1つにエネルギー伝搬接続される、請求項11に記載のパッチパネル。
- 前記ポートアセンブリは、前記パッチパネルの筐体部分に対して、前記少なくとも1つの取付プレートと共に移動可能である、請求項11に記載のパッチパネル。
- 前記複数のポートアセンブリの各々は、狭小部分を有する係合部材を備え、
前記取付手段は、前記ポートアセンブリの移動を一方向の移動に拘束するように前記係合部材と係合するための拘束部分を備える、請求項11に記載のパッチパネル。 - 細長の空間内に固定された複数のポートアセンブリであって、
前記空間の長軸が第1の方向を画定し、
前記ポートアセンブリの各々は、少なくとも1つの前側ポート及び1つの後側ポートを有し、前記前側ポートに第1のケーブル接続端子を受け入れると共に前記後側ポートに第2のケーブル接続端子を受け入れ、前記第1のケーブル接続端子と前記第2のケーブル接続端子との間にエネルギー伝搬接続をもたらすように構成され、
前記前側ポート及び前記後側ポートの相対位置は、第2の方向を画定し、前記第1の方向と前記第2の方向との間の角度は、30°から90°の範囲内において調整可能であり、
前記ポートアセンブリは、少なくとも前記第1の方向において移動可能である、複数のポートアセンブリ。
Applications Claiming Priority (4)
| Application Number | Priority Date | Filing Date | Title |
|---|---|---|---|
| US16/916,980 | 2020-06-30 | ||
| US16/916,980 US12022245B2 (en) | 2020-06-30 | 2020-06-30 | Easy access patch panel |
| US17/193,840 | 2021-03-05 | ||
| US17/193,840 US11228819B1 (en) | 2020-06-30 | 2021-03-05 | Easy access patch panel |
Publications (1)
| Publication Number | Publication Date |
|---|---|
| JP2022013884A true JP2022013884A (ja) | 2022-01-18 |
Family
ID=76584349
Family Applications (1)
| Application Number | Title | Priority Date | Filing Date |
|---|---|---|---|
| JP2021108911A Pending JP2022013884A (ja) | 2020-06-30 | 2021-06-30 | 容易にアクセス可能なパッチパネル |
Country Status (5)
| Country | Link |
|---|---|
| US (1) | US11228819B1 (ja) |
| EP (2) | EP4617754A3 (ja) |
| JP (1) | JP2022013884A (ja) |
| CN (1) | CN113871928B (ja) |
| ES (1) | ES3039326T3 (ja) |
Families Citing this family (2)
| Publication number | Priority date | Publication date | Assignee | Title |
|---|---|---|---|---|
| EP3874625A4 (en) * | 2018-11-02 | 2022-07-06 | Go!Foton Holdings, Inc. | CABLE TERMINATION ASSEMBLY WITH TRIPPING PREVENTION STRUCTURES |
| US11811163B2 (en) | 2021-02-26 | 2023-11-07 | Leviton Manufacturing Co., Inc. | Mutoa and quad floating connector |
Citations (5)
| Publication number | Priority date | Publication date | Assignee | Title |
|---|---|---|---|---|
| JP2002090581A (ja) * | 2000-09-14 | 2002-03-27 | Nec Commun Syst Ltd | 光アダプタ実装構造 |
| JP2002311298A (ja) * | 2001-04-16 | 2002-10-23 | Fujitsu Ltd | 光コネクタの接続構造 |
| JP2007240625A (ja) * | 2006-03-06 | 2007-09-20 | Fujitsu Access Ltd | 光通信機器および光通信機器における接続コネクタの接続方法 |
| JP2018534635A (ja) * | 2015-10-12 | 2018-11-22 | スリーエム イノベイティブ プロパティズ カンパニー | 構成可能なモジュラーコネクタ |
| WO2020148296A1 (en) * | 2019-01-15 | 2020-07-23 | CommScope Connectivity Belgium BVBA | Splice patch arrangement with movable adapters |
Family Cites Families (40)
| Publication number | Priority date | Publication date | Assignee | Title |
|---|---|---|---|---|
| US5100221A (en) * | 1990-01-22 | 1992-03-31 | Porta Systems Corp. | Optical fiber cable distribution frame and support |
| FR2703844B1 (fr) * | 1993-04-09 | 1995-05-24 | Sepm | Connecteur électrique et plus particulièrement connecteur de charge. |
| TW232757B (en) * | 1994-01-21 | 1994-10-21 | Adc Telecommunications Inc | High-density fiber distribution frame |
| JP2001126821A (ja) * | 1999-10-27 | 2001-05-11 | Sumitomo Wiring Syst Ltd | コネクタの取付構造 |
| US6301424B1 (en) * | 2000-04-13 | 2001-10-09 | Lucent Technologies Inc. | Distribution frame cable routing apparatus |
| US6786647B1 (en) * | 2001-03-16 | 2004-09-07 | Nortel Networks Limited | Mechanically constrained connection |
| US6736670B2 (en) * | 2001-11-16 | 2004-05-18 | Adc Telecommunications, Inc. | Angled RJ to RJ patch panel |
| US7031588B2 (en) * | 2004-04-27 | 2006-04-18 | Commscope Solutions Properties, Llc | Articulated high density fiber optic splice and termination shelf |
| WO2006012389A1 (en) * | 2004-07-22 | 2006-02-02 | Panduit Corp. | Front access punch down patch panel |
| US7540748B2 (en) * | 2007-04-11 | 2009-06-02 | Hewlett-Packard Development Company, L.P. | Flexible I/O connection system and method |
| US7715679B2 (en) * | 2007-05-07 | 2010-05-11 | Adc Telecommunications, Inc. | Fiber optic enclosure with external cable spool |
| US7590328B2 (en) * | 2007-08-02 | 2009-09-15 | Adc Telecommunications, Inc. | Fiber termination block with splitters |
| US8463091B2 (en) * | 2007-10-15 | 2013-06-11 | Telescent Inc. | Methods to reconfigure all-fiber optical cross-connects |
| US8130502B2 (en) * | 2008-02-15 | 2012-03-06 | Panduit Corp. | Modular stackable angled patch panel for enclosure |
| US8315498B2 (en) * | 2008-04-11 | 2012-11-20 | Adc Telecommunications, Inc. | Fiber management panel |
| US20100322583A1 (en) | 2009-06-19 | 2010-12-23 | Cooke Terry L | High Density and Bandwidth Fiber Optic Apparatuses and Related Equipment and Methods |
| US8452148B2 (en) | 2008-08-29 | 2013-05-28 | Corning Cable Systems Llc | Independently translatable modules and fiber optic equipment trays in fiber optic equipment |
| US8712206B2 (en) | 2009-06-19 | 2014-04-29 | Corning Cable Systems Llc | High-density fiber optic modules and module housings and related equipment |
| US8834196B2 (en) * | 2009-09-28 | 2014-09-16 | Molex Incorporated | Shielded modular jack assembly |
| US9291790B2 (en) * | 2009-10-14 | 2016-03-22 | Afl Telecommunications Llc | Fiber splice enclosure having removable cable port mounting plate |
| US8565572B2 (en) * | 2010-06-23 | 2013-10-22 | Adc Telecommunications, Inc. | Telecommunications assembly |
| US8638550B2 (en) * | 2011-03-16 | 2014-01-28 | Lenovo (Singapore) Pte. Ltd. | Keyed media drive rails |
| US9052877B2 (en) * | 2011-03-16 | 2015-06-09 | Lenovo (Singapore) Pte. Ltd. | Flush faced servers |
| US8605424B2 (en) * | 2011-03-16 | 2013-12-10 | Lenovo (Singapore) Pte. Ltd. | Media drive unseating mechanism |
| SG10201604142SA (en) * | 2011-05-24 | 2016-07-28 | Deka Products Lp | Hemodialysis System |
| US9223106B2 (en) * | 2011-06-24 | 2015-12-29 | Commscope Technologies Llc | Fiber termination enclosure with modular plate assemblies |
| US8879953B2 (en) * | 2012-06-25 | 2014-11-04 | Lexmark International, Inc. | Retainer assembly having positioning features for processing circuitry used within an image forming device supply item |
| US20140133822A1 (en) * | 2012-11-13 | 2014-05-15 | Cesar Alejandro de los Santos Campos | Rotatable furcation assembly |
| US8827568B1 (en) * | 2013-02-28 | 2014-09-09 | Corning Cable Systems Llc | Fiber optic connector adapter module assemblies and methods |
| CN104009333A (zh) * | 2014-06-09 | 2014-08-27 | 常熟精微康电子元件有限公司 | 一种fpc连接器 |
| US9606317B2 (en) * | 2014-06-17 | 2017-03-28 | Ortronics, Inc. | Media patching system |
| EP4006606B1 (en) * | 2014-09-16 | 2024-04-24 | CommScope Connectivity Belgium BVBA | Multi-positionable telecommunications tray |
| EP3195036B1 (en) * | 2014-09-16 | 2021-11-03 | CommScope Connectivity Belgium BVBA | Rotatable patch cable holder |
| EP4043938A1 (en) * | 2015-04-22 | 2022-08-17 | CommScope Connectivity Belgium BVBA | Cable storage arrangement |
| US10459173B2 (en) * | 2015-10-12 | 2019-10-29 | 3M Innovative Properties Company | Optical assembly with cable retainer |
| US10488612B2 (en) * | 2016-11-07 | 2019-11-26 | Corning Optical Communications LLC | Fiber optic spool drawer with translatable and/or removable drawer for deployment of fiber optic cable |
| US10310206B2 (en) * | 2017-05-22 | 2019-06-04 | Go!Foton Holdings, Inc. | Apparatus for cable routing |
| MX2019014071A (es) * | 2017-05-23 | 2020-02-13 | Corning Res & Dev Corp | Puerto de entrada de cable mecanico. |
| WO2020112354A1 (en) * | 2018-11-29 | 2020-06-04 | Corning Research & Development Corporation | Multiports having connection ports with rotating actuators and method for making the same |
| US20200310046A1 (en) * | 2019-03-26 | 2020-10-01 | Senko Advanced Components., Inc. | Integrated Fiber Optic Cable Fan-Out Connector |
-
2021
- 2021-03-05 US US17/193,840 patent/US11228819B1/en active Active
- 2021-06-23 EP EP25192797.6A patent/EP4617754A3/en active Pending
- 2021-06-23 ES ES21181022T patent/ES3039326T3/es active Active
- 2021-06-23 EP EP21181022.1A patent/EP3940439B1/en active Active
- 2021-06-30 JP JP2021108911A patent/JP2022013884A/ja active Pending
- 2021-06-30 CN CN202110742792.XA patent/CN113871928B/zh active Active
Patent Citations (5)
| Publication number | Priority date | Publication date | Assignee | Title |
|---|---|---|---|---|
| JP2002090581A (ja) * | 2000-09-14 | 2002-03-27 | Nec Commun Syst Ltd | 光アダプタ実装構造 |
| JP2002311298A (ja) * | 2001-04-16 | 2002-10-23 | Fujitsu Ltd | 光コネクタの接続構造 |
| JP2007240625A (ja) * | 2006-03-06 | 2007-09-20 | Fujitsu Access Ltd | 光通信機器および光通信機器における接続コネクタの接続方法 |
| JP2018534635A (ja) * | 2015-10-12 | 2018-11-22 | スリーエム イノベイティブ プロパティズ カンパニー | 構成可能なモジュラーコネクタ |
| WO2020148296A1 (en) * | 2019-01-15 | 2020-07-23 | CommScope Connectivity Belgium BVBA | Splice patch arrangement with movable adapters |
Also Published As
| Publication number | Publication date |
|---|---|
| CN113871928A (zh) | 2021-12-31 |
| US11228819B1 (en) | 2022-01-18 |
| EP3940439B1 (en) | 2025-08-06 |
| ES3039326T3 (en) | 2025-10-21 |
| EP4617754A3 (en) | 2025-11-26 |
| EP4617754A2 (en) | 2025-09-17 |
| EP3940439C0 (en) | 2025-08-06 |
| US20210409842A1 (en) | 2021-12-30 |
| EP3940439A1 (en) | 2022-01-19 |
| CN113871928B (zh) | 2024-04-05 |
Similar Documents
| Publication | Publication Date | Title |
|---|---|---|
| US11506854B2 (en) | Slidable telecommunications tray with cable slack management | |
| US10627591B2 (en) | Rotatable patch cable holder | |
| USRE46780E1 (en) | High density patching system for cable and optical fiber | |
| EP4224227B1 (en) | Slidable fiber optic connection module with cable slack management | |
| US11686912B1 (en) | Optical fiber assemblies for accommodating mini duplex connectors | |
| JP2022013884A (ja) | 容易にアクセス可能なパッチパネル | |
| WO2014009344A1 (en) | Slidable fibre optic module comprising a rail with electrical contacts | |
| WO2014164332A1 (en) | Patch panel assembly | |
| EP3537198B1 (en) | Fibre-optic cable fanout | |
| US12022245B2 (en) | Easy access patch panel | |
| HK40066101A (zh) | 易於接近的接线板 | |
| HK40066101B (zh) | 易於接近的接线板 | |
| EP3762752B1 (en) | High density optical fiber distribution sub-rack | |
| US20230324638A1 (en) | Cable routing storage assemblies for data communication systems | |
| JP3824740B2 (ja) | 光配線盤 | |
| US12449623B2 (en) | Fiber distribution systems | |
| US20250172779A1 (en) | Optical fiber system with fiber optic tray and mount | |
| JP6731009B2 (ja) | 光配線ユニット、光配線ユニット付きラック及び光配線ユニット付きラックの製造方法 | |
| JP2012226257A (ja) | 光コネクタ収納ユニット | |
| CZ218692A3 (cs) | Nosné uspořádání pro kabely s optickými vlákny |
Legal Events
| Date | Code | Title | Description |
|---|---|---|---|
| A521 | Request for written amendment filed |
Free format text: JAPANESE INTERMEDIATE CODE: A523 Effective date: 20211116 |
|
| A521 | Request for written amendment filed |
Free format text: JAPANESE INTERMEDIATE CODE: A523 Effective date: 20220203 |
|
| A621 | Written request for application examination |
Free format text: JAPANESE INTERMEDIATE CODE: A621 Effective date: 20240328 |
|
| A977 | Report on retrieval |
Free format text: JAPANESE INTERMEDIATE CODE: A971007 Effective date: 20250114 |
|
| A131 | Notification of reasons for refusal |
Free format text: JAPANESE INTERMEDIATE CODE: A131 Effective date: 20250117 |
|
| A521 | Request for written amendment filed |
Free format text: JAPANESE INTERMEDIATE CODE: A523 Effective date: 20250408 |
|
| A131 | Notification of reasons for refusal |
Free format text: JAPANESE INTERMEDIATE CODE: A131 Effective date: 20250724 |
|
| A601 | Written request for extension of time |
Free format text: JAPANESE INTERMEDIATE CODE: A601 Effective date: 20251023 |
|
| A521 | Request for written amendment filed |
Free format text: JAPANESE INTERMEDIATE CODE: A523 Effective date: 20251204 |
|
| A01 | Written decision to grant a patent or to grant a registration (utility model) |
Free format text: JAPANESE INTERMEDIATE CODE: A01 Effective date: 20260109 |
