JP2020184853A - 同期回転電機および放電抵抗器 - Google Patents

同期回転電機および放電抵抗器 Download PDF

Info

Publication number
JP2020184853A
JP2020184853A JP2019088812A JP2019088812A JP2020184853A JP 2020184853 A JP2020184853 A JP 2020184853A JP 2019088812 A JP2019088812 A JP 2019088812A JP 2019088812 A JP2019088812 A JP 2019088812A JP 2020184853 A JP2020184853 A JP 2020184853A
Authority
JP
Japan
Prior art keywords
discharge resistor
rotor
stator
resistor
electric machine
Prior art date
Legal status (The legal status is an assumption and is not a legal conclusion. Google has not performed a legal analysis and makes no representation as to the accuracy of the status listed.)
Granted
Application number
JP2019088812A
Other languages
English (en)
Other versions
JP7189835B2 (ja
Inventor
優介 小杉
Yusuke Kosugi
優介 小杉
Current Assignee (The listed assignees may be inaccurate. Google has not performed a legal analysis and makes no representation or warranty as to the accuracy of the list.)
Toshiba Mitsubishi Electric Industrial Systems Corp
Original Assignee
Toshiba Mitsubishi Electric Industrial Systems Corp
Priority date (The priority date is an assumption and is not a legal conclusion. Google has not performed a legal analysis and makes no representation as to the accuracy of the date listed.)
Filing date
Publication date
Application filed by Toshiba Mitsubishi Electric Industrial Systems Corp filed Critical Toshiba Mitsubishi Electric Industrial Systems Corp
Priority to JP2019088812A priority Critical patent/JP7189835B2/ja
Priority to CN202010385664.XA priority patent/CN111917241B/zh
Publication of JP2020184853A publication Critical patent/JP2020184853A/ja
Application granted granted Critical
Publication of JP7189835B2 publication Critical patent/JP7189835B2/ja
Active legal-status Critical Current
Anticipated expiration legal-status Critical

Links

Images

Classifications

    • HELECTRICITY
    • H02GENERATION; CONVERSION OR DISTRIBUTION OF ELECTRIC POWER
    • H02KDYNAMO-ELECTRIC MACHINES
    • H02K9/00Arrangements for cooling or ventilating
    • HELECTRICITY
    • H02GENERATION; CONVERSION OR DISTRIBUTION OF ELECTRIC POWER
    • H02KDYNAMO-ELECTRIC MACHINES
    • H02K11/00Structural association of dynamo-electric machines with electric components or with devices for shielding, monitoring or protection
    • H02K11/04Structural association of dynamo-electric machines with electric components or with devices for shielding, monitoring or protection for rectification
    • H02K11/042Rectifiers associated with rotating parts, e.g. rotor cores or rotary shafts
    • HELECTRICITY
    • H02GENERATION; CONVERSION OR DISTRIBUTION OF ELECTRIC POWER
    • H02KDYNAMO-ELECTRIC MACHINES
    • H02K19/00Synchronous motors or generators
    • H02K19/02Synchronous motors
    • HELECTRICITY
    • H02GENERATION; CONVERSION OR DISTRIBUTION OF ELECTRIC POWER
    • H02KDYNAMO-ELECTRIC MACHINES
    • H02K7/00Arrangements for handling mechanical energy structurally associated with dynamo-electric machines, e.g. structural association with mechanical driving motors or auxiliary dynamo-electric machines
    • H02K7/20Structural association with auxiliary dynamo-electric machines, e.g. with electric starter motors or exciters
    • HELECTRICITY
    • H02GENERATION; CONVERSION OR DISTRIBUTION OF ELECTRIC POWER
    • H02KDYNAMO-ELECTRIC MACHINES
    • H02K9/00Arrangements for cooling or ventilating
    • H02K9/02Arrangements for cooling or ventilating by ambient air flowing through the machine
    • H02K9/04Arrangements for cooling or ventilating by ambient air flowing through the machine having means for generating a flow of cooling medium

Landscapes

  • Engineering & Computer Science (AREA)
  • Power Engineering (AREA)
  • Motor Or Generator Cooling System (AREA)

Abstract

【課題】同期回転電機において、簡易な構成により放電抵抗器の冷却機能を向上させる。【解決手段】同期回転電機は、ロータシャフト11と回転子鉄心と回転子巻線とを有する回転子と、固定子鉄心と固定子巻線とを有する固定子と、ロータシャフト11とともに回転する回転整流器および少なくとも一つの放電抵抗器60を有する励磁装置と、フレームと、冷却器とを備える。放電抵抗器60は、ロータシャフト11の周囲に巻き付けられた抵抗61と、抵抗61の間に配され抵抗61内に隙間61aを形成する複数の電気絶縁性のスペーサ62とを有する。【選択図】図4

Description

本発明は、同期回転電機およびその放電抵抗器に関する。
同期回転電機は、一般的に自己始動が困難で、同期回転電機が始動するための設備が設けられている場合が多い。
ただし、ブラシレス同期回転電機においては、回転子において界磁巻線が閉回路を形成していることから、誘導機と同様の原理で、原理的に界磁巻線を用いた自己始動を行うことができる。この場合、始動時に誘導電圧の全てが整流回路に印加されるのを緩和するために、一般的に界磁巻線に並列に放電抵抗器が設置される。具体的には、放電抵抗器は、ロータシャフトに取り付けられる。
放電抵抗器には、同期回転電機の始動時にその両端間に誘導電圧の一部が印加されるため、放電抵抗器内および放電抵抗器と外部との絶縁性能を確保する必要がある。また、放電抵抗器は、ロータシャフトとともに回転することから遠心力が作用する。このため、放電抵抗器は樹脂等の絶縁材によりモールドされている場合が多い。
特開昭49−105905号公報 実開昭57−122171号公報
ブラシレス同期回転電機の自己始動に際しては、放電抵抗器には大きな電流が流れるため、特に全閉形の回転電機においては、放電抵抗器の冷却が重要である。放電抵抗器の冷却を向上させる例としては、たとえば、鋼管被覆の放電抵抗器を、内周面に溝をつけた回転円筒内に組み込む技術が知られている(特許文献1参照)。あるいは、冷却ファンによる冷却用気体の通風路内に放電抵抗器を配置し、軸方向に2つの放電抵抗器に挟まれた通路を形成する技術が知られている(特許文献2参照)。
これらのいずれの例も、構造の複雑化、あるいは加工工程の増加をもたらすことは否めない。
そこで、本発明は、同期回転電機において、簡易な構成により放電抵抗器の冷却機能を向上させることを目的とする。
上述の目的を達成するため、本発明に係る同期回転電機は、軸方向に延びたロータシャフトと、前記ロータシャフトに取り付けられた回転子鉄心と、前記回転子鉄心に巻回された回転子巻線とを有する回転子と、前記回転子鉄心の径方向外側に配された固定子鉄心と、前記固定子鉄心を貫通する固定子巻線とを有する固定子と、前記ロータシャフトとともに回転する回転整流器および少なくとも一つの放電抵抗器を有する励磁装置と、前記回転子鉄心、前記固定子および前記励磁装置を収納するフレームと、前記フレームに取り付けられて、前記フレーム内の前記回転子、前記固定子、および前記励磁装置を冷却する冷却用気体を冷却する冷却器と、を備え、前記少なくとも一つの放電抵抗器は、前記ロータシャフトの周囲に巻き付けられた抵抗と、前記抵抗の間に配され前記抵抗内に隙間を形成する複数の電気絶縁性のスペーサと、を有することを特徴とする。
また、本発明に係る放電抵抗器は、ロータシャフトと回転子鉄心と回転子巻線とを有する回転子と、固定子鉄心と固定子巻線とを有する固定子と、前記ロータシャフトとともに回転する回転整流器を有する励磁装置と、前記回転子鉄心、前記固定子および前記励磁装置を収納するフレームと、前記フレームに取り付けられて、前記フレーム内の前記回転子、前記固定子、および前記励磁装置を冷却する冷却用気体を冷却する冷却器とを備える同期回転電機の前記励磁装置の放電抵抗器であって、前記ロータシャフトの周囲に巻き付けられた抵抗と、前記抵抗の間に配され前記抵抗内に隙間を形成する複数の電気絶縁性のスペーサと、を有することを特徴とする。
本発明によれば、同期回転電機において、簡易な構成により放電抵抗器の冷却機能を向上させることができる。
第1の実施形態に係る同期回転電機の立断面図である。 第1の実施形態に係る同期回転電機の励磁装置を示す回路図である。 第1の実施形態に係る同期回転電機の放電抵抗器の構成を示す図4のIII−III線矢視縦断面図である。 第1の実施形態に係る同期回転電機の放電抵抗器の構成を示す図3のIV−IV線矢視横断面図である。 第1の実施形態に係る放電抵抗器の長手方向の展開図である。 第2の実施形態に係る放電抵抗器の長手方向の展開図である。
以下、図面を参照して、本発明の実施形態に係る同期回転電機およびその放電抵抗器について説明する。
[第1の実施形態]
以下、同期回転電機として、全閉形ブラシレス同期回転電機の場合を例にとって説明する。
図1は、第1の実施形態に係る同期回転電機の立断面図である。
同期回転電機100は、回転子10、固定子20、フレーム30、軸受32、冷却器40、および励磁装置50を有する。
回転子10は、軸方向に延びたロータシャフト11、ロータシャフト11に取り付けられた回転子鉄心12、および回転子鉄心12に巻回された回転子巻線13を有する。ロータシャフト11は、回転子鉄心12を挟んだ軸方向の両側で、軸受32により回転可能に支持されている。なお、回転子鉄心12に巻回される回転子巻線13は、図1に示すように回転子鉄心12に形成された複数のスロット内(図示せず)に収納される部分を有する円筒型の場合、および、回転子鉄心12に形成された突極に巻回される突極型の場合のいずれの場合も含む。
固定子20は、回転子鉄心12の径方向の外側に空隙を介して配された円筒状の固定子鉄心21と、固定子鉄心21を貫通する固定子巻線22を有する。
固定子20を囲むように軸方向に筒状に延びたフレーム30が配されている。フレーム30の両側の端部にはそれぞれ軸受ブラケット34が取り付けられている。それぞれの軸受ブラケット34は、それぞれの軸受32を静止支持している。
冷却器40は、フレーム30の上部に設けられている。冷却器40は、外部の冷媒が通過する冷却管41と、冷却管41を収納する冷却器カバー42を有する。
フレーム30、2つの軸受ブラケット34、および冷却器カバー42は、互いに相まって閉空間30aを形成する。閉空間30a内には、たとえば空気などの冷却用気体が封入されている。
それぞれの軸受32と回転子鉄心12との間で、ロータシャフト11にはそれぞれ内扇15が取り付けられている。また、それぞれの内扇15の径方向外側にはフレーム30の内面にまで拡がる仕切り板15aが設けられている。内扇15は、軸流ファンであり、冷却用気体を、回転子鉄心12および固定子20の方向に移送駆動する。
フレーム30内の空間と、冷却器カバー42内の空間とは、冷却器入口開口43および2つの冷却器出口開口44を介して連通している。冷却器入口開口43は固定子20の上方に形成されている。また、2つの冷却器出口開口44のそれぞれは、2つの内扇15のそれぞれの入口側空間30b、30cの上方に形成されている。
2つの内扇15の一方の入口側空間30bには、励磁装置50が設けられている。励磁装置50は、回転整流器51、励磁機回転部52、励磁機固定部53、第1の放電抵抗器60および第2の放電抵抗器70を有する。これらのうち、回転整流器51、励磁機回転部52、第1の放電抵抗器60、第2の放電抵抗器70は、ロータシャフト11に取り付けられ、ロータシャフト11とともに回転する。また、励磁機固定部53は、電磁石あるいは永久磁石であり、図示しない支持部により静止支持されている。
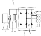
図2は、同期回転電機の励磁装置を示す回路図である。回転整流器51は、ダイオード51a、51bを有するブリッジ回路である。励磁機固定部53による磁場の中を回転する励磁機回転部52の各相に誘起される交流電圧が、ブリッジ回路である回転整流器51の各相に入力される。
回転整流器51により生ずる一極性の電圧が、界磁巻線である回転子巻線13に印加される。第1の放電抵抗器60および第2の放電抵抗器70は、回転整流器51、および回転子鉄心12に巻回された回転子巻線13に並列に配されている。
図3は、放電抵抗器の構成を示す図4のIII−III線矢視縦断面図であり、図4は、図3のIV−IV線矢視横断面図である。
第1の放電抵抗器60および第2の放電抵抗器70は、軸方向に互いに間隔をあけて隣接してロータシャフト11に取り付けられている。第1の放電抵抗器60は、抵抗61、スペーサ62、ボス63および支持部64を有する。また、第2の放電抵抗器70は、抵抗71、スペーサ72、ボス73および支持部74を有する。ここで、スペーサ62、72、ボス63、73、および支持部64、74は、電気絶縁性、すなわちこれらの材質は、電気的な絶縁材である。
ボス63およびボス73は、ロータシャフト11の径方向外側にロータシャフト11を囲むようにロータシャフト11に取り付けられている。ボス63および支持部64は、抵抗61とスペーサ62を支持する。また、ボス73および支持部74は、抵抗71とスペーサ72を支持する。なお支持部の詳細の図示は省略している。支持部64および支持部74は、それぞれ抵抗61および抵抗71に印加される遠心力に耐える構造強度を有する。
抵抗61は、長く延びた板状であり、絶縁材による被覆はなされておらず、直接、冷却用気体に接する。抵抗61は、長手方向の一端がボス63に接続されており、渦巻き状に、ロータシャフト11の周囲に巻きつけられるように形成されている。渦巻き(スパイラル)状に形成されている長手方向の途中の位置には、抵抗61内の径方向の間隔を確保するためのスペーサ62が設けられている。
同様に、抵抗71は、長く延びた板状であり、絶縁材による被覆はなされておらず、直接、冷却用気体に接する。抵抗71は、長手方向の一端がボス73に接続されており、渦巻き状に、ロータシャフト11の周囲に巻きつけられるように形成されている。渦巻き(スパイラル)状に形成されている長手方向の途中の位置には、抵抗71内の径方向の間隔を確保するためのスペーサ72が設けられている。
図4に示すように、回転子鉄心12側から軸方向に第1の放電抵抗器60を見ると、抵抗61の巻回方向、すなわち渦巻きの方向は、中心から外に向かって時計回り方向である。
一方、図示しないが、回転子鉄心12側から軸方向に第2の放電抵抗器70を見ると、抵抗71第2の放電抵抗器70については、中心から外側に向かって反時計回りに巻かれている。
このため、第1の放電抵抗器60に電流が流れたときに生ずる磁束と、第2の放電抵抗器70に電流が流れたときに生ずる磁束とは、互いに打ち消し合う。この結果、第1の放電抵抗器60と第2の放電抵抗器70とが設置されている外側には、大きな磁界を形成せず、大きな磁気的影響を生じない。
以上のように形成されていることから、渦巻き状の抵抗61には、隙間61aが形成され、隙間61aは、冷却用気体の軸方向の流路となる。渦巻き状の抵抗71についても、隙間71a(図5)が形成され、隙間71aは、冷却用気体の軸方向の流路となる。
図5は、第1の実施形態に係る放電抵抗器の長手方向の展開図である。
第1の放電抵抗器60のそれぞれのスペーサ62は、軸方向に対して角度を持った方向に配置されている。ここで、スペーサ62の方向とは、スペーサ62の長手方向に沿った方向を言うものとする。このため、第1の放電抵抗器60の抵抗61とスペーサ62とによりファン効果を生ずる。また、第2の放電抵抗器70のそれぞれのスペーサ72は、軸方向に対して角度を持って配置されており、第2の放電抵抗器70の抵抗71とスペーサ72とによりファン効果を生ずる。
第1の放電抵抗器60のそれぞれのスペーサ62と、第2の放電抵抗器70のそれぞれのスペーサ72は、互いに同じ方向に傾いている。なお、第1の放電抵抗器60のそれぞれのスペーサ62の軸方向に対する角度と、第2の放電抵抗器70のそれぞれのスペーサ72の軸方向に対する角度は、必ずしも同じ角度であることを要しない。また、抵抗71に沿ったスペーサ72の位置は、必ずしも、抵抗61に沿ってスペーサ62の位置と同じ位置あるいは近傍ではなくともよい。
この結果、第2の放電抵抗器70は、第1の放電抵抗器60と第2の放電抵抗器70の間の空間の径方向外側から冷却用気体を吸い込むとともに、第1の放電抵抗器60から流出する冷却用気体を吸い込むことになる。すなわち、冷却用気体は、軸方向の外側から第1の放電抵抗器60のそれぞれのスペーサ62の間に流入し、その後、第2の放電抵抗器70のそれぞれのスペーサ72の間を流れる。
このように、第1の放電抵抗器60と第2の放電抵抗器70が同じ方向に冷却用気体を駆動することから、両者のファン効果が重畳して、大きな駆動力を生ずる。
さらに、第1の放電抵抗器60および第2の放電抵抗器70自体は、表面に絶縁材料のモールドがなされておらず、かつ、それぞれ隙間61aおよび隙間71aを冷却用気体が通過することから、さらに冷却効果が高まる。
以上のように、本実施形態によれば、同期回転電機において、簡易な構成により放電抵抗器の冷却機能を向上させることができる。
[第2の実施形態]
図6は、第2の実施形態に係る放電抵抗器の長手方向の展開図である。
本第2の実施形態は、第1の実施形態の変形である。本第2の実施形態においては、第1の放電抵抗器60のそれぞれのスペーサ62の方向が、第1の実施形態の場合とは逆方向となっている。この点を除いては、第2の実施形態は、第1の実施形態と同様である。
この結果、第1の放電抵抗器60を通過する冷却用気体の方向が、第1の実施形態とは逆となる。すなわち、冷却用気体は、第1の放電抵抗器60と第2の放電抵抗器70の間の空間から、第1の放電抵抗器60の隙間61aに吸い込まれて、隙間61aを通過して、軸方向に第1の放電抵抗器60の反対側に放出される。
一方、第2の放電抵抗器70においては、スペーサ72は、第1の放電抵抗器60と第2の放電抵抗器70の間の空間に軸方向に垂直な平面を想定した場合に、この平面に対して対称の方向に形成されている。
以上のような第1の放電抵抗器60および第2の放電抵抗器70の構成により、冷却用気体は、第1の放電抵抗器60と第2の放電抵抗器70の間の空間から、第2の放電抵抗器70の隙間71aに吸い込まれて、隙間71aを通過して、軸方向に第2の放電抵抗器70の反対側に放出される。
このように、第1の放電抵抗器60と第2の放電抵抗器70のそれぞれが、第1の放電抵抗器60と第2の放電抵抗器70の間の空間から冷却用気体を吸い込むことになる。この結果、励磁装置50の上方に形成されている冷却器出口開口44から励磁装置50側への冷却用気体の流入が加速され、励磁装置50全体の冷却効果が高まる。
以上のように、本実施形態によれば、同期回転電機において、簡易な構成により放電抵抗器の冷却機能を向上させることができる。
[その他の実施形態]
以上、本発明の実施形態を説明したが、実施形態は、例として提示したものであり、発明の範囲を限定することは意図していない。
さらに、これらの実施形態は、その他の様々な形態で実施されることが可能であり、発明の要旨を逸脱しない範囲で、種々の省略、置き換え、変更を行うことができる。これら実施形態やその変形は、発明の範囲や要旨に含まれると同様に、特許請求の範囲に記載された発明とその均等の範囲に含まれるものである。
10…回転子、11…ロータシャフト、12…回転子鉄心、13…回転子巻線、15…内扇、15a…仕切り板、20…固定子、21…固定子鉄心、22…固定子巻線、30…フレーム、30a…閉空間、30b、30c…入口側空間、32…軸受、34…軸受ブラケット、40…冷却器、41…冷却管、42…冷却器カバー、43…冷却器入口開口、44…冷却器出口開口、50…励磁装置、51…回転整流器、51a、51b…ダイオード、52…励磁機回転部、53…励磁機固定部、60…第1の放電抵抗器、61…抵抗、61a…隙間、62…スペーサ、63…ボス、64…支持部、70…第2の放電抵抗器、71…抵抗、71a…隙間、72…スペーサ、73…ボス、74…支持部、100…同期回転電機

Claims (6)

  1. 軸方向に延びたロータシャフトと、前記ロータシャフトに取り付けられた回転子鉄心と、前記回転子鉄心に巻回された回転子巻線とを有する回転子と、
    前記回転子鉄心の径方向外側に配された固定子鉄心と、前記固定子鉄心を貫通する固定子巻線とを有する固定子と、
    前記ロータシャフトとともに回転する回転整流器および少なくとも一つの放電抵抗器を有する励磁装置と、
    前記回転子鉄心、前記固定子および前記励磁装置を収納するフレームと、
    前記フレームに取り付けられて、前記フレーム内の前記回転子、前記固定子、および前記励磁装置を冷却する冷却用気体を冷却する冷却器と、
    を備え、
    前記少なくとも一つの放電抵抗器は、
    前記ロータシャフトの周囲に巻き付けられた抵抗と、
    前記抵抗の間に配され前記抵抗内に隙間を形成する複数の電気絶縁性のスペーサと、
    を有することを特徴とする同期回転電機。
  2. 前記スペーサは、軸方向に対して傾斜して配されていることを特徴とする請求項1に記載の同期回転電機。
  3. 前記少なくとも一つの放電抵抗器は、第1の放電抵抗器および第2の放電抵抗器を有し、
    前記第1の放電抵抗器の抵抗の巻回方向と、前記第2の放電抵抗器の抵抗の巻回方向は互いに逆方向であることを特徴とする請求項1または請求項2に記載の同期回転電機。
  4. 前記第1の放電抵抗器のスペーサの方向と、前記第2の放電抵抗器のスペーサの方向は互いに同一方向であることを特徴とする請求項3に記載の同期回転電機。
  5. 前記第1の放電抵抗器のスペーサの方向と、前記第2の放電抵抗器のスペーサの方向は互いに逆方向であることを特徴とする請求項3に記載の同期回転電機。
  6. ロータシャフトと回転子鉄心と回転子巻線とを有する回転子と、固定子鉄心と固定子巻線とを有する固定子と、前記ロータシャフトとともに回転する回転整流器を有する励磁装置と、前記回転子鉄心、前記固定子および前記励磁装置を収納するフレームと、前記フレームに取り付けられて、前記フレーム内の前記回転子、前記固定子、および前記励磁装置を冷却する冷却用気体を冷却する冷却器とを備える同期回転電機の前記励磁装置の放電抵抗器であって、
    前記ロータシャフトの周囲に巻き付けられた抵抗と、
    前記抵抗の間に配され前記抵抗内に隙間を形成する複数の電気絶縁性のスペーサと、
    を有することを特徴とする放電抵抗器。
JP2019088812A 2019-05-09 2019-05-09 同期回転電機および放電抵抗器 Active JP7189835B2 (ja)

Priority Applications (2)

Application Number Priority Date Filing Date Title
JP2019088812A JP7189835B2 (ja) 2019-05-09 2019-05-09 同期回転電機および放電抵抗器
CN202010385664.XA CN111917241B (zh) 2019-05-09 2020-05-09 同步旋转电机及放电电阻器

Applications Claiming Priority (1)

Application Number Priority Date Filing Date Title
JP2019088812A JP7189835B2 (ja) 2019-05-09 2019-05-09 同期回転電機および放電抵抗器

Publications (2)

Publication Number Publication Date
JP2020184853A true JP2020184853A (ja) 2020-11-12
JP7189835B2 JP7189835B2 (ja) 2022-12-14

Family

ID=73044758

Family Applications (1)

Application Number Title Priority Date Filing Date
JP2019088812A Active JP7189835B2 (ja) 2019-05-09 2019-05-09 同期回転電機および放電抵抗器

Country Status (2)

Country Link
JP (1) JP7189835B2 (ja)
CN (1) CN111917241B (ja)

Families Citing this family (1)

* Cited by examiner, † Cited by third party
Publication number Priority date Publication date Assignee Title
CN112635140A (zh) * 2020-12-18 2021-04-09 广东意杰科技有限公司 大功率高脉冲吸能电阻器

Citations (6)

* Cited by examiner, † Cited by third party
Publication number Priority date Publication date Assignee Title
JPS5361010U (ja) * 1976-10-27 1978-05-24
JPS55121601A (en) * 1979-03-14 1980-09-18 Tokyo Shibaura Electric Co Discharge resistor for rotary electric machine
JPS57170674U (ja) * 1981-04-23 1982-10-27
JPS5961455A (ja) * 1982-09-30 1984-04-07 Toshiba Corp ブラシレス励磁装置
JPH06343250A (ja) * 1993-05-31 1994-12-13 Toshiba Corp ブラシレス同期電動機
JPH07329740A (ja) * 1994-06-07 1995-12-19 Meidensha Corp 車両用リターダ

Family Cites Families (6)

* Cited by examiner, † Cited by third party
Publication number Priority date Publication date Assignee Title
JP4622475B2 (ja) * 2004-11-22 2011-02-02 ウシオ電機株式会社 トランス
EP2854140A1 (de) * 2013-09-26 2015-04-01 Siemens Aktiengesellschaft Widerstandsmodul zur Anlaufmomenterhöhung für einen Läufer einer elektrischen Maschine mit einer Läuferwicklung
CN203690033U (zh) * 2013-12-31 2014-07-02 天津市先导倍尔电气有限公司 一种高转速同步电动机无刷励磁装置用放电电阻器
CN203708124U (zh) * 2014-01-21 2014-07-09 天津市先导倍尔电气有限公司 一种高转速同步电动机无刷励磁旋转整流器
JP6637683B2 (ja) * 2015-06-19 2020-01-29 東芝三菱電機産業システム株式会社 回転電機
JP6930177B2 (ja) * 2017-03-30 2021-09-01 スミダコーポレーション株式会社 トランス及びトランスの製造方法

Patent Citations (6)

* Cited by examiner, † Cited by third party
Publication number Priority date Publication date Assignee Title
JPS5361010U (ja) * 1976-10-27 1978-05-24
JPS55121601A (en) * 1979-03-14 1980-09-18 Tokyo Shibaura Electric Co Discharge resistor for rotary electric machine
JPS57170674U (ja) * 1981-04-23 1982-10-27
JPS5961455A (ja) * 1982-09-30 1984-04-07 Toshiba Corp ブラシレス励磁装置
JPH06343250A (ja) * 1993-05-31 1994-12-13 Toshiba Corp ブラシレス同期電動機
JPH07329740A (ja) * 1994-06-07 1995-12-19 Meidensha Corp 車両用リターダ

Also Published As

Publication number Publication date
JP7189835B2 (ja) 2022-12-14
CN111917241B (zh) 2023-05-09
CN111917241A (zh) 2020-11-10

Similar Documents

Publication Publication Date Title
JP4999990B2 (ja) 回転電動機およびそれを用いた送風機
JP3400924B2 (ja) 電動ポンプ
JP6507723B2 (ja) 軸流ファンおよびファンユニット
US20130026868A1 (en) Electric Machine With Enhanced Cooling
JPWO2011042975A1 (ja) ファンモーター及びこれを備えた空気調和機
JP6925502B2 (ja) 電動送風機、電気掃除機および手乾燥装置
JP2016146735A (ja) 単相ブラシレスモータ
US3719843A (en) Dynamoelectric machine cooling arrangement
JP2024144650A (ja) 回転機器
JP2013046554A (ja) 回転電機
JP6993892B2 (ja) アキシャルギャップ型回転電機
JP2018007487A (ja) 回転機
JP7125864B2 (ja) 回転電機
CN111917241B (zh) 同步旋转电机及放电电阻器
US12334795B2 (en) Rotary electrical machine refrigerant flow passage partition wall gap
RU2360352C1 (ru) Электрическая машина
JP2020010510A (ja) 回転電機および回転子
JP6586436B2 (ja) 回転電機およびその回転子
JP6172234B2 (ja) 電動機および送風装置
US2271981A (en) Dynamoelectric machine
TW201926856A (zh) 無槽式電動機、以及使用其之電動送風機或電動吸塵器
JP2013215028A (ja) 単相誘導モータ
JP2017200354A (ja) ブラシレス回転電機
JP6762238B2 (ja) モータ
KR102605219B1 (ko) 회전 전기 기기

Legal Events

Date Code Title Description
RD01 Notification of change of attorney

Free format text: JAPANESE INTERMEDIATE CODE: A7421

Effective date: 20200528

A621 Written request for application examination

Free format text: JAPANESE INTERMEDIATE CODE: A621

Effective date: 20210623

A977 Report on retrieval

Free format text: JAPANESE INTERMEDIATE CODE: A971007

Effective date: 20220526

A131 Notification of reasons for refusal

Free format text: JAPANESE INTERMEDIATE CODE: A131

Effective date: 20220531

A521 Request for written amendment filed

Free format text: JAPANESE INTERMEDIATE CODE: A523

Effective date: 20220801

TRDD Decision of grant or rejection written
A01 Written decision to grant a patent or to grant a registration (utility model)

Free format text: JAPANESE INTERMEDIATE CODE: A01

Effective date: 20221129

A61 First payment of annual fees (during grant procedure)

Free format text: JAPANESE INTERMEDIATE CODE: A61

Effective date: 20221202

R150 Certificate of patent or registration of utility model

Ref document number: 7189835

Country of ref document: JP

Free format text: JAPANESE INTERMEDIATE CODE: R150

R250 Receipt of annual fees

Free format text: JAPANESE INTERMEDIATE CODE: R250