JP2020177458A - 静電容量型パネルセンサ - Google Patents
静電容量型パネルセンサ Download PDFInfo
- Publication number
- JP2020177458A JP2020177458A JP2019079372A JP2019079372A JP2020177458A JP 2020177458 A JP2020177458 A JP 2020177458A JP 2019079372 A JP2019079372 A JP 2019079372A JP 2019079372 A JP2019079372 A JP 2019079372A JP 2020177458 A JP2020177458 A JP 2020177458A
- Authority
- JP
- Japan
- Prior art keywords
- signal
- electrode line
- capacitance
- panel sensor
- capacitance type
- Prior art date
- Legal status (The legal status is an assumption and is not a legal conclusion. Google has not performed a legal analysis and makes no representation as to the accuracy of the status listed.)
- Pending
Links
Images
Landscapes
- Geophysics And Detection Of Objects (AREA)
Description
本発明は、A/D変換入力のダイナミックレンジの制限によって検出信号の増幅率が制限され、かつ、検出対象物の有りと無しとの検出信号の差が小さい場合であっても精度良く検出対象物を検出することができる静電容量型パネルセンサに関する。
静電容量型タッチパネルは、入出力デバイスに多用されている。静電容量型タッチパネルは、センサ表面にガラスやアクリルなどの厚く硬い加飾パネルを用いることができるという利点がある。静電容量型タッチパネルは、縦横にパターニングされた透明電極を組み合わせ、センサーパネルの表面に指を近づけると、近づけた部分の電極に容量変化が生じ、この容量変化を検出することで指の位置を特定する。
ところで、静電容量型タッチパネルは、ショーケースの商品棚や倉庫棚の上面に配置し、この静電容量型タッチパネルの上面に載置される商品などの検出対象物を検出する静電容量型パネルセンサとして利用することができる。しかし、検出対象物の有無による静電容量変化は、10%程度である。このため、検出感度を上げようとする場合、アンプによって検出信号を増幅することが考えられる。しかし、検出信号はA/D変換されるため、増幅された検出信号の振幅がA/D変換入力のダイナミックレンジを超えてしまい、検出対象物の有無を検出できなくなってしまう場合があった。
特に、検出対象物の誘電率が低い場合、検出対象物が有りのときと、無いときとの検出信号の差が小さく、検出信号を増幅しようとしてもダイナミックレンジの制限によって検出対象物の有無を精度良く検出できない場合があった。
本発明は、上記に鑑みてなされたものであって、A/D変換入力のダイナミックレンジの制限によって検出信号の増幅率が制限され、かつ、検出対象物の有りと無しとの検出信号の差が小さい場合であっても精度良く検出対象物を検出することができる静電容量型パネルセンサを提供することを目的とする。
上述した課題を解決し、目的を達成するために、本発明にかかる静電容量型パネルセンサは、送信電極線群パターンの送信電極線と受信電極線群パターンの受信電極線とが直交し電極シートの表裏に離隔配置され、前記送信電極線と前記受信電極線との交差点をマトリクス状に形成したセンサ基板上に検出対象物が載置された場合における各交差点の静電容量変化を検出する静電容量型パネルセンサであって、前記送信電極線に入力される送信信号を用いて、前記送信信号と同位相であって、前記検出対象物が載置されていない場合の前記交差点の静電容量と同等の静電容量を介して流れる電流波形を有した基準信号を生成する基準信号生成部と、前記受信電極線からの受信信号と前記基準信号との差分を増幅した信号を検出信号として出力する差動アンプと、を備えたことを特徴とする。
また、本発明にかかる静電容量型パネルセンサは、上記の発明において、前記基準信号生成部は、前記検出対象物が載置された場合の静電容量変化が小さくなるに従って、前記基準信号のレベルを、前記検出対象物が載置されていない場合の受信信号のレベルに近づけることを特徴とする。
また、本発明にかかる静電容量型パネルセンサは、上記の発明において、前記基準信号生成部は、前記交差点の静電容量と同等の静電容量を有し、前記送信信号が入力されるコンデンサと、前記コンデンサから出力される信号レベルに対してゲイン調整した信号を前記基準信号として前記差動アンプに出力するゲイン調整アンプと、を備えたことを特徴とする。
また、本発明にかかる静電容量型パネルセンサは、上記の発明において、前記コンデンサは、前記送信電極線群パターンの各送信電極線の入力側にそれぞれ接続される複数のコンデンサであることを特徴とする。
また、本発明にかかる静電容量型パネルセンサは、上記の発明において、前記コンデンサは、前記送信電極線群パターンの各送信電極線の入力側にそれぞれ静電結合する配線パターン間の容量であることを特徴とする。
また、本発明にかかる静電容量型パネルセンサは、上記の発明において、前記配線パターンは、前記送信電極線群パターンと前記受信電極線群パターンとを表裏に形成する電極シートの前記受信電極線群パターン側に形成されることを特徴とする。
また、本発明にかかる静電容量型パネルセンサは、上記の発明において、複数の異なる静電容量を有し、前記送信信号が入力される複数のコンデンサと、前記複数のコンデンサのうちのいずれか一つを選択し、選択されたコンデンサを介した信号を前記基準信号として前記差動アンプに出力する選択スイッチと、を備えたことを特徴とする。
また、本発明にかかる静電容量型パネルセンサは、上記の発明において、前記検出対象物は商品棚上に陳列される商品であり、前記センサ基板は前記商品棚上に配置されることを特徴とする。
本発明によれば、A/D変換入力のダイナミックレンジの制限によって検出信号の増幅率が制限され、かつ、検出対象物が有りと無しとの検出信号の差が小さい場合であっても精度良く検出対象物を検出することができる。
以下、添付図面を参照してこの発明を実施するための形態について説明する。
<全体構成>
図1は、本発明の実施の形態である静電容量型パネルセンサ1の全体構成を示す斜視図である。また、図2は、図1に示した静電容量型パネルセンサ1の断面構成を示す図である。なお、静電容量型パネルセンサ1は、表面側(+Z方向)に載置された検出対象物の有無を静電容量の変化によって検出するセンサである。例えば、ショーケースの商品棚に載置された缶飲料、ペットボトル、煙草、薬などを商品の有無を検出する。図1に示すように、静電容量型パネルセンサ1は、検出対象物が載置される検出領域Eとマトリクス駆動部EAとを有するセンサ基板2である。
図1は、本発明の実施の形態である静電容量型パネルセンサ1の全体構成を示す斜視図である。また、図2は、図1に示した静電容量型パネルセンサ1の断面構成を示す図である。なお、静電容量型パネルセンサ1は、表面側(+Z方向)に載置された検出対象物の有無を静電容量の変化によって検出するセンサである。例えば、ショーケースの商品棚に載置された缶飲料、ペットボトル、煙草、薬などを商品の有無を検出する。図1に示すように、静電容量型パネルセンサ1は、検出対象物が載置される検出領域Eとマトリクス駆動部EAとを有するセンサ基板2である。
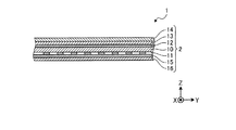
図2に示すように、センサ基板2は、電極シートであるPETフィルム10の裏面(−Z方向)に複数の送信電極線11からなる送信電極線パターンが描かれ、表面に複数の受信電極線12からなる受信電極線パターンが描かれている。複数の送信電極線11は、X方向に延びて所定のピッチで平行配置される。複数の受信電極線12は、Y方向に延びて所定のピッチで平行配置される。複数の送信電極線11と複数の受信電極線12とは、PETフィルム10の厚みの間隔で離隔配置され、Z方向からみた、複数の送信電極線11と複数の受信電極線12との交差点がマトリクス状に配置される。静電容量型パネルセンサ1は、各交差点での静電容量変化を検出し、2次元の静電容量変化画像を生成することによって、上部に載置された検出対象物の有無を検出することができる。
受信電極線パターンの表面側及び送信電極線パターンの裏面側には、それぞれ両面テープ13,15を介してそれぞれ保護膜としてのPETフィルム14,16が積層される。
なお、センサ基板2は、コネクタ1aを介して検出部3に接続される。検出部3は、送信信号を送信電極線11に出力し、受信電極線12から出力される検出信号を受信して検出対象物の有無を検出する。
<検出動作>
次に、静電容量型パネルセンサ1の動作について説明する。図3に示すように、静電容量型パネルセンサ1は、PETフィルム10を挟んで複数の送信電極線11及び複数の受信電極線12が直交して配置される。
次に、静電容量型パネルセンサ1の動作について説明する。図3に示すように、静電容量型パネルセンサ1は、PETフィルム10を挟んで複数の送信電極線11及び複数の受信電極線12が直交して配置される。
図4に示すように、複数の送信電極線11及び複数の受信電極線12が直交する交差点は、PETフィルム10の厚みの間隔で離隔されているため、結合容量Ceが発生している。この状態で、検出部3は、送信電極線11に30Vの矩形波信号Siを印加すると、受信電極線12から各交差点に対応する検出信号SBが出力される。
検出部3から入力された送信信号である矩形波信号Siは、セレクタ20を介して各送信電極線11に出力される。この際、矩形波信号Siは、アンプ21によって増幅される。各受信電極線12からは、各送信電極線11との各交差点で発生した検出信号をセレクタ22を介して出力され、その後、アンプ23によって増幅された検出信号SBを差動アンプ31の+端に出力する。
一方、ゲイン調整アンプ30には、送信線11aに接続される静電容量Ccを有するコンデンサ33を介した送信信号Siを増幅し、この増幅した校正信号SCを基準信号として差動アンプ31の−端に出力する。なお、校正信号SCは、静電容量型パネルセンサ1の表面に検出対象物が載置されていない状態における検出信号SB0を模擬する信号であり、ゲイン調整アンプ30は、コンデンサ33を介して入力される送信信号Siのゲインが調整されている。
差動アンプ31は、検出信号SBから校正信号SCを減算した差分を増幅した検出信号SAとして検出部3に出力する。
コンデンサ33、ゲイン調整アンプ30は、基準信号生成部として機能し、この基準信号生成部及び差動アンプ31を設けない場合、検出信号SBがそのまま検出部3に出力される。ここで、検出対象物が載置された状態の検出信号SBを検出信号SB1とし、検出対象物が載置されない状態の検出信号SBを検出信号SB0とすると、検出部3は、検出信号SB0と検出信号SB1との差ΔSBをもとに、検出対象物の載置有無を検出する。ここで、検出対象物が煙草などの誘電率が低いものである場合、静電容量変化は小さく、この差ΔSBが極めて小さくなる。そこで、アンプ23のゲインを大きくし、あるいは高段にアンプを設けてゲインを大きくした場合、検出部3のA/D変換入力のダイナミックレンジを超えてしまい、検出対象物の有無を検出することができない。
そこで、本実施の形態では、基準信号生成部及び差動アンプ31を設けて校正信号SCを生成し、差動アンプ31が検出信号SBから校正信号SCを差し引いた信号を増幅した検出信号SAを検出部3に出力している。校正信号SCは、検出信号SB0に近い値である。検出信号SA0は、検出信号SB0から校正信号SCを差し引いて増幅した信号であり、検出信号SA1は、検出信号SB1から校正信号SCを差し引いて増幅した信号である。この検出信号SA0と検出信号SA1との差ΔSAは、A/D変換入力のダイナミックレンジ内に十分収まる値となり、しかも差ΔSBを拡大した値である。これにより、検出対象物が煙草などの誘電率が低いものであって静電容量変化が小さい場合であっても、A/D変換入力のダイナミックレンジ内で検出感度を向上させることができる。
図5は、検出信号SAの値をもとに生成した底面形状画像Dの一例を示す図である。この底面形状画像Dは、XY平面の2次元画像である。図5では、静電容量型パネルセンサ1上に煙草を載置した場合の底面形状画像Dを示している。底面形状画像D内にペットボトルの底面に対応する2次元位置に画像Daが現れている。検出部3は、この底面形状画像Dを利用する図示しない外部装置に出力する。
<検出動作の詳細>
図6は、図4に示した交差点であるA部の送信電極線11と受信電極線12との間で生成する電気力線の状態及び電流の流れを示す図である。まず、検出部3から送信された矩形波信号Siは、入力電流iとして送信電極線11を流れる。入力電流iは、受信電極線12の交差点では結合容量Ceを介した変位電流分である出力電流i0が受信電極線12に流れる。ここで、送信電極線11と受信電極線12との間の電気力線は、静電容量型パネルセンサ1の上部に検出対象物100が載置されている場合、検出対象物100側への電気力線が増大し、検出対象物100に対して微小な変位電流分が漏れ電流i1として流れる。この結果、受信電極線12を流れる出力電流は、出力電流i0から漏れ電流i1分、差し引いた出力電流(i0−i1)となる。この差は上記の差ΔSBである。
図6は、図4に示した交差点であるA部の送信電極線11と受信電極線12との間で生成する電気力線の状態及び電流の流れを示す図である。まず、検出部3から送信された矩形波信号Siは、入力電流iとして送信電極線11を流れる。入力電流iは、受信電極線12の交差点では結合容量Ceを介した変位電流分である出力電流i0が受信電極線12に流れる。ここで、送信電極線11と受信電極線12との間の電気力線は、静電容量型パネルセンサ1の上部に検出対象物100が載置されている場合、検出対象物100側への電気力線が増大し、検出対象物100に対して微小な変位電流分が漏れ電流i1として流れる。この結果、受信電極線12を流れる出力電流は、出力電流i0から漏れ電流i1分、差し引いた出力電流(i0−i1)となる。この差は上記の差ΔSBである。
一方、送信線11aには、コンデンサ33が接続され、このコンデンサ33を介した変位電流(校正電流)分が出力電流i0´としてゲイン調整アンプ30側に流れる。この結果、差動アンプ31は、検出対象物100が載置されていないときの検出電流SA0は、出力電流i0から出力電流i0´を減算して所定ゲインG分、増幅した値となる。また、検出対象物100が載置されているときの検出電流SA1は、出力電流i0から、漏れ電流i1及び出力電流i0´を減算して所定ゲインG分、増幅した値となる。ここで、出力電流i0と出力電流i0´の値が近い値であると、検出電流SA0は、ほぼ0になり、検出電流SA1は、(−i1)となり、検出対象物100に流れた漏れ電流i1のみを検出できることになる。
なお、ゲイン調整アンプ30のゲインは、静電容量型パネルセンサ1に載置される検出対象物100の誘電率や形状などによって予め設定しておくことができる。検出対象物100の誘電率が低く、差ΔSBが小さい場合には、出力電流i0と出力電流i0´との値が近くなるようにゲイン調整しておき、検出対象物100の誘電率が高く、差ΔSBが大きい場合には、出力電流i0´の値が出力電流i0よりも小さくなるようにゲイン調整しておけばよい。すなわち、差ΔSAがA/D変換入力のダイナミックレンジ内に収まり、かつ、大きな値となるようにゲイン調整する。
<変形例1>
図7は、変形例1による静電容量型パネルセンサの構成を示す回路図である。上述した実施の形態では、送信線11aにコンデンサ33を直接接続し、送信線11aから矩形波信号Siを直接取得するようにしていたが、本変形例1では、アンプ21の後段であって、検出領域E外に、送信電極線11に直交する校正電極線40を設けるとともに、各送信電極線11と校正電極線40との間にそれぞれコンデンサ34を設け、校正電極線40を介して矩形波信号Siを得るようにしている。なお、コンデンサ34は、静電容量Ccである。また、校正電極線40は、受信電極線12に対して平行配置されることになる。
図7は、変形例1による静電容量型パネルセンサの構成を示す回路図である。上述した実施の形態では、送信線11aにコンデンサ33を直接接続し、送信線11aから矩形波信号Siを直接取得するようにしていたが、本変形例1では、アンプ21の後段であって、検出領域E外に、送信電極線11に直交する校正電極線40を設けるとともに、各送信電極線11と校正電極線40との間にそれぞれコンデンサ34を設け、校正電極線40を介して矩形波信号Siを得るようにしている。なお、コンデンサ34は、静電容量Ccである。また、校正電極線40は、受信電極線12に対して平行配置されることになる。
<変形例2>
図8は、変形例2による静電容量型パネルセンサの構成を示す回路図である。変形例1では、校正電極線40と送信電極線11との間にコンデンサ34を設けるようにしていたが、本変形例2では、校正電極線40に替えてベタな配線パターンである平板校正電極線41を設け、送信電極線11と平板校正電極線41との間をそれぞれ静電結合し、それぞれ静電容量Ccが生成できるようにしている。
図8は、変形例2による静電容量型パネルセンサの構成を示す回路図である。変形例1では、校正電極線40と送信電極線11との間にコンデンサ34を設けるようにしていたが、本変形例2では、校正電極線40に替えてベタな配線パターンである平板校正電極線41を設け、送信電極線11と平板校正電極線41との間をそれぞれ静電結合し、それぞれ静電容量Ccが生成できるようにしている。
なお、配線パターンである平板校正電極線41は、送信電極線群パターンと受信電極線群パターンとを表裏に形成するPETフィルム10の受信電極線群パターン側に形成される。なお、平板校正電極線41は、校正電極線40と同様に、アンプ21の後段であって、検出領域E外に設けられる。
<変形例3>
図9は、変形例3による静電容量型パネルセンサの構成を示す回路図である。上述した実施の形態及び変形例1,2では、静電容量型パネルセンサ1に載置される検出対象物に応じてゲイン調整アンプ30のゲインを調整していたが、本変形例2では、複数の異なるコンデンサ33,33´,33´´を送信線11aに予め接続しておき、静電容量型パネルセンサ1に載置される検出対象物に応じたコンデンサ33,33´,33´´をセレクタ43によって選択し、選択したコンデンサ33,33´,33´´を経由した矩形波信号Siをゲイン調整アンプ30に入力するようにしている。この場合、ゲイン調整アンプ30は調整せず、セレクタ43の選択設定のみでよい。
図9は、変形例3による静電容量型パネルセンサの構成を示す回路図である。上述した実施の形態及び変形例1,2では、静電容量型パネルセンサ1に載置される検出対象物に応じてゲイン調整アンプ30のゲインを調整していたが、本変形例2では、複数の異なるコンデンサ33,33´,33´´を送信線11aに予め接続しておき、静電容量型パネルセンサ1に載置される検出対象物に応じたコンデンサ33,33´,33´´をセレクタ43によって選択し、選択したコンデンサ33,33´,33´´を経由した矩形波信号Siをゲイン調整アンプ30に入力するようにしている。この場合、ゲイン調整アンプ30は調整せず、セレクタ43の選択設定のみでよい。
なお、本実施の形態及び変形例で示した静電容量型パネルセンサ1は、ショーケースの商品棚や倉庫棚以外にも適用することができる。たとえば、ベルトコンベアなどの搬送路上に静電容量型パネルセンサ1を設けることによって、搬送される物品の形状や材料を検出することができる。
また、上記の実施の形態及び変形例で図示した各構成は機能概略的なものであり、必ずしも物理的に図示の構成をされていることを要しない。すなわち、各装置及び構成要素の分散・統合の形態は図示のものに限られず、その全部又は一部を各種の使用状況などに応じて、任意の単位で機能的又は物理的に分散・統合して構成することができる。
1 静電容量型パネルセンサ
1a コネクタ
2 センサ基板
3 検出部
10,14,16 PETフィルム
11 送信電極線
11a 送信線
12 受信電極線
13,15 両面テープ
20,22,43 セレクタ
21,23 アンプ
30 ゲイン調整アンプ
31 差動アンプ
33,33´,33´´,34 コンデンサ
40 校正電極線
41 平板校正電極線
100 検出対象物
Cc 静電容量
Ce 結合容量
D 底面形状画像
Da 画像
E 検出領域
EA マトリクス駆動部
G 所定ゲイン
i 入力電流
i0,i0´ 出力電流
i1 漏れ電流
SA,SA0,SA1,SB,SB0,SB1 検出信号
SC 校正信号
Si 矩形波信号
ΔSA,ΔSB 差
1a コネクタ
2 センサ基板
3 検出部
10,14,16 PETフィルム
11 送信電極線
11a 送信線
12 受信電極線
13,15 両面テープ
20,22,43 セレクタ
21,23 アンプ
30 ゲイン調整アンプ
31 差動アンプ
33,33´,33´´,34 コンデンサ
40 校正電極線
41 平板校正電極線
100 検出対象物
Cc 静電容量
Ce 結合容量
D 底面形状画像
Da 画像
E 検出領域
EA マトリクス駆動部
G 所定ゲイン
i 入力電流
i0,i0´ 出力電流
i1 漏れ電流
SA,SA0,SA1,SB,SB0,SB1 検出信号
SC 校正信号
Si 矩形波信号
ΔSA,ΔSB 差
Claims (8)
- 送信電極線群パターンの送信電極線と受信電極線群パターンの受信電極線とが直交し電極シートの表裏に離隔配置され、前記送信電極線と前記受信電極線との交差点をマトリクス状に形成したセンサ基板上に検出対象物が載置された場合における各交差点の静電容量変化を検出する静電容量型パネルセンサであって、
前記送信電極線に入力される送信信号を用いて、前記送信信号と同位相であって、前記検出対象物が載置されていない場合の前記交差点の静電容量と同等の静電容量を介して流れる電流波形を有した基準信号を生成する基準信号生成部と、
前記受信電極線からの受信信号と前記基準信号との差分を増幅した信号を検出信号として出力する差動アンプと、
を備えたことを特徴とする静電容量型パネルセンサ。 - 前記基準信号生成部は、前記検出対象物が載置された場合の静電容量変化が小さくなるに従って、前記基準信号のレベルを、前記検出対象物が載置されていない場合の受信信号のレベルに近づけることを特徴とする請求項1に記載の静電容量型パネルセンサ。
- 前記基準信号生成部は、
前記交差点の静電容量と同等の静電容量を有し、前記送信信号が入力されるコンデンサと、
前記コンデンサから出力される信号レベルに対してゲイン調整した信号を前記基準信号として前記差動アンプに出力するゲイン調整アンプと、
を備えたことを特徴とする請求項1又は2に記載の静電容量型パネルセンサ。 - 前記コンデンサは、前記送信電極線群パターンの各送信電極線の入力側にそれぞれ接続される複数のコンデンサであることを特徴とする請求項3に記載の静電容量型パネルセンサ。
- 前記コンデンサは、前記送信電極線群パターンの各送信電極線の入力側にそれぞれ静電結合する配線パターン間の容量であることを特徴とする請求項3に記載の静電容量型パネルセンサ。
- 前記配線パターンは、前記送信電極線群パターンと前記受信電極線群パターンとを表裏に形成する電極シートの前記受信電極線群パターン側に形成されることを特徴とする請求項5に記載の静電容量型パネルセンサ。
- 複数の異なる静電容量を有し、前記送信信号が入力される複数のコンデンサと、
前記複数のコンデンサのうちのいずれか一つを選択し、選択されたコンデンサを介した信号を前記基準信号として前記差動アンプに出力する選択スイッチと、
を備えたことを特徴とする請求項1又は2に記載の静電容量型パネルセンサ。 - 前記検出対象物は商品棚上に陳列される商品であり、前記センサ基板は前記商品棚上に配置されることを特徴とする請求項1〜7のいずれか一つに記載の静電容量型パネルセンサ。
Priority Applications (1)
| Application Number | Priority Date | Filing Date | Title |
|---|---|---|---|
| JP2019079372A JP2020177458A (ja) | 2019-04-18 | 2019-04-18 | 静電容量型パネルセンサ |
Applications Claiming Priority (1)
| Application Number | Priority Date | Filing Date | Title |
|---|---|---|---|
| JP2019079372A JP2020177458A (ja) | 2019-04-18 | 2019-04-18 | 静電容量型パネルセンサ |
Publications (1)
| Publication Number | Publication Date |
|---|---|
| JP2020177458A true JP2020177458A (ja) | 2020-10-29 |
Family
ID=72936669
Family Applications (1)
| Application Number | Title | Priority Date | Filing Date |
|---|---|---|---|
| JP2019079372A Pending JP2020177458A (ja) | 2019-04-18 | 2019-04-18 | 静電容量型パネルセンサ |
Country Status (1)
| Country | Link |
|---|---|
| JP (1) | JP2020177458A (ja) |
-
2019
- 2019-04-18 JP JP2019079372A patent/JP2020177458A/ja active Pending
Similar Documents
| Publication | Publication Date | Title |
|---|---|---|
| US10852873B2 (en) | Pressure-sensitive detection apparatus, electronic device, and touch display screen | |
| US9348470B2 (en) | Projected capacitance touch panel with reference and guard electrode | |
| US8841927B2 (en) | Touch sensing circuit | |
| US8937607B2 (en) | Capacitive touch panel with dynamically allocated electrodes | |
| CN103294295B (zh) | 一种互感式电容性触摸屏 | |
| EP2750001B1 (en) | Touch panel and touch detecting method therefor | |
| US20110102353A1 (en) | Touch panel apparatus and a method for detecting a contact position on the same | |
| JP2016136414A (ja) | タッチ入力装置 | |
| JP2019517001A (ja) | 膜厚の検出装置 | |
| JP6845590B2 (ja) | 透明なタッチスクリーン型パラメトリックエミッタ | |
| US10001884B2 (en) | Voltage driven self-capacitance measurement | |
| JP4941938B2 (ja) | 容量変化検出回路、タッチパネル及び判定方法 | |
| JP2007533220A5 (ja) | ||
| JP2020177458A (ja) | 静電容量型パネルセンサ | |
| TWI514225B (zh) | 電容式觸控模組 | |
| JP2019522792A (ja) | 膜厚検出装置及び方法 | |
| KR20140045378A (ko) | 다수의 물체들을 검출하기 위한 용량성 센서 및 방법 | |
| CN106462282A (zh) | 判定触摸屏幕上触摸力量的悬臂式位移传感器及方法 | |
| JP2020177477A (ja) | 静電容量型パネルセンサ | |
| TW201706814A (zh) | 觸控偵測方法與電容式感測裝置 | |
| KR102786037B1 (ko) | 정전 용량 검출 장치, 및, 정전 용량 검출 방법 | |
| WO2015037170A1 (ja) | タッチパネルシステムおよび電子機器 | |
| KR102644978B1 (ko) | 표시 장치, 상호 정전 용량 감지 시스템 및 방법 | |
| US20230221150A1 (en) | Capacitance detection device | |
| JP2020009358A (ja) | 静電容量型パネルセンサ |