JP2019156458A - 保温搬送容器および搬送方法 - Google Patents

保温搬送容器および搬送方法 Download PDF

Info

Publication number
JP2019156458A
JP2019156458A JP2018047573A JP2018047573A JP2019156458A JP 2019156458 A JP2019156458 A JP 2019156458A JP 2018047573 A JP2018047573 A JP 2018047573A JP 2018047573 A JP2018047573 A JP 2018047573A JP 2019156458 A JP2019156458 A JP 2019156458A
Authority
JP
Japan
Prior art keywords
heat insulating
insulating material
heat
container
temperature
Prior art date
Legal status (The legal status is an assumption and is not a legal conclusion. Google has not performed a legal analysis and makes no representation as to the accuracy of the status listed.)
Pending
Application number
JP2018047573A
Other languages
English (en)
Inventor
正忠 坂井
Masatada Sakai
正忠 坂井
利公 川守田
Toshikimi Kawamorita
利公 川守田
圭司 佐藤
Keiji Sato
圭司 佐藤
理沙 楢原
Risa Narahara
理沙 楢原
Current Assignee (The listed assignees may be inaccurate. Google has not performed a legal analysis and makes no representation or warranty as to the accuracy of the list.)
TAMAI KASEI KK
Kaneka Corp
Original Assignee
TAMAI KASEI KK
Kaneka Corp
Priority date (The priority date is an assumption and is not a legal conclusion. Google has not performed a legal analysis and makes no representation as to the accuracy of the date listed.)
Filing date
Publication date
Application filed by TAMAI KASEI KK, Kaneka Corp filed Critical TAMAI KASEI KK
Priority to JP2018047573A priority Critical patent/JP2019156458A/ja
Publication of JP2019156458A publication Critical patent/JP2019156458A/ja
Pending legal-status Critical Current

Links

Images

Landscapes

  • Packages (AREA)

Abstract

【課題】−60℃以下の管理温度領域において温度管理対象物品を温度保持した状態で、温度管理対象物品を輸送可能な、新規の保温搬送容器を提供すること。
【解決手段】温度管理対象物品を収納するための収納空間である第1収納部と、前記第1収納部を形成する第1断熱材部と、前記第1断熱材部の外側を覆うように設けられた第2断熱材部と、を備え、前記第1収納部には、第1の蓄冷材が配置され、前記第1断熱材部と前記第2断熱材部との間には、第2の蓄冷材が配置されてなり、前記第1の蓄冷材が特定の融解温度を有する、保温搬送容器。
【選択図】図1

Description

本発明は、保温搬送容器および搬送方法に関する。
医薬品、医療機器、細胞、検体、臓器、化学物質または食品等の物品を保温した状態で輸送または保管する方法としては、次のような方法があげられる。すなわち、断熱性を有する容器内に、予め凍結または凝固させた、蓄冷材または蓄熱材を配置して保温搬送容器とし、当該蓄冷材または蓄熱材の融解潜熱を利用して、保温搬送容器内に収容した物品を温度保持した状態で、輸送または保管する方法である。前述の保温の対象となる物品(以下、「温度管理対象物品」と称する場合がある。)を、所定の温度(以下、「管理温度」と称する場合がある。)範囲内に長時間維持するためには、所定の温度範囲内に融解温度を有する蓄冷材または蓄熱材、および、断熱性を有する容器、を備えた保温搬送容器を用いることが好ましいとされている。
従来、蓄冷材または蓄熱材を備えた保温搬送容器(搬送容器または輸送容器とも称する)として、特許文献1〜3に挙げられるような保温搬送容器が知られている。
特許文献1には、搬送物を収納するための収納空間を有する第1内壁と、第1内壁との間に真空空間を形成するように第1内壁の外側に設けられる第1外壁と、を有する第1容器と、断熱性を有し、第1容器の第1開口部を着脱自在に密封する第1蓋と、第1容器及び第1蓋を収納する空間を有する第2内壁と、第2内壁との間に真空空間を形成するように第2内壁の外側に設けられる第2外壁と、を有する第2容器と、断熱性を有し、第2容器の第2開口部を着脱自在に密封する第2蓋と、前記収納空間内の搬送物を取り囲む蓄熱材と、を備えることを特徴とする搬送容器、が記載されている。
特許文献2には、被搬送物を収容する収容室の外側に、断熱材からなる壁体により収容室を取り囲むように形成された閉空間を備え、前記収容室および前記閉空間に、これらの空間を別々に温度制御する別個の温度制御手段が備えられており、前記温度制御手段が、所定の温度に設定された蓄冷材からなる搬送容器、が記載されている。
特許文献3には、真空断熱材等の高性能断熱材により全壁面を構成した第一断熱容器と、第一断熱容器の内側の少なくとも一部に配置される、衝撃吸収部材より構成される低熱伝導性緩衝材と、低熱伝導性緩衝材の内側に配置される、真空断熱材等の高性能断熱材により全壁面を構成した第二断熱容器と、第二断熱容器の内側に配置される気密容器と、気密容器の内側に配置される培養容器収納部とを具備し、第二断熱容器の内側であって、気密容器を囲むように密着した状態で配置される、蓄熱材が封入された第一蓄熱材ボックスを具備し、気密容器の内側であって、培養容器収納部を囲むように密着した状態で配置される、蓄熱材が封入された第二蓄熱材ボックスを具備した細胞輸送容器、が記載されている。
特開2017−202854号公報 特開2004−238051号公報 特開2013−39102号公報
しかしながら、上述した従来の保温搬送容器は、−60℃以下の管理温度領域において温度管理対象物品を長時間温度保持した状態で、温度管理対象物品を輸送する、という観点からは十分なものでなく、さらなる改善の余地があった。
本発明の一実施形態は、上述した問題点に鑑みなされたものであり、その目的は、−60℃以下の管理温度領域において温度管理対象物品を長時間温度保持した状態で、温度管理対象物品を輸送可能な、新規の保温搬送容器を提供することにある。
本発明者らは、前記課題を解決するため鋭意検討した結果、特定の構成を備える保温搬送容器であれば、−60℃以下の管理温度領域において、温度管理対象物品を長時間温度保持した状態で温度管理対象物品を輸送可能である、という新規知見を見出し、本発明を完成するに至った。
すなわち、本発明の一実施形態は、以下の構成を有するものである。
〔1〕温度管理対象物品を収納するための収納空間である第1収納部と、前記第1収納部を形成する第1断熱材部と、前記第1断熱材部の外側を覆うように設けられた第2断熱材部と、を備え、前記第1収納部には、第1の蓄冷材が配置され、前記第1断熱材部と前記第2断熱材部との間には、第2の蓄冷材が配置されてなり、前記第1の蓄冷材の融解温度は、−60℃以下であり、かつ、前記第2の蓄冷材の融解温度より低いものであることを特徴とする保温搬送容器。
〔2〕前記第1の蓄冷材および前記第2の蓄冷材の融解温度の差が45℃以内であることを特徴とする〔1〕に記載の保温搬送容器。
〔3〕前記第2の蓄冷材は、前記第1断熱材部を取り囲むように配置されることを特徴とする〔1〕または〔2〕に記載の保温搬送容器。
〔4〕前記第1断熱材部は、前記第2断熱材部から着脱可能であることを特徴とする〔1〕〜〔3〕の何れか1つに記載の保温搬送容器。
〔5〕前記第1断熱材部と前記第2断熱材部との間に、第2収納部を備えることを特徴とする〔1〕〜〔4〕の何れか1つに記載の保温搬送容器。
〔6〕前記第1断熱材部および前記第2断熱材部は、空気より低い熱伝導率を有する断熱材を備えるものであることを特徴とする〔1〕〜〔5〕の何れか1つに記載の保温搬送容器。
〔7〕〔1〕〜〔6〕の何れか1つに記載の保温搬送容器に、前記温度管理対象物品を収容して輸送することを特徴とする搬送方法。
本発明の一実施形態によれば、−60℃以下の管理温度領域において温度管理対象物品を長時間温度保持した状態で、温度管理対象物品を輸送可能な保温搬送容器を提供できる、という効果を奏する。
(a)は、本発明の一実施形態に係る保温搬送容器の概略構成を示す、鉛直方向に沿った断面図であり、(b)は(a)のA−A’線矢視断面図であり、(c)は(b)のB−B’線矢視断面図である。 本発明の一実施形態の第1の変形例に係る保温搬送容器の概略構成を示す、鉛直方向に沿った断面図である。 本発明の一実施形態の第2の変形例に係る保温搬送容器の概略構成を示す、鉛直方向に沿った断面図である。 (a)は本発明の一実施形態における第1断熱材部の外観を示す概略図であり、(b)は(a)のC−C’線矢視断面図である。
本発明の一実施形態について以下に説明するが、本発明はこれに限定されるものではない。本発明は、以下に説明する各構成に限定されるものではなく、特許請求の範囲に示した範囲で種々の変更が可能である。本発明はまた、異なる実施形態や実施例にそれぞれ開示された技術的手段を適宜組み合わせて得られる実施形態や実施例についても本発明の技術的範囲に含まれる。なお、本明細書中に記載された学術文献および特許文献の全てが、本明細書中において参考文献として援用される。また、本明細書において特記しない限り、数値範囲を表す「A〜B」は、「A以上(Aを含みかつAより大きい)B以下(Bを含みかつBより小さい)」を意図する。
〔本発明の一実施形態の技術的思想〕
特許文献1〜3に記載の保温搬送容器(搬送容器または輸送容器)は、いずれも0℃以上の温度にて、物品を温度保持した状態で、物品を輸送するものである。
しかしながら、温度管理対象物品の中には、0℃以下、−30℃以下、好ましくは−50℃以下、より好ましくは−60℃以下等の低温の管理温度領域にて温度保持した状態で輸送することが必要となる物品がある。そのような物品としては、例えば、冷凍マグロ等の食品、または、バイオ医薬品(抗体など)、細胞、再生細胞、ワクチン、検体、遺伝子治療用ベクター等があげられる。
そのため、−60℃以下の管理温度領域において温度管理対象物品を長時間温度保持した状態で、温度管理対象物品を輸送可能な保温搬送容器の開発が期待されていた。本発明者らは、前記課題を解決するため鋭意検討した結果、特定の構成を備える保温搬送容器であれば、−60℃以下の管理温度領域において、温度管理対象物品を長時間温度保持した状態で温度管理対象物品を輸送可能である、という新規知見を見出し、本発明を完成するに至った。
〔保温搬送容器100〕
本発明の一実施形態に係る保温搬送容器について、図1を用いて説明する。
図1の(a)は、本発明の一実施形態に係る保温搬送容器100の概略構成を示す、鉛直方向に沿った断面図であり、(b)は(a)のA−A’線矢視断面図であり、(c)は(b)のB−B’線矢視断面図である。
保温搬送容器100は、第1断熱材部30と、第1断熱材部30の外側を覆うように設けられた第2断熱材部40と、を備えている。第1断熱材部30は、内部に第1収納部20を有している。第1収納部20には、第1の蓄冷材50が配置されるとともに、温度管理対象物品10が収納されている。第1断熱材部30と第2断熱材部40との間には、第2の蓄冷材60が配置されている。第2断熱材部40の外側を覆うように外装材70が設けられている。
〔温度管理対象物品10〕
収納される温度管理対象物品10としては、特に限定されない。保温搬送容器100であれば、−60℃以下の管理温度領域において温度管理対象物品10を長時間温度保持した状態で、温度管理対象物品10を輸送可能である。そのため、温度管理対象物品10としては、−60℃以下に温度管理されることが望まれる物品であることが好ましい。そのような物品としては、例えば、冷凍マグロ等の食品、または、バイオ医薬品(抗体など)、細胞、再生細胞、ワクチン、検体、遺伝子治療用ベクター等があげられる。
〔第1収納部20〕
第1収納部20は、温度管理対象物品10を収納するための収納空間であり、第1断熱材部30によって形成される。換言すれば、第1断熱材部30は、第1収納部20の周囲を覆うように配置されている。保温搬送容器100において、第1収納部20は、具体的には、後述する、第1断熱材部30の内側容器によって形成される。
第1収納部20において、温度管理対象物品10は3個収納されており、当該温度管理対象物品10は、2個の第1の蓄冷材50の間に挟まれた状態で収納されている。第1収納部20が収納する温度管理対象物品10の個数および総量、ならびに、第1収納部20に配置される第1の蓄冷材50の個数および総量、は特に限定されない。また、第1収納部20において、温度管理対象物品10の収納様式、および、第1の蓄冷材50の配置様式は特に限定されない。例えば、第1収納部20において、温度管理対象物品10と第1の蓄冷材50とが交互に積層された状態であってもよい。
第1収納部の形状および寸法は、特に限定されるものではなく、収納される温度管理対象物品10および配置される第1の蓄冷材50によって適宜設定され得る。
〔第1断熱材部30〕
第1断熱材部30は、円柱形状であり、円柱状の内側容器32、および、内側容器32の外側を覆うように設けられた円柱状の外側容器31を有している。
外側容器31は、外側蓋体31aおよび外側容器本体31bを有している。外側容器本体31bは、円柱状に形成され、かつ、上端に開口部を有している。外側蓋体31aは、外側容器本体31bの開口部を被覆可能であり、かつ、外側容器本体31bの開口部と嵌合可能である形状(保温搬送容器100では、円柱状)に形成されている。
内側容器は、内側蓋体32aおよび内側容器本体32bを有している。内側容器本体32bは、円柱状に形成され、かつ、上端に開口部を有している。内側蓋体32aは、内側容器本体32bの開口部を被覆可能であり、かつ、内側容器本体32bの開口部と嵌合可能である形状(保温搬送容器100では、円柱状)に形成されている。
内側蓋体32aおよび外側蓋体31aは、それぞれ、内側容器本体32bおよび外側容器本体31bと嵌合してはめ合うことにより、内側容器32および外側容器31を、外気に対して閉止するものである。内側蓋体32aおよび内側容器本体32b、ならびに、外側蓋体31aおよび外側容器本体31bは、それぞれ着脱可能である限り、それらの結合様式は嵌合してはめ合う様式に限定されない。上記結合様式としては、例えば、互いに螺合してかみ合う様式であってもよく、または、嵌合および螺合が組み合わされてもよい。
内側容器32は、内側容器本体32bの開口部を介して開閉が可能であり、内側蓋体32aによって内部を密閉状態とすることができる。また、外側容器31は、外側容器本体31bの開口部を介して開閉が可能であり、外側蓋体31aによって内部を密閉状態とすることができる。換言すれば、第1断熱材部30は、内側蓋体32aおよび外側蓋体31a(特に外側蓋体31a)によって、外気に対して閉止され、かつ、内部が密閉状態になり得る。また、内側容器32と外側容器31とは分離可能である。換言すれば、内側容器32は、外側容器31から着脱可能である。
保温搬送容器100では、第1断熱材部30は、2つの容器(内側容器32および外側容器31)を有しているが、第1断熱材部30は、1つの容器から構成されていてもよく、3つ以上の容器から構成されていてもよい。例えば、外側容器31の外側をさらに覆うように、1つ以上の容器が設けられていてもよい。
保温搬送容器100では、第1断熱材部30は、円柱状であるが、第1断熱材部30の形状は特に限定されない。また、第1断熱材部30の寸法も特に限定されない。第1断熱材部30の形状および寸法は、第1収納部の形状および寸法に依存し、具体的には、収納される温度管理対象物品10の形状、寸法および個数、ならびに、収納される第1の蓄冷材50の形状、寸法および個数、に依存して、適宜選択され得る。
第1断熱材部30では、内側容器32および外側容器31は、それぞれ、断熱材によって構成されることが好ましい。具体的には、内側蓋体32a、内側容器本体32b、外側蓋体31a、および外側容器本体31bは、それぞれ、断熱材によって構成されることが好ましい。換言すれば、第1断熱材部30は、断熱材によって構成されることが好ましい。
〔第1断熱材部30’〕
図4を参照して、本発明の一実施形態における第1断熱材部の他の一例を説明する。図4の(a)は、は本発明の一実施形態における第1断熱材部30’の外観を示す概略図であり、図4の(b)は図4の(a)のC−C’線矢視断面図である。
図4に示すように、第1断熱材部30’は円柱形状であり、内側容器34、外側容器33、およびクッション材35を有している。外側容器33は、外側蓋体33aおよび外側容器本体33bを有している。第1断熱材部30’が第1断熱材部30と異なる点は、(i)第1断熱材部30’の内側容器34は蓋体を有していない点、(ii)第1断熱材部30’の外側容器33は、鉛直下方に外側蓋体33aが配置され、鉛直上方に外側容器本体33bが配置されている点、および(iii)クッション材35を有している点、である。
外側容器本体33bは、円柱状に形成され、かつ、下端に開口部を有している。外側蓋体33aは、外側容器本体33bの開口部を被覆可能であり、かつ、外側容器本体33bの開口部と螺合可能である形状(すなわち円柱状)に形成されている。外側蓋体33aは、外側容器本体33bと螺合してかみ合うことにより、外側容器33を、外気に対して閉止するものである。外側蓋体33aおよび外側容器本体33bは、着脱可能である限り、その結合様式は螺合してかみ合う様式に限定されない。上記結合様式としては、例えば、嵌合してはめ合う様式であってもよく、または、螺合および嵌合が組み合わされてもよい。
すなわち、第1断熱材部30’における外側容器33は、外側容器本体33bの開口部を介して開閉が可能であり、外側蓋体33aによって内部を密閉状態とすることができる。換言すれば、第1断熱材部30’は、外側蓋体33aによって、外気に対して閉止され、かつ、内部が密閉状態になり得る。なお、嵌合形式は特に限定されず、前記〔第1断熱材部30〕の項の説明が適宜援用される。
内側容器34は、円柱状に形成され、かつ、上端に開口部を有している。内側容器34は、開口部を外側容器本体33bの内壁面に当接させた状態で、クッション材35と共に外側容器33内に収容されている。クッション材35は、外側容器33の内部において、外側蓋体33aの内壁面と内側容器34の外壁面との間の空間を埋める役割を担っている。換言すれば、クッション材35は、内側容器34の開口部を外側容器本体33bの内壁面に当接させるための機能を担っている。すなわち、内側容器34は、クッション材35によって、内側容器34の開口部を外側容器本体33bの内壁面に当接させることによって、内部が密閉状態となり得る。
クッション材35は、圧力によって変形し得るものであることが好ましい。その場合には、(i)外側容器33の内部に収容するときには圧力によってクッション材35の体積を小さくすることによってクッション材35を容易に収容することができ、さらに、(ii)外側容器33の内部に収容された後には、圧力から解放されることによって、元の形状に戻ろうとする力によって、クッション材35は、内側容器34の開口部を外側容器本体33bの内壁面に当接させるように、当該内側容器34の外壁面を押しあげることが可能となる。
クッション材35としては、圧力によって変形することができる観点から、例えば、発泡ポリエチレン、もしくはポリウレタンフォーム、などの発泡プラスチック、または、金属製もしくは合成樹脂製のバネ、などから形成されるクッション材が好適に用いられる。
〔第2断熱材部40〕
第2断熱材部40は、蓋体41および容器本体42を有している。容器本体42は、平面視で矩形形状であり、上端に開口部を有している。換言すれば、容器本体42は、箱状である。蓋体41は、容器本体42の開口部を被覆可能であり、かつ、容器本体42の開口部と嵌合可能である形状に形成されている。蓋体41は、容器本体42と嵌合することにより、第2断熱材部40を、外気に対して閉止するものである。すなわち、第2断熱材部40は、容器本体42の開口部を介して開閉が可能であり、蓋体41によって内部を密閉状態とすることができる。
保温搬送容器100では、第2断熱材部40は、蓋体41および容器本体42から構成される1つの容器を有している。しかし、第2断熱材部40は、このような構成に限定されず、2つ以上の容器から構成されていてもよい。例えば、第1断熱材部30のように、2つの容器(内側容器32および外側容器31)から構成されていてもよく、3つ以上の容器から構成されていてもよい。
保温搬送容器100では、第2断熱材部40は、第1断熱材部30を1つ備えているが、第2断熱材部40に備えられる第1断熱材部30の個数は特に限定されない。換言すれば、第2断熱材部40に備えられる第1収納部の数は特に限定されない。
保温搬送容器100では、第2断熱材部40は、平面視で矩形形状(箱状)であるが、第2断熱材部40の形状は特に限定されない。また、第2断熱材部40の寸法も特に限定されない。第2断熱材部40の形状および寸法は、第1断熱材部30の形状、寸法および個数、ならびに、配置される第2の蓄冷材60の形状、寸法および個数、に依存して、適宜選択され得る。
第2断熱材部40は、断熱材によって構成されることが好ましい。具体的には、蓋体41および容器本体42は、それぞれ、断熱材によって構成されることが好ましい。
〔第1の蓄冷材50および第2の蓄冷材60〕
本明細書において、第1の蓄冷材50および第2の蓄冷材60をあわせて、単に蓄冷材とも称する。例えば、本発明の一実施形態に係る蓄冷材は、蓄冷材組成物が容器または袋等に充填されたものであり得る。すなわち、第1の蓄冷材50は第1の蓄冷材組成物を含んでいてもよく、第2の蓄冷材60は第2の蓄冷材組成物を含んでいてもよい。
本発明の一実施形態に係る蓄冷材は、該蓄冷材を形成する蓄冷材組成物が凝固状態(固体)から溶融状態(液体)に相転移する際(換言すれば、融解する際)に熱エネルギーを吸収することによって、潜熱型の蓄冷材として利用できるものである。本発明の一実施形態に係る蓄冷材は、融解型潜熱蓄冷材、ともいえる。蓄冷材の融解温度は、蓄冷材が備える蓄冷材組成物に依存し、蓄冷材が備える容器または袋にはほとんど影響されない場合が多い。
第1の蓄冷材50は、−60℃以下であり、かつ、第2の蓄冷材の融解温度よりも低い、融解温度を有するものである。すなわち、第1の蓄冷材50は、−60℃以下であり、かつ、第2の蓄冷材組成物の融解温度よりも低い、融解温度を有する第1の蓄冷材組成物を含んでいるともいえる。
ここで、本明細書において蓄冷材または蓄冷材組成物の「融解温度」とは、「固体状の蓄冷材または蓄冷材組成物が融解して液化する際に、当該蓄冷材または当該蓄冷材組成物が呈する温度」のことを意図する。前記「融解温度」について、より具体的に説明する。極低温の恒温槽内に、凝固状態の蓄冷材または蓄冷材組成物を設置した後、当該恒温槽内を極低温から一定の昇温速度で温度上昇させた場合を考える。この場合、一定速度で上昇していく恒温槽内の温度と比較して、蓄冷材または蓄冷材組成物の温度は、次の(1)〜(3)の順で変化する:(1)一定速度で上昇する;(2)温度Tにおいて蓄冷材または蓄冷材組成物の潜熱によりほとんど変化しなくなり、温度Tから温度Tまで、定温を保持する;(3)温度Tを境に、上昇を再開する。ここで、温度Tを「融解開始温度」と称し、温度Tを「融解終了温度」と称する。温度Tと温度Tとの中点の温度Tを、本明細書において「融解温度」と定義する。また、温度Tから温度Tまでに要した時間を「融解時間」と定義する。
〔保温搬送容器100の作用効果〕
以下に、保温搬送容器100の作用効果を説明する。雰囲気温度(例えば、気温および車内温度など)が35℃である環境下、−60℃以下の管理温度領域において温度管理対象物品10を温度保持した状態で、温度管理対象物品10を搬送するときを考える。
最初に、第2の蓄冷材および第2断熱材部を有さない保温搬送容器、すなわち、第1断熱材部、および第1の蓄冷材を備えた保温搬送容器を用いて温度管理対象物品の搬送を行う場合(場合1)について説明する。保温搬送容器において、第1断熱材部における第1収納部には、融解温度が−60℃以下である第1の蓄冷材が配置されているため、第1収納部の雰囲気温度は、−60℃以下である。故に、第1収納部の雰囲気温度と、保温搬送容器の外部環境の雰囲気温度との温度差は95℃以上となる。その結果、当該温度差に起因して、保温搬送容器の外部から保温搬送容器の内部(第1収納部)への熱の移動が発生する。この熱の移動は、第1断熱材部によって一定程度、遅延する。その後、第1断熱材部を通して第1収納部へ移動した熱量とほぼ同じ熱量が、第1収納部に配置された第1の蓄冷材によって吸収されることにより、第1収納部の温度上昇が抑えられ、その結果、温度管理対象物品の温度上昇が抑えられる。このとき、第1の蓄冷材が吸収する熱量は、保温搬送容器の外部環境の雰囲気温度に相当する熱量であり、非常に多い熱量となるため、第1の蓄冷材は非常に短い時間で融解し終える。第1の蓄冷材の融解が終了した後、第1収納部へ移動した熱量は吸収されることがないため、第1収納部の温度は上昇し、その結果、温度管理対象物品の温度は上昇する。すなわち、第2の蓄冷材および第2断熱材部を有さない保温搬送容器を用いて前記搬送を行うとき、温度管理対象物品が−60℃以下の管理温度領域において温度保持される時間は非常に短い。
次に、第1断熱材部、および第1の蓄冷材に加えて、第2の蓄冷材および第2断熱材部を有する保温搬送容器、すなわち、保温搬送容器100を用いて前記搬送を行う場合(場合2)について説明する。また、場合2では、第2の蓄冷材は35℃よりも低い融解温度を有するものとして考える。前記搬送を行うとき、保温搬送容器100の外部環境と、保温搬送容器100の内部環境との間に温度差が生じるため、当該温度差を駆動力として、保温搬送容器100の外部から保温搬送容器100の内部への熱の移動が発生する。保温搬送容器100の外部から保温搬送容器100の内部への熱の移動は、第2断熱材部40によって一定程度、遅延する。その後、第2断熱材部40を通して、第1断熱材部30と第2断熱材部40との間の空間へ移動した熱量とほぼ同じ熱量が、第1断熱材部30と第2断熱材部40との間の空間に配置された第2の蓄冷材60によって吸収される。第1断熱材部30と第2断熱材部40との間の空間の雰囲気温度は、第2の蓄冷材60の融解温度と等しいか、第2の蓄冷材60の融解温度付近の温度となる。保温搬送容器100では、第1収納部20の外部環境は、保温搬送容器の外部環境(雰囲気温度35℃)ではなく、第2の蓄冷材60が配置された、第1断熱材部30と第2断熱材部40との間の空間である。そして、第2の蓄冷材60の融解温度は、第1の蓄冷材50の融解温度よりも高い。そのため、第1収納部20の外部(第1断熱材部30の外部)から、第1収納部20へ、第1断熱材部30を通した熱移動が生じる。前述した場合1と同様に、第1断熱材部30を通して第1収納部20へ移動した熱量とほぼ同じ熱量が、第1収納部20に配置された第1の蓄冷材50によって吸収される。これにより、第1収納部20の温度上昇が抑えられ、その結果、温度管理対象物品10の温度上昇が抑えられる。ここで、第2の蓄冷材60の融解温度は、35℃よりも低いため、第1収納部20の雰囲気温度と、第1収納部20の外部環境の雰囲気温度との温度差は95℃よりも小さいものとなる。従って、第1の蓄冷材50が吸収する熱量は、場合1よりも小さくなる。具体的には、第1の蓄冷材50が吸収する熱量は、第2の蓄冷材60の融解温度と等しい温度に相当する熱量か、または第2の蓄冷材60の融解温度付近の温度に相当する熱量である。そのため、第1の蓄冷材50は、場合1よりも長い時間をかけて融解し終える。すなわち、保温搬送容器100を用いて前記搬送を行うとき、温度管理対象物品10が−60℃以下の管理温度領域において温度保持される時間は、場合1よりも長くなる。
以上のように、本発明の実施形態に係る保温搬送容器100によれば、温度管理対象物品10を−60℃以下の管理温度領域に長時間保ちながら搬送することができる。
また、本発明の実施形態に係る保温搬送容器100は、温度管理対象物品10を収容する第1収納部20が形成された第1断熱材部30が第2断熱材部40に収容された構成になっている。第1断熱材部30は、第2断熱材部40から着脱可能である。それゆえ、第1収納部20に温度管理対象物品10を収容した第1断熱材部30を、第2断熱材部40から取り出し、搬送の直前まで冷却しておくことが可能である。また、第1断熱材部30が互いに分離可能な内側容器32および外側容器31から構成されている場合には、第1収納部20に温度管理対象物品10を収容した内側容器32を、搬送の直前まで冷却しておくことが可能である。以上のように、温度管理対象物品10を搬送の直前まで冷却しておくことが可能であるため、温度管理対象物品10を含む保温搬送容器100の梱包の間、温度管理対象物品10の温度上昇を抑制することができる。
第2の蓄冷材60についてさらに詳しく説明する。
第1の蓄冷材50の融解温度と第2の蓄冷材60の融解温度との差が、45℃以内であることが好ましい。換言すれば、第1の蓄冷材組成物の融解温度と第2の蓄冷材組成物の融解温度との差が、45℃以内であることが好ましい。前記構成であれば、第1の蓄冷材50を備える第1断熱材部30の内部(すなわち第1収納部20)の環境と、第1断熱材部30の外部環境との温度差を45℃以内にすることができる。そのため、第1の蓄冷材50の融解時間(すなわち第1の蓄冷材組成物の融解時間)を長くすることができ、結果として、より長時間、−60℃以下の管理温度領域において温度管理対象物品10を温度保持することが可能となる。
保温搬送容器100では、第1断熱材部30の側部に8個の第2の蓄冷材60が配置されており、第1断熱材部30の上部に3個の第2の蓄冷材60が配置されており、さらに、第1断熱材部30の下部に2個の第2の蓄冷材60が配置されている。すなわち、第1断熱材部30と第2断熱材部40との間に、合計13個の第2の蓄冷材60が配置されている。
第1断熱材部30と第2断熱材部40との間に配置される第2の蓄冷材60の数は、1個以上である限り、特に限定されない。保温搬送容器100のように、第2の蓄冷材60は、第1断熱材部30を取り囲むように配置されることが好ましい。前記構成であれば、第1収納部20の外部(すなわち、第1断熱材部30の外部)から、第1収納部20の内部への、熱の流入を効率的に抑えることができる。その結果、第1の蓄冷材50の融解時間を長くすることができ、結果として、より長時間、−60℃以下の管理温度領域において温度管理対象物品10を温度保持することが可能となる。
〔第1断熱材部30および第2断熱材部40が備える断熱材〕
第1断熱材部30が備える断熱材、および第2断熱材部40が備える断熱材としては、特に限定されるものではないが、空気より低い熱伝導率を有する断熱材であることが好ましい。空気より低い熱伝導率を有する断熱材としては、発泡プラスチックおよび真空断熱材があげられる。上記構成であれば、保温搬送容器100の外部環境から、保温搬送容器100の内部環境、特に、第1断熱材部30の内部(すなわち第1収納部20)の環境への熱移動を抑えることができる。そのため、より長時間、−60℃以下の管理温度領域において温度管理対象物品10を温度保持することが可能となる。
第1断熱材部30は、断熱材として真空断熱材を備えることが好ましく、換言すれば、第1断熱材部30は、真空断熱材から構成されることが好ましい。保温搬送容器100では、第1断熱材部30は真空断熱材から構成されている。
真空断熱材は、周囲が薄板、フィルムまたはガラスで形成された密封空間を真空引きして形成したものである。真空断熱材は、断熱性が非常に高く、温度保持時間が長く、且つ結露を防止することができるという利点を有する。前記薄板としては、ステンレスまたはアルミ等から形成した金属板等があげられる。前記フィルム材としては、気体透過率の低いフィルムがあげられ、例えば、アルミおよび/またはシリカの蒸着処理をした、プラスチックフィルムまたは多孔質フィルムがあげられる。前記密閉空間は、密閉空間内部の真空環境を改善するか、または、真空環境を維持するために、内部にゲッター材料を備えていてもよい。前記密閉空間は、必要に応じて、内部に、粉状、繊維状、または多孔質状の芯材を備えていてもよい。前記芯材としては、例えば、シリカ粉、金属細線、グラスウール(ガラス繊維)、ウレタンフォーム等があげられる。密閉空間内に芯材を備えていない真空断熱材としては、サーモス社製品等があげられる。密閉空間内に芯材を備えている真空断熱材としては、旭ファイバーグラス社製の真空断熱材ビップエース(VIP-A)等があげられる。
第2断熱材部40は、断熱材として発泡プラスチックを備えることが好ましく、換言すれば、第2断熱材部40は、発泡プラスチックから構成されることが好ましい。保温搬送容器100では、第2断熱材部40は発泡プラスチックから構成されている。
発泡プラスチックは、軽量および安価であり、且つ結露を防止することができるという利点を有する。発泡プラスチックとしては、具体的には、ポリウレタン、ポリスチレン、ポリエチレン、ポリプロピレン、AS樹脂又はABS樹脂などを発泡させたものがあげられる。
第1断熱材部30よりも大きな寸法を有する第2断熱材部40を発泡プラスチックから構成することにより、保温搬送容器100全体の重量を軽量化できるという利点を有する。
第1断熱材部30および第2断熱材部40の両方を、真空断熱材から構成してもよい。その場合には、より長時間、−60℃以下の管理温度領域において温度管理対象物品10を温度保持することが可能となるという利点を有する。
第1断熱材部30および第2断熱材部40は、それぞれ、発泡プラスチックと真空断熱材とを組合せることにより構成されていてもよい。その場合には、(i)発泡プラスチックからなる容器本体および蓋体の外面もしくは内面を真空断熱材で覆う、または、(ii)発泡プラスチックからなる容器本体および蓋体を構成する壁の内部に真空断熱材を埋設させる、等の方法があげられる。
〔本発明の一実施形態に係る蓄冷材が備える袋または容器〕
本発明の一実施形態に係る蓄冷材が備える袋または容器としては、蓄冷材組成物を充填できる限り特に限定されない。そのような袋または容器としては、充填される蓄冷材蓄冷材組成物による錆びおよび腐食に起因する、液漏れを防ぐという観点から、主に樹脂(例えば合成樹脂)で形成されたものであることが好ましい。前記樹脂としては、例えば、ポリ塩化ビニル、ポリエチレン、ポリプロピレン、ポリエチレンテレフタレート、ポリスチレン、ナイロンおよびポリエステルなどが挙げられる。
これらの素材(例えば樹脂)は、1種類を単独で使用してもよく、耐熱性およびバリアー性を高めるために、これらの素材のうち2種類以上を組み合わせて使用する(例えば、多層構造としたものを使用する等)こともできる。取り扱い、およびコストの点より、ポリエチレンからなる容器を用いることが好ましい。
前記容器または袋の形状としては、特に限定されないが、容器または袋を介して蓄冷材組成物と温度管理対象物品との間、または、蓄冷材組成物もしくは蓄冷材組成物の周辺の空間との間、にて効率良く熱交換を行うという観点から、厚みが薄く、且つ表面積を大きく確保できる形状が好ましい。これらの容器または袋に対して、蓄冷材組成物を充填することによって、蓄冷材を形成することができる。なお、前記容器または袋のさらに具体的な例は、特開2015−78307号公報に開示の容器または袋を用いることができる。当該文献は、本明細書中において参考文献として援用される。
〔第1の蓄冷材組成物〕
本発明の一実施形態に係る保温搬送容器が備える第1の蓄冷材に含まれる第1の蓄冷材組成物としては、例えば以下のような構成であってもよい。
〔X1〕水と2種類以上の化合物とからなる多成分共晶を含み、−75℃〜−60℃の範囲内に融解温度を有することを特徴とする蓄冷材組成物。
〔X2〕前記2種類以上の化合物は無機塩であることを特徴とする、〔X1〕に記載の蓄冷材組成物。
〔X3〕前記多成分共晶は3成分共晶であることを特徴とする、〔X1〕または〔X2〕に記載の蓄冷材組成物。
〔X4〕上記無機塩はカルシウム塩を含むことを特徴とする、〔X2〕に記載の蓄冷材組成物。
〔X5〕上記無機塩は塩化物塩(A)、および臭化物塩(B)を含むことを特徴とする、〔X2〕または〔X4〕に記載の蓄冷材組成物。
〔X6〕上記塩化物塩(A)は塩化カルシウムであることを特徴とする、〔X5〕に記載の蓄冷材組成物。
〔X7〕上記臭化物塩(B)は、臭化アンモニウム、臭化カリウム、臭化ナトリウム、および臭化カルシウムからなる群から選ばれる少なくとも1種であることを特徴とする、〔X5〕または〔X6〕に記載の蓄冷材組成物。
〔X8〕上記塩化物塩(A)と上記臭化物塩(B)とのモル比率(臭化物塩(B)/塩化物塩(A))が0.1〜10の範囲内であることを特徴とする、〔X5〕〜〔X7〕の何れか1つに記載の蓄冷材組成物。
〔X9〕水100モルに対して、カルシウムイオンを0.1モル〜18モル、塩化物イオンを0.1モル〜19モル、および臭化物イオンを0.1モル〜20モル含み、−75℃〜−60℃の範囲内に融解温度を有することを特徴とする蓄冷材組成物。
故に、本発明の一実施形態に係る保温搬送容器が備える第1の蓄冷材は、〔X1〕〜〔X9〕の何れか1つに記載の蓄冷材組成物を備えるものであってもよい。
ここで、前記〔X1〕の「多成分共晶」について説明する。
本明細書では、蓄冷材組成物が水と2種類以上の化合物とを含み、より具体的には、蓄冷材組成物が(i)水と、(ii)化合物C1、・・・・・、および化合物Cn(nは2以上の整数)と、を含み、且つ、次の条件(1)および条件(2)の両方を満たす場合に、「蓄冷材組成物は多成分共晶(より具体的に、(n+1)成分共晶)を含む」と定義する。
条件(1)水と任意の1つの化合物との組み合わせ(具体的には、水と化合物C1との組み合わせ、・・・・、および、水と化合物Cnとの組み合わせ)の各々が示す共晶点由来の融解温度(換言すれば、各2成分系の融解温度)の全てと比較して、蓄冷材組成物が示す融解温度が低いこと、
条件(2)化合物C1・・・・、および化合物Cnの全ての化合物について、蓄冷材組成物中の化合物間の濃度比(具体的には、蓄冷材組成物中の化合物間のモル比率)および/または化合物のモル量を所定量変化させた際、蓄冷材組成物の融解温度が一定となる、化合物のモル量の範囲が存在すること。なお本明細書では、化合物のモル量とは、蓄冷材組成物が含む水の物質量(モル)を100としたときの、蓄冷材組成物が含む任意の成分の物質量(モル)を示すものである。
本明細書では、条件(1)および条件(2)について、より具体的に、以下のように定義する。条件(1)について、水と化合物C1との組み合わせ、・・・・、および、水と化合物Cnとの組み合わせの各々が示す共晶点由来の融解温度の全てと比較して、蓄冷材組成物が示す融解温度が1℃以上低い場合に、条件(1)を満たしていると定義する。条件(2)について、化合物C1・・・・、および化合物Cnの全ての化合物について、蓄冷材組成物中の化合物の少なくとも一種類のモル量(水100モルに対するモル)を0.5モル変化させた場合であっても、蓄冷材組成物の融解温度の変化量が1.0℃以内に収まる、化合物のモル量の範囲を有する場合に、条件(2)を満たしていると定義する。
ここで、前記〔X9〕について説明する。
〔X9〕に記載の蓄冷材組成物に含まれるイオンの種類および量は、当該蓄冷材組成物が融解温度以上の液化した状態において、当該蓄冷材組成物中に存在するイオンの種類および量を意図するものである。〔X9〕に記載の蓄冷材組成物に含まれるイオンの種類および量は、例えば、室温(例えば30℃)にて、イオンクロマトグラフィーの手法を用いて測定することができる。測定方法としては、公知の方法を用いることができる。また、例えば、以下の(1)または(2)などの方法によって、室温において解離し得る特定のイオンを含む混合物を形成させる混合工程を行い、上記イオンが除去されることなく〔X9〕に記載の蓄冷材組成物を製造する場合を考える:(1)室温において解離し得る特定の化合物と水とを混合すること;または(2)室温において解離し得る特定の化合物を含む水溶液同士を混合すること。この場合には、混合工程で使用した、特定の化合物の化学式および添加量から、得られた蓄冷材組成物に含まれるイオンの種類および量を理論的に計算して算出してもよい。
また、〔X9〕に記載の蓄冷材組成物は、30℃において解離していない(イオンになっていない)カルシウム塩、塩化物塩、および臭化物塩などの化合物を含んでいてもよい。〔X9〕に記載の蓄冷材組成物に含まれる化合物が30℃において解離していない場合には、当該化合物がカルシウム元素、塩素元素、および臭素元素などを含む化合物であっても、当該化合物の含有量は、〔X9〕に記載の蓄冷材組成物が含むカルシウムイオン、塩化物イオン、および臭化物イオンの量に影響を与えない。
第1の蓄冷材50に含まれる第1の蓄冷材組成物の具体例、すなわち、水と2種類以上の化合物とからなる多成分共晶を含む組成物の具体例としては、以下のような組成物があげられる:水、塩化カルシウムおよび臭化アンモニウムからなる多成分共晶を含む組成物;水、塩化カルシウムおよび臭化カリウムからなる多成分共晶を含む組成物;水、塩化カルシウムおよび臭化ナトリウムからなる多成分共晶を含む組成物;水、塩化カルシウムおよび臭化カルシウムからなる多成分共晶を含む組成物。
また、第1の蓄冷材50に含まれる第1の蓄冷材組成物として、水100モルに対して、カルシウムイオンを0.1モル〜18モル、塩化物イオンを0.1モル〜19モル、および臭化物イオンを0.1モル〜20モル含む組成物の具体例としては、以下のような組成物があげられる:水、塩化カルシウムおよび臭化アンモニウムを各々特定の量含む組成物;水、塩化カルシウムおよび臭化カリウムを各々特定の量含む組成物;水、塩化カルシウムおよび臭化ナトリウムを各々特定の量含む組成物;水、塩化カルシウムおよび臭化カルシウムを各々特定の量含む組成物;塩化アンモニウムおよび臭化カルシウムを各々特定の量含む組成物;塩化カルシウムおよび任意の臭化物塩を各々特定の量含む組成物;臭化カルシウムおよび任意の塩化物塩を各々特定の量含む組成物;塩化アンモニウム、任意のカルシウム塩、および任意の臭化物塩を各々特定の量含む組成物;任意のカルシウム塩、任意の塩化物塩、および任意の臭化物塩を各々特定の量含む組成物。
第1の蓄冷材50としては、ドライアイスを使用することもできる。ドライアイスは、固形状の二酸化炭素であり、昇華温度は−78.5℃である。しかし、ドライアイスは安価で汎用であるものの、昇華(固体から気体への相転移)による体積膨張が起こり、輸送、特に航空輸送においては危険物としての取り扱いとなる。そのため、蓄冷材として保温搬送容器に用いる場合、ドライアイスの積載量が制限される等の問題がある。本発明の一実施形態に係る保温搬送容器では、蓄冷材としてドライアイスを使用しないことが好ましい。
〔第2の蓄冷材組成物〕
本発明の一実施形態に係る保温搬送容器が備える第2の蓄冷材に含まれる第2の蓄冷材組成物としては、融解温度が第1の蓄冷材組成物の融解温度以上の温度である限り、特に限定されず、例えば、前述した〔X1〕〜〔X9〕の何れか1つに記載の蓄冷材組成物であってもよい。従って本発明の一実施形態に係る保温搬送容器が備える第2の蓄冷材は、〔X1〕〜〔X9〕の何れか1つに記載の蓄冷材組成物を備えるものであってもよい。また、本発明の一実施形態に係る保温搬送容器が備える第2の蓄冷材に含まれる第2の蓄冷材組成物の具体例としては、前記〔第2の蓄冷材組成物〕の項の記載が適宜援用され得る。
また、本発明の一実施形態に係る保温搬送容器が備える第2の蓄冷材に含まれる第2の蓄冷材組成物としては、例えば、国際公開公報2016/204284号公報に記載された蓄冷材組成物が用いられてもよい。当該文献は、本明細書中において参考文献として援用される。
〔外装材70〕
保温搬送容器100では、任意で、第2断熱材部40の外側を覆うように外装材70が設けられている。保温搬送容器100は、断熱性能の向上のため、または運搬を容易にするために、外装材70を備えることが好ましい。しかしながら、外装材70を有していない保温搬送容器100も本発明の範囲内である。
外装材70としては、保温性を有するシートが好ましく、例えば、(i)ポリアミド、ポリプロピレン、ポリエチレンなどの化学繊維織布もしくは織布を樹脂により強化したターポリン、(ii)金属蒸着フィルム、または(iii)金属薄膜を複合化したシート、等をあげることができる。また、外装材70は、保温搬送容器100を運搬するために、紐状または帯状の持ち手が備えられていてもよい。
〔スペーサー〕
図示していない任意の構成であるが、保温搬送容器100は、さらにスペーサーを備えていてもよい。スペーサーは、第1断熱材部30と第1の蓄冷材50もしくは温度管理対象物品10との間、または、第2断熱材部40と第1断熱材部30との間の空間を埋める役割を果たし得る。例えば、第1収納部20の空間の大きさに対して第1の蓄冷材50および温度管理対象物品10が占める空間が小さい場合について説明する。この場合、保温搬送容器100が、第1収納部20にスペーサーを備えることにより、第1収納部20における第1の蓄冷材50および温度管理対象物品10の移動を抑制できる。そのため、第1収納部20において第1の蓄冷材50および温度管理対象物品10を安定して運搬することが可能となる。
スペーサーの素材としては、特に限定されないが、例えば、ポリウレタン、ポリスチレン、ポリエチレン、ポリプロピレン、AS樹脂またはABS樹脂並びにこれらの樹脂を発泡させた発泡プラスチックが用いられる。
〔保温搬送容器100の使用例〕
保温搬送容器100の使用用途としては、細胞の輸送があげられる。具体的には、細胞加工施設内での凍結細胞の搬送、細胞バンクから細胞加工施設等への凍結細胞の施設間輸送などがあげられる。また、保温搬送容器100は、物品の保管のために用いられてもよい。保温搬送容器100は、例えば、細胞の保管(例えば、無菌室またはクリーンベンチでの凍結細胞の一時保管、細胞バンクまたは細胞培養センター等で使用されるディープフリーザーが停電した際のバックアップ用途など)等に用いることもできる。
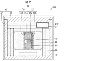
〔第1の変形例:保温搬送容器200〕
本発明の一実施形態の第1の変形例について、図2を用いて説明する。
なお、前述の本発明の一実施形態における構成要素と同等の機能を有する構成要素については、同一の符号を付記して、その説明を省略する。
図2は、本発明の一実施形態の第1の変形例に係る保温搬送容器200の概略構成を示す、鉛直方向に沿った断面図である。図2に示すように、保温搬送容器200は、第1断熱材部30と第2断熱材部40との間に、第2収納部210を備えている点が前述の保温搬送容器100と異なる。
〔第2収納部210〕
第2収納部210は、第2の蓄冷材60と第2断熱材部40との間に配された、壁部211によって形成された空間である。換言すれば、第2収納部の壁部211は、第2収納部210を覆うように設けられている。
第2収納部210を構成する壁部211は、任意の構成である。保温搬送容器200は、第2収納部210を形成するために、別途、壁部211を設ける必要はない。第2収納部210は、第1断熱材部30の外面、第2断熱材部40の内面、第2の蓄冷材60の外面等を組み合わせて形成された空間であってもよい。
保温搬送容器200は、第2収納部210を有することによって、温度管理対象物品10以外の物品を、温度管理対象物品10と一緒に所定の温度に保温した状態で運搬することを可能とする。温度管理対象物品10以外の物品としては、管理温度として−60℃以下であることを必要としない物品であり、かつ、温度管理対象物品10と組み合わせて使用され得る物品などである。例えば、温度管理対象物品10が凍結細胞である場合、前述した温度管理対象物品10以外の物品としては、当該凍結細胞の培養に用いる培地、血清、および試薬などがあげられる。また、温度管理対象物品10に加えて、多数の物品を運搬する必要がある場合を考える。この場合、保温搬送容器200は、第2収納部210を有することにより、管理温度が−60℃以下であることを必要としない物品を、第1収納部20に収納することなく、第2収納部210に収容することができる。故に、第1収納部20を小さくできるため、第1断熱材部30を小さくできる。前述したように第1収納部20に温度管理対象物品10を収容した第1断熱材部30を、第2断熱材部40から取り出し、搬送の直前まで冷却する場合、第1断熱材部30は小さいほど取り扱いが容易になる利点を有する。
〔第2の変形例:保温搬送容器300〕
本発明の一実施形態の第2の変形例について、図3を用いて説明する。
なお、前述の本発明の一実施形態における構成要素と同等の機能を有する構成要素については、同一の符号を付記して、その説明を省略する。
図3は、本発明の一実施形態の第2の変形例に係る保温搬送容器300の概略構成を示す、鉛直方向に沿った断面図である。図3に示すように、保温搬送容器300は、第2断熱材部40の外側を覆うように設けられた第3断熱材部310を備えている点が、前述の保温搬送容器100と異なる。そして、第2断熱材部40と第3断熱材部310との間には、第3の蓄冷材320が配置されている。
〔第3断熱材部310〕
第3断熱材部310は、第3断熱材部310の蓋体311(単に蓋体311とも称する)および第3断熱材部310の容器本体312(単に容器本体312とも称する)を有している。容器本体312は、平面視で矩形形状であり、上端に開口部を有している。換言すれば、容器本体312は、箱状である。蓋体311は、容器本体312の開口部を被覆可能であり、かつ、容器本体312の開口部と嵌合可能である形状に形成されている。蓋体311は、容器本体312と嵌合することにより、第3断熱材部310を、外気に対して閉止するものである。すなわち、第3断熱材部310は、容器本体312の開口部を介して開閉が可能であり、蓋体311によって内部を密閉状態とすることができる。
保温搬送容器300では、第3断熱材部310は、蓋体311および容器本体312から構成される1つの容器を有しているが、第3断熱材部310は、2つ以上の容器から構成されていてもよい。例えば、第1断熱材部30のように、2つの容器(内側容器32および外側容器31)から構成されていてもよく、3つ以上の容器から構成されていてもよい。
保温搬送容器300では、第3断熱材部310は、第1断熱材部30および第2断熱材部40を1つ備えているが、第3断熱材部310に備えられる第1断熱材部30および第2断熱材部40の個数は特に限定されない。
保温搬送容器300では、第3断熱材部310は、平面視で矩形形状(箱状)であるが、第3断熱材部310の形状は特に限定されない。また、第3断熱材部310の寸法も特に限定されない。第3断熱材部310の形状および寸法は、第2断熱材部40の形状、寸法および個数、ならびに、配置される第3の蓄冷材320の形状、寸法および個数、に依存して、適宜選択され得る。
第3断熱材部310は、断熱材によって構成されることが好ましい。具体的には、容器本体312よび蓋体311は、それぞれ、断熱材によって構成されることが好ましい。第3断熱材部310に好適に用いられる断熱材は、第2断熱材部40に好適に用いられる断熱材、すなわち発泡プラスチックである。
〔第3の蓄冷材320〕
第3の蓄冷材320の融解温度は、第2の蓄冷材の融解温度以上であることが好ましい。すなわち、第3の蓄冷材320は、融解温度が、第2の蓄冷材の融解温度以上である第3の蓄冷材組成物を含むことが好ましい。
保温搬送容器300は、第3断熱材部310および第3の蓄冷材320を備えることによって、第2の蓄冷材60と外気との温度差を小さくすることができる。故に、第2の蓄冷材60の融解時間を長くすることができ、その結果、第1の蓄冷材50の融解時間を長くすることができる。そのため、より長時間、−60℃以下の管理温度領域において温度管理対象物品10を温度保持することが可能となる。
第3断熱材部310と第2断熱材部40との間に配置される第3の蓄冷材320の数は、1個以上である限り、特に限定されない。保温搬送容器300のように、第3の蓄冷材320は、第2断熱材部40を取り囲むように配置されることが好ましい。前記構成であれば、第2の蓄冷材60の融解時間を長くすることができ、その結果、第1の蓄冷材50の融解時間を長くすることができる。そのため、より長時間、−60℃以下の管理温度領域において温度管理対象物品10を温度保持することが可能となる。
本発明の一実施形態に係る保温搬送容器は、第1断熱材部、第2断熱材部、および第3断熱材部に加えて、さらに複数の断熱材部、すなわち、第4断熱材部、第5断熱材部、・・・・、第n断熱材部を備えていてもよい(nは整数)。また、各々の断熱材部の間に蓄冷材を備えていてもよく、すなわち、第1の蓄冷材、第2の蓄冷材、および第3の蓄冷材に加えて、さらに、第4の蓄冷材、第5の蓄冷材、・・・・、第nの蓄冷材を備えていてもよい(nは整数)。保温搬送容器が、第1の蓄冷材、第2の蓄冷材、・・・・、第nの蓄冷材を備えている場合、第nの蓄冷材の融解温度は、第n−1の蓄冷材の融解温度以上であることが好ましい。
〔まとめ〕
本発明の一実施形態に係る保温搬送容器(100、200および300)は、温度管理対象物品10を収納するための収納空間である第1収納部20と、第1収納部20を形成する第1断熱材部30と、第1断熱材部30の外側を覆うように設けられた第2断熱材部40と、を備え、第1収納部20には、第1の蓄冷材50が配置され、第1断熱材部30と第2断熱材部40との間には、第2の蓄冷材60が配置されてなり、第1の蓄冷材50の融解温度は、−60℃以下であり、かつ、第2の蓄冷材60の融解温度より低いものであることを特徴としている。
前記構成であれば、冷凍マグロ等の食品、または、バイオ医薬品(抗体など)、細胞、再生細胞、ワクチン、検体、遺伝子治療用ベクター等の温度管理対象物品10を、−60℃以下の管理温度領域において長時間温度保持した状態で搬送可能である。
本発明の一実施形態に係る保温搬送容器(100、200および300)では、第1の蓄冷材50および第2の蓄冷材60の融解温度の差が45℃以内であることが好ましい。
前記構成であれば、第1の蓄冷材50を備える第1断熱材部30の内部(すなわち第1収納部20)の環境と、第1断熱材部30の外部環境との温度差を45℃以内にすることができる。そのため、第1の蓄冷材50の融解時間(すなわち第1の蓄冷材組成物の融解時間)を長くすることができ、結果として、より長時間、−60℃以下の管理温度領域において温度管理対象物品10を温度保持することが可能となる。
本発明の一実施形態に係る保温搬送容器(100、200および300)では、第2の蓄冷材60は、第1断熱材部30を取り囲むように配置されることが好ましい。
前記構成であれば、第1収納部20の外部(すなわち、第1断熱材部30の外部)から、第1収納部20の内部への、熱の流入を効率的に抑えることができる。その結果、第1の蓄冷材50の融解時間を長くすることができ、結果として、より長時間、−60℃以下の管理温度領域において温度管理対象物品10を温度保持することが可能となる。
本発明の一実施形態に係る保温搬送容器(100、200および300)では、第1断熱材部30は、第2断熱材部40から着脱可能であることが好ましい。
前記構成であれば、第1収納部20に温度管理対象物品10を収容した第1断熱材部30を、第2断熱材部40から取り出し、搬送の直前まで冷却しておくことが可能である。その結果、温度管理対象物品10を含む保温搬送容器100の梱包の間、温度管理対象物品10の温度上昇を抑制することができる。
本発明の一実施形態に係る保温搬送容器200では、第1断熱材部30と第2断熱材部40との間に、第2収納部210を備えることが好ましい。
前記構成であれば、温度管理対象物品10以外の物品を、温度管理対象物品10と一緒に所定の温度に保温した状態で運搬することが可能となる。また、温度管理対象物品10に加えて、多数の物品を運搬する必要がある場合を考える。この場合、前記構成であれば、管理温度が−60℃以下であることを必要としない物品を、第1収納部20に収納することなく、第2収納部210に収容することができる。故に、第1収納部20を小さくできるため、第1断熱材部30を小さくできる。その結果、第1断熱材部30の取り扱いが良いとなる利点を有する。
本発明の一実施形態に係る保温搬送容器(100、200および300)では、第1断熱材部30および第2断熱材部40は、空気より低い熱伝導率を有する断熱材を備えることが好ましい。
上記構成であれば、保温搬送容器(100、200および300)の外部環境から、保温搬送容器(100、200および300)の内部環境、特に、第1断熱材部30の内部(すなわち第1収納部20)の環境への熱移動を効率的に抑えることができる。そのため、より長時間、−60℃以下の管理温度領域において温度管理対象物品10を温度保持することが可能となる。
本発明の一実施形態に係る搬送方法は、前述した本発明の一実施形態に係る保温搬送容器(100、200および300)に、温度管理対象物品10を収容して輸送することを特徴としている。
前記構成であれば、冷凍マグロ等の食品、または、バイオ医薬品(抗体など)、細胞、再生細胞、ワクチン、検体、遺伝子治療用ベクター等の温度管理対象物品10を、−60℃以下の管理温度領域において長時間温度保持した状態で搬送可能である。
本発明の一実施形態に係る保温搬送容器は、管理温度が−60℃以下である温度管理対象物品、例えば、冷凍マグロ等の食品、または、バイオ医薬品(抗体など)、細胞、再生細胞、ワクチン、検体、遺伝子治療用ベクター等を特定の環境下において、それぞれの温度管理対象物品の管理温度内で輸送することを可能とする。
10 ・・・温度管理対象物品
20 ・・・第1収納部
30、30’ ・・・第1断熱材部
40 ・・・第2断熱材部
50 ・・・第1の蓄冷材
60 ・・・第2の蓄冷材
70 ・・・外装材
100、200、300 ・・・保温搬送容器
210 ・・・第2収納部
310 ・・・第3断熱材部
320 ・・・第3の蓄冷材

Claims (7)

  1. 温度管理対象物品を収納するための収納空間である第1収納部と、
    前記第1収納部を形成する第1断熱材部と、
    前記第1断熱材部の外側を覆うように設けられた第2断熱材部と、を備え、
    前記第1収納部には、第1の蓄冷材が配置され、
    前記第1断熱材部と前記第2断熱材部との間には、第2の蓄冷材が配置されてなり、
    前記第1の蓄冷材の融解温度は、−60℃以下であり、かつ、前記第2の蓄冷材の融解温度より低いものであることを特徴とする保温搬送容器。
  2. 前記第1の蓄冷材および前記第2の蓄冷材の融解温度の差が45℃以内であることを特徴とする請求項1に記載の保温搬送容器。
  3. 前記第2の蓄冷材は、前記第1断熱材部を取り囲むように配置されることを特徴とする請求項1または2に記載の保温搬送容器。
  4. 前記第1断熱材部は、前記第2断熱材部から着脱可能であることを特徴とする請求項1〜3の何れか1項に記載の保温搬送容器。
  5. 前記第1断熱材部と前記第2断熱材部との間に、第2収納部を備えることを特徴とする請求項1〜4の何れか1項に記載の保温搬送容器。
  6. 前記第1断熱材部および前記第2断熱材部は、空気より低い熱伝導率を有する断熱材を備えるものであることを特徴とする請求項1〜5の何れか1項に記載の保温搬送容器。
  7. 請求項1〜6の何れか1項に記載の保温搬送容器に、前記温度管理対象物品を収容して輸送することを特徴とする搬送方法。
JP2018047573A 2018-03-15 2018-03-15 保温搬送容器および搬送方法 Pending JP2019156458A (ja)

Priority Applications (1)

Application Number Priority Date Filing Date Title
JP2018047573A JP2019156458A (ja) 2018-03-15 2018-03-15 保温搬送容器および搬送方法

Applications Claiming Priority (1)

Application Number Priority Date Filing Date Title
JP2018047573A JP2019156458A (ja) 2018-03-15 2018-03-15 保温搬送容器および搬送方法

Publications (1)

Publication Number Publication Date
JP2019156458A true JP2019156458A (ja) 2019-09-19

Family

ID=67993007

Family Applications (1)

Application Number Title Priority Date Filing Date
JP2018047573A Pending JP2019156458A (ja) 2018-03-15 2018-03-15 保温搬送容器および搬送方法

Country Status (1)

Country Link
JP (1) JP2019156458A (ja)

Cited By (2)

* Cited by examiner, † Cited by third party
Publication number Priority date Publication date Assignee Title
BE1028814B1 (nl) * 2020-11-20 2022-06-20 Dohmeyer Construction Sp Z O O Gebruik van een eutectisch medium of een medium met laag smeltpunt voor het afkoelen en koud houden van biologische actieve materialen zoals vaccins op een zeer lage temperatuur, koelinrichting hiervoor, en werkwijze voor het produceren van houders omvattende dergelijk eutectisch medium of medium met laag smeltpunt
JP2023549578A (ja) * 2020-11-15 2023-11-27 フェイズ チェンジ エナジー ソリューションズ, インコーポレイテッド 温度の影響を受けやすい貨物を保存および/または運搬するシステム

Citations (9)

* Cited by examiner, † Cited by third party
Publication number Priority date Publication date Assignee Title
JP2001201222A (ja) * 2000-01-20 2001-07-27 Masao Umemoto 低温保冷体、および極低温冷凍装置
JP2004238051A (ja) * 2003-02-07 2004-08-26 Olympus Corp 搬送容器
JP2013050447A (ja) * 2011-08-01 2013-03-14 Masato Takahashi 方位情報取得方法
JP2015048103A (ja) * 2013-08-30 2015-03-16 株式会社カネカ 定温保管輸送容器及び輸送方法
JP2015052433A (ja) * 2013-09-09 2015-03-19 奥野製薬工業株式会社 食品保冷梱包ケースおよびそれを用いた食品梱包体
WO2016194745A1 (ja) * 2015-05-29 2016-12-08 シャープ株式会社 保温容器およびその作製方法
JP2017030862A (ja) * 2015-08-05 2017-02-09 クールパックシステム株式会社 保冷コンテナ
JP2017128622A (ja) * 2016-01-18 2017-07-27 株式会社Ihiエアロスペース 保冷剤、保冷部材及び保冷容器
JP2017172824A (ja) * 2016-03-22 2017-09-28 トッパン・フォームズ株式会社 保冷方法

Patent Citations (9)

* Cited by examiner, † Cited by third party
Publication number Priority date Publication date Assignee Title
JP2001201222A (ja) * 2000-01-20 2001-07-27 Masao Umemoto 低温保冷体、および極低温冷凍装置
JP2004238051A (ja) * 2003-02-07 2004-08-26 Olympus Corp 搬送容器
JP2013050447A (ja) * 2011-08-01 2013-03-14 Masato Takahashi 方位情報取得方法
JP2015048103A (ja) * 2013-08-30 2015-03-16 株式会社カネカ 定温保管輸送容器及び輸送方法
JP2015052433A (ja) * 2013-09-09 2015-03-19 奥野製薬工業株式会社 食品保冷梱包ケースおよびそれを用いた食品梱包体
WO2016194745A1 (ja) * 2015-05-29 2016-12-08 シャープ株式会社 保温容器およびその作製方法
JP2017030862A (ja) * 2015-08-05 2017-02-09 クールパックシステム株式会社 保冷コンテナ
JP2017128622A (ja) * 2016-01-18 2017-07-27 株式会社Ihiエアロスペース 保冷剤、保冷部材及び保冷容器
JP2017172824A (ja) * 2016-03-22 2017-09-28 トッパン・フォームズ株式会社 保冷方法

Cited By (2)

* Cited by examiner, † Cited by third party
Publication number Priority date Publication date Assignee Title
JP2023549578A (ja) * 2020-11-15 2023-11-27 フェイズ チェンジ エナジー ソリューションズ, インコーポレイテッド 温度の影響を受けやすい貨物を保存および/または運搬するシステム
BE1028814B1 (nl) * 2020-11-20 2022-06-20 Dohmeyer Construction Sp Z O O Gebruik van een eutectisch medium of een medium met laag smeltpunt voor het afkoelen en koud houden van biologische actieve materialen zoals vaccins op een zeer lage temperatuur, koelinrichting hiervoor, en werkwijze voor het produceren van houders omvattende dergelijk eutectisch medium of medium met laag smeltpunt

Similar Documents

Publication Publication Date Title
US7257963B2 (en) Thermal insert for container having a passive controlled temperature interior
US7422143B2 (en) Container having passive controlled temperature interior
CA2751174C (en) Modular cuboidal passive temperature controlled shipping container
CN102482022B (zh) 恒温保存容器和运输方法
US9957099B2 (en) Insulated container system for maintaining a controlled payload temperature
US10850047B2 (en) Insulated storage system with balanced thermal energy flow
EP3303176B1 (en) Device and method for transporting temperature-sensitive material
AU2012227268B9 (en) Thermal management systems and methods
US20040079793A1 (en) Container having passive controlled temperature interior, and method of construction
GB2554127A (en) A passive temperature control system for transport and storage containers
EP3475633A1 (en) A passive temperature control system for transport and storage containers
EP1099646A1 (en) Thermoinsulating packaging for thermosensitive products
US20200385623A1 (en) Cold storage material composition, method for using cold storage material composition, cold storage material, and transport container
JPS61501700A (ja) 熱絶縁容器
WO2008133374A1 (en) Cool-keeping system
JP6881710B2 (ja) 断熱容器及びこれを用いた保温保冷装置
US20250263221A1 (en) An insulating transport and storage container
JP2019156458A (ja) 保温搬送容器および搬送方法
JP6501579B2 (ja) 定温保管容器
JP4335721B2 (ja) 低温輸送梱包装置及びその製作方法
US12371244B2 (en) Constant temperature transport container, and constant temperature transport container assembly
JP5654812B2 (ja) 生体材料の輸送容器
KR101982638B1 (ko) 신선제품 운송을 위한 슈퍼칠링 패키징 시스템
JP2014084176A (ja) 保冷容器

Legal Events

Date Code Title Description
A621 Written request for application examination

Free format text: JAPANESE INTERMEDIATE CODE: A621

Effective date: 20210302

A977 Report on retrieval

Free format text: JAPANESE INTERMEDIATE CODE: A971007

Effective date: 20220124

A131 Notification of reasons for refusal

Free format text: JAPANESE INTERMEDIATE CODE: A131

Effective date: 20220208

A521 Request for written amendment filed

Free format text: JAPANESE INTERMEDIATE CODE: A523

Effective date: 20220401

A131 Notification of reasons for refusal

Free format text: JAPANESE INTERMEDIATE CODE: A131

Effective date: 20220607

A601 Written request for extension of time

Free format text: JAPANESE INTERMEDIATE CODE: A601

Effective date: 20220803

A131 Notification of reasons for refusal

Free format text: JAPANESE INTERMEDIATE CODE: A131

Effective date: 20221213

A131 Notification of reasons for refusal

Free format text: JAPANESE INTERMEDIATE CODE: A131

Effective date: 20230411

A521 Request for written amendment filed

Free format text: JAPANESE INTERMEDIATE CODE: A523

Effective date: 20230609

A02 Decision of refusal

Free format text: JAPANESE INTERMEDIATE CODE: A02

Effective date: 20230808