JP2018513402A - マルチチャンネル信号を符号化又は復号化するための装置と方法 - Google Patents
マルチチャンネル信号を符号化又は復号化するための装置と方法 Download PDFInfo
- Publication number
- JP2018513402A JP2018513402A JP2017548015A JP2017548015A JP2018513402A JP 2018513402 A JP2018513402 A JP 2018513402A JP 2017548015 A JP2017548015 A JP 2017548015A JP 2017548015 A JP2017548015 A JP 2017548015A JP 2018513402 A JP2018513402 A JP 2018513402A
- Authority
- JP
- Japan
- Prior art keywords
- channel
- processing
- channels
- mch
- parameter
- Prior art date
- Legal status (The legal status is an assumption and is not a legal conclusion. Google has not performed a legal analysis and makes no representation as to the accuracy of the status listed.)
- Granted
Links
Images
Classifications
-
- G—PHYSICS
- G10—MUSICAL INSTRUMENTS; ACOUSTICS
- G10L—SPEECH ANALYSIS TECHNIQUES OR SPEECH SYNTHESIS; SPEECH RECOGNITION; SPEECH OR VOICE PROCESSING TECHNIQUES; SPEECH OR AUDIO CODING OR DECODING
- G10L19/00—Speech or audio signals analysis-synthesis techniques for redundancy reduction, e.g. in vocoders; Coding or decoding of speech or audio signals, using source filter models or psychoacoustic analysis
- G10L19/008—Multichannel audio signal coding or decoding using interchannel correlation to reduce redundancy, e.g. joint-stereo, intensity-coding or matrixing
-
- G—PHYSICS
- G10—MUSICAL INSTRUMENTS; ACOUSTICS
- G10L—SPEECH ANALYSIS TECHNIQUES OR SPEECH SYNTHESIS; SPEECH RECOGNITION; SPEECH OR VOICE PROCESSING TECHNIQUES; SPEECH OR AUDIO CODING OR DECODING
- G10L19/00—Speech or audio signals analysis-synthesis techniques for redundancy reduction, e.g. in vocoders; Coding or decoding of speech or audio signals, using source filter models or psychoacoustic analysis
- G10L19/02—Speech or audio signals analysis-synthesis techniques for redundancy reduction, e.g. in vocoders; Coding or decoding of speech or audio signals, using source filter models or psychoacoustic analysis using spectral analysis, e.g. transform vocoders or subband vocoders
-
- H—ELECTRICITY
- H04—ELECTRIC COMMUNICATION TECHNIQUE
- H04S—STEREOPHONIC SYSTEMS
- H04S3/00—Systems employing more than two channels, e.g. quadraphonic
- H04S3/008—Systems employing more than two channels, e.g. quadraphonic in which the audio signals are in digital form, i.e. employing more than two discrete digital channels
-
- H—ELECTRICITY
- H04—ELECTRIC COMMUNICATION TECHNIQUE
- H04S—STEREOPHONIC SYSTEMS
- H04S2400/00—Details of stereophonic systems covered by H04S but not provided for in its groups
- H04S2400/01—Multi-channel, i.e. more than two input channels, sound reproduction with two speakers wherein the multi-channel information is substantially preserved
Landscapes
- Engineering & Computer Science (AREA)
- Physics & Mathematics (AREA)
- Multimedia (AREA)
- Acoustics & Sound (AREA)
- Signal Processing (AREA)
- Computational Linguistics (AREA)
- Health & Medical Sciences (AREA)
- Audiology, Speech & Language Pathology (AREA)
- Human Computer Interaction (AREA)
- Mathematical Physics (AREA)
- Spectroscopy & Molecular Physics (AREA)
- Compression, Expansion, Code Conversion, And Decoders (AREA)
- Stereophonic System (AREA)
- Error Detection And Correction (AREA)
- Compression Or Coding Systems Of Tv Signals (AREA)
Abstract
Description
−第1反復ステップにおいて、少なくとも3つのチャンネルのそれぞれの組の間のチャンネル間相関値を計算するステップと、第1反復ステップにおいて、最高値を有する又は閾値より上の値を有する組を選択するステップと、選択された組のための第1マルチチャンネルパラメータを導出するため、及び、第1の処理されたチャンネルを導出するためにマルチチャンネル処理操作を使用して選択された組を処理するステップ。
−第2マルチチャンネルパラメータと第2の処理されたチャンネルとを得るために、処理されたチャンネルの少なくとも1つを使用して、第2反復ステップにおいて、計算するステップと、選択するステップと、処理するステップとを実行するステップ。
−符号化されたチャンネルを得るために、反復プロセッサーによって実行された反復処理から生じたチャンネルを符号化するステップ。
−符号化されたチャンネルと、第1及び第2マルチチャンネルパラメータとを有する符号化されたマルチチャンネル信号を生成するステップ。
−復号化されたチャンネルを得るために、符号化されたチャンネルを復号化するステップ
−処理されたチャンネルを得るために、第2マルチチャンネルパラメータによって識別された復号化されたチャンネルの第2の組を使用して、及び第2マルチチャンネルパラメータを使用してマルチチャンネル処理を実行するステップと、第1マルチチャンネルパラメータによって識別されたチャンネルの第1の組を使用して、及び第1マルチチャンネルパラメータを使用して、別のマルチチャンネル処理を実行するステップを含み、チャンネルの第1の組は少なくとも1つの処理されたチャンネルを備える。
少なくとも3つのチャンネルCH1からCH3の第1の組の間のチャンネル間相関値を計算しうり、第1の組は第1チャンネルCH1と第2チャンネルCH2からなり、少なくとも3つのチャンネルCH1からCH3の第2の組の間のチャンネル間相関値を計算しうり、第2の組は第2チャンネルCH2と第3チャンネルCH3からなり、そして、少なくとも3つのチャンネルCH1からCH3の第3の組の間のチャンネル間相関値を計算しうり、第3の組は第1チャンネルCH1と第3チャンネルCH3からなる。
numPairs = numChannels*(numChannels-1)/2
numBits = floor(log2(numPairs-1))+1
alpha = 0.5*atan2(2*correlation[ch1][ch2],
(correlation[ch1][ch1] - correlation[ch2][ch2]))
Claims (27)
- 少なくとも3つのチャンネル(CH1:CH3)を有するマルチチャンネル信号(101)を符号化するための装置(100)であって、
第1反復ステップにおいて、前記少なくとも3つのチャンネル(CH:CH3)のそれぞれの組の間のチャンネル間相関値を計算し、前記第1反復ステップにおいて、最高値を有する、又は閾値より上の値を有する一組を選択し、マルチチャンネル処理操作(110、112)を使用して前記選択された組を処理して、前記選択された組についての第1マルチチャンネルパラメータ(MCH_PAR1)を導出する、及び第1の処理されたチャンネル(P1、P2)を導出するための反復プロセッサー(102)であって、
前記反復プロセッサー(102)は、第2反復ステップにおいて、少なくとも1つの前記処理されたチャンネル(P1)を使用して、前記計算、前記選択、前記処理を実行して、第2マルチチャンネルパラメータ(MCH_PAR2)及び第2の処理されたチャンネル(P3、P4)を導出するように構成される反復プロセッサー(102)と、
前記反復プロセッサー(104)が実行する反復処理から生じたチャンネル(P2:P4)を符号化して符号化されたチャンネル(E1:E3)を得るためのチャンネルエンコーダーと、
前記符号化されたチャンネル(E1:E3)と、前記第1及び前記第2マルチチャンネルパラメータ(MCH_PAR1、MCH_PAR2)とを有する符号化されたマルチチャンネル信号(107)を生成するための出力インターフェース(106)とを備える装置(100)。 - 前記出力インターフェース(106)が、シリアルビットストリームとして、且つ、前記第2マルチチャンネルパラメータ(MCH_PAR2)が、前記符号化された信号内において、前記第1マルチチャンネルパラメータ(MCH_PAR1)の前にあるように前記符号化されたマルチチャンネル信号(107)を生成するように構成される、請求項1に記載する装置(100)。
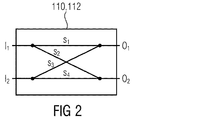
- 前記反復プロセッサー(102)は、前記選択された組からの回転角度計算を使用する回転処理を含むグループと、予測処理との少なくとも一方を備えるステレオ処理を実行するよう構成される、請求項1又は請求項2の1つに記載する装置(100)。
- 前記第1マルチチャンネルパラメータ(MCH_PAR1)は、前記第1反復ステップに対する前記選択された組において、前記チャンネルの第1の識別を備え、前記第2マルチチャンネルパラメータ(MCH_PAR2)は、前記第2反復ステップの選択された組において、前記チャンネルの第2の識別を備える、請求項1ないし請求項3の1つに記載する装置(100)。
- 前記反復プロセッサー(102)は、複数のバンドについて1つのチャンネル間の相関値が得られるように、前記複数のバンドを備える各チャンネルのフレームを使用してチャンネル間相関を計算するよう構成され、
前記反復プロセッサー(104)は、前記複数のバンドのそれぞれについて、前記第1又は前記第2マルチチャンネルパラメータ(MCH_PAR1、MCH_PAR2)が得られるように、前記複数のバンドのそれぞれに対して、前記マルチチャンネル処理を実行するよう構成される、請求項1ないし請求項4の1つに記載する装置(100)。 - 前記反復プロセッサー(102)は、第1のフレームについて、複数の選択された組の指示を導出するよう構成され、前記出力インターフェース(106)は、前記マルチチャンネル信号(107)に、前記第1のフレームに続く第2のフレームのために、前記第2のフレームが前記第1のフレームと同じ複数の選択された組の指示を有することを示すキープインジケーターを含むよう構成される、請求項1ないし請求項5の1つに記載する装置(100)。
- 前記反復プロセッサー(102)は、前記組の前記レベル差が閾値よりも小さいとき、1つの組の選択だけをするよう構成され、前記閾値は、40dB、若しくは25dB、若しくは12dBよりも小さい、又は6dBよりも小さい、請求項1ないし請求項6の1つに記載する装置(100)。
- 前記反復プロセッサー(102)は、正規化された相関値を計算するよう構成され、前記相関値が、0.2よりも大きく、好ましくは0.3であるときに、前記反復プロセッサー(102)は、組を選択するよう構成される、請求項1ないし請求項7の1つに記載する装置(100)。
- 前記反復プロセッサー(102)は、前記マルチチャンネル処理において、ステレオパラメータを計算するよう構成され、前記反復プロセッサー(102)は、バンド内において、ステレオ処理のみを行うように構成され、ステレオパラメータは、ステレオパラメータ量子化器によって定義されるゼロに量子化された閾値よりも高い、請求項1ないし請求項8の1つに記載する装置(100)。
- 前記反復プロセッサー(102)は、前記マルチチャンネル処理において、回転角度を計算するよう構成され、前記反復プロセッサー(102)は、バンド内において、回転処理のみを行うように構成され、回転角度は、デコーダー側のゼロに逆量子化された閾値よりも高い、請求項1ないし請求項9の1つに記載する装置(100)。
- 前記反復プロセッサー(102)は、第2反復ステップ、及び該当する場合には以後のどの反復ステップにおいても、前記第1反復ステップの前記選択された組を選択しないように構成される請求項1ないし請求項10の1つに記載する装置(100)。
- 前記反復プロセッサー(102)は、反復終了基準に達するまで、反復ステップを実行するように構成され、前記反復終了基準は、反復ステップの最大値が、前記マルチチャンネル信号(101)のチャンネル(CH1:CH3)の総数の2倍と等しい、若しくは、より大きいことである、又は、前記反復終了基準は、前記チャンネル間相関値が、前記閾値よりも高い値を有しないときである、請求項1ないし請求項11の1つに記載する装置(100)。
- 前記反復プロセッサー(102)は、前記第1反復ステップにおいて、前記マルチチャンネル処理を使用して前記選択された組を処理し、前記処理されたチャンネル(P1、P2)が、中間チャンネル(P1)とサイドチャンネル(P2)になるように構成され、
前記反復プロセッサー(102)は、前記第2反復ステップにおいて、前記第2マルチチャンネルパラメータ(MCH_PAR2)及び第2の処理されたチャンネル(P3、P4)を導出するために、前記処理されたチャンネル(P1、P2)の前記少なくとも1つとして、前記処理されたチャンネル(P1、P2)の前記中間チャンネル(P1)だけを使用して、前記計算、前記選択、前記処理を実行するよう構成される、請求項1ないし請求項12の1つに記載する装置(100)。 - 前記チャンネルエンコーダーは、前記反復処理から生じた前記チャンネル(P2:P4)を符号化するためのチャンネルエンコーダー(120_1:120_3)を備え、前記チャンネルエンコーダーは、少ないエネルギーを有するチャンネルを符号化するためには、より大きなエネルギーを有するチャンネルを符号化するよりも少ないビットが使用されるように、前記チャンネル(P2:P4)を符号化するよう構成される、請求項1ないし請求項13の1つに記載する装置(100)。
- 符号化されたチャンネル(E1:E3)と、少なくとも第1及び第2マルチチャンネルパラメータ(MCH_PAR1、MCH_PAR2)とを有する符号化されたマルチチャンネル信号(107)を復号化するための装置(200)であって、
前記符号化されたチャンネル(E1:E3)を復号化して復号化されたチャンネル(D1:D3)を得るためのチャンネルデコーダー(202)と、
前記第2マルチチャンネルパラメータ(MCH_PAR2)によって識別された、前記復号化されたチャンネル(D1:D3)の第2の組を使用して、及び前記第2マルチチャンネルパラメータ(MCH_PAR2)を使用してマルチチャンネル処理を実行して、処理されたチャンネル(P1*、P2*)を得るための、並びに、前記第1マルチチャンネルパラメータ(MCH_PAR1)によって識別されたチャンネル(D1:D3、P1*、P2*)の第1の組を使用して、及び前記第1マルチチャンネルパラメータ(MCH_PAR1)を使用して別のマルチチャンネル処理を実行するためのマルチチャンネルプロセッサー(204)であって、チャンネルの前記第1の組は、少なくとも1つの処理されたチャンネル(P1*、P2*)を構成される、装置(200)。 - 前記符号化されたマルチチャンネル信号(107)は、第1のフレームのための前記第1及び前記第2マルチチャンネルパラメータ(MCH_PAR1、MCH_PAR2)と、前記第1のフレームの後に続く第2のフレームのためのキープインジケーターとを備え、
前記マルチチャンネルプロセッサー(204)は、前記第2のフレームにおいて、前記同じ第2の組と、前記第1のフレームにおいて使用されるのと同じ前記第1の組に対し、前記マルチチャンネル処理及び前記別のマルチチャンネル処理を実行するよう構成される、請求項15に記載する装置(200)。 - 前記マルチチャンネル処理及び前記別のマルチチャンネル処理は、ステレオパラメータを使用するステレオ処理を含み、個々のスケールファクタバンド又は前記復号化されたチャンネル(D1:D3)のスケールファクタバンドのグループについて、第1ステレオパラメータが前記第1マルチチャンネルパラメータ(MCH_PAR1)に含まれ、第2ステレオパラメータが前記第2マルチチャンネルパラメータ(MCH_PAR2)に含まれる、請求項15又は請求項16の1つに記載する装置(200)。
- 前記第1又は前記第2マルチチャンネルパラメータ(MCH_PAR1、MCH_PAR2)は、どのスケールファクタバンドがマルチチャンネル処理されていて、どのスケールファクタバンドがマルチチャンネル処理されていないかを示すマルチチャンネル処理マスクを備え、
前記マルチチャンネルプロセッサー(204)は、前記マルチチャンネル処理マスクによって示される前記スケールファクタバンドにおいて、前記マルチチャンネル処理をしないように構成される、請求項15ないし請求項17の1つに記載する装置(200)。 - 前記第1又は前記第2マルチチャンネルパラメータ(MCH_PAR1、MCH_PAR2)は、チャンネル組の識別をそれぞれ含み、
前記マルチチャンネルプロセッサー(204)は、事前に定義された復号化ルール又は前記符号化されたマルチチャンネル信号において示された復号化ルールを使用して前記チャンネル組の識別を復号化するよう構成される、請求項15ないし請求項18の1つに記載する装置(200)。 - 前記復号化ルールはハフマン復号化ルールであり、前記マルチチャンネルプロセッサー(204)は、前記チャンネル組の識別のハフマン復号化を実行するように構成される、請求項19に記載する装置(200)。
- 前記符号化されたマルチチャンネル信号(107)は、前記マルチチャンネル処理が許可された前記復号化されたチャンネルのサブグループだけを示し、且つ、前記マルチチャンネル処理が許容されていない少なくとも1つの復号化されたチャンネルを示す、マルチチャンネル処理許容インジケータを備え、
前記マルチチャンネルプロセッサー(204)は、前記マルチチャンネル処理許容インジケータによって示されるように、前記マルチチャンネル処理が許容されない、前記少なくとも1つの復号化されたチャンネルについて、いかなるマルチチャンネル処理も実行しないように構成される、請求項15ないし請求項20の1つに記載する装置(200)。 - 前記第1又は前記第2マルチチャンネルパラメータ(MCH_PAR1、MCH_PAR2)はステレオパラメータを備え、前記ステレオパラメータは差動的に符号化され、前記マルチチャンネルプロセッサー(204)は、前記差動的に符号化されたステレオパラメータを差動的に復号化するための差動的なデコーダーを備える、請求項15ないし請求項21の1つに記載する装置(200)。
- 前記符号化されたマルチチャンネル信号(107)は、第2マルチチャンネルパラメータ(MCH_PAR2)が、前記第1マルチチャンネルパラメータ(MCH_PAR1)の前に、前記デコーダー(200)で受け取られる直列信号であり、
前記マルチチャンネルプロセッサー(204)は、前記マルチチャンネルパラメータ(MCH_PAR1、MCH_PAR2)が前記デコーダー(200)によって受け取られた順番で、前記復号化されたチャンネル(D1:D3)を処理するよう構成される、請求項15ないし請求項22の1つに記載する装置。 - 少なくとも3つのチャンネルを有するマルチチャンネル信号を符号化するための方法(300)であって、前記方法は、
第1反復ステップにおいて、前記少なくとも3つのチャンネルのそれぞれの組の間のチャンネル間相関値を計算するステップ(302)と、第1反復ステップにおいて、最高値を有する又は閾値より上の値を有する組を選択するステップと、前記選択された組のための第1マルチチャンネルパラメータを導出するため、及び、第1の処理されたチャンネルを導出するために、マルチチャンネル処理操作を使用して前記選択された組を処理するステップと、
第2マルチチャンネルパラメータと第2の処理されたチャンネルとを導出するために、前記第2反復ステップにおいて、少なくとも1つの前記処理されたチャンネルとを使用して前記計算するステップと、前記選択するステップと、前記処理するステップとを実行するステップ(304)と、
符号化されたチャンネルを得るために、前記反復プロセッサーによって実行された反復処理によって生じたチャンネルを符号化するステップ(306)と、
前記符号化されたチャンネルと前記第1及び前記第2マルチチャンネルパラメータとを有する符号化されたマルチチャンネル信号を生成するステップ(308)とを備える、方法(300)。 - 符号化されたチャンネル、並びに少なくとも第1及び第2マルチチャンネルパラメータを有する符号化されたマルチチャンネル信号を復号化する方法(400)であって、前記方法は、
復号化されたチャンネルを得るために前記符号化されたチャンネルを復号化するステップ(402)と、
処理されたチャンネルを得るために、前記第2マルチチャンネルパラメータによって識別された前記復号化されたチャンネルの第2の組を使用して、及び前記第2マルチチャンネルパラメータを使用して、マルチチャンネル処理を実行するステップ(404)と、前記第1マルチチャンネルパラメータによって識別されたチャンネルの第1の組を使用して、及び前記第1マルチチャンネルパラメータを使用して別のマルチチャンネル処理を実行するステップを含み、チャンネルの前記第1の組は、少なくとも1つの処理されたチャンネルを備える、方法(400)。 - コンピュータ又はプロセッサー上で動くとき、請求項24の前記マルチチャンネル信号を符号化する前記方法、又は請求項25の符号化されたマルチチャンネル信号を復号化する前記方法を実行するためのコンピュータプログラム。
- マルチチャンネル処理は、ジョイントステレオ処理又は2より多くのチャンネルのジョイント処理を意味し、マルチチャンネル信号は、2つのチャンネル又は2つより多くのチャンネルを有する、請求項1ないし請求項26のいずれかに記載する装置、方法、コンピュータプログラム。
Applications Claiming Priority (5)
| Application Number | Priority Date | Filing Date | Title |
|---|---|---|---|
| EP15158234 | 2015-03-09 | ||
| EP15158234.3 | 2015-03-09 | ||
| EP15172492.9 | 2015-06-17 | ||
| EP15172492.9A EP3067885A1 (en) | 2015-03-09 | 2015-06-17 | Apparatus and method for encoding or decoding a multi-channel signal |
| PCT/EP2016/054900 WO2016142375A1 (en) | 2015-03-09 | 2016-03-08 | Apparatus and method for encoding or decoding a multi-channel signal |
Related Child Applications (1)
| Application Number | Title | Priority Date | Filing Date |
|---|---|---|---|
| JP2019182675A Division JP7208126B2 (ja) | 2015-03-09 | 2019-10-03 | マルチチャンネル信号を符号化又は復号化するための装置と方法 |
Publications (3)
| Publication Number | Publication Date |
|---|---|
| JP2018513402A true JP2018513402A (ja) | 2018-05-24 |
| JP2018513402A5 JP2018513402A5 (ja) | 2019-06-06 |
| JP6600004B2 JP6600004B2 (ja) | 2019-10-30 |
Family
ID=52692421
Family Applications (4)
| Application Number | Title | Priority Date | Filing Date |
|---|---|---|---|
| JP2017548015A Active JP6600004B2 (ja) | 2015-03-09 | 2016-03-08 | マルチチャンネル信号を符号化又は復号化するための装置と方法 |
| JP2019182675A Active JP7208126B2 (ja) | 2015-03-09 | 2019-10-03 | マルチチャンネル信号を符号化又は復号化するための装置と方法 |
| JP2023000472A Active JP7617154B2 (ja) | 2015-03-09 | 2023-01-05 | マルチチャンネル信号を符号化又は復号化するための装置と方法 |
| JP2025001698A Pending JP2025066734A (ja) | 2015-03-09 | 2025-01-06 | マルチチャンネル信号を符号化又は復号化するための装置と方法 |
Family Applications After (3)
| Application Number | Title | Priority Date | Filing Date |
|---|---|---|---|
| JP2019182675A Active JP7208126B2 (ja) | 2015-03-09 | 2019-10-03 | マルチチャンネル信号を符号化又は復号化するための装置と方法 |
| JP2023000472A Active JP7617154B2 (ja) | 2015-03-09 | 2023-01-05 | マルチチャンネル信号を符号化又は復号化するための装置と方法 |
| JP2025001698A Pending JP2025066734A (ja) | 2015-03-09 | 2025-01-06 | マルチチャンネル信号を符号化又は復号化するための装置と方法 |
Country Status (16)
| Country | Link |
|---|---|
| US (5) | US10388289B2 (ja) |
| EP (3) | EP3067885A1 (ja) |
| JP (4) | JP6600004B2 (ja) |
| KR (1) | KR102109159B1 (ja) |
| CN (2) | CN107592937B (ja) |
| AR (1) | AR103873A1 (ja) |
| AU (1) | AU2016231238B2 (ja) |
| CA (1) | CA2978818C (ja) |
| ES (1) | ES2769032T3 (ja) |
| MX (1) | MX364419B (ja) |
| PL (1) | PL3268959T3 (ja) |
| PT (1) | PT3268959T (ja) |
| RU (1) | RU2711055C2 (ja) |
| SG (1) | SG11201707180SA (ja) |
| TW (1) | TWI584271B (ja) |
| WO (1) | WO2016142375A1 (ja) |
Cited By (2)
| Publication number | Priority date | Publication date | Assignee | Title |
|---|---|---|---|---|
| JP2023533366A (ja) * | 2020-07-17 | 2023-08-02 | 華為技術有限公司 | マルチチャネルオーディオ信号符号化および復号方法および装置 |
| JP2023534049A (ja) * | 2020-07-17 | 2023-08-07 | 華為技術有限公司 | マルチチャネル音声信号コーディング方法及び装置 |
Families Citing this family (20)
| Publication number | Priority date | Publication date | Assignee | Title |
|---|---|---|---|---|
| EP3067885A1 (en) * | 2015-03-09 | 2016-09-14 | Fraunhofer-Gesellschaft zur Förderung der angewandten Forschung e.V. | Apparatus and method for encoding or decoding a multi-channel signal |
| CN106710600B (zh) * | 2016-12-16 | 2020-02-04 | 广州广晟数码技术有限公司 | 多声道音频信号的去相关编码方法和装置 |
| US10650834B2 (en) | 2018-01-10 | 2020-05-12 | Savitech Corp. | Audio processing method and non-transitory computer readable medium |
| CN111630593B (zh) | 2018-01-18 | 2021-12-28 | 杜比实验室特许公司 | 用于译码声场表示信号的方法和装置 |
| RU2769788C1 (ru) * | 2018-07-04 | 2022-04-06 | Фраунхофер-Гезелльшафт Цур Фердерунг Дер Ангевандтен Форшунг Е.Ф. | Кодер, многосигнальный декодер и соответствующие способы с использованием отбеливания сигналов или постобработки сигналов |
| US10547927B1 (en) * | 2018-07-27 | 2020-01-28 | Mimi Hearing Technologies GmbH | Systems and methods for processing an audio signal for replay on stereo and multi-channel audio devices |
| KR102837743B1 (ko) | 2018-11-13 | 2025-07-23 | 돌비 레버러토리즈 라이쎈싱 코오포레이션 | 오디오 신호 및 연관된 메타데이터에 의해 공간 오디오를 표현하는 것 |
| SG11202103700QA (en) | 2018-11-13 | 2021-05-28 | Dolby Laboratories Licensing Corp | Audio processing in immersive audio services |
| US12142285B2 (en) | 2019-06-24 | 2024-11-12 | Qualcomm Incorporated | Quantizing spatial components based on bit allocations determined for psychoacoustic audio coding |
| US12308034B2 (en) | 2019-06-24 | 2025-05-20 | Qualcomm Incorporated | Performing psychoacoustic audio coding based on operating conditions |
| US11361776B2 (en) | 2019-06-24 | 2022-06-14 | Qualcomm Incorporated | Coding scaled spatial components |
| US11538489B2 (en) * | 2019-06-24 | 2022-12-27 | Qualcomm Incorporated | Correlating scene-based audio data for psychoacoustic audio coding |
| CN112233682B (zh) * | 2019-06-29 | 2024-07-16 | 华为技术有限公司 | 一种立体声编码方法、立体声解码方法和装置 |
| CN112151045B (zh) * | 2019-06-29 | 2024-06-04 | 华为技术有限公司 | 一种立体声编码方法、立体声解码方法和装置 |
| CN112216290B (zh) * | 2019-07-09 | 2025-08-15 | 海信视像科技股份有限公司 | 音频数据的传输方法、装置及播放设备 |
| CN113782040B (zh) * | 2020-05-22 | 2024-07-30 | 华为技术有限公司 | 基于心理声学的音频编码方法及装置 |
| EP4243015A4 (en) | 2021-01-27 | 2024-04-17 | Samsung Electronics Co., Ltd. | AUDIO PROCESSING APPARATUS AND METHOD |
| CN115410584A (zh) * | 2021-05-28 | 2022-11-29 | 华为技术有限公司 | 多声道音频信号的编码方法和装置 |
| US12225370B2 (en) * | 2022-01-13 | 2025-02-11 | Electronics And Telecommunications Research Institute | Apparatus for immersive spatial audio modeling and rendering |
| WO2025091293A1 (zh) * | 2023-10-31 | 2025-05-08 | 北京小米移动软件有限公司 | 分组方法、编码器、解码器以及存储介质 |
Citations (7)
| Publication number | Priority date | Publication date | Assignee | Title |
|---|---|---|---|---|
| JPH07160292A (ja) * | 1993-12-07 | 1995-06-23 | Sony Corp | 多層符号化装置 |
| JP2004246224A (ja) * | 2003-02-17 | 2004-09-02 | Matsushita Electric Ind Co Ltd | オーディオ高能率符号化装置、オーディオ高能率符号化方法、オーディオ高能率符号化プログラム及びその記録媒体 |
| JP2008503767A (ja) * | 2004-06-21 | 2008-02-07 | コーニンクレッカ フィリップス エレクトロニクス エヌ ヴィ | マルチチャンネルオーディオ信号を符号化及び復号する方法及び装置 |
| JP2008129250A (ja) * | 2006-11-20 | 2008-06-05 | National Chiao Tung Univ | Aacのためのウィンドウ切り替え方法およびm/s符号化の帯域決定方法 |
| JP2008535014A (ja) * | 2005-03-30 | 2008-08-28 | コーニンクレッカ フィリップス エレクトロニクス エヌ ヴィ | スケーラブルマルチチャネル音声符号化方法 |
| US20130077793A1 (en) * | 2010-03-29 | 2013-03-28 | Samsung Electronics Co., Ltd. | Method and apparatus for down-mixing multi-channel audio |
| JP2015011076A (ja) * | 2013-06-26 | 2015-01-19 | 日本放送協会 | 音響信号符号化装置、音響信号符号化方法、および音響信号復号化装置 |
Family Cites Families (48)
| Publication number | Priority date | Publication date | Assignee | Title |
|---|---|---|---|---|
| US5956674A (en) * | 1995-12-01 | 1999-09-21 | Digital Theater Systems, Inc. | Multi-channel predictive subband audio coder using psychoacoustic adaptive bit allocation in frequency, time and over the multiple channels |
| JP4521939B2 (ja) | 2000-07-06 | 2010-08-11 | キヤノン株式会社 | 画像形成装置 |
| JP2002073086A (ja) * | 2000-08-24 | 2002-03-12 | Sony Corp | 音声符号化装置および方法 |
| SE519981C2 (sv) * | 2000-09-15 | 2003-05-06 | Ericsson Telefon Ab L M | Kodning och avkodning av signaler från flera kanaler |
| US7502743B2 (en) * | 2002-09-04 | 2009-03-10 | Microsoft Corporation | Multi-channel audio encoding and decoding with multi-channel transform selection |
| US7447317B2 (en) * | 2003-10-02 | 2008-11-04 | Fraunhofer-Gesellschaft Zur Foerderung Der Angewandten Forschung E.V | Compatible multi-channel coding/decoding by weighting the downmix channel |
| DE102004009628A1 (de) * | 2004-02-27 | 2005-10-06 | Fraunhofer-Gesellschaft zur Förderung der angewandten Forschung e.V. | Vorrichtung und Verfahren zum Beschreiben einer Audio-CD und Audio-CD |
| DE102004042819A1 (de) | 2004-09-03 | 2006-03-23 | Fraunhofer-Gesellschaft zur Förderung der angewandten Forschung e.V. | Vorrichtung und Verfahren zum Erzeugen eines codierten Multikanalsignals und Vorrichtung und Verfahren zum Decodieren eines codierten Multikanalsignals |
| DE102004043521A1 (de) * | 2004-09-08 | 2006-03-23 | Fraunhofer-Gesellschaft zur Förderung der angewandten Forschung e.V. | Vorrichtung und Verfahren zum Erzeugen eines Multikanalsignals oder eines Parameterdatensatzes |
| KR100682904B1 (ko) * | 2004-12-01 | 2007-02-15 | 삼성전자주식회사 | 공간 정보를 이용한 다채널 오디오 신호 처리 장치 및 방법 |
| US7573912B2 (en) * | 2005-02-22 | 2009-08-11 | Fraunhofer-Gesellschaft Zur Foerderung Der Angewandten Forschunng E.V. | Near-transparent or transparent multi-channel encoder/decoder scheme |
| EP1851866B1 (en) * | 2005-02-23 | 2011-08-17 | Telefonaktiebolaget LM Ericsson (publ) | Adaptive bit allocation for multi-channel audio encoding |
| DE102005010057A1 (de) * | 2005-03-04 | 2006-09-07 | Fraunhofer-Gesellschaft zur Förderung der angewandten Forschung e.V. | Vorrichtung und Verfahren zum Erzeugen eines codierten Stereo-Signals eines Audiostücks oder Audiodatenstroms |
| US7961890B2 (en) | 2005-04-15 | 2011-06-14 | Fraunhofer-Gesellschaft Zur Foerderung Der Angewandten Forschung, E.V. | Multi-channel hierarchical audio coding with compact side information |
| US7983922B2 (en) * | 2005-04-15 | 2011-07-19 | Fraunhofer-Gesellschaft Zur Foerderung Der Angewandten Forschung E.V. | Apparatus and method for generating multi-channel synthesizer control signal and apparatus and method for multi-channel synthesizing |
| JP2006323314A (ja) * | 2005-05-20 | 2006-11-30 | Matsushita Electric Ind Co Ltd | マルチチャネル音声信号をバイノーラルキュー符号化する装置 |
| US8214221B2 (en) * | 2005-06-30 | 2012-07-03 | Lg Electronics Inc. | Method and apparatus for decoding an audio signal and identifying information included in the audio signal |
| KR101356586B1 (ko) * | 2005-07-19 | 2014-02-11 | 코닌클리케 필립스 엔.브이. | 다중 채널 오디오 신호를 생성하기 위한 디코더, 수신기 및 방법 |
| US7792668B2 (en) * | 2005-08-30 | 2010-09-07 | Lg Electronics Inc. | Slot position coding for non-guided spatial audio coding |
| KR100891688B1 (ko) * | 2005-10-26 | 2009-04-03 | 엘지전자 주식회사 | 멀티채널 오디오 신호의 부호화 및 복호화 방법과 그 장치 |
| KR100888474B1 (ko) | 2005-11-21 | 2009-03-12 | 삼성전자주식회사 | 멀티채널 오디오 신호의 부호화/복호화 장치 및 방법 |
| KR101218776B1 (ko) * | 2006-01-11 | 2013-01-18 | 삼성전자주식회사 | 다운믹스된 신호로부터 멀티채널 신호 생성방법 및 그 기록매체 |
| FR2898725A1 (fr) | 2006-03-15 | 2007-09-21 | France Telecom | Dispositif et procede de codage gradue d'un signal audio multi-canal selon une analyse en composante principale |
| US8027479B2 (en) * | 2006-06-02 | 2011-09-27 | Coding Technologies Ab | Binaural multi-channel decoder in the context of non-energy conserving upmix rules |
| US7606716B2 (en) * | 2006-07-07 | 2009-10-20 | Srs Labs, Inc. | Systems and methods for multi-dialog surround audio |
| EP2054875B1 (en) * | 2006-10-16 | 2011-03-23 | Dolby Sweden AB | Enhanced coding and parameter representation of multichannel downmixed object coding |
| US8295494B2 (en) * | 2007-08-13 | 2012-10-23 | Lg Electronics Inc. | Enhancing audio with remixing capability |
| US8218775B2 (en) * | 2007-09-19 | 2012-07-10 | Telefonaktiebolaget L M Ericsson (Publ) | Joint enhancement of multi-channel audio |
| EP2076900A1 (en) * | 2007-10-17 | 2009-07-08 | Fraunhofer-Gesellschaft zur Förderung der Angewandten Forschung e.V. | Audio coding using upmix |
| US8249883B2 (en) * | 2007-10-26 | 2012-08-21 | Microsoft Corporation | Channel extension coding for multi-channel source |
| WO2009146734A1 (en) * | 2008-06-03 | 2009-12-10 | Nokia Corporation | Multi-channel audio coding |
| KR101137361B1 (ko) * | 2009-01-28 | 2012-04-26 | 엘지전자 주식회사 | 오디오 신호 처리 방법 및 장치 |
| US9105264B2 (en) * | 2009-07-31 | 2015-08-11 | Panasonic Intellectual Property Management Co., Ltd. | Coding apparatus and decoding apparatus |
| US9031850B2 (en) * | 2009-08-20 | 2015-05-12 | Gvbb Holdings S.A.R.L. | Audio stream combining apparatus, method and program |
| BR112012008793B1 (pt) * | 2009-10-15 | 2021-02-23 | France Telecom | Processos de codificação e de decodificação paramétrica de um sinalaudiodigital multicanal, codificador e decodificador paramétricos de um sinalaudiodigital multicanal |
| CN102714036B (zh) | 2009-12-28 | 2014-01-22 | 松下电器产业株式会社 | 语音编码装置和语音编码方法 |
| EP2375409A1 (en) * | 2010-04-09 | 2011-10-12 | Fraunhofer-Gesellschaft zur Förderung der angewandten Forschung e.V. | Audio encoder, audio decoder and related methods for processing multi-channel audio signals using complex prediction |
| US8908874B2 (en) * | 2010-09-08 | 2014-12-09 | Dts, Inc. | Spatial audio encoding and reproduction |
| JP5681290B2 (ja) * | 2010-09-28 | 2015-03-04 | ホアウェイ・テクノロジーズ・カンパニー・リミテッド | デコードされたマルチチャネルオーディオ信号またはデコードされたステレオ信号を後処理するためのデバイス |
| WO2012088336A2 (en) * | 2010-12-22 | 2012-06-28 | Genaudio, Inc. | Audio spatialization and environment simulation |
| US20150371643A1 (en) * | 2012-04-18 | 2015-12-24 | Nokia Corporation | Stereo audio signal encoder |
| EP2717265A1 (en) | 2012-10-05 | 2014-04-09 | Fraunhofer-Gesellschaft zur Förderung der angewandten Forschung e.V. | Encoder, decoder and methods for backward compatible dynamic adaption of time/frequency resolution in spatial-audio-object-coding |
| CN105409247B (zh) * | 2013-03-05 | 2020-12-29 | 弗劳恩霍夫应用研究促进协会 | 用于音频信号处理的多声道直接-周围分解的装置及方法 |
| US9659569B2 (en) * | 2013-04-26 | 2017-05-23 | Nokia Technologies Oy | Audio signal encoder |
| EP2830334A1 (en) * | 2013-07-22 | 2015-01-28 | Fraunhofer-Gesellschaft zur Förderung der angewandten Forschung e.V. | Multi-channel audio decoder, multi-channel audio encoder, methods, computer program and encoded audio representation using a decorrelation of rendered audio signals |
| TWI634547B (zh) * | 2013-09-12 | 2018-09-01 | 瑞典商杜比國際公司 | 在包含至少四音訊聲道的多聲道音訊系統中之解碼方法、解碼裝置、編碼方法以及編碼裝置以及包含電腦可讀取的媒體之電腦程式產品 |
| DE112015003108B4 (de) * | 2014-07-01 | 2021-03-04 | Electronics And Telecommunications Research Institute | Verfahren und Vorrichtung zur Verarbeitung eines Mehrkanal-Audiosignals |
| EP3067885A1 (en) | 2015-03-09 | 2016-09-14 | Fraunhofer-Gesellschaft zur Förderung der angewandten Forschung e.V. | Apparatus and method for encoding or decoding a multi-channel signal |
-
2015
- 2015-06-17 EP EP15172492.9A patent/EP3067885A1/en not_active Withdrawn
-
2016
- 2016-02-24 TW TW105105526A patent/TWI584271B/zh active
- 2016-03-07 AR ARP160100598A patent/AR103873A1/es active IP Right Grant
- 2016-03-08 RU RU2017134964A patent/RU2711055C2/ru active
- 2016-03-08 CN CN201680026823.9A patent/CN107592937B/zh active Active
- 2016-03-08 KR KR1020177028549A patent/KR102109159B1/ko active Active
- 2016-03-08 PL PL16709344T patent/PL3268959T3/pl unknown
- 2016-03-08 CN CN202011242898.5A patent/CN112233684B/zh active Active
- 2016-03-08 JP JP2017548015A patent/JP6600004B2/ja active Active
- 2016-03-08 WO PCT/EP2016/054900 patent/WO2016142375A1/en not_active Ceased
- 2016-03-08 EP EP16709344.2A patent/EP3268959B1/en active Active
- 2016-03-08 EP EP19157636.2A patent/EP3506259A1/en not_active Withdrawn
- 2016-03-08 MX MX2017011495A patent/MX364419B/es active IP Right Grant
- 2016-03-08 SG SG11201707180SA patent/SG11201707180SA/en unknown
- 2016-03-08 PT PT167093442T patent/PT3268959T/pt unknown
- 2016-03-08 AU AU2016231238A patent/AU2016231238B2/en active Active
- 2016-03-08 ES ES16709344T patent/ES2769032T3/es active Active
- 2016-03-08 CA CA2978818A patent/CA2978818C/en active Active
-
2017
- 2017-09-06 US US15/696,861 patent/US10388289B2/en active Active
-
2019
- 2019-05-15 US US16/413,299 patent/US10762909B2/en active Active
- 2019-10-03 JP JP2019182675A patent/JP7208126B2/ja active Active
-
2020
- 2020-08-17 US US16/995,537 patent/US11508384B2/en active Active
-
2022
- 2022-10-18 US US17/968,583 patent/US11955131B2/en active Active
-
2023
- 2023-01-05 JP JP2023000472A patent/JP7617154B2/ja active Active
-
2024
- 2024-03-29 US US18/622,507 patent/US12462819B2/en active Active
-
2025
- 2025-01-06 JP JP2025001698A patent/JP2025066734A/ja active Pending
Patent Citations (7)
| Publication number | Priority date | Publication date | Assignee | Title |
|---|---|---|---|---|
| JPH07160292A (ja) * | 1993-12-07 | 1995-06-23 | Sony Corp | 多層符号化装置 |
| JP2004246224A (ja) * | 2003-02-17 | 2004-09-02 | Matsushita Electric Ind Co Ltd | オーディオ高能率符号化装置、オーディオ高能率符号化方法、オーディオ高能率符号化プログラム及びその記録媒体 |
| JP2008503767A (ja) * | 2004-06-21 | 2008-02-07 | コーニンクレッカ フィリップス エレクトロニクス エヌ ヴィ | マルチチャンネルオーディオ信号を符号化及び復号する方法及び装置 |
| JP2008535014A (ja) * | 2005-03-30 | 2008-08-28 | コーニンクレッカ フィリップス エレクトロニクス エヌ ヴィ | スケーラブルマルチチャネル音声符号化方法 |
| JP2008129250A (ja) * | 2006-11-20 | 2008-06-05 | National Chiao Tung Univ | Aacのためのウィンドウ切り替え方法およびm/s符号化の帯域決定方法 |
| US20130077793A1 (en) * | 2010-03-29 | 2013-03-28 | Samsung Electronics Co., Ltd. | Method and apparatus for down-mixing multi-channel audio |
| JP2015011076A (ja) * | 2013-06-26 | 2015-01-19 | 日本放送協会 | 音響信号符号化装置、音響信号符号化方法、および音響信号復号化装置 |
Cited By (6)
| Publication number | Priority date | Publication date | Assignee | Title |
|---|---|---|---|---|
| JP2023533366A (ja) * | 2020-07-17 | 2023-08-02 | 華為技術有限公司 | マルチチャネルオーディオ信号符号化および復号方法および装置 |
| JP2023534049A (ja) * | 2020-07-17 | 2023-08-07 | 華為技術有限公司 | マルチチャネル音声信号コーディング方法及び装置 |
| JP7519531B2 (ja) | 2020-07-17 | 2024-07-19 | 華為技術有限公司 | マルチチャネルオーディオ信号符号化および復号方法および装置 |
| JP7522295B2 (ja) | 2020-07-17 | 2024-07-24 | 華為技術有限公司 | マルチチャネル音声信号コーディング方法及び装置 |
| US12165660B2 (en) | 2020-07-17 | 2024-12-10 | Huawei Technologies Co., Ltd. | Multi-channel audio signal coding method and apparatus |
| US12437767B2 (en) | 2020-07-17 | 2025-10-07 | Huawei Technologies Co., Ltd. | Multi-channel audio signal encoding and decoding method and apparatus |
Also Published As
Similar Documents
| Publication | Publication Date | Title |
|---|---|---|
| JP6600004B2 (ja) | マルチチャンネル信号を符号化又は復号化するための装置と方法 | |
| JP6573640B2 (ja) | オーディオ・エンコーダおよびデコーダ | |
| HK40010211A (en) | Apparatus and method for encoding or decoding a multi-channel signal | |
| HK1241552A1 (en) | Apparatus and method for encoding or decoding a multi-channel signal | |
| HK1241552B (en) | Apparatus and method for encoding or decoding a multi-channel signal | |
| BR112017019187B1 (pt) | Aparelho e método para codificar e decodificar um sinal de múltiplos canais | |
| BR122023021854B1 (pt) | Aparelho e método para codificar e decodificar um sinal de múltiplos canais | |
| BR122023021817B1 (pt) | Aparelho e método para codificar e decodificar um sinal de múltiplos canais | |
| BR122023021787B1 (pt) | Aparelho e método para codificar e decodificar um sinal de múltiplos canais | |
| BR122023021855B1 (pt) | Aparelho e método para codificar e decodificar um sinal de múltiplos canais | |
| BR122023021774B1 (pt) | Aparelho e método para codificar e decodificar um sinal de múltiplos canais |
Legal Events
| Date | Code | Title | Description |
|---|---|---|---|
| A529 | Written submission of copy of amendment under article 34 pct |
Free format text: JAPANESE INTERMEDIATE CODE: A529 Effective date: 20171113 |
|
| A621 | Written request for application examination |
Free format text: JAPANESE INTERMEDIATE CODE: A621 Effective date: 20171113 |
|
| A977 | Report on retrieval |
Free format text: JAPANESE INTERMEDIATE CODE: A971007 Effective date: 20181024 |
|
| A131 | Notification of reasons for refusal |
Free format text: JAPANESE INTERMEDIATE CODE: A131 Effective date: 20181106 |
|
| A601 | Written request for extension of time |
Free format text: JAPANESE INTERMEDIATE CODE: A601 Effective date: 20190205 |
|
| A601 | Written request for extension of time |
Free format text: JAPANESE INTERMEDIATE CODE: A601 Effective date: 20190405 |
|
| A524 | Written submission of copy of amendment under article 19 pct |
Free format text: JAPANESE INTERMEDIATE CODE: A524 Effective date: 20190425 |
|
| TRDD | Decision of grant or rejection written | ||
| A01 | Written decision to grant a patent or to grant a registration (utility model) |
Free format text: JAPANESE INTERMEDIATE CODE: A01 Effective date: 20190903 |
|
| A61 | First payment of annual fees (during grant procedure) |
Free format text: JAPANESE INTERMEDIATE CODE: A61 Effective date: 20191003 |
|
| R150 | Certificate of patent or registration of utility model |
Ref document number: 6600004 Country of ref document: JP Free format text: JAPANESE INTERMEDIATE CODE: R150 |
|
| R250 | Receipt of annual fees |
Free format text: JAPANESE INTERMEDIATE CODE: R250 |
|
| R250 | Receipt of annual fees |
Free format text: JAPANESE INTERMEDIATE CODE: R250 |
|
| R250 | Receipt of annual fees |
Free format text: JAPANESE INTERMEDIATE CODE: R250 |
|
| R250 | Receipt of annual fees |
Free format text: JAPANESE INTERMEDIATE CODE: R250 |
