JP2018009823A - ゴムの摩耗試験装置 - Google Patents

ゴムの摩耗試験装置 Download PDF

Info

Publication number
JP2018009823A
JP2018009823A JP2016137239A JP2016137239A JP2018009823A JP 2018009823 A JP2018009823 A JP 2018009823A JP 2016137239 A JP2016137239 A JP 2016137239A JP 2016137239 A JP2016137239 A JP 2016137239A JP 2018009823 A JP2018009823 A JP 2018009823A
Authority
JP
Japan
Prior art keywords
test sample
circumferential surface
rubber
rotating body
test apparatus
Prior art date
Legal status (The legal status is an assumption and is not a legal conclusion. Google has not performed a legal analysis and makes no representation as to the accuracy of the status listed.)
Granted
Application number
JP2016137239A
Other languages
English (en)
Other versions
JP6821981B2 (ja
Inventor
剛 侯
Takeshi Ko
剛 侯
畑中 進
Susumu Hatanaka
畑中  進
Current Assignee (The listed assignees may be inaccurate. Google has not performed a legal analysis and makes no representation or warranty as to the accuracy of the list.)
Yokohama Rubber Co Ltd
Original Assignee
Yokohama Rubber Co Ltd
Priority date (The priority date is an assumption and is not a legal conclusion. Google has not performed a legal analysis and makes no representation as to the accuracy of the date listed.)
Filing date
Publication date
Application filed by Yokohama Rubber Co Ltd filed Critical Yokohama Rubber Co Ltd
Priority to JP2016137239A priority Critical patent/JP6821981B2/ja
Priority to US16/316,176 priority patent/US11333592B2/en
Priority to AU2017296468A priority patent/AU2017296468B2/en
Priority to CN201780030071.8A priority patent/CN109313111B/zh
Priority to PCT/JP2017/007439 priority patent/WO2018012022A1/ja
Priority to DE112017003544.9T priority patent/DE112017003544B4/de
Publication of JP2018009823A publication Critical patent/JP2018009823A/ja
Application granted granted Critical
Publication of JP6821981B2 publication Critical patent/JP6821981B2/ja
Active legal-status Critical Current
Anticipated expiration legal-status Critical

Links

Images

Classifications

    • GPHYSICS
    • G01MEASURING; TESTING
    • G01NINVESTIGATING OR ANALYSING MATERIALS BY DETERMINING THEIR CHEMICAL OR PHYSICAL PROPERTIES
    • G01N3/00Investigating strength properties of solid materials by application of mechanical stress
    • G01N3/56Investigating resistance to wear or abrasion
    • GPHYSICS
    • G01MEASURING; TESTING
    • G01NINVESTIGATING OR ANALYSING MATERIALS BY DETERMINING THEIR CHEMICAL OR PHYSICAL PROPERTIES
    • G01N33/00Investigating or analysing materials by specific methods not covered by groups G01N1/00 - G01N31/00
    • G01N33/44Resins; Plastics; Rubber; Leather
    • G01N33/445Rubber

Landscapes

  • Health & Medical Sciences (AREA)
  • Life Sciences & Earth Sciences (AREA)
  • Chemical & Material Sciences (AREA)
  • General Health & Medical Sciences (AREA)
  • Physics & Mathematics (AREA)
  • Analytical Chemistry (AREA)
  • Biochemistry (AREA)
  • General Physics & Mathematics (AREA)
  • Immunology (AREA)
  • Pathology (AREA)
  • Food Science & Technology (AREA)
  • Medicinal Chemistry (AREA)
  • Engineering & Computer Science (AREA)
  • Investigating Strength Of Materials By Application Of Mechanical Stress (AREA)

Abstract

【課題】実使用に合致したゴムの摩耗状態をより高精度で簡便に把握することができるゴムの摩耗試験装置を提供する。【解決手段】ゴムの試験サンプルSを保持部3により保持し、圧着機構10によってこの試験サンプルSに対して、回転している回転体4の円周面4aに向けた付加力Fを付与することにより、試験サンプルSを所定の定位置で円周面4aに押圧しつつ、付加力Fと反対方向への試験サンプルSの移動を常に許容した状態にして、スティック・スリップ現象を再現して試験サンプルSを摩耗させる。【選択図】図1

Description

本発明は、ゴムの摩耗試験装置に関し、さらに詳しくは、実使用に合致したゴムの摩耗状態を、より高精度で簡便に把握することができるゴムの摩耗試験装置に関するものである。
従来、ゴムの耐摩耗性を評価する試験機として、DIN摩耗試験機やウィリアムス摩耗試験機が知られている。しかしながら、これら摩耗試験機は、予め設定された一定条件下の耐摩耗性を把握することを目的としている。そのため、コンベヤベルトの様々な使用環境に整合した条件に設定することができず、実使用した場合のコンベヤベルトの上カバーゴムの耐摩耗性を精度よく予測することが難しい。
そこで、環状のベルトサンプルおよびベルトコンベヤ装置と類似した機構を用いた摩耗試験装置が提案されている(特許文献1参照)。この試験装置によれば、コンベヤベルトの実際の使用条件に類似した条件下で試験を行えるので、上カバーゴムの耐摩耗性を精度よく把握するには有利である。しかしながら、環状のベルトサンプルが必要となり、試験装置の構造も複雑になる。
ところで、対象物とゴムとが接触状態で相対移動してゴムに対して対象物が摺動している場合、両者は常に一様に接触している訳ではない。ゴムが対象物から受ける力(摩擦力)に対抗して弾性変形する工程(粘り工程)と、この摩擦力に対抗できずに弾性変形が解消されて対象物に対してゴムが滑る工程(滑り工程)とを繰り返すスティック・スリップ現象が生じている。従来の試験装置では、このスティック・スリップ現象を十分に考慮してないため、ゴムの摩耗状態を高精度で把握するには改善の余地がある。
特開2016−90417号公報
本発明の目的は、実使用に合致したゴムの摩耗状態を、より高精度で簡便に把握することができるゴムの摩耗試験装置を提供することにある。
上記目的を達成するため本発明のゴムの摩耗試験装置は、ゴムの試験サンプルを保持する保持部と、前記試験サンプルが接触する円周面を有する回転体と、この回転体を回転駆動する駆動部と、前記保持部に保持されている前記試験サンプルに、前記円周面に向けた付加力を付与するとともに、この付加力と反対方向への前記試験サンプルの移動を常に許容する圧着機構とを備えて、回転駆動されている前記回転体に対して前記保持部に保持されている前記試験サンプルを所定の定位置で前記円周面に圧着させる構成にしたことを特徴とする。
本発明によれば、前記圧着機構を用いて、前記保持部に保持されている前記試験サンプルに対して、回転駆動されている前記回転体の前記円周面に向けた付加力を付与して所定の定位置で前記円周面に圧着させるとともに、この付加力と反対方向への前記試験サンプルの移動を常に許容することで、スティック・スリップ現象を再現することができる。そのため、環状のゴムサンプルや複雑な構造の装置を用いることなく、実使用に合致したゴムの摩耗状態を、より高精度で把握することが可能になる。
本発明の摩耗試験装置を正面視で例示する説明図である。 図1の摩耗試験装置の一部を平面視で例示する説明図である。 スティック・スリップ現象を例示する説明図である。 摩耗試験装置の別の実施形態の一部の構成を正面視で例示する説明図である。 コンベヤベルトラインを単純化して例示する説明図である。 図5のA−A断面図である。
以下、本発明のゴムの摩耗試験装置を、図に示した実施形態に基づいて説明する。
図1〜図2に例示する本発明のゴムの摩耗試験装置1では、試験対象とするゴムの試験サンプルSは環状体ではなく、ブロック状などの塊を使用すればよい。この試験装置1は、試験サンプルSを保持する保持部3と、回転体4と、回転体4を回転駆動する駆動部5と、圧着機構10とを備えている。この実施形態の摩耗試験装置1は、さらに、動力計6a、温度センサ6b、カメラ6c、制御部7、温調機構8およびスクレーパ16を備えていて、動力計6aおよび制御部7を除く構成部品がベース2の上に設置されたケーシング2aによって覆われている。
保持部3は試験サンプルSを着脱自在に保持する。保持部3は単数に限らず、複数設けることもできる。
回転体4は、円柱状または円筒状の研磨輪であり、試験サンプルSが接触する円周面4aを有している。円周面4aが試験サンプルSに対する研磨面となる。回転体4は、その円中心に設けられている回転軸4bを中心にして回転可能になっている。
円周面4aの材質や表面粗さ等は、試験条件によって適切な仕様が選択される。例えば、円周面4aの仕様が異なる複数の回転体4を用意しておき、必要な円周面4aの仕様に応じて回転体4を交換する構成にする。或いは、円周面4aのみ交換可能な回転体4にすることもできる。この場合は、必要な仕様の円周面4aを回転体4のコアに装着する。
駆動部5は例えば駆動モータであり制御部7に接続されている。制御部7によって回転体4(回転軸4b)の回転速度が所望の速度に制御される。この実施形態では、動力計6aを介して駆動部5と制御部7とが接続されている。動力計6aは回転体4の回転駆動に要するエネルギ(例えば、駆動モータ5の消費電力)を計測する。動力計6aによる計測データは制御部7に入力、記憶される。
圧着機構10は、保持部3に保持されている試験サンプルSに対して、円周面4aに向けた付加力Fを付与する。これにより、保持部3に保持されている試験サンプルSを、回転駆動されている回転体4に対して所定の定位置で円周面4aに圧着させる。圧着機構10はさらに、付加力Fと反対方向への試験サンプルSの移動を常に許容する構成になっている。
具体的には、この実施形態の圧着機構10は、保持部3が連結されたL字状の保持アーム11aと、保持アーム11aに一端が接続されたワイヤ12と、このワイヤ12の他端に接続された錘15とで構成されている。回転体4の回転軸4bと平行に配置されている支持軸14が、ベース2に立設されている支柱11を貫通して回転自在に支持されている。この支持軸14の一端部に保持アーム11aが固定され、他端部にはバランサー13が固定されている。
錘15の重量が、ワイヤ12を介して保持アーム11aに作用する。そのため、ワイヤ12の張力によって、保持アーム11aと一体化している保持部3は、試験サンプルSとともに、支持軸14を中心にして回転する。即ち、錘15の重量が保持部3に保持されている試験サンプルSに作用して、試験サンプルSに対して円周面4aに向けた付加力Fを付与する。
付加力Fの大きさは、錘15の重量を変更することで容易に変えることができる。或いは、保持アーム11aに対するワイヤ12の接続位置と支持軸14との水平距離や、バランサー13の重量を変更することで付加力Fの大きさを変更することもできる。また、錘15を取り除いた状態で付加力Fがゼロとなるようにバランサー13を設置することもできる。例えば、錘15を取り除いた状態の圧着機構10の自重を打ち消して付加力Fがゼロとなるように、バランサー13の重量と支持軸14からの距離を選択する。錘15を取り除いた状態で付加力Fがゼロとなるようにバランサー13を設置し、且つ、試験サンプルSと支持軸14との距離と、保持アーム11aに対するワイヤ12の接続位置と支持軸14との距離とを等しくすることにより、錘15の重量と付加力Fとを等しくすることができる。
円周面4aに対向する試験サンプルSの表面は、常に一定の大きさの付加力F(規定荷重)によって円周面4aに押圧されて接触した状態になる。付加力Fの向きは、回転体4の回転中心(回転軸4b)に向かう方向にすることが好ましい。この方向にすることで、付加力Fによって試験サンプルSを安定して円周面4aに押圧して接触させることができる。支持軸14を中心とした保持アーム11aの回転を円滑にするために、例えばベアリングを介して支持軸14を支柱11で支持するとよい。
ここで、試験サンプルSは、錘15の重量に基づいて円周面4aに向かって押圧されているだけである。そのため、保持アーム11aが支持軸14を中心に回転することで、試験サンプルSは付加力Fと反対方向に常時、移動が可能になっている。これに伴い、試験サンプルSに対して付加力Fと反対方向の力が作用すれば、試験サンプルSは円周面4aから離反する方向に移動することが可能である。
圧着機構10は、この実施形態に例示した構成に限定されない。圧着機構10は、保持部3に保持されている試験サンプルSに対して、円周面4aに向けた付加力Fを付与して所定の定位置で円周面4aに圧着させるとともに、付加力Fと反対方向への試験サンプルSの移動を常に許容する構成であれば、様々な構成を採用することができる。
この実施形態では、試験サンプルSが回転軸4bと同じ水平レベル位置で円周面4aに接触しているが、試験サンプルSが円周面4aに接触する位置(回転体4の周方向位置)はこれに限らない。例えば、回転軸4bの上方の位置で試験サンプルSが円周面4aに接触する構成にすることもできる。このように試験サンプルSを円周面4aに圧着させる所定の定位置は、適宜設定することができる。
温度センサ6bは、円周面4aまたは試験サンプルSの少なくとも一方の温度を検知する。温度センサ6bによる検知データは、制御部7に入力、記憶される。カメラ6cは、試験サンプルSの動きを撮影し、撮影した動画データは、制御部7に入力、記憶される。
温調機構8は、試験サンプルSを所望の温度に調整する。この実施形態では、温調機構8はケーシング2bの上面に備わっている。温調機構8によってケーシング2bの内部温度を所定温度に調整することで、間接的に試験サンプルSの温度が調整される。
温調機構8は制御部7によって制御される。試験サンプルSを直接加温するヒータや、直接冷却する冷却器を温調機構8として採用することもできる。
スクレーパ16は例えばブラシ状であり、円周面4aに接触している。この実施形態では、スクレーパ16は、回転軸4bを挟んで試験サンプルSとは反対側の位置で円周面4aに接触している。
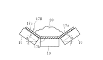
ところで、実際のコンベヤベルトラインでは、図5、図6に例示するように、コンベヤベルト17Aによって搬送された搬送物20が別のコンベヤベルト17Bに投入されて、搬送先に搬送される。コンベヤベルト17Bは、プーリ18、18間に架け渡されていて所定のテンションで張設されている。
コンベヤベルト17Bは、帆布やスチールコード等の心体で構成される心体層17cと、心体層17cを挟む上カバーゴム17aと下カバーゴム17bとにより構成されている。心体層17cは、コンベヤベルト17Bを張設するためのテンションを負担する。コンベヤベルト17Bのキャリア側では下カバーゴム17bが支持ローラ19により支持され、リターン側では上カバーゴム17aが支持ローラ19により支持されている。コンベヤベルト17Bのキャリア側では、例えばベルト幅方向に3つの支持ローラ19が配置されていて、これらの支持ローラ19によってコンベヤベルト17Bは所定のトラフ角度aで凹状に支持されている。
一般に搬送物20は、走行速度V1が相対的に遅いコンベヤベルト17Aから走行速度V2が相対的に速いコンベヤベルト17Bに投入される(走行速度V1<走行速度V2)。コンベヤベルト17Bの上カバーゴム17a上では、投入された搬送物20の速度が走行速度V1からV2に変化することになる。そのため、上カバーゴム17aに対して搬送物20が摺動し、この摺動が主要因の1つとなって上カバーゴム17aは摩耗する。
このように搬送物20が上カバーゴム17aに対して摺動する場合、スティック・スリップ現象が生じている。スティック・スリップ現象では、上述したように粘り工程と滑り工程とを繰り返すため、対象物が摺動するゴムRの表面には、図3に例示するように摺動方向FDに所定のピッチPで摩耗の筋Lが形成される。このピッチPは滑り工程に対応し、摩耗の筋Lは粘り工程に対応する。本発明の摩耗試験装置1では、このスティック・スリップ現象を再現することが可能になっている。
以下、この摩耗試験装置1を用いてゴムの摩耗状態を把握する方法を説明する。
図1、2に例示するように、保持部3には試験サンプルSを保持させる。円周面4aは所望の仕様に設定する。例えば、試験サンプルSとしてコンベヤベルトの上カバーゴム17aを評価する場合には、そのコンベヤベルトによって搬送する搬送物20の形状等に整合する表面粗さの円周面4aを用いる。また、試験サンプルSに所望の付加力Fが付与されるように錘15の重量を設定し、設定した所望の速度で回転体4を回転させる。また、温調機構8を作動させて試験サンプルSを所望の温度に設定する。これらの設定は例えば、試験サンプルSのゴムが実使用される条件に合致するように行われる。
このように設定した摩耗試験装置1では、図1に例示するように試験サンプルSには、回転する回転体4の円周面4aに向けた付加力Fが付与される。試験サンプルSは回転体4に対して所定の定位置で、付加力Fによって円周面4aに押圧されて接触する。回転体4は回転しているため、試験サンプルSと円周面4aとは摺動状態となり、試験サンプルSの円周面4aとの接触面は徐々に摩耗する。
所定の試験時間後に、試験サンプルSの摩耗量の測定や摩耗面を観察する。また、試験前後での試験サンプルSの表面粗さを比較して、総合的に試験サンプルSの摩耗状態を把握する。
ここで、本発明では、試験サンプルSは付加力Fと反対方向への移動が常に許容されている。そのため、円周面4aで摺動している試験サンプルSでは、円周面4aとの摩擦力に対抗して弾性変形する工程(粘り工程)と、この摩擦力に対抗できずに弾性変形が解消されて円周面4aに対して滑る工程(滑り工程)とを繰り返すことができる。即ち、スティック・スリップ現象が再現される。
一方、試験サンプルSに対して流体シリンダ等によって付加力Fを付与する構成であると、試験サンプルSは付加力Fと反対方向に移動できる余地がないため、常時、円周面4aに密着した状態になる。そのため、粘り工程と滑り工程とを繰り返すことができずにスティック・スリップ現象を再現することができない。
本発明によれば、スティック・スリップ現象を再現することができるので、実使用に合致したゴムの摩耗状態を、より高精度で把握することが可能になる。特に、コンベヤベルトの上カバーゴムの摩耗状態を把握するには好適である。
また、試験サンプルSはブロック状などの小片でもよく、わざわざ環状体を用意する必要もない。しかも、試験サンプルSに対して回転体4の円周面4aに向けた付加力Fを付与して所定の定位置で円周面4aに圧着させるとともに、付加力Fと反対方向への試験サンプルSの移動を常に許容する構成にするには、複雑な構造の装置を用いる必要はない。
本発明では、試験中に温度センサ6bにより円周面4aまたは試験サンプルSの少なくとも一方の温度変化を検知できる。試験サンプルSが摩耗する際には熱エネルギが生じるので、温度センサ6bによる検知データに基づいて、摩耗する際のエネルギを把握することができる。ゴムの種類によってこのエネルギの大きさは異なる。そのため、この検知データは、例えば、このエネルギを小さくできるゴム種を把握するには有益である。
動力計6aによって回転体4の回転駆動に要するエネルギを計測することで、エネルギの変動が把握できる。回転体4の回転駆動に要するエネルギは、ティック・スリップ現象の粘り工程では相対的に大きくなり、滑り工程では相対的に小さくなる。そのため、動力計6aにより検知したエネルギの変動に基づいて、その試験サンプルSのティック・スリップ現象における所定のピッチPを把握することが可能になる。このピッチPはゴム種や試験条件によって異なるので、ゴムの摩耗状態を評価するには1つの指標になる。
また、動力計6aによる検知データに基づいて、試験サンプルSに作用する摩耗力を算出することもできる。例えば、付加力Fを付与して試験サンプルSを回転体4の円周面4aに接触させた場合と、接触させない場合とで、回転体4を所定速度で回転駆動させる際に要するエネルギを比較することで、試験サンプルSと円周面4aとの摩擦によって生じているエネルギを算出できる。即ち、比較したエネルギの差が摩擦によるエネルギとして近似できる。そして、回転体4の外径や回転速度等は既知なので、試験サンプルSに作用している摩擦力を概ね算出できる。これにより、ゴム種毎に試験サンプルSに付与する付加力Fと摩擦力との関係を把握することができる。
この実施形態では、カメラ6cによって試験サンプルSの動きを撮影することで、スティック・スリップ現象における試験サンプルSの挙動を確認することができる。スティック・スリップ現象における粘り工程と滑り工程とを繰り返す1周期は、回転体4の回転速度やゴム種によって変化するが、例えば0.01秒〜0.03秒程度である。したがって、1秒で100コマ以上の撮影ができる高速度のカメラ6cを用いるとよい。
また、カメラ6cの撮影データにより、試験サンプルSの押圧方向の変形量を把握することもできる。したがって、試験サンプルSの変形量と付加力Fとの関係、この変形量と摩擦力との関係を把握することも可能になる。
試験サンプルSの耐摩耗性には温度依存性がある。そこで、温調機構8によって試験サンプルSの温度を異ならせて試験をすることで、この温度依存性をゴム種毎に把握することができる。
この実施形態では、回転体4が回転することにより、円周面4aに付着している試験サンプルSの摩耗くず等は、スクレーパ16によって除去される。これにより、円周面4aを常に一定の表面粗さに維持し易くなるため、試験サンプルSのゴムの摩耗状態を高精度で把握するには益々有利になる。スクレーパ16の円周面4aとの接触位置は、試験サンプルSに対して回転体4の回転方向前方側にして、かつ、なるべく下方に配置すると、除去された摩耗くず等が飛散することを防止できる。
図4に例示する摩耗試験装置1の別の実施形態では、試験サンプルSが接触している円周面4aと、この試験サンプルSとの間に介在物Wを投入する投入機構8を備えている。介在物Wとしては、試験サンプルSのゴムが使用される条件下で、このゴムに付着することが想定される材料等を用いる。介在物Wの具体例としては、水、油、砂などの微小粒子が挙げられる。
投入機構8を設けることにより、介在物Wの有無による試験サンプルSの摩耗状態の違いを把握することができる。そのため、実使用に合致したゴムの摩耗状態を精度よく把握するには益々、有利になる。介在物Wの供給量(供給速度)は、制御部7により制御するとよい。
1 摩耗試験装置
2 ベース
3 保持部
4 回転体
4a 円周面
4b 回転軸
5 駆動部
6a 動力計
6b 温度センサ
6c カメラ
7 制御部
8 温調機構
9 投入機構
10 圧着機構
11 支柱
11a 保持アーム
12 ワイヤ
13 バランサー
14 支持軸
15 錘
16 スクレーパ
17A コンベヤベルト
17B 別のコンベヤベルト
17a 上カバーゴム
17b 下カバーゴム
17c 芯体層
18 プーリ
19 支持ローラ
20 搬送物
S 試験サンプル
W 介在物

Claims (8)

  1. ゴムの試験サンプルを保持する保持部と、前記試験サンプルが接触する円周面を有する回転体と、この回転体を回転駆動する駆動部と、前記保持部に保持されている前記試験サンプルに、前記円周面に向けた付加力を付与するとともに、この付加力と反対方向への前記試験サンプルの移動を常に許容する圧着機構とを備えて、回転駆動されている前記回転体に対して前記保持部に保持されている前記試験サンプルを所定の定位置で前記円周面に圧着させる構成にしたことを特徴とするゴムの摩耗試験装置。
  2. 前記回転体の回転速度および前記付加力を制御する制御部を備えた請求項1に記載のゴムの摩耗試験装置。
  3. 前記回転体の回転駆動に要するエネルギを計測する動力計を備えた請求項1または請求項2に記載のゴムの摩耗試験装置。
  4. 前記円周面または前記試験サンプルの少なくとも一方の温度を検知する温度センサを備えた請求項1〜3のいずれかに記載のゴムの摩耗試験装置。
  5. 前記試験サンプルの動きを撮影するカメラを備えた請求項1〜4のいずれかに記載のゴムの摩耗試験装置。
  6. 前記試験サンプルの温度を調整する温調機構を備えた請求項1〜5のいずれかに記載のゴムの摩耗試験装置。
  7. 前記円周面に接触するスクレーパを備えた請求項1〜6のいずれかに記載のゴムの摩耗試験装置。
  8. 前記試験サンプルが接触している前記円周面と、この試験サンプルとの間に介在物を投入する投入機構を備えた請求項1〜7のいずれかに記載のゴムの摩耗試験装置。
JP2016137239A 2016-07-12 2016-07-12 ゴムの摩耗試験装置 Active JP6821981B2 (ja)

Priority Applications (6)

Application Number Priority Date Filing Date Title
JP2016137239A JP6821981B2 (ja) 2016-07-12 2016-07-12 ゴムの摩耗試験装置
US16/316,176 US11333592B2 (en) 2016-07-12 2017-02-27 Rubber wear testing device
AU2017296468A AU2017296468B2 (en) 2016-07-12 2017-02-27 Rubber wear testing device
CN201780030071.8A CN109313111B (zh) 2016-07-12 2017-02-27 橡胶的磨耗试验装置
PCT/JP2017/007439 WO2018012022A1 (ja) 2016-07-12 2017-02-27 ゴムの摩耗試験装置
DE112017003544.9T DE112017003544B4 (de) 2016-07-12 2017-02-27 Kautschukabriebprüfvorrichtung

Applications Claiming Priority (1)

Application Number Priority Date Filing Date Title
JP2016137239A JP6821981B2 (ja) 2016-07-12 2016-07-12 ゴムの摩耗試験装置

Publications (2)

Publication Number Publication Date
JP2018009823A true JP2018009823A (ja) 2018-01-18
JP6821981B2 JP6821981B2 (ja) 2021-01-27

Family

ID=60952524

Family Applications (1)

Application Number Title Priority Date Filing Date
JP2016137239A Active JP6821981B2 (ja) 2016-07-12 2016-07-12 ゴムの摩耗試験装置

Country Status (6)

Country Link
US (1) US11333592B2 (ja)
JP (1) JP6821981B2 (ja)
CN (1) CN109313111B (ja)
AU (1) AU2017296468B2 (ja)
DE (1) DE112017003544B4 (ja)
WO (1) WO2018012022A1 (ja)

Families Citing this family (4)

* Cited by examiner, † Cited by third party
Publication number Priority date Publication date Assignee Title
CN111426456B (zh) * 2020-01-17 2021-11-26 北京工业大学 一种钢橡胶辊对滚试验台
CN114577456B (zh) * 2022-03-10 2024-04-09 一汽解放汽车有限公司 一种橡胶接头性能测试系统
CN114965124B (zh) * 2022-04-15 2025-09-09 中联重科股份有限公司 混凝土活塞耐磨性测试装置及测试方法
CN115372167B (zh) * 2022-09-06 2025-01-28 临沂鲁驰新材料科技有限公司 橡胶输送带质量检测的检测装置及方法

Citations (8)

* Cited by examiner, † Cited by third party
Publication number Priority date Publication date Assignee Title
JPS6453951U (ja) * 1987-09-29 1989-04-03
JPH02210243A (ja) * 1989-02-10 1990-08-21 Tokyo Silicone Kk 摩擦摩耗試験機
JP2002181609A (ja) * 2000-12-19 2002-06-26 Nippon Applied Technology Inc 微粉体の定量供給方法および微粉体の定量供給装置
JP2004037286A (ja) * 2002-07-04 2004-02-05 Yokohama Rubber Co Ltd:The 室内タイヤ耐久試験方法
JP2009198276A (ja) * 2008-02-21 2009-09-03 Bridgestone Corp ゴム試験機
JP2013113672A (ja) * 2011-11-28 2013-06-10 Toyo Tire & Rubber Co Ltd ゴム摩擦試験方法及びゴム摩擦試験装置
JP2013178163A (ja) * 2012-02-28 2013-09-09 Kayaba Ind Co Ltd プラスチック材料の評価方法
JP2016061597A (ja) * 2014-09-16 2016-04-25 横浜ゴム株式会社 摩耗試験装置および方法

Family Cites Families (11)

* Cited by examiner, † Cited by third party
Publication number Priority date Publication date Assignee Title
US1711866A (en) * 1927-06-01 1929-05-07 Grasselli Chemical Co Method of and apparatus for testing materials
BE655226A (ja) * 1964-11-04 1965-05-04
US3899917A (en) * 1973-12-06 1975-08-19 Frederick N Kisbany Laboratory wear resistance test machine for tires
JPH0818720B2 (ja) 1987-08-25 1996-02-28 三田工業株式会社 画像形成装置の給紙装置
US4995197A (en) * 1990-01-29 1991-02-26 Shieh Chiung Huei Method of abrading
CA2035414A1 (en) * 1990-02-12 1991-08-13 Chiung-Huei Shieh Method and apparatus for abrading
US6412330B1 (en) * 1998-11-25 2002-07-02 The Goodyear Tire & Rubber Company Abrasion tester
JP5534588B2 (ja) * 2010-02-24 2014-07-02 株式会社ブリヂストン タイヤのゴムインデックス算出方法、装置及びプログラム
CN102735559B (zh) * 2011-04-15 2015-04-22 青岛科技大学 一种模拟滚动轮胎磨耗的橡胶高温磨耗试验机
CN202735182U (zh) 2012-09-11 2013-02-13 中联重科股份有限公司 橡胶高温磨耗检测设备
JP6394295B2 (ja) 2014-11-06 2018-09-26 横浜ゴム株式会社 摩耗試験装置および方法

Patent Citations (8)

* Cited by examiner, † Cited by third party
Publication number Priority date Publication date Assignee Title
JPS6453951U (ja) * 1987-09-29 1989-04-03
JPH02210243A (ja) * 1989-02-10 1990-08-21 Tokyo Silicone Kk 摩擦摩耗試験機
JP2002181609A (ja) * 2000-12-19 2002-06-26 Nippon Applied Technology Inc 微粉体の定量供給方法および微粉体の定量供給装置
JP2004037286A (ja) * 2002-07-04 2004-02-05 Yokohama Rubber Co Ltd:The 室内タイヤ耐久試験方法
JP2009198276A (ja) * 2008-02-21 2009-09-03 Bridgestone Corp ゴム試験機
JP2013113672A (ja) * 2011-11-28 2013-06-10 Toyo Tire & Rubber Co Ltd ゴム摩擦試験方法及びゴム摩擦試験装置
JP2013178163A (ja) * 2012-02-28 2013-09-09 Kayaba Ind Co Ltd プラスチック材料の評価方法
JP2016061597A (ja) * 2014-09-16 2016-04-25 横浜ゴム株式会社 摩耗試験装置および方法

Also Published As

Publication number Publication date
US20210293680A1 (en) 2021-09-23
CN109313111A (zh) 2019-02-05
AU2017296468B2 (en) 2020-04-23
JP6821981B2 (ja) 2021-01-27
AU2017296468A1 (en) 2018-11-22
WO2018012022A1 (ja) 2018-01-18
DE112017003544B4 (de) 2025-05-15
CN109313111B (zh) 2022-03-08
DE112017003544T5 (de) 2019-03-28
US11333592B2 (en) 2022-05-17

Similar Documents

Publication Publication Date Title
JP6794684B2 (ja) ゴムの耐摩耗性評価方法
AU2016253804B2 (en) Abrasive wear test device and method
US10184857B2 (en) Impact test device and method
JP6821981B2 (ja) ゴムの摩耗試験装置
CN106574886B (zh) 磨损试验装置以及方法
JP6394295B2 (ja) 摩耗試験装置および方法
JP2019529903A (ja) ゴム摩耗を測定するための装置
KR20140035589A (ko) 유기소재의 표면 경도 측정장치 및 방법
CN104215536A (zh) 一种镀层抗磨损性能的试验装置
JP2012202926A (ja) 摩耗試験装置
JP5478464B2 (ja) 摩耗試験装置
JP2016090418A (ja) 衝撃試験装置および方法
PL214201B1 (pl) Urzadzenie do badania tarcia w zlozonym ruchu toczno-slizgowym
JPH0634506A (ja) 摩耗試験装置
JP2008151690A (ja) 湿式潤滑剤の特性測定方法及び特性測定装置
PL125926B1 (en) Sliding friction testing apparatus
PL211447B1 (pl) Stanowisko do badania zużycia ściernego w warunkach złożonego stanu naprężeń w badanym materiale

Legal Events

Date Code Title Description
A621 Written request for application examination

Free format text: JAPANESE INTERMEDIATE CODE: A621

Effective date: 20190705

A131 Notification of reasons for refusal

Free format text: JAPANESE INTERMEDIATE CODE: A131

Effective date: 20200602

A521 Request for written amendment filed

Free format text: JAPANESE INTERMEDIATE CODE: A523

Effective date: 20200706

A131 Notification of reasons for refusal

Free format text: JAPANESE INTERMEDIATE CODE: A131

Effective date: 20201013

A521 Request for written amendment filed

Free format text: JAPANESE INTERMEDIATE CODE: A523

Effective date: 20201113

TRDD Decision of grant or rejection written
A01 Written decision to grant a patent or to grant a registration (utility model)

Free format text: JAPANESE INTERMEDIATE CODE: A01

Effective date: 20201208

A61 First payment of annual fees (during grant procedure)

Free format text: JAPANESE INTERMEDIATE CODE: A61

Effective date: 20201221

R150 Certificate of patent or registration of utility model

Ref document number: 6821981

Country of ref document: JP

Free format text: JAPANESE INTERMEDIATE CODE: R150

S531 Written request for registration of change of domicile

Free format text: JAPANESE INTERMEDIATE CODE: R313531

R350 Written notification of registration of transfer

Free format text: JAPANESE INTERMEDIATE CODE: R350

R250 Receipt of annual fees

Free format text: JAPANESE INTERMEDIATE CODE: R250

R250 Receipt of annual fees

Free format text: JAPANESE INTERMEDIATE CODE: R250

R250 Receipt of annual fees

Free format text: JAPANESE INTERMEDIATE CODE: R250