JP2017516554A - 医療用システム - Google Patents

医療用システム Download PDF

Info

Publication number
JP2017516554A
JP2017516554A JP2016569628A JP2016569628A JP2017516554A JP 2017516554 A JP2017516554 A JP 2017516554A JP 2016569628 A JP2016569628 A JP 2016569628A JP 2016569628 A JP2016569628 A JP 2016569628A JP 2017516554 A JP2017516554 A JP 2017516554A
Authority
JP
Japan
Prior art keywords
medical system
bone
patient
medical
reference unit
Prior art date
Legal status (The legal status is an assumption and is not a legal conclusion. Google has not performed a legal analysis and makes no representation as to the accuracy of the status listed.)
Granted
Application number
JP2016569628A
Other languages
English (en)
Other versions
JP2017516554A5 (ja
JP6591452B2 (ja
Inventor
ウーテーツェット ミハエル
ウーテーツェット ミハエル
フィルムバッハ フランツ‐ペーター
フィルムバッハ フランツ‐ペーター
Current Assignee (The listed assignees may be inaccurate. Google has not performed a legal analysis and makes no representation or warranty as to the accuracy of the list.)
Aesculap AG
Original Assignee
Aesculap AG
Priority date (The priority date is an assumption and is not a legal conclusion. Google has not performed a legal analysis and makes no representation as to the accuracy of the date listed.)
Filing date
Publication date
Application filed by Aesculap AG filed Critical Aesculap AG
Publication of JP2017516554A publication Critical patent/JP2017516554A/ja
Publication of JP2017516554A5 publication Critical patent/JP2017516554A5/ja
Application granted granted Critical
Publication of JP6591452B2 publication Critical patent/JP6591452B2/ja
Active legal-status Critical Current
Anticipated expiration legal-status Critical

Links

Images

Classifications

    • AHUMAN NECESSITIES
    • A61MEDICAL OR VETERINARY SCIENCE; HYGIENE
    • A61BDIAGNOSIS; SURGERY; IDENTIFICATION
    • A61B34/00Computer-aided surgery; Manipulators or robots specially adapted for use in surgery
    • A61B34/20Surgical navigation systems; Devices for tracking or guiding surgical instruments, e.g. for frameless stereotaxis
    • AHUMAN NECESSITIES
    • A61MEDICAL OR VETERINARY SCIENCE; HYGIENE
    • A61BDIAGNOSIS; SURGERY; IDENTIFICATION
    • A61B17/00Surgical instruments, devices or methods
    • A61B17/14Surgical saws
    • A61B17/15Guides therefor
    • A61B17/154Guides therefor for preparing bone for knee prosthesis
    • AHUMAN NECESSITIES
    • A61MEDICAL OR VETERINARY SCIENCE; HYGIENE
    • A61BDIAGNOSIS; SURGERY; IDENTIFICATION
    • A61B17/00Surgical instruments, devices or methods
    • A61B17/14Surgical saws
    • A61B17/15Guides therefor
    • A61B17/154Guides therefor for preparing bone for knee prosthesis
    • A61B17/155Cutting femur
    • AHUMAN NECESSITIES
    • A61MEDICAL OR VETERINARY SCIENCE; HYGIENE
    • A61BDIAGNOSIS; SURGERY; IDENTIFICATION
    • A61B17/00Surgical instruments, devices or methods
    • A61B17/14Surgical saws
    • A61B17/15Guides therefor
    • A61B17/154Guides therefor for preparing bone for knee prosthesis
    • A61B17/157Cutting tibia
    • AHUMAN NECESSITIES
    • A61MEDICAL OR VETERINARY SCIENCE; HYGIENE
    • A61BDIAGNOSIS; SURGERY; IDENTIFICATION
    • A61B90/00Instruments, implements or accessories specially adapted for surgery or diagnosis and not covered by any of the groups A61B1/00 - A61B50/00, e.g. for luxation treatment or for protecting wound edges
    • A61B90/39Markers, e.g. radio-opaque or breast lesions markers
    • AHUMAN NECESSITIES
    • A61MEDICAL OR VETERINARY SCIENCE; HYGIENE
    • A61BDIAGNOSIS; SURGERY; IDENTIFICATION
    • A61B17/00Surgical instruments, devices or methods
    • A61B17/56Surgical instruments or methods for treatment of bones or joints; Devices specially adapted therefor
    • A61B2017/568Surgical instruments or methods for treatment of bones or joints; Devices specially adapted therefor produced with shape and dimensions specific for an individual patient
    • AHUMAN NECESSITIES
    • A61MEDICAL OR VETERINARY SCIENCE; HYGIENE
    • A61BDIAGNOSIS; SURGERY; IDENTIFICATION
    • A61B34/00Computer-aided surgery; Manipulators or robots specially adapted for use in surgery
    • A61B34/10Computer-aided planning, simulation or modelling of surgical operations
    • A61B2034/108Computer aided selection or customisation of medical implants or cutting guides
    • AHUMAN NECESSITIES
    • A61MEDICAL OR VETERINARY SCIENCE; HYGIENE
    • A61BDIAGNOSIS; SURGERY; IDENTIFICATION
    • A61B34/00Computer-aided surgery; Manipulators or robots specially adapted for use in surgery
    • A61B34/20Surgical navigation systems; Devices for tracking or guiding surgical instruments, e.g. for frameless stereotaxis
    • A61B2034/2046Tracking techniques
    • A61B2034/2055Optical tracking systems
    • AHUMAN NECESSITIES
    • A61MEDICAL OR VETERINARY SCIENCE; HYGIENE
    • A61BDIAGNOSIS; SURGERY; IDENTIFICATION
    • A61B90/00Instruments, implements or accessories specially adapted for surgery or diagnosis and not covered by any of the groups A61B1/00 - A61B50/00, e.g. for luxation treatment or for protecting wound edges
    • A61B90/39Markers, e.g. radio-opaque or breast lesions markers
    • A61B2090/3983Reference marker arrangements for use with image guided surgery
    • BPERFORMING OPERATIONS; TRANSPORTING
    • B33ADDITIVE MANUFACTURING TECHNOLOGY
    • B33YADDITIVE MANUFACTURING, i.e. MANUFACTURING OF THREE-DIMENSIONAL [3D] OBJECTS BY ADDITIVE DEPOSITION, ADDITIVE AGGLOMERATION OR ADDITIVE LAYERING, e.g. BY 3D PRINTING, STEREOLITHOGRAPHY OR SELECTIVE LASER SINTERING
    • B33Y80/00Products made by additive manufacturing

Landscapes

  • Health & Medical Sciences (AREA)
  • Surgery (AREA)
  • Life Sciences & Earth Sciences (AREA)
  • Engineering & Computer Science (AREA)
  • Molecular Biology (AREA)
  • Public Health (AREA)
  • Veterinary Medicine (AREA)
  • Biomedical Technology (AREA)
  • Heart & Thoracic Surgery (AREA)
  • Medical Informatics (AREA)
  • Nuclear Medicine, Radiotherapy & Molecular Imaging (AREA)
  • Animal Behavior & Ethology (AREA)
  • General Health & Medical Sciences (AREA)
  • Oral & Maxillofacial Surgery (AREA)
  • Orthopedic Medicine & Surgery (AREA)
  • Physical Education & Sports Medicine (AREA)
  • Transplantation (AREA)
  • Dentistry (AREA)
  • Robotics (AREA)
  • Pathology (AREA)
  • Surgical Instruments (AREA)
  • Prostheses (AREA)

Abstract

特に膝関節内プロテーゼを埋込むための医療用システムであって、外科用ナビゲーションシステムを使用してその空間位置が検出可能な少なくとも1つの医療用参照ユニットを含み、少なくとも1つの医療用参照ユニットが、担体要素上に配置又は形成されるとともに前記外科用ナビゲーションシステムの検出装置を使用して検出可能である少なくとも1つの外科用マーカ要素を含み、この少なくとも1つの医療用参照ユニットが、前記担体要素を担持する基体を含む医療用システムをその使用が簡素化されるようなやり方で改良するために、前記基体から離れる方を向くとともに、球体の表面の扇形であること及び平面状表面であることから外れる少なくとも1つの患者特有の骨接触面を前記基体が含み、前記少なくとも1つの骨接触面が、前記患者の骨表面に対応するやり方で形成されることが提案される。

Description

本発明は、特に膝関節内プロテーゼを埋込むための医療用システムであって、外科用ナビゲーションシステムを使用してその空間位置を検出することのできる少なくとも1つの医療用参照ユニットを含み、少なくとも1つの医療用参照ユニットが、担体要素上に配置又は形成されるとともに外科用ナビゲーションシステムの検出装置を使用して検出することのできる少なくとも1つの外科用マーカ要素を含み、少なくとも1つの医療用参照ユニットが、担体要素を担持する基体を含む、医療用システムに関する。
このようなシステムが、例えばDE 10 2010 060 914 A1から知られている。患者の身体上に1つ以上の医療用参照ユニットを位置決めするためには、ナビゲーション支援型手術の開始時にまず、特徴点を例えばナビゲーション支援で触知することにより、患者の身体上の標認点を記録することが必要である。更に、介入前の患者の解剖学的構造の画像データが存在する場合に、これらの画像データをナビゲーション支援のやり方で測定した患者の身体上の標認点又は特徴点に一致させることは困難である。特に、このことは外科的介入の開始時にかなりの時間を奪うのであり、従って多大の費用に結び付く。
本特許明細書において使用するような用語「外科用マーカ要素」は、特に、例えば担体要素上のその位置が既知である規定の窪みの形態の規定の参照点を包含することを意味する。このような参照点は、例えば、ナビゲーション型触知器具により触知することができる。これによって触知器具の空間位置を測定することにより、その空間位置に参照点を割り当てることができる。少なくとも1つの好ましくは3つの外科用マーカ要素を含む更なる参照ユニットが骨に固定されている場合、この更なる参照ユニットに関する規定の参照点の位置も既知となるため、骨が骨上の担体要素と共に移動する際であっても、更なる参照ユニットの場所及び配向を測定することにより、規定の参照点の位置を、ナビゲーションシステムを介していつでも測定することができる。
DE 10 2010 060 914 A1 DE 42 19 939 C2 & WO 93/25157 A1 US 2008/0319491 A1 DE 197 47 427 A1 & US 6,241,735 B1 EP 2 719 353 A1 US 2011/257653 A1 EP 1 958 575 A1
従って、冒頭に記載した種類のシステムを、その使用が簡素化されるように改良することが本発明の目的である。
本発明によれば、この目的は、冒頭に記載した種類の医療用システムにおいて、前記基体から離れる方を向くとともに、球体の表面の扇形であるもの及び平面状表面であることから外れる少なくとも1つの患者特有の骨接触面を前記基体が含み、前記少なくとも1つの骨接触面が、前記患者の骨表面に対応するやり方で形成されることにより成就される。
提案する改良により、前記少なくとも1つの参照ユニットを患者の骨に接触させて規定のやり方で容易にかつ安全に置き、任意で特にこの骨に固定することが可能になる。従って、特に前記患者の骨の画像データを基に前記患者特有の骨接触面が生成されると、前記少なくとも1つの参照ユニットを前記患者の骨上で一意的に位置決めすることを確実にすることができる。この場合、前記外科的介入の前記開始時に前記少なくとも1つの参照ユニットの前記位置を付加的に前記患者の身体上に割り当てて参照させる必要はもはやない。ある意味で、このステップは、前記患者特有の骨接触面の構成を基に、前記少なくとも1つの外科用マーカ要素の、前記患者特有の骨接触面に対する前記位置の知識でもって、前記外科的介入の前記開始時のいかなる参照もこれが冗長になるであろうという点で成就される。好ましくは、前記患者特有の骨接触面は少なくとも3cmの寸法を有する。前記患者特有の骨接触面が、それよりも一層大きいこと、例えば少なくとも6cmであることが有利である。前記少なくとも1つの参照ユニットを前記患者の身体上で正確に位置決めすることは、前記患者特有の骨接触面が大きければ大きいほど、より安全かつ一意的に達成することができる。前記システムは、特に人工の膝関節、股関節、又は肩関節等の人工関節の埋込み用に使用することができる。この列挙は網羅的なものではない。
前記基体と前記担体要素とが一体構成である又は共に解放不可能に接続されることが好適である。このことにより、前記担体要素と前記基体との間の相対位置、故に前記少なくとも1つのマーカ要素と前記患者特有の骨接触面との間の相対位置の変化が、直接、及び外科医又は前記外科医の補助スタッフにより、意図的にであっても意図的でなくても生じないようにされる。従って、全体的にみて前記システムのミスの生じ易さを最小にすることが可能である。
更に、前記基体と前記担体要素とが互いに解放可能に接続するように構成されることが有利なことがある。これにより、前記担体要素は上にある前記少なくとも1つのマーカ要素と共に複数回使用することができる。そうすれば、各患者用に患者特有の骨接触面を備えた、後に前記担体要素に接続することのできる1つ以上の基体を製造するだけでよい。
前記システムが、前記基体と前記担体要素とを連結位置において力ロック式及び/又は形状ロック式に連結するための連結装置を含むことが有利である。このような連結装置を用いれば、前記基体と前記担体要素とを規定のやり方で共に接続することができる。特に前記連結装置は、前記基体と前記担体要素との間で、一意的な連結を、即ちたった1つの仕方で行うことのできる連結を可能にするように構成することができる。
一方で前記基体上、他方で前記担体要素上に配置又は形成されるとともに、前記連結位置のときに係合状態にあり、非連結位置のときに係合状態にない第1及び第2連結要素を前記連結装置が含むことにより、前記連結装置の特に単純な構成を達成することができる。
前記基体と前記担体要素とを単純かつ安全に連結するために、前記第1及び第2連結要素が、少なくとも1つの連結受けと、この連結受けと協働する対応する連結突起とを含むことが有利である。前記担体要素上又は前記基体上のいずれかに、又はこれらの両方の上に配置又は形成される2つ以上の連結受け又は2つ以上の連結突起があることを実現することができる。
本発明の別の好適な実施形態によれば、前記少なくとも1つの参照ユニットが、前記参照ユニットを骨に固定するための固締要素用に少なくとも1つの固締要素受けを含むことを実現することができる。このような参照ユニットは、規定のやり方で容易かつ安全に骨に固定することができる。
前記少なくとも1つの固締要素受けが、前記基体上及び/又は前記担体要素上に配置又は形成されることが好適である。特にこのことは、前記基体又は前記担体要素が前記患者の骨に互いに別々に、任意で共に1つ以上の固締要素を使用して固定されることを可能にする。
前記少なくとも1つの固締要素受けは、特に開口の前記形態に構成される際、生産が単純になる。特に、固締要素受けは、孔の前記形態に構成することができる。前記基体又は前記担体要素の位置の変化を防止するために、前記基体上及び/又は前記担体要素上に、前記開口を延長するスリーブが配置又は形成されることが有利である。このスリーブは、骨ピン、骨ねじ、又は骨釘に対して特に良好な内部の誘導を提供する。特に前記スリーブは、前記骨固締要素を挿入する方向を予め決めておいて外科医に表示することもできる。
本発明の別の好適な実施形態によれば、前記医療用システムが、前記少なくとも1つの参照ユニットに解放可能に接続できる少なくとも1つの医療器具を含むことを実現することができる。この構成により、前記参照ユニットに例えば1つ以上の器具を接続することが可能になる。参照ユニットが規定のやり方で前記患者の身体に固定されると、前記少なくとも1つの参照ユニットに前記少なくとも1つの医療器具を規定のやり方で接続することにより、前記少なくとも1つの医療器具も前記患者の身体に、一意的に予め決めておいたやり方で固定することができる。
前記少なくとも1つの医療器具と前記少なくとも1つの参照ユニットとの間の解放可能な接続に備えておく特に単純な仕方とは、前記医療用システムが、前記少なくとも1つの医療器具と前記少なくとも1つの参照ユニットとを連結位置において、力ロック式及び/又は形状ロック式に連結するための連結装置を含むことである。
一方で前記少なくとも1つの参照ユニット上、他方で前記少なくとも1つの医療器具上に配置又は形成されるとともに、前記連結位置のときに係合状態にあり、非連結位置のときに係合状態にない第1及び第2連結要素を前記連結装置が含むことが有利である。特に、前記連結装置の少なくとも1つの連結要素が前記少なくとも1つの参照ユニットの前記基体上に配置又は形成されることが有利である。このことにより、前記少なくとも1つの医療器具を前記参照ユニットの前記基体に連結することができる。従って、前記担体要素を特に前記基体から分離できる際、任意で前記担体要素は上にある前記少なくとも1つのマーカ要素と共に除去することも可能である一方で、前記基体は依然として前記患者の身体に固締したままにしておくことができる。
前記少なくとも1つの参照ユニットと前記少なくとも1つの医療器具とを共に接続する単純かつ安全な仕方とは、前記第1及び第2連結要素が、少なくとも1つの連結受けとこの連結受けと協働する少なくとも1つの対応する連結受けとを含むことである。
特に前記連結受けと前記連結突起とは、これらの間で力ロック式及び/又は形状ロック式の接続が可能になるように構成することができる。
前記医療器具を、前記少なくとも1つの参照ユニットとは無関係に任意で患者の骨に固定できるようにするために、前記少なくとも1つの医療器具が、前記少なくとも1つの医療器具を骨に固定するための固締要素用に少なくとも1つの器具固締要素受けを含むことが有利である。
前記少なくとも1つの器具固締要素受けは、好ましくは、開口の前記形態に構成される。特にこのような開口は、例えば孔の前記形態にして容易に生産することができる。
本発明の別の好適な実施形態によれば、前記少なくとも1つの医療器具が接触体を含み、この接触体が、前記接触体から離れる方を向くとともに、球体の表面の扇形であること及び平面状表面であることから外れる少なくとも1つの患者特有の接触体骨接触面を含み、前記少なくとも1つの患者特有の接触体骨接触面が、前記患者の骨表面に対応するやり方で形成されることを実現することができる。この構成を用いれば、前記少なくとも1つの医療器具を患者の骨に当てて置き、任意でこの骨を、その特定の場所にて規定した一意的なやり方で固定することが特に可能になる。これによって、前記少なくとも1つの医療器具を、外科的介入が実施される前に測定されるやり方、位置、及び任意で配向において、前記骨に固定することができる。
前記少なくとも1つの固締要素受け及び前記少なくとも1つの器具固締要素受けが各々、長手方向軸を規定し、前記長手方向軸が前記連結位置において一致することが有利である。この構成により、一方で前記少なくとも1つの参照ユニットを、他方で前記少なくとも1つの医療器具を、唯一つの固締要素を用いて患者の前記骨に固定することが可能になる。特に前記固締要素は、前記少なくとも1つの固締要素受けと前記少なくとも1つの器具固締要素受けの両方を通って同時に延びることができる。
前記少なくとも1つの医療器具が、大腿骨及び/又は脛骨用のいずれかの鋸テンプレートを含むことが有利である。記載したような一意的なやり方で患者の前記骨に固定された鋸テンプレートを前記患者の前記大腿骨上及び/又は脛骨上で用いれば、外科的介入を実施する前、例えば膝関節内プロテーゼの部品の埋込み用に大腿骨及び/又は脛骨を準備する際に、前記プロテーゼ部品の前記骨への最適な適合を可能にする一意的なかつ所定の鋸カットを入れることが可能である。
前記鋸テンプレートが、骨鋸の鋸刃用の少なくとも1つの鋸スロットを含むことが有利である。特に、前記鋸テンプレートが2つ以上の鋸スロットを含むことが有利である。この構造を用いれば、前記患者の骨に鋸テンプレートを1つだけ固定するだけでよく、その際に、前記骨上に2つ以上の鋸カットを入れることができる。
前記患者特有の骨接触面及び/又は前記患者特有の接触体骨接触面が、大腿骨又は脛骨の骨表面の少なくとも一部に対応する輪郭を有することが有利である。従って、前記少なくとも1つの医療器具を、患者の大腿骨又は脛骨に接触させた状態に置き、任意でこの大腿骨又は脛骨に規定のやり方で固定することができる。
本発明の別の好適な実施形態によれば、前記患者特有の骨接触面、及び/又は前記患者特有の接触体骨接触面、及び/又は前記基体、及び/又は前記接触体を、鋳造、塑造、切屑生産加工方法、選択的レーザ焼結、追加の製造方法、又は3D印刷により製造することを実現することができる。製造のための前述した可能性は純粋に説明的なものであり、限定するものでは全くない。患者特有の接触面を備えた前記システムの部品を形成するために、当業者にとって馴染みのあるその他の任意の製作技術を使用することができる。
前記患者特有の骨接触面が、非侵襲的に測定された前記患者の骨輪郭データに対応する又は実質対応する骨接触面輪郭データを規定することが有利である。前記患者の骨輪郭データは、例えば、X線、磁気共鳴、及び/又は超音波画像から導くことができる。従って前記患者特有の骨接触面は、利用可能な骨輪郭データを利用して、特定の患者の前記骨に個々に適合させることができる。前記患者の骨輪郭データを非侵襲的に測定する前述の可能性は純粋に説明的なものであり、限定するものでは全くない。骨輪郭データを非侵襲的に測定するための当業者にとって馴染みのあるその他の種類の技術が考えられる。
更に、前記患者特有の接触体骨接触面が、非侵襲的に測定された前記患者の骨輪郭データに対応する又は実質対応する接触体骨接触面輪郭データを規定することが有利である。特に前記非侵襲的に測定された前記患者の骨輪郭データも、前記患者の特定の骨のX線、磁気共鳴、及び/又は超音波画像から導くことができる。
前記医療用システムが、前記参照ユニットを骨に固定するための少なくとも1つの固締要素を含むことが好適である。好ましくは、前記医療用システムは言及した種類の2つ以上の固締要素を含む。従って前記少なくとも1つの参照ユニット及び/又は前記少なくとも1つの医療器具は、規定した安全なやり方で前記患者の骨に固定することができる。
前記医療用システムを構成する特に費用効果的な仕方は、前記少なくとも1つの固締要素を、骨ねじの前記形態に又は骨ピンの前記形態に又は骨釘の前記形態に構成することである。当然ながら別法として、前記少なくとも1つの参照ユニット及び/又は前記少なくとも1つの医療器具を、規定した安全なやり方で骨に固定するために、当業者にとって馴染みのある及び既知であるその他の固締要素を使用することもできる。
前記少なくとも1つの参照ユニットの空間位置を一意的なやり方で測定するために、前記少なくとも1つの医療用参照ユニットが少なくとも3つのマーカ要素を含むことが有利である。医療用参照ユニットは、4つ、5つ、又はそれより更に多いマーカ要素を含むこともできる。特に、4つ以上のマーカ要素を使用すれば、前記少なくとも1つの参照要素の空間位置測定の精度を改良することができる。例えば付加的なマーカ要素を有することは、部分的に冗長のやり方で行われるべき位置測定に備えることができる。更に例えば、このことは、前記少なくとも1つの参照ユニットの前記位置測定の際に、前記少なくとも1つの参照ユニットの正確な空間位置測定を損なうことなく、損傷した又は汚染されたマーカ要素が検出され無視される選択肢を提供する。
前記医療用システムの更なる好適な実施形態によれば、前記医療用システムが、前記少なくとも1つの参照ユニットの前記位置を検出するための少なくとも1つの検出装置を含む外科用ナビゲーションシステムを含むことが有利である。例えば、前記少なくとも1つの参照ユニットの前記担体要素上での前記少なくとも1つのマーカ要素の配置又は前記患者の骨輪郭データ、故に前記患者特有の接触体骨接触面又は前記患者特有の骨接触面のデータを、前記ナビゲーションシステムの処理ユニット又はストレージユニットに保存し、従って、前記少なくとも1つの参照ユニット及び前記少なくとも1つの医療器具の使用を、特にその精度に関して最適化することができる。
本発明の好適な実施形態の以下の記載は、図面と合わせて検討すれば、本発明をより詳細に説明するように働く。
特に外科用ナビゲーションシステムを含む医療用システムの例示的な実施形態の略全体図。 患者特有の骨接触面を有する参照ユニットの第1の例示的な実施形態の大腿骨に接触させる過程において示す略図。 図2の参照ユニットの底面図。 鋸テンプレートの形態の医療器具の第1の例示的な実施形態の骨に接触させた状態に置かれた図2の参照ユニットに接触させ連結させる前に示す略図。 図4の医療器具の底面図。 図5の線6‐6に沿って切り取った断面図。 大腿骨に接触させた状態に置かれた参照ユニット、及び、大腿骨に接触させた状態に置かれた図4の器具の骨ピンを経由して固定させる過程において示す略斜視図。 参照ユニット及び医療器具の連結済みユニットの大腿骨に固定した後の斜視図。 図8の機構の矢印Aの方向で捉えた図。 脛骨に接触させて置き、この脛骨に固定した状態で示す医療用参照ユニットの更なる例示的な実施形態の略斜視図。 図10の参照ユニットの底面図。 図11の矢印Bの方向で捉えた参照ユニットの図。 図10の参照ユニット及び医療器具の別の例示的な実施形態の、脛骨に連結し固定する前の略全体図。 図15の矢印Cの方向で捉えた医療器具の側面図。 図14の器具の矢印Dの方向で捉えた底面図。 図13の医療器具及び参照ユニットのユニットの、脛骨に固定した後の略全体図。 図16の機構の前方から見た図。 図16の機構の矢印Eの方向で捉えた図。
図1は医療用システム10の例を示す。特に医療用システム10は、好ましくは近赤外領域(NIR)領域内の電磁放射線を検出するように構成された2つの検出器18を含む立体カメラ16の形態の受信ユニット14を含むナビゲーションシステム12を含む。特にこれらの検出器の検出範囲は、約820nm〜約880nmの波長範囲とすることができる。
ナビゲーションシステム12は更に、図1に表すような例示的な実施形態においてコンピュータ22、モニタ24、及び、キーボード30及びマウス32の形態の入力装置26及び28を含むデータ処理機器20を含む。コンピュータ22は、モニタ24、入力装置26及び28、及び受信ユニット14に連結される。
データ処理機器20により受信ユニット14により受信された信号を処理し、空間における参照ユニット34の位置及び/又は配向を測定することができる。特にモニタにより、参照ユニット34の場所及び配向を手術室内で表示することができる。
図2に、大腿骨36に接触させた状態に置かれる前の参照ユニット34を概略的に示す。参照ユニットは、マーカ要素42を含む担体要素40を担持する基体38を含む。図2に示すような参照ユニット34において、担体要素40はマーカ要素42が上に配置される多角形の担体プレート44の形態に構成される。これらのマーカ要素は、例えばナビゲーションシステム12のエミッタ50から放射される電磁放射線又は超音波をその表面48が反射する半球体46の形態に構成される。
別法として、マーカ要素42は上述のような受動的構成において実施するのでなく、例えば電磁放射線又は超音波を放射する能動的マーカ要素の形態に構成することもできる。
マーカ要素42の代わりに、例えば担体要素上のその位置が既知である規定の窪みの形態の規定の参照点を担体要素40上に設けることができる。前記参照点を、例えば、立体カメラ16により検出することのできる少なくとも3つのマーカ要素を含むナビゲーション型触知器具を用いて触知することができる。従って触知器具の空間位置を測定することにより、参照点を空間位置に割り当てることができる。大腿骨36に、少なくとも1つの好ましくは3つの外科用マーカ要素を含む図示しない更なる参照ユニットが固定されている場合、更なる参照ユニットに対する規定の参照点の位置も規定されるのであり、大腿骨36が大腿骨上の担体要素と共に移動する際、更なる参照ユニットの場所及び配向を測定することにより、規定の参照点の位置を、ナビゲーションシステムを介していつでも測定することができる。
マーカ要素42の互いに対する配置は、好ましくはデータ処理機器20のストレージ内に保存される。その際、個々のマーカ要素42の空間位置、故に参照ユニット34の場所及び配向は、概してナビゲーションシステム12を経由して、知られているやり方で測定することができる。
図2の参照ユニット34において、基体38と担体要素40とは共に解放不可能に接続される。別法として、基体と担体要素とは一体に構成することができる。
基体38は、平面的な上側52及び底部側54を有する。底部側54は、基体38から離れる方を向くと共に扇状球面であること及び平面状表面であることから外れる、患者特有の骨接触面56の形態に構成される。骨接触面56の輪郭58は、大腿骨36の骨表面60の部分61に対応する。
骨表面60に適合する骨接触面56の輪郭58に基づき、基体38を骨表面と正確に嵌合する関係において大腿骨36に接触させた状態に置く可能性が厳密に1つ存在する。大腿骨36上での参照ユニット34のその位置を、図4に説明的に表す。
更に参照ユニット34に、固締要素受け62a、62b、及び62cが設けられる。これらの固締要素受けの各々は、参照ユニット34を大腿骨36に固定するための固締要素64を受けるように働く。
固締要素受け62a、62b、及び62cは、開口66a、66b、及び66cの形態に、つまり孔68a、68b、及び68cの形態に構成される。孔68a及び68bは上側52に対して交差方向に、特に垂直に延び、骨接触面56を通過する。
孔68cは担体プレート44のエリア内に形成され、担体要素40を通過する。担体プレート44の開口66cは、担体要素40の上側70から突出するスリーブ72を経由して幾分延長されるのであり、前記スリーブ72は孔68a及び68bの長手方向軸に対して斜めに延びる長手方向軸を規定する。
固締要素64は、骨ねじ山の形態の短い雄ねじ区域78が隣接する先端76を含む骨ピン74の形態に構成される。雄ねじ区域78に隣接しているものは、骨ピン74の全長の半分よりも幾分長い円筒形のシャフト区域80である。
骨ピン74の先端76に対向する端部に形成されるものは、図示する骨ピン74の場合では三角の形態に構成される多角形区域82である。骨ピン74により規定される長手方向軸84と平行である多角形区域82の長さは、雄ねじ区域78の長さにほぼ対応する。
シャフト区域80の外径は孔68a、68b、及び68cの内径に適合するのであり、骨ピン74はそのシャフト区域80が、基本的に遊びのないやり方で開口66a、66b、及び66cを通過することができる。
更に基体38は、医療器具90の第2連結要素88に対応するやり方で上に形成された第1連結要素86を有する。連結要素86及び88は、医療器具90と参照ユニット34とを連結位置において力ロック式及び/又は形状ロック式に連結するための連結装置92を形成する。
第1連結要素86は連結受け94の形態であり、第2連結要素88はこの第1連結要素と協働する対応する連結突起96の形態である。連結受け94は、長手方向軸100を規定する溝の形態に構成され、前記溝は半円形の断面を規定する。連結突起96は、その長手方向軸104が長手方向軸100と平行に走る、半円筒形であるリブ102の形態に構成される。
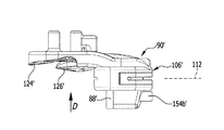
器具90は大腿骨36用の鋸テンプレート106を含む。鋸テンプレート106は、互いに対して垂直に延びる切断面112及び114を規定する2つの鋸スロット108及び110を含む。
器具90は更に、鋸スロット110がそこを通過する突出スロット体120をその前側118で担持する略U形の接触体116を含む。
接触体116の後ろ側122でその自由端のエリアにおいて形成されるものは、大腿骨36の骨表面60の一部又は部分132及び134に対応する輪郭128及び130を有する2つの接触体骨接触面124及び126である。
接触体骨接触面124及び126の間に形成されるものは、連結位置のときに基体38の平面的な端面138に接触している平面的な止め面136である。
第2スロット体140が、この第2スロット体を通過するとともに接触体116の自由脚部間の接続エリア内に配置される鋸スロット108を有する。接触体は、連結突起96がそこから突出する平面的な底部側144を有する連結体142を担持する。実質、連結体142は半環の形状に構成されるのであり、第2スロット体140と共に略半円形の開口146を区切る。
底部側144は、連結位置にあるとき基体38の上側52に表面接触している。
更に連結体142は、開口150a、150b、及び150cの形態に、つまり孔152a、152b、及び152cの形態に構成される3つの器具固締要素受け148a、148b、及び148cを有する。
連結位置のとき、孔152a及び152bの長手方向軸は孔68a及び68bの長手方向軸と一致する。このことにより、参照ユニット34及び器具90は、連結位置にあるとき2つの固締要素64を経由して大腿骨に固定することができる。これを図7〜図9に概略的に表す。
器具90を大腿骨36に付加的に固定できるようにするために、接触体116は上に、接触体骨接触面124及び126を通過する更なる2つの器具固締要素受け148d及び148e設けられる。
器具固締要素受け148d及び148eも、短いスリーブ154d及び154eにより延長される。器具固締要素受け148d及び148eの長手方向軸は、互いに略平行に延びるとともに、器具固締要素受け148a及び148bの長手方向軸が広がる平面に対して垂直に延びる平面を規定する。最後に指定した平面は更に、切断面112と平行に延びる。更に、器具固締要素受け148d及び148eが広がる平面は切断面114に対して垂直に延びる。
患者特有の骨接触面56は、非侵襲的に測定された患者の骨輪郭データに対応する骨接触面輪郭データを規定する。この目的で、特にX線、磁気共鳴、及び/又は超音波画像からの患者の骨輪郭データを活用することができる。
非侵襲的なやり方でこのように測定した患者の骨輪郭データに基づき、患者特有の骨接触面56又は基体38は、例えば鋳造、塑造、切屑生産加工方法、又は3D印刷により製造することができる。従ってこのことは、外科的介入のために、患者の大腿骨36の輪郭に個々に適合する基体38が構成されることを意味する。このようにして大腿骨36上では参照ユニット34が、非侵襲的に測定された患者の骨輪郭データにより一意的に位置決めされる結果となる。
接触体116又は器具90全体は、その接触体骨接触面124及び126が、上で記載したものと同じように構成される。患者特有の接触体骨接触面は、非侵襲的に測定された患者の骨輪郭データに対応する接触体骨接触面輪郭データを規定する。患者のこれらの骨輪郭データも、特にX線、磁気共鳴、及び/又は超音波画像から導くことができる。
従って全体的にみて、器具90を大腿骨36上で一意的に位置決めすることに備えることが可能である。更に、連結位置にあるときの参照ユニット34と器具90との間の一意的な空間関係を連結装置92が予め決めておくため、特に非侵襲的に測定された画像データを基にして外科医により予め決めておかれる切断面112及び114は、鋸スロット108及び110を経由して、それぞれの患者に対して個々に一意的に規定される。
膝関節内プロテーゼの大腿部品を埋込むための大腿骨36の準備のために参照ユニット34及び医療器具90を固定することを以下で説明する。
まず、参照ユニット34はその骨接触面56が骨表面60の部分61にもたらされ、大腿骨36に一意的なやり方で接触しているようにされる。参照ユニット34は、2つの骨ピン74を使用して大腿骨36に予め固定される。この目的で、骨ピン74が固締要素受け62a及び62bを通して挿入される。
任意で参照ユニット34が大腿骨36に対して回転することを付加的に防止するために、固締要素受け62cを通して更なる骨ピン74を挿入し、骨ピン74を大腿骨36に突っ込むことができる。このことは特に、例えば空間における大腿骨36の場所及び配向を測定するために参照ユニット34が単独で、即ち器具90なしに使用されるべき場合に推奨できる。
次に、互いに対して平行に大腿骨36から突出して開口66a及び66bを通過する骨ピン74を介して器具90を大腿骨36にもたらすことが可能である。この目的で、予め所定の位置に設定された骨ピン74の多角形区域82に連結体142がもたらされ、その後、これらの骨ピンが孔152a及び152bに通される。
大腿骨36及び参照ユニット34に対して器具90が変位することを防止するために、器具固締要素受け148d及び148eを通して更なる2つの骨ピン74が挿入され、これらの骨ピンが大腿骨36内で固着される。
器具90を使用して大腿骨36上で鋸カットを実行するために、器具90を除去する必要なしに、任意で大腿骨36から参照ユニット34を除去することができる。この目的で孔152a及び152bを通過する2つの骨ピン74が大腿骨36から除去され、参照ユニット34は大腿骨36と接触体116との間から引き出すことができる。
別法として、例えば空間におけるその場所及び配向の追跡を継続するために参照ユニット34が大腿骨36上の適所に単独で留まることができるようにして器具90を大腿骨36から除去できるように器具90及び参照ユニット34を構成することも可能である。この目的で、特に鋸カットが一旦入れられたならば、2つの骨ピン148e及び148dを除去した後に、器具90を大腿骨36から及び2つの骨ピン68a及び68bから除去することができる。その際参照ユニット34は、いわゆる「駐車」位置に留まる。
任意で記載した順ではないように、器具90と参照ユニットとを共に大腿骨36に接触させた状態に置くことができる。
別法として、まず器具90をその接触体骨接触面124及び126が大腿骨36に接触した状態に置いて器具を大腿骨に固定し、その後初めて器具90を参照ユニット34に連結することも可能である。
器具90を大腿骨36に良好に固定するために、除去した2つの骨ピン74を再度挿入することができる。別法として又は付加的に、骨ピン74を孔152c内に挿入して大腿骨36内で固着することも可能である。その際この孔の長手方向軸は、孔152a及び152bの長手方向軸に対して斜めの角度で延びる。
鋸を用いて大腿骨36上に所望のカットが入れられた後、全ての骨ピン74及び医療器具90は大腿骨から再度除去することができる。
大腿骨36上で更なる鋸カットを実行するために、器具90を図示しない更なる器具に交換することが可能である。
大腿骨36が今や準備されると、図示しない膝関節内プロテーゼの大腿部品を、大腿骨に当てて置き、例えば骨ねじ及び/又は骨セメントを経由してこの大腿骨に適切に取付けることができる。
参照ユニット34及び医療器具90は両方とも、専らポリエーテルエーテルケトン(PEEK)又はポリアミド12(PA12)等の滅菌可能なプラスチック材料から作成することができる。
任意で、基体38と担体要素40とが互いに解放可能に接続するように構成されることも考えられる。その目的で、一方で基体38上、他方で担体要素40上に配置又は形成される第1及び第2連結要素を含む図示しない連結装置を設けることができる。その際この連結装置により、基体38と担体要素40とを共に、連結装置92と同様のやり方で一時的に接続することができる。特に、このことにより、担体要素40は上にあるマーカ要素42と共に基体38から分離させることが可能になる。従って、例えば、担体要素40は上にあるマーカ要素42と共に複数回使用することができるのであり、基体38はその患者特有の骨接触面56を外科的介入のために患者特有のやり方で製作するだけでよい。従って、付加的に費用を低減することが可能である。
任意で又は別法として、医療用システムは脛骨156に接触させた状態に置かれる前のものを図10に概略的に示す更なる参照ユニット34’を含む。
参照ユニット34’は、マーカ要素42’を含む担体要素40’を担持する基体38’を含む。図10に示すような参照ユニット34’において、担体要素40’は、マーカ要素42’が上に配置される多角形の担体プレート44’の形態に構成される。これらのマーカ要素は、電磁放射線又は超音波をその表面48’が反射する半球体46’の形態に構成される。
別法としてマーカ要素42’は、上述のような受動的構成において実施するのでなく、例えば電磁放射線又は超音波を放射する能動的マーカ要素の形態に構成することもできる。
マーカ要素42’の互いに対する配置は、好ましくはデータ処理機器20のストレージ内に保存される。その際、個々のマーカ要素42’の空間位置、従って参照ユニット34’の場所及び配向は、概してナビゲーションシステム12を経由して、知られているやり方で測定することができる。
図10の参照ユニット34’において、基体38’と担体要素40’とは共に解放不可能に接続される。別法として、基体と担体要素とは一体に構成することができる。
基体38’は平面的な上側52’及び底部側54’を有する。底部側54’は、基体38’から離れる方を向いて球体の表面の扇形であること及び平面状表面であることから外れる、患者特有の骨接触面56’の形態に構成される。骨接触面56’の輪郭58’は、脛骨156の骨表面60’の部分61’に対応する。
骨表面60’に適合する骨接触面56’の輪郭58’に基づき、基体38’を骨表面と正確に嵌合する関係において脛骨156に接触させた状態に置く可能性が厳密に1つ存在する。脛骨156上での参照ユニット34’のその位置を、図10に説明的に表す。
更に参照ユニット34’に、固締要素受け62a’、62b’、及び62c’が設けられる。これらの固締要素受けの各々は、参照ユニット34’を脛骨156に固定するための固締要素64を受けるように働く。
固締要素受け62a’、62b’、及び62c’は、開口66a’、66b’、及び66c’の形態に、つまり孔68a’、68b’、及び68c’の形態に構成される。孔68a’及び68b’は、上側52’に対して交差方向に、特に垂直に延び、骨接触面56’を通過する。
孔68c’は担体プレート44’のエリア内に形成され、担体要素40’を通過する。担体プレート44の開口66c’は、担体要素40’の上側70’から突出するスリーブ72’を経由して幾分延長されるのであり、前記スリーブ72’は、孔68a’及び68b’の長手方向軸に対して斜めに延びる長手方向軸を規定する。
参照ユニット34’を脛骨156に固定するために、更なる固締要素64が使用される。これらの固締要素は骨ピン74の形態である。
骨ピン74のシャフト区域80の外径も孔68a’、68b’、及び68c’の内径に適合するのであり、骨ピン74はそのシャフト区域80が、基本的に遊びのないやり方で開口66a’、66b’、及び66c’を通過することができる。
更に基体38’は上に、医療器具90’の第2連結要素88’に対応する第1連結要素86’が形成される。連結要素86’及び88’は、医療器具90’と参照ユニット34’とを連結位置において力ロック式及び/又は形状ロック式に連結するための連結装置92’を形成する。
第1連結要素86’は連結受け94’の形態であり、第2連結要素88’はこの第1連結要素と協働する対応する連結突起96’の形態である。連結受け94’は長手方向軸100’を規定する溝の形態に構成され、前記溝は半円形の断面を規定する。連結突起96’は、その長手方向軸104’が長手方向軸100’と平行に走る半円筒形であるリブ102’の形態に構成される。
器具90’は、脛骨156用の鋸テンプレート106’を含む。鋸テンプレート106’は、切断面112を規定する鋸スロット108’を含む。
器具90’は更に、鋸スロット108’がそこを通過する突出スロット体120’を接触体116’の自由脚部間の接続エリアにおいて担持する略U形の接触体116’を含む。
接触体116’の後ろ側122’でその自由端のエリアにおいて形成されるものは、脛骨156の骨表面60’の一部又は部分132’及び134’に対応する輪郭128’及び130’を有する2つの接触体骨接触面124’及び126’である。
スロット体120’上に形成されるものは、連結突起96’がそこから突出する平面的な底部側144’を有する連結体142’である。連結体142’は実質、立方形の形状に構成される。
底部側144’は連結位置にあるとき、基体38’の上側52’に表面接触している。
更に連結体142’は、開口150a’及び150b’の形態に、つまり孔152a’及び152b’の形態に構成される2つの器具固締要素受け148a’及び148b’を有する。
連結位置のとき、孔152a’及び152b’の長手方向軸は孔68a’及び68b’の長手方向軸と一致する。このことにより、参照ユニット34’及び器具90’は、連結位置にあるとき2つの固締要素64を経由して脛骨156に固定することができる。これを図16〜図18に概略的に表す。
器具90’を脛骨156に付加的に固定できるようにするために、接触体116’は上に、接触体骨接触面124’及び126’を通過する更なる2つの器具固締要素受け148c’及び148d’が設けられる。
スロット体120’上に形成されるものは、具体的にはスリーブ158の開口150e’の形態の更なる器具固締要素受け148e’である。開口150e’は、スリーブ158の孔152e’の形態に構成される。
器具固締要素受け148a’、148b’、148c’、及び148d’も、短いスリーブ154a’、154b’、154c’、及び154d’により延長される又はその中に形成される。器具固締要素受け148c’及び148d’の長手方向軸は、互いに略平行に延びるとともに、器具固締要素受け148a’及び148b’の長手方向軸が広がる平面に対して垂直に延びる平面を規定する。最後に指定した平面は更に、切断面112’と平行に延びる。
患者特有の骨接触面56’は、非侵襲的に測定された患者の骨輪郭データに対応する骨接触面輪郭データを規定する。この目的で、特にX線、磁気共鳴、及び/又は超音波画像からの患者の骨輪郭データを活用することができる。
非侵襲的なやり方でこのように測定した患者の骨輪郭データに基づき、患者特有の骨接触面56’又は基体38’は、例えば、鋳造、切屑生産加工方法、又は3D印刷により製造することができる。従ってこのことは、外科的介入のために、患者の脛骨156の輪郭に個々に適合する基体38’が構成されることを意味する。従って、脛骨156上では参照ユニット34’が、非侵襲的に測定された患者の骨輪郭データにより一意的に位置決めされる結果となる。
接触体116’又は器具90’全体も、その接触体骨接触面124’及び126’が、上で記載したものと同じように構成される。患者特有の接触体骨接触面は、非侵襲的に測定した患者の骨輪郭データに対応する接触体骨接触面輪郭データを規定する。患者のこれらの骨輪郭データも、特にX線、磁気共鳴、及び/又は超音波画像から導くことができる。
従って、全体的にみて、器具90’を脛骨156上で一意的に位置決めすることに備えることが可能である。更に連結位置にあるときの参照ユニット34’と器具90’との間の一意的な空間関係を連結装置92’が予め決めておくため、特に非侵襲的に測定された画像データを基にして外科医により予め決めておかれる切断面112’は、鋸スロット108’を経由してそれぞれの患者に対して個々に一意的に規定される。
膝関節内プロテーゼの脛骨部品を埋込むための脛骨156の準備のために、参照ユニット34’及び医療器具90’を固定することを以下で説明する。
まず参照ユニット34’は、その骨接触面56’が骨表面60’の部分61’にもたらされ、脛骨156に一意的なやり方で接触しているようにされる。参照ユニット34’は、2つの骨ピン74を使用して脛骨156に予め固定される。この目的で、骨ピン74が固締要素受け62a’及び62b’を通して挿入される。
任意で参照ユニット34’が脛骨156に対して回転することを付加的に防止するために、固締要素受け62c’を通して更なる骨ピン74を挿入し、この骨ピンを脛骨156に突っ込むことができる。このことは特に、例えば空間における脛骨156の場所及び配向を測定するために参照ユニット34’が単独で、即ち器具90’なしに使用されるべき場合に推奨できる。
次に、互いに対して平行に脛骨156から突出して開口66a’及び66b’を通過する骨ピン74を介して器具90’を脛骨156にもたらすことが可能である。この目的で、予め所定の位置に設定された骨ピン74の多角形区域82に連結体142’がもたらされ、その後、これらの骨ピンが孔152a’及び152b’に通される。
脛骨156及び参照ユニット34’に対して器具90’が変位することを防止するために、器具固締要素受け148c’及び148d’を通して更なる2つの骨ピン74が挿入され、これらの骨ピンが脛骨156内で固着される。
器具90’を使用して脛骨156上で鋸カットを実行するために、器具90’を除去する必要なしに、任意で脛骨156から参照ユニット34’を除去することができる。この目的で、孔152a’及び152b’を通過する2つの骨ピン74が脛骨156から除去され、参照ユニット34’は脛骨156と接触体116’との間から引き出すことができる。
別法として、例えば空間におけるその場所及び配向の追跡を継続するために参照ユニット34’が脛骨156上の適所に単独で留まることができるようにして器具90’を脛骨156から除去できるように器具90’及び参照ユニット34’を構成することも可能である。この目的で特に、鋸カットが一旦入れられたならば、骨ピン148e’、148c’、及び148d’を除去した後に、器具90’を脛骨156から及び2つの骨ピン148a’及び148b’から除去することができる。その際参照ユニット34’は、いわゆる「駐車」位置に留まる。
任意で記載した順ではないように、器具90’と参照ユニットとを共に脛骨156に接触させた状態に置くことができる。
別法として、まず器具90’をその接触体骨接触面124’及び126’が脛骨156に接触した状態に置いて器具を脛骨に固定し、その後初めて器具90’を参照ユニット34’に連結することも可能である。
器具90’を脛骨156に良好に固定するために、除去した2つの骨ピン74を再度挿入することができる。別法として又は付加的に、骨ピン74を、孔152e’を通して挿入して脛骨156内で固着することも可能である。その際孔152e’の長手方向軸は、孔152a’及び152b’の長手方向軸に対して斜めの角度で延びる。
鋸を用いて脛骨156上に所望のカットが入れられた後、全ての骨ピン74及び医療器具90’は脛骨156から再度除去することができる。
脛骨156上で更なる鋸カットを実行するために、器具90’を図示しない更なる器具に交換することが可能である。
脛骨156が今や準備されると、図示しない膝関節内プロテーゼの脛骨部品を脛骨に当てて置き、例えば骨ねじ及び/又は骨セメントを経由してこの脛骨に適切に取付けることができる。
参照ユニット34’及び医療器具90’は両方とも、専らポリエーテルエーテルケトン(PEEK)等の滅菌可能なプラスチック材料から作成することができる。
任意で、基体38’と担体要素40’とが、互いに解放可能に接続するように構成されることも考えられる。その目的で、一方で基体38’上、他方で担体要素40’上に配置又は形成される第1及び第2連結要素を含む図示しない連結装置を設けることができる。その際この連結装置により、基体38’と担体要素40’とを共に、連結装置92’と同様のやり方で一時的に接続することができる。特にこのことにより、担体要素40’は上にあるマーカ要素42’と共に基体38’から分離させることが可能になる。従って、例えば担体要素40’は上にあるマーカ要素42と共に複数回使用することができるのであり、基体38’はその患者特有の骨接触面56’により外科的介入のために患者特有のやり方で製作するだけでよい。従って、付加的に費用を低減することが可能である。
10 医療用システム
12 ナビゲーションシステム
14 受信ユニット
16 立体カメラ
18 検出器
20 データ処理機器
22 コンピュータ
24 モニタ
26 入力装置
28 入力装置
30 キーボード
32 マウス
34,34’ 参照ユニット
36 大腿骨
38,38’ 基体
40,40’ 担体要素
42,42’ マーカ要素
44,44’ 担体プレート
46,46’ 半球体
48,48’ 表面
50 エミッタ
52,52’ 上側
54,54’ 底部側
56,56’ 骨接触面
58,58’ 輪郭
60,60’ 骨表面
61,61’ 部分
62a,62b,62c,62a’,62b’,62c’ 固締要素受け
64 固締要素
66a,66b,66c,66a’,66b’,66c’ 開口
68a,68b,68c,68a’,68b’,68c’ 孔
70,70’ 上側
72,72’ スリーブ
74 骨ピン
76 先端
78 雄ねじ区域
80 シャフト区域
82 多角形区域
84 長手方向軸
86,86’ 第1連結要素
88,88’ 第2連結要素
90,90’ 医療器具
92,92’ 連結装置
94,94’ 連結受け
96,96’ 連結突起
98,98’ 溝
100,100’ 長手方向軸
102,102’ リブ
104,104’ 長手方向軸
106,106’ 鋸テンプレート
108,108’ 鋸スロット
110 鋸スロット
112,112’ 切断面
114 切断面
116,116’ 接触体
118,118’ 前側
120,120’ 第1スロット体
122,122’ 後ろ側
124,124’ 接触体骨接触面
126,126’ 接触体骨接触面
128,128’ 輪郭
130,130’ 輪郭
132,132’ 部分
134,134’ 部分
136 接触面
138 端面
140 第2スロット体
142,142’ 連結体
144,144’ 底部側
146 開口
148a,148b,148c,148d,148a’,148b’,148c’,148d’ 器具固締要素受け
150a,150b,150c,150d,150a’,150b’,150c’,150d 開口
152a,152b,152c,152d,152a’,152b’,152c’,152’ 孔
154a,154b,154c,154d,154a’,154b’ 154c’,154d’ スリーブ
156 脛骨
158 スリーブ

Claims (27)

  1. 特に膝関節内プロテーゼを埋込むための医療用システム(10)であって、
    その空間位置が、外科用ナビゲーションシステム(12)を使用して検出可能な少なくとも1つの医療用参照ユニット(34;34’)を含み、
    少なくとも1つの医療用参照ユニット(34;34’)が、担体要素(40;40’)上に配置又は形成されるとともに前記外科用ナビゲーションシステム(12)の検出装置(16)を使用して検出可能である少なくとも1つの外科用マーカ要素(42;42’)を含み、
    少なくとも1つの医療用参照ユニット(34;34’)が、前記担体要素(40;40’)を担持する基体(38;38’)を含む、医療用システムにおいて、
    前記基体(38;38’)が、前記基体(38;38’)から離れる方を向くとともに、球体の表面の扇形であること及び平面状表面であることから外れる少なくとも1つの患者特有の骨接触面(56;56’)を含み、
    前記少なくとも1つの骨接触面(56;56’)が、前記患者の骨表面(60;60’)に対応するやり方で形成されること、を特徴とする医療用システム。
  2. 請求項1に記載の医療用システムであって、前記基体(38;38’)と前記担体要素(40;40’)とが、一体構成である又は共に解放不可能に接続されること、を特徴とする医療用システム。
  3. 請求項1に記載の医療用システムであって、前記基体(38;38’)と前記担体要素(40;40’)とが、互いに解放可能に接続するように構成されること、を特徴とする医療用システム。
  4. 請求項1又は3に記載の医療用システムであって、前記基体(38;38’)と前記担体要素(40;40’)とを、連結位置において力ロック式及び/又は形状ロック式に連結するための連結装置を特徴とする医療用システム。
  5. 請求項4に記載の医療用システムであって、前記連結装置が、一方で前記基体(38;38’)上、他方で前記担体要素(40;40’)上に配置又は形成されるとともに、前記連結位置のときに係合状態にあり、非連結位置のときに係合状態にない第1及び第2連結要素を含むこと、を特徴とする医療用システム。
  6. 請求項5に記載の医療用システムであって、前記第1及び第2連結要素が、少なくとも1つの連結受けと、連結受けと協働する対応する連結突起とを含むこと、を特徴とする医療用システム。
  7. 請求項1〜6のいずれか1項に記載の医療用システムであって、前記少なくとも1つの参照ユニット(34;34’)が、前記参照ユニット(34;34’)を骨(36;156)に固定するための固締要素(64)用に少なくとも1つの固締要素受け(62a、62b、62c;62a’、62b’、62c’)を含むこと、を特徴とする医療用システム。
  8. 請求項7に記載の医療用システムであって、前記少なくとも1つの固締要素受け(62a、62b、62c;62a’、62b’、62c’)が、前記基体(38;38’)上及び/又は前記担体要素(40;40’)上に配置又は形成されること、を特徴とする医療用システム。
  9. 請求項7又は8に記載の医療用システムであって、前記少なくとも1つの固締要素受け(62a、62b、62c;62a’、62b’、62c’)が、開口(66a、66b、66c)の形態に、特に孔(68a、68b、68c)の前記形態に構成されること、を特徴とする医療用システム。
  10. 請求項1〜9のいずれか1項に記載の医療用システムであって、前記少なくとも1つの参照ユニット(34;34’)に解放可能に接続可能である、少なくとも1つの医療器具(90;90’)を特徴とする医療用システム。
  11. 請求項1〜10のいずれか1項に記載の医療用システムであって、前記少なくとも1つの医療器具(90;90’)と前記少なくとも1つの参照ユニット(34;34’)とを連結位置において、力ロック式及び/又は形状ロック式に連結するための連結装置(92;92’)を特徴とする医療用システム。
  12. 請求項11に記載の医療用システムであって、前記連結装置(92;92’)が、一方で前記少なくとも1つの参照ユニット(34;34’)上、特に前記基体(38;38’)上、他方で前記少なくとも1つの医療器具(90;90’)上に配置又は形成されるとともに、前記連結位置のときに係合状態にあり、非連結位置のときに係合状態にない第1及び第2連結要素(86、88;86’、88’)を含むこと、を特徴とする医療用システム。
  13. 請求項12に記載の医療用システムであって、前記第1及び第2連結要素(86、88;86’、88’)が、少なくとも1つの連結受け(94;94’)と、少なくとも1つの連結受け(94;94’)と協働する少なくとも1つの対応する連結受け(96;96’)とを含むこと、を特徴とする医療用システム。
  14. 請求項10〜13のいずれか1項に記載の医療用システムであって、前記少なくとも1つの医療器具(90;90’)が、前記少なくとも1つの医療器具(90;90’)を骨(36;156)に固定するための固締要素(64)用に少なくとも1つの器具固締要素受け(148a、148b、148c、148d、148e;148a’、148b’、148c’、148d’、148e’)を含むこと、を特徴とする医療用システム。
  15. 請求項14に記載の医療用システムであって、前記少なくとも1つの器具固締要素受け(148a、148b、148c、148d、148e;148a’、148b’、148c’、148d’、148e’)が、開口(150a、150b、150c、150d、150e;150a’、150b’、150c’、150d’、150e’)の前記形態に、特に孔(152a、152b、152c、152d、152e;152a’、152b’、152c’、152d’、152e’)の前記形態に構成されること、を特徴とする医療用システム。
  16. 請求項10〜15のいずれか1項に記載の医療用システムであって、
    前記少なくとも1つの医療器具(90;90’)が、接触体(116;116’)を含み、
    接触体(116;116’)が、前記接触体から離れる方を向くとともに、球体の表面の扇形であること及び平面状表面であることから外れる少なくとも1つの患者特有の接触体骨接触面(124、126;124’、126’)を含み、
    前記少なくとも1つの患者特有の接触体骨接触面(124、126;124’、126’)が、前記患者の骨表面に対応するやり方で形成されること、を特徴とする医療用システム。
  17. 請求項14〜16のいずれか1項に記載の医療用システムであって、前記少なくとも1つの固締要素受け(62a、62b;62a’、62b’)及び前記少なくとも1つの器具固締要素受け(148a、148b;148a’、148b’)が、各々長手方向軸を規定し、前記長手方向軸が前記連結位置において一致すること、を特徴とする医療用システム。
  18. 請求項10〜17のいずれか1項に記載の医療用システムであって、前記少なくとも1つの医療器具(90;90’)が、大腿骨(36)及び/又は脛骨(156)用の鋸テンプレート(106;106’)を含むこと、を特徴とする医療用システム。
  19. 請求項18に記載の医療用システムであって、前記鋸テンプレート(106;106’)が、骨鋸の鋸刃用の少なくとも1つの鋸スロット(108、110;108’)を含むこと、を特徴とする医療用システム。
  20. 請求項16〜19のいずれか1項に記載の医療用システムであって、前記患者特有の骨接触面(56;56’)及び/又は前記患者特有の接触体骨接触面(124、126;124’、126’)が、大腿骨(26)又は脛骨(156)の骨表面(60;60’)の少なくとも一部(61;61’)に対応する輪郭(58、128、130;58’、128’、130’)を有すること、を特徴とする医療用システム。
  21. 請求項1〜20のいずれか1項に記載の医療用システムであって、前記患者特有の骨接触面(56;56’)、及び/又は前記患者特有の接触体骨接触面(124、126;124’、126’)、及び/又は前記基体(38;38’)、及び/又は前記接触体(116;116’)が、鋳造、塑造、切屑生産加工方法、又は3D印刷により製造されること、を特徴とする医療用システム。
  22. 請求項1〜21のいずれか1項に記載の医療用システムであって、前記患者特有の骨接触面(56;56’)が、非侵襲的に測定された前記患者の骨輪郭データ、特にX線、磁気共鳴、及び/又は超音波画像からの前記患者の骨輪郭データに対応する又は実質対応する骨接触面輪郭データを規定すること、を特徴とする医療用システム。
  23. 請求項16〜22のいずれか1項に記載の医療用システムであって、前記患者特有の接触体骨接触面(124、126;124’、126’)が、非侵襲的に測定された前記患者の骨輪郭データ、特にX線、磁気共鳴、及び/又は超音波画像からの前記患者の骨輪郭データに対応する又は実質対応する接触体骨接触面輪郭データを規定すること、を特徴とする医療用システム。
  24. 請求項1〜23のいずれか1項に記載の医療用システムであって、前記参照ユニット(34;34’)を、骨に固定するための少なくとも1つの固締要素(64)を特徴とする医療用システム。
  25. 請求項24に記載の医療用システムであって、前記少なくとも1つの固締要素(64)が、骨ねじの前記形態に又は骨ピン(74)の前記形態に又は骨釘の前記形態に構成されること、を特徴とする医療用システム。
  26. 請求項1〜25のいずれか1項に記載の医療用システムであって、前記少なくとも1つの参照ユニット(34;34’)が、少なくとも3つのマーカ要素(42;42’)を含むこと、を特徴とする医療用システム。
  27. 請求項1〜26のいずれか1項に記載の医療用システムであって、前記少なくとも1つの参照ユニット(34;34’)の前記位置を検出するための少なくとも1つの検出装置(16)を含む、外科用ナビゲーションシステム(12)を特徴とする医療用システム。
JP2016569628A 2014-05-27 2015-05-27 医療用システム Active JP6591452B2 (ja)

Applications Claiming Priority (3)

Application Number Priority Date Filing Date Title
DE102014107481.5 2014-05-27
DE102014107481.5A DE102014107481A1 (de) 2014-05-27 2014-05-27 Medizinisches System
PCT/EP2015/061621 WO2015181188A1 (de) 2014-05-27 2015-05-27 Medizinisches system

Publications (3)

Publication Number Publication Date
JP2017516554A true JP2017516554A (ja) 2017-06-22
JP2017516554A5 JP2017516554A5 (ja) 2018-07-05
JP6591452B2 JP6591452B2 (ja) 2019-10-16

Family

ID=53433162

Family Applications (1)

Application Number Title Priority Date Filing Date
JP2016569628A Active JP6591452B2 (ja) 2014-05-27 2015-05-27 医療用システム

Country Status (6)

Country Link
US (1) US10675096B2 (ja)
EP (1) EP3151774B1 (ja)
JP (1) JP6591452B2 (ja)
CN (1) CN106413591B (ja)
DE (1) DE102014107481A1 (ja)
WO (1) WO2015181188A1 (ja)

Cited By (1)

* Cited by examiner, † Cited by third party
Publication number Priority date Publication date Assignee Title
JP2022539666A (ja) * 2019-06-06 2022-09-13 サントザリスメンディ グルーポ デ インベスティガシオン エセ.エレ 人工膝関節全置換術で使用される器具による位置合わせシステム

Families Citing this family (20)

* Cited by examiner, † Cited by third party
Publication number Priority date Publication date Assignee Title
EP2558011A4 (en) * 2010-04-14 2017-11-15 Smith & Nephew, Inc. Systems and methods for patient- based computer assisted surgical procedures
WO2018213835A1 (en) * 2017-05-19 2018-11-22 Smith & Nephew, Inc. Cut guide system
AU2019269713A1 (en) * 2018-05-18 2020-11-26 Smith & Nephew Asia Pacific Pte Limited System and method for tracking resection planes
US10856891B2 (en) * 2018-05-29 2020-12-08 DePuy Synthes Products, Inc. Customized patient-specific orthopaedic surgical instruments
CN109009473B (zh) * 2018-07-14 2021-04-06 杭州三坛医疗科技有限公司 脊椎创伤定位系统及其定位方法
CN109953828B (zh) * 2019-05-07 2020-06-23 北京和华瑞博医疗科技有限公司 一种参考架坐标系找回方法以及参考架坐标系找回装置
US20210145458A1 (en) * 2019-11-19 2021-05-20 Thomas Paszicsnyek Three-dimensional orientation system and method for orthopedic surgery
CN111388087B (zh) * 2020-04-26 2026-01-02 深圳市鑫君特智能医疗器械有限公司 手术导航系统及执行手术导航方法的计算机与存储介质
CN111388088B (zh) * 2020-04-26 2024-03-29 深圳市鑫君特智能医疗器械有限公司 手术导板、三维模型及制造构建方法、计算机与存储介质
US11864959B2 (en) * 2020-07-20 2024-01-09 Orthosoft Ulc Surgical guides
ES2895389A1 (es) * 2020-08-21 2022-02-21 Pedreno Conrado Miguel Bano Método implementado por ordenador de planificación y navegación quirúrgica para la cirugías de osteosíntesis, osteotomías correctoras y cirugía tumoral con guías de corte a medida navegables, instrumental poliaxial navegado, cuñas y placas de osteosíntesis a medida
WO2022150284A1 (en) 2021-01-06 2022-07-14 Mako Surgical Corp. Tracker for a navigation system
US20220296390A1 (en) * 2021-03-16 2022-09-22 Medfit International Ag System and method for dynamic hip and shoulder joint balancing using functional stability measurements
US20220370081A1 (en) * 2021-05-20 2022-11-24 Wright Medical Technology, Inc. Surgical guides and methods of manufacture and use
US12467489B2 (en) 2022-03-17 2025-11-11 Mako Surgical Corp. Techniques for securing together components of one or more surgical carts
US12465376B2 (en) * 2022-03-21 2025-11-11 Microport Orthopedics Holdings Inc. Medial biased patient-specific instrumentation and related methods
CN114948076A (zh) * 2022-05-24 2022-08-30 苏州铸正机器人有限公司 一种胫骨隧道重建导向器、定位方法、系统及关节镜
AU2024310381A1 (en) * 2023-06-26 2026-02-12 Stryker European Operations Limited Sawblade position identification process for mixed reality surgical navigation
USD1117755S1 (en) 2023-08-18 2026-03-10 Mako Surgical Corp. Surgical tracker
WO2025195657A1 (en) * 2024-03-21 2025-09-25 Smith & Nephew, Inc. Systems, devices and methods for navigated bone resection

Citations (7)

* Cited by examiner, † Cited by third party
Publication number Priority date Publication date Assignee Title
JP2001507614A (ja) * 1997-10-28 2001-06-12 カール−ツアイス−スチフツング 骨セグメントナビゲーションシステム
US20060195111A1 (en) * 2005-01-25 2006-08-31 Orthosoft Inc. Universal positioning block assembly
JP2009530004A (ja) * 2006-03-23 2009-08-27 インペリアル イノベーションズ リミテッド 前十字靱帯の再建
JP2010110635A (ja) * 2002-08-23 2010-05-20 Orthosoft Inc 手術用自在位置決めブロックおよびツ−ルガイド
WO2012169642A1 (ja) * 2011-06-06 2012-12-13 株式会社大野興業 レジストレーション用テンプレートの製造方法
JP2013523415A (ja) * 2010-04-14 2013-06-17 スミス アンド ネフュー インコーポレーテッド 患者立脚型コンピュータ支援外科的処置のためのシステムおよび方法
US20140039520A1 (en) * 2006-06-16 2014-02-06 Hani Haider Method and apparatus for computer aided surgery

Family Cites Families (14)

* Cited by examiner, † Cited by third party
Publication number Priority date Publication date Assignee Title
DE4219939C2 (de) 1992-06-18 1995-10-19 Klaus Dipl Ing Radermacher Vorrichtung zur Ausrichtung, Positionierung und Führung von Bearbeitungswerkzeugen, Bearbeitungs- oder Meßvorrichtungen zur Bearbeitung einer knöchernen Struktur und Verfahren zur Erstellung dieser Vorrichtung
US6327491B1 (en) * 1998-07-06 2001-12-04 Neutar, Llc Customized surgical fixture
US20050113846A1 (en) * 2001-02-27 2005-05-26 Carson Christopher P. Surgical navigation systems and processes for unicompartmental knee arthroplasty
FR2884407B1 (fr) * 2005-04-13 2007-05-25 Tornier Sas Dispositif chirurgical d'implantation d'une prothese partielle ou totale du genou
US20070066917A1 (en) * 2005-09-20 2007-03-22 Hodorek Robert A Method for simulating prosthetic implant selection and placement
US20070078678A1 (en) * 2005-09-30 2007-04-05 Disilvestro Mark R System and method for performing a computer assisted orthopaedic surgical procedure
EP1958575B1 (en) 2007-02-13 2014-08-13 Brainlab AG Device or system for positioning or preparing the positioning of a medical operating instrument, especially an incision block or a cutting block or a ligament balancing device
US20080319491A1 (en) * 2007-06-19 2008-12-25 Ryan Schoenefeld Patient-matched surgical component and methods of use
DE102010060914A1 (de) 2010-11-30 2012-05-31 Aesculap Ag Chirurgisches Markerelement, chirurgische Referenzierungseinheit und chirurgisches Navigationssystem
US8668700B2 (en) * 2011-04-29 2014-03-11 Biomet Manufacturing, Llc Patient-specific convertible guides
EP2863820B1 (en) * 2012-06-20 2020-10-28 Intellijoint Surgical Inc. Method of manufacturing a system for guided surgery
CN104461718B (zh) 2013-09-23 2017-12-12 腾讯科技(深圳)有限公司 游戏应用的画面播放方法和客户端
US9463030B2 (en) * 2013-09-25 2016-10-11 Biomet Manufacturing, Llc Positioning multiple implants with respect to single coordinate system
US11006969B2 (en) * 2017-06-04 2021-05-18 Felasfa Wodajo Patient-specific cutting guide

Patent Citations (7)

* Cited by examiner, † Cited by third party
Publication number Priority date Publication date Assignee Title
JP2001507614A (ja) * 1997-10-28 2001-06-12 カール−ツアイス−スチフツング 骨セグメントナビゲーションシステム
JP2010110635A (ja) * 2002-08-23 2010-05-20 Orthosoft Inc 手術用自在位置決めブロックおよびツ−ルガイド
US20060195111A1 (en) * 2005-01-25 2006-08-31 Orthosoft Inc. Universal positioning block assembly
JP2009530004A (ja) * 2006-03-23 2009-08-27 インペリアル イノベーションズ リミテッド 前十字靱帯の再建
US20140039520A1 (en) * 2006-06-16 2014-02-06 Hani Haider Method and apparatus for computer aided surgery
JP2013523415A (ja) * 2010-04-14 2013-06-17 スミス アンド ネフュー インコーポレーテッド 患者立脚型コンピュータ支援外科的処置のためのシステムおよび方法
WO2012169642A1 (ja) * 2011-06-06 2012-12-13 株式会社大野興業 レジストレーション用テンプレートの製造方法

Cited By (1)

* Cited by examiner, † Cited by third party
Publication number Priority date Publication date Assignee Title
JP2022539666A (ja) * 2019-06-06 2022-09-13 サントザリスメンディ グルーポ デ インベスティガシオン エセ.エレ 人工膝関節全置換術で使用される器具による位置合わせシステム

Also Published As

Publication number Publication date
EP3151774B1 (de) 2018-07-11
WO2015181188A1 (de) 2015-12-03
US10675096B2 (en) 2020-06-09
CN106413591B (zh) 2019-06-04
DE102014107481A1 (de) 2015-12-03
EP3151774A1 (de) 2017-04-12
JP6591452B2 (ja) 2019-10-16
US20170071677A1 (en) 2017-03-16
CN106413591A (zh) 2017-02-15

Similar Documents

Publication Publication Date Title
JP6591452B2 (ja) 医療用システム
US12433694B2 (en) Hip replacement navigation system and method
JP6643410B2 (ja) 臼蓋コンポーネントの位置決めを決定するための方法および装置
US11298189B2 (en) Prosthesis guide comprising patient-matched features
US20140257304A1 (en) Patient-Specific Glenoid Guide With a Reusable Guide Holder
CN103347458B (zh) 用于监视骨片的旋转定向的设备
JP2005013737A (ja) コンピュータ支援ナビゲーションシステムと共に使用可能な装置及び器具をコンピュータ支援ナビゲーションシステムと共に使用可能にするために使用可能な装置並びにコンピュータ支援システムに登録するための第1の予め定められたジオメトリーを有した器具を作成する方法
JP2014131724A (ja) 手術中の蛍光透視検査のために備えられた形状を有する整列ガイド
JP2017516554A5 (ja)
JP2019518512A (ja) 患者に特化したプロテーゼの整列
US9463030B2 (en) Positioning multiple implants with respect to single coordinate system
WO2018095499A1 (en) A patient specific template and method for partial knee replacement
CA2496351A1 (en) Navigated surgical sizing guide
US20170105740A1 (en) 4-in-1 femoral finishing cutting jig
US11185424B2 (en) Alignment guide for acetabular implant surgery and methods for use
KR101362252B1 (ko) 환자-맞춤형 정합 가이드 시스템 및 그 방법
KR101502529B1 (ko) 대퇴스템 전염각 측정장치

Legal Events

Date Code Title Description
A521 Request for written amendment filed

Free format text: JAPANESE INTERMEDIATE CODE: A821

Effective date: 20170207

RD01 Notification of change of attorney

Free format text: JAPANESE INTERMEDIATE CODE: A7426

Effective date: 20170207

A521 Request for written amendment filed

Free format text: JAPANESE INTERMEDIATE CODE: A523

Effective date: 20180523

A621 Written request for application examination

Free format text: JAPANESE INTERMEDIATE CODE: A621

Effective date: 20180523

A977 Report on retrieval

Free format text: JAPANESE INTERMEDIATE CODE: A971007

Effective date: 20190306

A131 Notification of reasons for refusal

Free format text: JAPANESE INTERMEDIATE CODE: A131

Effective date: 20190507

A521 Request for written amendment filed

Free format text: JAPANESE INTERMEDIATE CODE: A523

Effective date: 20190807

TRDD Decision of grant or rejection written
A01 Written decision to grant a patent or to grant a registration (utility model)

Free format text: JAPANESE INTERMEDIATE CODE: A01

Effective date: 20190903

A61 First payment of annual fees (during grant procedure)

Free format text: JAPANESE INTERMEDIATE CODE: A61

Effective date: 20190918

R150 Certificate of patent or registration of utility model

Ref document number: 6591452

Country of ref document: JP

Free format text: JAPANESE INTERMEDIATE CODE: R150

R250 Receipt of annual fees

Free format text: JAPANESE INTERMEDIATE CODE: R250

R250 Receipt of annual fees

Free format text: JAPANESE INTERMEDIATE CODE: R250

R250 Receipt of annual fees

Free format text: JAPANESE INTERMEDIATE CODE: R250

R250 Receipt of annual fees

Free format text: JAPANESE INTERMEDIATE CODE: R250