JP2017194786A - Gpsトラッキングデバイス - Google Patents
Gpsトラッキングデバイス Download PDFInfo
- Publication number
- JP2017194786A JP2017194786A JP2016083705A JP2016083705A JP2017194786A JP 2017194786 A JP2017194786 A JP 2017194786A JP 2016083705 A JP2016083705 A JP 2016083705A JP 2016083705 A JP2016083705 A JP 2016083705A JP 2017194786 A JP2017194786 A JP 2017194786A
- Authority
- JP
- Japan
- Prior art keywords
- gps
- tracking device
- reception circuit
- gps tracking
- circuit
- Prior art date
- Legal status (The legal status is an assumption and is not a legal conclusion. Google has not performed a legal analysis and makes no representation as to the accuracy of the status listed.)
- Pending
Links
Images
Landscapes
- Alarm Systems (AREA)
Abstract
【課題】デバイスを構成する回路の消費電力を抑えてバッテリの寿命を伸ばし、駆動時間を伸ばすことが可能なGPSトラッキングデバイスを提供する。
【解決手段】GPSトラッキングデバイス10は、GPS情報を受信するGPS受信回路11と、電波を送受信する電波送受信回路12と、支援対象者の行動変化に基づいてGPS受信回路11および電波送受信回路12を制御する制御回路13と、を有する。そして、制御回路13は、支援対象者の行動変化がない時はGPS受信回路11および電波送受信回路12の動作を停止させる。GPSトラッキングデバイス10は、さらに、支援対象者の動きを検出する3軸加速度センサ14を有する。支援対象者の行動変化は、支援対象者が動いた状態である。
【選択図】図1
【解決手段】GPSトラッキングデバイス10は、GPS情報を受信するGPS受信回路11と、電波を送受信する電波送受信回路12と、支援対象者の行動変化に基づいてGPS受信回路11および電波送受信回路12を制御する制御回路13と、を有する。そして、制御回路13は、支援対象者の行動変化がない時はGPS受信回路11および電波送受信回路12の動作を停止させる。GPSトラッキングデバイス10は、さらに、支援対象者の動きを検出する3軸加速度センサ14を有する。支援対象者の行動変化は、支援対象者が動いた状態である。
【選択図】図1
Description
本発明は、GPS(Global Positioning System)トラッキングデバイスに関し、例えば、このデバイスを携帯した支援対象者(高齢者、体の不自由な人、または子供など)の行動を支援者(家族、または介護者など)が支援する場合(支援対象者の見守りや緊急通報など)に適用して有効な技術に関する。
近年、生活環境において、家族の中に支援対象者である高齢者がいる場合には、高齢者の行動を家族で見守ることが求められてきている。また、高齢者が一人暮らしの場合には、離れて暮らす家族や家族以外の支援者が、高齢者の行動を見守ることは重要となる。このような生活環境において、例えば、GPS機能を備えた携帯電話などの携帯端末を高齢者に携帯させることで、高齢者の行動を家族や家族以外の支援者で見守ることができる。
また、高齢者以外の体の不自由な人や子供などの支援対象者の行動を家族や家族以外の支援者で見守る場合などにおいても、高齢者の場合と同様のことが言える。
例えば、特許文献1には、子供や高齢者に携帯させることで、これらの者が非日常的な環境に遭遇した場合でも、その状態を早期に検出し、追跡可能とする携帯端末装置が開示されている。
ところで、前述したような従来技術に関して、本発明者が検討した結果、以下のようなことが明らかとなった。
例えば、GPS機能を備えた携帯電話などの携帯端末を高齢者に携帯させる場合には、携帯端末の小型軽量化と長駆動時間が求められている。しかしながら、小型軽量化と長駆動時間とは相反する技術で、双方を満足させることは難しい。駆動時間を伸ばすためには、携帯端末内のバッテリの大型化が必要になり、重さも増えてしまうという課題がある。
そこで、本発明はこのような従来技術の課題に鑑みてなされたものであり、その代表的な目的は、デバイスを構成する回路で消費する電力に着目し、この消費電力を抑えてバッテリの寿命を延ばし、駆動時間を伸ばすことが可能なGPSトラッキングデバイスを提供することにある。
本発明の前記ならびにその他の目的と新規な特徴は、本明細書の記述および添付図面から明らかになるであろう。
本願において開示される発明のうち、代表的なものの概要を簡単に説明すれば、次のとおりである。
すなわち、代表的なGPSトラッキングデバイスは、GPS情報を受信するGPS受信回路と、電波を送受信する電波送受信回路と、支援対象者の行動変化に基づいてGPS受信回路および電波送受信回路を制御する制御回路と、を有する。そして、制御回路は、支援対象者の行動変化がない時はGPS受信回路および電波送受信回路の動作を停止させる。
さらに好ましくは、GPSトラッキングデバイスは、さらに、支援対象者の動きを検出するセンサを有する。支援対象者の行動変化は、支援対象者が動いた状態である。そして、制御回路は、センサにより支援対象者の動いた状態が検出されていない時はGPS受信回路および電波送受信回路の動作を停止させ、また、センサにより支援対象者の動いた状態が検出された時はGPS受信回路および電波送受信回路を動作させる。
または、GPSトラッキングデバイスは、さらに、支援対象者が押す緊急通報ボタンを有する。支援対象者の行動変化は、支援対象者が緊急通報ボタンを押した状態である。そして、制御回路は、支援対象者が緊急通報ボタンを押していない時はGPS受信回路および電波送受信回路の動作を停止させ、また、支援対象者が緊急通報ボタンを押した時はGPS受信回路および電波送受信回路を動作させる。
本願において開示される発明のうち、代表的なものによって得られる効果を簡単に説明すれば以下のとおりである。
すなわち、代表的なGPSトラッキングデバイスによれば、デバイスを構成する回路の消費電力を抑えてバッテリの寿命を延ばし、駆動時間を伸ばすことが可能となる。
以下の実施の形態においては、便宜上その必要があるときは、複数のセクションまたは実施の形態に分割して説明するが、特に明示した場合を除き、それらは互いに無関係なものではなく、一方は他方の一部または全部の変形例、詳細、補足説明などの関係にある。また、以下の実施の形態において、要素の数など(個数、数値、量、範囲などを含む)に言及する場合、特に明示した場合および原理的に明らかに特定の数に限定される場合などを除き、その特定の数に限定されるものではなく、特定の数以上でも以下でもよい。
さらに、以下の実施の形態において、その構成要素(要素ステップなども含む)は、特に明示した場合および原理的に明らかに必須であると考えられる場合などを除き、必ずしも必須のものではないことは言うまでもない。同様に、以下の実施の形態において、構成要素などの形状、位置関係などに言及するときは、特に明示した場合および原理的に明らかにそうでないと考えられる場合などを除き、実質的にその形状などに近似または類似するものなどを含むものとする。このことは、上記数値および範囲についても同様である。
[実施の形態の概要]
まず、実施の形態の概要について説明する。本実施の形態の概要では、一例として、括弧内に実施の形態の対応する構成要素の符号などを付して説明する。
まず、実施の形態の概要について説明する。本実施の形態の概要では、一例として、括弧内に実施の形態の対応する構成要素の符号などを付して説明する。
本実施の形態の代表的なGPSトラッキングデバイス(10、50)は、GPS情報を受信するGPS受信回路(11、51)と、電波を送受信する電波送受信回路(12、52)と、支援対象者の行動変化に基づいてGPS受信回路および電波送受信回路を制御する制御回路(13、53)と、を有する。そして、制御回路は、支援対象者の行動変化がない時はGPS受信回路および電波送受信回路の動作を停止させる。
さらに好ましくは、実施の形態1に対応のGPSトラッキングデバイス(10)は、さらに、支援対象者の動きを検出するセンサ(14)を有する。支援対象者の行動変化は、支援対象者が動いた状態である。そして、制御回路は、センサにより支援対象者の動いた状態が検出されていない時はGPS受信回路および電波送受信回路の動作を停止させ、また、センサにより支援対象者の動いた状態が検出された時はGPS受信回路および電波送受信回路を動作させる。
または、実施の形態2に対応のGPSトラッキングデバイス(50)は、さらに、支援対象者が押す緊急通報ボタン(55)を有する。支援対象者の行動変化は、支援対象者が緊急通報ボタンを押した状態である。そして、制御回路は、支援対象者が緊急通報ボタンを押していない時はGPS受信回路および電波送受信回路の動作を停止させ、また、支援対象者が緊急通報ボタンを押した時はGPS受信回路および電波送受信回路を動作させる。
以下、上述した実施の形態の概要に基づいた各実施の形態を図面に基づいて詳細に説明する。なお、実施の形態を説明するための全図において、同一の機能を有する部材には原則として同一の符号または関連する符号を付し、その繰り返しの説明は省略する。
[実施の形態1]
実施の形態1を、図1〜図2を用いて説明する。実施の形態1のGPSトラッキングデバイスは、これに限定されるものではないが、一例として、このデバイスを携帯した支援対象者の行動を支援者が支援する場合、特に支援対象者の見守りを行う場合に適用して有効なデバイスである。支援対象者は、例えば、高齢者、体の不自由な人、または子供などを含む。支援者は、例えば、家族、または介護者などを含む。
実施の形態1を、図1〜図2を用いて説明する。実施の形態1のGPSトラッキングデバイスは、これに限定されるものではないが、一例として、このデバイスを携帯した支援対象者の行動を支援者が支援する場合、特に支援対象者の見守りを行う場合に適用して有効なデバイスである。支援対象者は、例えば、高齢者、体の不自由な人、または子供などを含む。支援者は、例えば、家族、または介護者などを含む。
<GPSトラッキングデバイスの構成>
図1は、本実施の形態におけるGPSトラッキングデバイスの構成の一例を示すブロック図である。
図1は、本実施の形態におけるGPSトラッキングデバイスの構成の一例を示すブロック図である。
本実施の形態におけるGPSトラッキングデバイス10は、GPS受信回路11と、電波送受信回路12と、制御回路13と、3軸加速度センサ14と、タイマー15と、タイマー時間設定回路16と、バッテリ17などを有する。制御回路13は、電源供給ロジック回路18を含む。GPSトラッキングデバイス10は、GPS衛星20からGPS情報の受信が可能な構成となっている。GPSトラッキングデバイス10は、支援者デバイス30との間で、電波の送受信が可能な構成となっている。
また、本実施の形態におけるGPSトラッキングデバイス10は、携帯可能である。このGPSトラッキングデバイス10は、例えば、ネックストラップにより首から提げたり、持ち運ぶことが可能な手持ち式になっている。また、本実施の形態におけるGPSトラッキングデバイス10は、防水構造である。このGPSトラッキングデバイス10は、例えば、お風呂やシャワーなどでも使用できるようになっている。
GPS受信回路11は、GPS情報を受信する回路である。GPS受信回路11は、GPS衛星20からGPS情報を受信する。
電波送受信回路12は、電波を送受信する回路である。電波送受信回路12は、支援者デバイス30との間で、電波を送受信する。詳細には、電波送受信回路12は、GPS受信回路11で受信したGPS情報を支援対象者を支援する支援者の支援者デバイス30に送信する回路である。また、電波送受信回路12は、支援対象者の動いた状態が検出されていない時間が所定時間を経過した時は、支援対象者を支援する支援者の支援者デバイス30に、支援対象者の行動変化がないことを示す情報を送信する回路である。電波送受信回路12は、例えば、通信速度が数Mbps〜14Mbps程度の3Gや、通信速度が75Mbps〜100Mbps程度のLTEなどの通信規格に対応する回路である。
制御回路13は、支援対象者の行動変化に基づいてGPS受信回路11および電波送受信回路12を制御する回路である。制御回路13は、支援対象者の行動変化がない時はGPS受信回路11および電波送受信回路12の動作を停止させる。詳細には、支援対象者の行動変化は、支援対象者が動いた状態である。この場合、制御回路13は、3軸加速度センサ14により支援対象者の動いた状態が検出されていない時はGPS受信回路11および電波送受信回路12の動作を停止させ、3軸加速度センサ14により支援対象者の動いた状態が検出された時はGPS受信回路11および電波送受信回路12を動作させる。
また、タイマー15を有することで、制御回路13は、タイマー15に設定された時間内に、3軸加速度センサ14により支援対象者の動いた状態が検出された時は、タイマー15に設定された時間後にGPS受信回路11および電波送受信回路12を動作させ、タイマー15に設定された時間後に、3軸加速度センサ14により支援対象者の動いた状態が検出された時は、この検出された時点でGPS受信回路11および電波送受信回路12を動作させる。
また、制御回路13は、GPS受信回路11および電波送受信回路12を動作および停止させる場合に、GPS受信回路11および電波送受信回路12に対するバッテリ17からの電源供給および電源供給停止を制御する電源供給ロジック回路18を含む。
電源供給ロジック回路18は、バッテリ17からの電源供給および電源供給停止を制御する回路である。電源供給ロジック回路18は、GPS受信回路11および電波送受信回路12を動作させる場合は、GPS受信回路11および電波送受信回路12に対するバッテリ17からの電源供給を行う。電源供給ロジック回路18は、GPS受信回路11および電波送受信回路12を停止させる場合は、GPS受信回路11および電波送受信回路12に対するバッテリ17からの電源供給停止を行う。
3軸加速度センサ14は、支援対象者の動きを検出するセンサである。3軸加速度センサ14は、直接的にはGPSトラッキングデバイス10のx軸方向、y軸方向およびz軸方向の加速度を検出するが、間接的には、このGPSトラッキングデバイス10を携帯する支援対象者の動きを検出する。支援対象者の動きには、支援対象者が生活環境での動作や歩行などをして動いている場合の他に、支援対象者が乗り物などに乗車して移動している場合なども含まれる。
タイマー15は、設定時間が経過すると作動するタイマーである。タイマー時間設定回路16は、タイマー15の時間を設定する回路である。タイマー時間設定回路16は、タイマー15に設定する時間を変更可能である。
バッテリ17は、二次電池や乾電池などの電池である。バッテリ17は、交換可能である。
支援者デバイス30は、本実施の形態におけるGPSトラッキングデバイス10の電波送受信回路12との間で電波の送受信が可能な回路などを有する。支援者デバイス30は、例えば、携帯電話などの携帯端末や通信端末などである。
<GPSトラッキングデバイスの動作>
図2は、本実施の形態と本実施の形態に対する比較例とにおけるGPSトラッキングデバイスの動作の一例を示すシーケンス図である。図2(a)は本実施の形態におけるGPSトラッキングデバイスの動作の一例を示し、図2(b)は本実施の形態に対する比較例におけるGPSトラッキングデバイスの動作の一例を示す。本実施の形態に対する比較例は、本発明者の検討による現状の技術である。
図2は、本実施の形態と本実施の形態に対する比較例とにおけるGPSトラッキングデバイスの動作の一例を示すシーケンス図である。図2(a)は本実施の形態におけるGPSトラッキングデバイスの動作の一例を示し、図2(b)は本実施の形態に対する比較例におけるGPSトラッキングデバイスの動作の一例を示す。本実施の形態に対する比較例は、本発明者の検討による現状の技術である。
本実施の形態に対する比較例のGPSトラッキングデバイスは、例えば、図1に示した本実施の形態におけるGPSトラッキングデバイス10に対して、3軸加速度センサ14を有していない構成である。本実施の形態に対する比較例のGPSトラッキングデバイスでは、GPS受信回路11と電波送受信回路12に多くの電力を消費している。従って、この2つの回路の消費を抑えればデバイスの駆動時間を伸ばすことが可能である。
対応策として、GPSトラッキングデバイスは、このデバイスを携帯している支援対象者が動いている場合に位置情報が必要になる。動いていない場合は、前の位置と同じなので、位置情報を取る必要がない。そこで、本実施の形態においては、上述したように、GPSトラッキングデバイス10に支援対象者が動いていることを検出する3軸加速度センサ14を組み込み、動いていない場合にGPS受信回路11と電波送受信回路12の通信を止め、パワーセービングを行う工夫を施している。
具体的に、本実施の形態に対する比較例のGPSトラッキングデバイスの動作では、GPS衛星20と支援対象者が携帯しているGPSトラッキングデバイス10と支援者が携帯している支援者デバイス30との間で、図2(b)に示すように、一定の間隔でGPSデータの受信および送信を行っている。GPSデータの受信および送信は、GPS衛星20からのGPSデータを支援対象者のGPSトラッキングデバイス10のGPS受信回路11で受信し、この受信したGPSデータを支援対象者のGPSトラッキングデバイス10の電波送受信回路12から支援者デバイス30に送信する動作である。
例えば、20分間隔でGPSデータの受信および送信を行う場合は、1回目のGPSデータの受信および送信を行い(S201)、20分後に2回目のGPSデータの受信および送信を行う(S202)。3回目以降も同様に、次のGPSデータの受信および送信を、20分間隔で繰り返して行う(S203、S204)。このように、本実施の形態に対する比較例のGPSトラッキングデバイス10の動作では、支援対象者の動きにかかわらずに、20分間隔でGPSデータの受信および送信を行っているため、GPS受信回路11と電波送受信回路12に多くの電力を消費している。この結果、バッテリ17の電気容量の減少が速まり、GPSトラッキングデバイス10の駆動時間が短くなってしまう。
これに対して、本実施の形態におけるGPSトラッキングデバイス10の動作は、以下のとおりである。本実施の形態におけるGPSトラッキングデバイス10の動作でも、GPS衛星20と支援対象者が携帯しているGPSトラッキングデバイス10と支援者が携帯している支援者デバイス30との間で、GPSデータの受信および送信を行う。GPSデータの受信および送信は、GPS衛星20からのGPSデータを支援対象者のGPSトラッキングデバイス10のGPS受信回路11で受信し、この受信したGPSデータを支援対象者のGPSトラッキングデバイス10の電波送受信回路12から支援者デバイス30に送信する動作である。
本実施の形態におけるGPSトラッキングデバイス10の動作では、図2(a)に示すように、例えば、1回目のGPSデータの受信および送信を行い(S101)、その後は、3軸加速度センサ14で支援対象者の動きを検出した時(S102、図2(a)の例では35分後)にGPSデータの受信および送信を行う(S103)。以降も同様に、次のGPSデータの受信および送信を、3軸加速度センサ14で支援対象者の動きを検出した時に行う。
この3軸加速度センサ14で支援対象者の動きを検出した時は、電源供給ロジック回路18でバッテリ17からの電源供給を行い、GPS受信回路11および電波送受信回路12を動作させる。GPS受信回路11および電波送受信回路12の動作状態で、GPSデータの受信および送信を行うことができる。
言い換えれば、3軸加速度センサ14で支援対象者の動きを検出していない時は、電源供給ロジック回路18でバッテリ17からの電源供給を停止し、GPS受信回路11および電波送受信回路12の動作を停止させることができる。これにより、バッテリ17の電気容量の消費が少なくなる。
また、本実施の形態におけるGPSトラッキングデバイス10の動作では、タイマー15を有していることで、以下のような動作を併用することが可能となっている。このタイマー15は、タイマー時間設定回路16で設定時間を自由に変更することができる。
例えば、タイマー15を20分に設定した場合は、図2(a)に示すように、前のGPSデータの受信および送信を行った後に、20分以内に3軸加速度センサ14で支援対象者の動きを検出した時(S104)は、この動きを検出した時点ではなく、タイマー15に設定した20分後に、次のGPSデータの受信および送信を行う(S105)。
このように、本実施の形態におけるGPSトラッキングデバイス10の動作では、3軸加速度センサ14で支援対象者の動きを検出した時にGPSデータの受信および送信を行っているため、GPS受信回路11および電波送受信回路12の消費電力が少なくて済む。また、タイマー15の設定による20分以内に支援対象者の動きを検出した時は、20分後に次のGPSデータの受信および送信を行っているため、支援対象者の動きを頻繁に検出した時でも、GPS受信回路11および電波送受信回路12の消費電力が少なくて済む。この結果、バッテリ17の電気容量の減少が遅くなり、GPSトラッキングデバイス10の駆動時間を伸ばすことができる。
また、本実施の形態におけるGPSトラッキングデバイス10では、以下のような使用方法も可能である。例えば、タイマー15に別の時間として、24時間(時間変更可能)を設定できるようにして、この24時間以内に支援対象者の動きがない場合に支援者に通報することができる。すなわち、支援対象者のGPSトラッキングデバイス10において、3軸加速度センサ14で支援対象者の動いた状態が検出されていない時間が24時間を経過した時は、支援対象者の行動変化がないことを示す情報を、支援者の支援者デバイス30に送信することができる。
また、これまでの説明では、支援対象者がGPSトラッキングデバイス10を携帯していることを前提に説明したが、支援対象者がGPSトラッキングデバイス10を携帯していないこと(使用していないことも含む)を検出することも可能である。例えば、3軸加速度センサ14で検出されていない時間が所定時間を経過した時は、支援対象者がGPSトラッキングデバイス10を携帯していないことを示す情報を、支援者の支援者デバイス30に送信することができる。
<実施の形態1の効果>
以上説明した本実施の形態におけるGPSトラッキングデバイス10によれば、GPSトラッキングデバイス10を構成するGPS受信回路11および電波送受信回路12の消費電力を抑えてバッテリ17の寿命を伸ばし、GPSトラッキングデバイス10の駆動時間を伸ばすことが可能となる。
以上説明した本実施の形態におけるGPSトラッキングデバイス10によれば、GPSトラッキングデバイス10を構成するGPS受信回路11および電波送受信回路12の消費電力を抑えてバッテリ17の寿命を伸ばし、GPSトラッキングデバイス10の駆動時間を伸ばすことが可能となる。
また、本実施の形態におけるGPSトラッキングデバイス10は、このGPSトラッキングデバイス10を携帯する支援対象者に対応して、高齢者、体の不自由な人、または子供の見守りを行う見守り装置として利用することができる。
[実施の形態2]
実施の形態2を、図3〜図5を用いて説明する。実施の形態2のGPSトラッキングデバイスは、これに限定されるものではないが、一例として、このデバイスを携帯した支援対象者の行動を支援者が支援する場合、特に支援対象者が緊急通報を行う場合に適用して有効なデバイスである。実施の形態2において、支援対象者および支援者は、上記実施の形態1と同様である。実施の形態2において、上記実施の形態1と異なる点は、支援対象者が押す緊急通報ボタンを有し、さらに、支援対象者と支援者との間で通話可能にするマイクおよびスピーカを有する点である。
実施の形態2を、図3〜図5を用いて説明する。実施の形態2のGPSトラッキングデバイスは、これに限定されるものではないが、一例として、このデバイスを携帯した支援対象者の行動を支援者が支援する場合、特に支援対象者が緊急通報を行う場合に適用して有効なデバイスである。実施の形態2において、支援対象者および支援者は、上記実施の形態1と同様である。実施の形態2において、上記実施の形態1と異なる点は、支援対象者が押す緊急通報ボタンを有し、さらに、支援対象者と支援者との間で通話可能にするマイクおよびスピーカを有する点である。
実施の形態2では、上記実施の形態1と異なる点を主に説明する。しかしながら、以下に説明する実施の形態2は、上記実施の形態1と組み合わせることも可能である。例えば、実施の形態2の構成に上記実施の形態1の構成の一部を加えることや、実施の形態2の構成の一部を上記実施の形態1の構成に置き換えることなどが可能である。もちろん、逆に、上記実施の形態1の構成に実施の形態2の構成の一部を加えることや、上記実施の形態1の構成の一部を実施の形態2の構成に置き換えることなどが可能である。
<GPSトラッキングデバイスの構成>
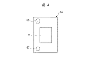
図3は、本実施の形態におけるGPSトラッキングデバイスの構成の一例を示すブロック図である。図4は、本実施の形態におけるGPSトラッキングデバイスの外観の一例を示す正面図である。
図3は、本実施の形態におけるGPSトラッキングデバイスの構成の一例を示すブロック図である。図4は、本実施の形態におけるGPSトラッキングデバイスの外観の一例を示す正面図である。
本実施の形態におけるGPSトラッキングデバイス50は、GPS受信回路51と、電波送受信回路52と、制御回路53と、電源回路54と、緊急通報ボタン55と、スピーカ56と、マイク57と、バッテリ58などを有する。制御回路53は、電源供給ロジック回路59を含む。GPSトラッキングデバイス50は、GPS衛星60からGPS情報の受信が可能な構成となっている。GPSトラッキングデバイス50は、支援者デバイス70との間で、電波の送受信が可能な構成となっている。
また、本実施の形態におけるGPSトラッキングデバイス50は、上記実施の形態1と同様に、携帯可能であり、また、防水構造である。
GPS受信回路51は、上記実施の形態1と同様に、GPS情報を受信する回路である。電波送受信回路52は、上記実施の形態1と同様に、電波を送受信する回路である。
制御回路53は、上記実施の形態1と同様に、支援対象者の行動変化に基づいてGPS受信回路51および電波送受信回路52を制御する回路である。詳細には、支援対象者の行動変化は、支援対象者が緊急通報ボタン55を押した状態である。この場合に、制御回路53は、支援対象者が緊急通報ボタン55を押していない時はGPS受信回路51および電波送受信回路52の動作を停止させ、支援対象者が緊急通報ボタン55を押した時はGPS受信回路51および電波送受信回路52を動作させる。
また、マイク57およびスピーカ56を有することで、制御回路53は、GPS受信回路51および電波送受信回路52を動作させている時間において、マイク57およびスピーカ56を通じて支援対象者と支援対象者を支援する支援者との間で通話可能に制御する。
また、制御回路53は、支援者として複数の支援者を順位付けして登録可能であり、順位の高い支援者から順番に通話可能に制御する。
また、制御回路53は、GPS受信回路51および電波送受信回路52を動作および停止させる場合に、GPS受信回路51および電波送受信回路52に対するバッテリ58からの電源供給および電源供給停止を制御する電源供給ロジック回路59を含む。
電源供給ロジック回路59は、電源回路54に接続されている。電源回路54には、バッテリ58が接続されている。電源供給ロジック回路59は、バッテリ58からの電源供給および電源供給停止を制御する回路である。電源供給ロジック回路59は、GPS受信回路51および電波送受信回路52を動作させる場合は、GPS受信回路51および電波送受信回路52に対するバッテリ58からの電源供給を行う。電源供給ロジック回路59は、GPS受信回路51および電波送受信回路52を停止させる場合は、GPS受信回路51および電波送受信回路52に対するバッテリ58からの電源供給停止を行う。
また、制御回路53は、GPS受信回路51および電波送受信回路52を動作および停止させる場合に、動作させる時間が設定可能である。例えば、動作させる時間としては、緊急通報ボタン55が押されて、GPSデータの受信および送信と、支援対象者と支援者との間の通話が終了までの時間が設定される。
電源回路54は、緊急通報ボタン55の操作に基づいてバッテリ58からの電源をオフまたはオンする回路である。電源回路54は、緊急通報ボタン55が押されるまで、バッテリ58からの電源をオフする。電源回路54は、緊急通報ボタン55が押されると、バッテリ58からの電源をオンして、バッテリ58からの電源を電源供給ロジック回路59に供給する。
緊急通報ボタン55は、支援対象者が押す緊急通報ボタンである。緊急通報ボタン55は、GPSトラッキングデバイス50の外観上において、図4に示すように、支援対象者が押すことができるように配置されている。
スピーカ56は、支援対象者が支援者の話を聞くスピーカである。スピーカ56は、GPSトラッキングデバイス50の外観上において、図4に示すように、支援対象者が話を聞くことができるように配置されている。
マイク57は、支援対象者が支援者に話を伝えるマイクである。マイク57は、GPSトラッキングデバイス50の外観上において、図4に示すように、支援対象者が話を伝えることができるように配置されている。
バッテリ58は、上記実施の形態1と同様に、二次電池や乾電池などの電池である。
支援者デバイス70は、本実施の形態におけるGPSトラッキングデバイス50の電波送受信回路52との間で電波の送受信が可能な回路や、スピーカおよびマイクなどを有する。支援者デバイス30は、例えば、携帯電話などの携帯端末や通信端末などである。
<GPSトラッキングデバイスの動作>
図5は、本実施の形態におけるGPSトラッキングデバイスの動作の一例を示すシーケンス図である。
図5は、本実施の形態におけるGPSトラッキングデバイスの動作の一例を示すシーケンス図である。
本実施の形態におけるGPSトラッキングデバイス50の動作では、緊急通報ボタン55が押されるまで、電源回路54はバッテリ58からの電源をオフして(S301)、GPS受信回路51および電波送受信回路52などを停止させる。これにより、バッテリ17の電気容量を消費することがない。
そして、緊急通報ボタン55が押されると(S302)、電源回路54はバッテリ58からの電源をオンして(S303)、バッテリ58からの電源を電源供給ロジック回路59に供給する。電源供給ロジック回路59は、GPS受信回路51および電波送受信回路52に電源を供給して、GPS受信回路51および電波送受信回路52を動作させる。GPS受信回路51および電波送受信回路52の動作状態では、GPSデータの受信および送信を行うことができ(S304、S305)、さらに、マイク57およびスピーカ56を通じて支援対象者と支援者との間で通話を行うことができる(S306)。
GPSデータの受信および送信では、上記実施の形態1と同様に、GPS衛星20からのGPSデータを支援対象者のGPSトラッキングデバイス50のGPS受信回路51で受信し、この受信したGPSデータを支援対象者のGPSトラッキングデバイス50の電波送受信回路52から支援者デバイス70に送信する。
この場合に、例えば、緊急通報ボタン55が押されて直ぐにはGPSデータの受信ができないので、GPSデータが受信されるまで、アンテナ基地の位置情報によりラフな位置情報を割り出す。そして、このラフな位置情報を支援者デバイス70に送信する。もちろん、正確なGPSデータの受信ができた場合には、受信した正確なGPSデータを送信する。
通常、GPSデータを受信するには30秒〜180秒の時間がかかる。また、支援対象者の位置が建物内であれば受信ができない。そこで、携帯電話アンテナの位置情報を使い、おおよその位置を割り出すことができる。従って、GPSデータが受信できない場合や支援対象者のGPSトラッキングデバイス50がGPSデータを受信できない時間で切断された場合に、ラフな位置情報をGPSデータの代わりに使用することで、おおよそのGPSトラッキングデバイス50の緊急通報ボタン55が押された位置情報がわかる。
また、支援対象者と支援者との間の通話では、支援対象者は、マイク57を通じて支援者に緊急であることの状況などを伝え、また、スピーカ56を通じて支援者からの指示などを聞く。これにより、緊急時に、支援対象者は支援者との間で会話を行うことができる。もちろん、緊急時でなくても、支援対象者は、緊急通報ボタン55を押すことで支援者との間で会話を行うことができる。
そして、GPSデータの受信および送信と、支援対象者と支援者との間の会話が終了した後、電源回路54はバッテリ58からの電源をオフして(S307)、GPS受信回路51および電波送受信回路52などを停止させる。これにより、緊急通報ボタン55が押されるのを待つ状態になる。
本実施の形態では、緊急通報ボタン55が押されて、GPSデータの受信および送信と、支援対象者と支援者との間の会話の終了までの時間は、設定可能であり、例えば30分程度とする。
また、緊急通報ボタン55が押された時の緊急通報先は、複数の支援者を順位付けして登録可能であり、順位の高い支援者から順番に通話可能である。例えば、通報番号を3つまで登録可能な場合には、最初は家族、2番目は知人、どれでも応答が無ければ消防署などに通報されるように登録する。
<実施の形態2の効果>
以上説明した本実施の形態におけるGPSトラッキングデバイス50によれば、GPSトラッキングデバイス50を構成するGPS受信回路51および電波送受信回路52の消費電力を抑えてバッテリ58の寿命を伸ばし、GPSトラッキングデバイス50の駆動時間を伸ばすことが可能となる。
以上説明した本実施の形態におけるGPSトラッキングデバイス50によれば、GPSトラッキングデバイス50を構成するGPS受信回路51および電波送受信回路52の消費電力を抑えてバッテリ58の寿命を伸ばし、GPSトラッキングデバイス50の駆動時間を伸ばすことが可能となる。
また、本実施の形態におけるGPSトラッキングデバイス50は、このGPSトラッキングデバイス50を携帯する支援対象者に対応して、高齢者、体の不自由な人、または子供が緊急通報を行う緊急通報装置として利用することができる。
以上、本発明者によってなされた発明を実施の形態に基づき具体的に説明したが、本発明は前記実施の形態に限定されるものではなく、その要旨を逸脱しない範囲で種々変更可能であることはいうまでもない。
例えば、前記実施の形態は、本発明を分かり易く説明するために詳細に説明したものであり、必ずしも説明した全ての構成を備えるものに限定されるものではない。また、ある実施の形態の構成の一部を他の実施の形態の構成に置き換えることが可能であり、また、ある実施の形態の構成に他の実施の形態の構成を加えることも可能である。また、各実施の形態の構成の一部について、他の構成の追加、削除、置換をすることが可能である。
10、50 GPSトラッキングデバイス
11、51 GPS受信回路
12、52 電波送受信回路
13、53 制御回路
14 3軸加速度センサ
15 タイマー
16 タイマー時間設定回路
17、58 バッテリ
18、59 電源供給ロジック回路
20、60 GPS衛星
30、70 支援者デバイス
54 電源回路
55 緊急通報ボタン
56 スピーカ
57 マイク
11、51 GPS受信回路
12、52 電波送受信回路
13、53 制御回路
14 3軸加速度センサ
15 タイマー
16 タイマー時間設定回路
17、58 バッテリ
18、59 電源供給ロジック回路
20、60 GPS衛星
30、70 支援者デバイス
54 電源回路
55 緊急通報ボタン
56 スピーカ
57 マイク
Claims (17)
- GPS情報を受信するGPS受信回路と、
電波を送受信する電波送受信回路と、
支援対象者の行動変化に基づいて前記GPS受信回路および前記電波送受信回路を制御する制御回路と、
を有し、
前記制御回路は、前記支援対象者の行動変化がない時は前記GPS受信回路および前記電波送受信回路の動作を停止させる、GPSトラッキングデバイス。 - 請求項1記載のGPSトラッキングデバイスにおいて、
さらに、前記支援対象者の動きを検出するセンサを有し、
前記支援対象者の行動変化は、前記支援対象者が動いた状態であり、
前記制御回路は、
前記センサにより前記支援対象者の動いた状態が検出されていない時は前記GPS受信回路および前記電波送受信回路の動作を停止させ、
前記センサにより前記支援対象者の動いた状態が検出された時は前記GPS受信回路および前記電波送受信回路を動作させる、GPSトラッキングデバイス。 - 請求項2記載のGPSトラッキングデバイスにおいて、
さらに、タイマーを有し、
前記制御回路は、
前記タイマーに設定された時間内に、前記センサにより前記支援対象者の動いた状態が検出された時は、前記タイマーに設定された時間後に前記GPS受信回路および前記電波送受信回路を動作させ、
前記タイマーに設定された時間後に、前記センサにより前記支援対象者の動いた状態が検出された時は、この検出された時点で前記GPS受信回路および前記電波送受信回路を動作させる、GPSトラッキングデバイス。 - 請求項3記載のGPSトラッキングデバイスにおいて、
さらに、前記タイマーの時間を設定するタイマー時間設定回路を有し、
前記タイマー時間設定回路は、前記タイマーに設定する時間を変更可能である、GPSトラッキングデバイス。 - 請求項4記載のGPSトラッキングデバイスにおいて、
前記制御回路は、前記GPS受信回路および前記電波送受信回路を動作および停止させる場合に、前記GPS受信回路および前記電波送受信回路に対するバッテリからの電源供給および電源供給停止を制御する電源供給ロジック回路を含む、GPSトラッキングデバイス。 - 請求項5記載のGPSトラッキングデバイスにおいて、
前記電波送受信回路は、前記GPS受信回路で受信したGPS情報を前記支援対象者を支援する支援者のデバイスに送信する、GPSトラッキングデバイス。 - 請求項6記載のGPSトラッキングデバイスにおいて、
前記電波送受信回路は、前記支援対象者の動いた状態が検出されていない時間が所定時間を経過した時は、前記支援対象者を支援する支援者のデバイスに、前記支援対象者の行動変化がないことを示す情報を送信する、GPSトラッキングデバイス。 - 請求項7記載のGPSトラッキングデバイスにおいて、
前記センサは、3軸加速度センサである、GPSトラッキングデバイス。 - 請求項1記載のGPSトラッキングデバイスにおいて、
さらに、前記支援対象者が押す緊急通報ボタンを有し、
前記支援対象者の行動変化は、前記支援対象者が前記緊急通報ボタンを押した状態であり、
前記制御回路は、
前記支援対象者が前記緊急通報ボタンを押していない時は前記GPS受信回路および前記電波送受信回路の動作を停止させ、
前記支援対象者が前記緊急通報ボタンを押した時は前記GPS受信回路および前記電波送受信回路を動作させる、GPSトラッキングデバイス。 - 請求項9記載のGPSトラッキングデバイスにおいて、
さらに、マイクおよびスピーカを有し、
前記制御回路は、前記GPS受信回路および前記電波送受信回路を動作させている時間において、前記マイクおよび前記スピーカを通じて前記支援対象者と前記支援対象者を支援する支援者との間で通話可能に制御する、GPSトラッキングデバイス。 - 請求項10記載のGPSトラッキングデバイスにおいて、
前記制御回路は、前記支援者として複数の支援者を順位付けして登録可能であり、順位の高い支援者から順番に通話可能に制御する、GPSトラッキングデバイス。 - 請求項11記載のGPSトラッキングデバイスにおいて、
さらに、前記緊急通報ボタンの操作に基づいてバッテリからの電源をオフまたはオンする電源回路を有し、
前記電源回路は、
前記緊急通報ボタンが押されるまで前記バッテリからの電源をオフし、
前記緊急通報ボタンが押されると前記バッテリからの電源をオンする、GPSトラッキングデバイス。 - 請求項12記載のGPSトラッキングデバイスにおいて、
前記制御回路は、前記GPS受信回路および前記電波送受信回路を動作および停止させる場合に、前記GPS受信回路および前記電波送受信回路に対する前記バッテリからの電源供給および電源供給停止を制御する電源供給ロジック回路を含む、GPSトラッキングデバイス。 - 請求項13記載のGPSトラッキングデバイスにおいて、
前記制御回路は、前記GPS受信回路および前記電波送受信回路を動作および停止させる場合に、動作させる時間が設定可能である、GPSトラッキングデバイス。 - 請求項1記載のGPSトラッキングデバイスにおいて、
前記支援対象者は、高齢者、体の不自由な人、または子供を含み、
前記支援者は、家族、または介護者を含む、GPSトラッキングデバイス。 - 請求項1記載のGPSトラッキングデバイスにおいて、
前記GPSトラッキングデバイスは、携帯可能である、GPSトラッキングデバイス。 - 請求項1記載のGPSトラッキングデバイスにおいて、
前記GPSトラッキングデバイスは、防水構造である、GPSトラッキングデバイス。
Priority Applications (1)
| Application Number | Priority Date | Filing Date | Title |
|---|---|---|---|
| JP2016083705A JP2017194786A (ja) | 2016-04-19 | 2016-04-19 | Gpsトラッキングデバイス |
Applications Claiming Priority (1)
| Application Number | Priority Date | Filing Date | Title |
|---|---|---|---|
| JP2016083705A JP2017194786A (ja) | 2016-04-19 | 2016-04-19 | Gpsトラッキングデバイス |
Publications (1)
| Publication Number | Publication Date |
|---|---|
| JP2017194786A true JP2017194786A (ja) | 2017-10-26 |
Family
ID=60156478
Family Applications (1)
| Application Number | Title | Priority Date | Filing Date |
|---|---|---|---|
| JP2016083705A Pending JP2017194786A (ja) | 2016-04-19 | 2016-04-19 | Gpsトラッキングデバイス |
Country Status (1)
| Country | Link |
|---|---|
| JP (1) | JP2017194786A (ja) |
Cited By (1)
| Publication number | Priority date | Publication date | Assignee | Title |
|---|---|---|---|---|
| US12387584B2 (en) | 2019-04-01 | 2025-08-12 | Bsize Inc. | Monitoring system, monitoring method, and program |
-
2016
- 2016-04-19 JP JP2016083705A patent/JP2017194786A/ja active Pending
Cited By (1)
| Publication number | Priority date | Publication date | Assignee | Title |
|---|---|---|---|---|
| US12387584B2 (en) | 2019-04-01 | 2025-08-12 | Bsize Inc. | Monitoring system, monitoring method, and program |
Similar Documents
| Publication | Publication Date | Title |
|---|---|---|
| EP2907295B1 (en) | Wireless area network enabled mobile device accessory | |
| JP5454533B2 (ja) | 電子時計 | |
| JP2014120934A (ja) | 携帯型電子装置、通信システム、報知動作制御方法、及び、プログラム | |
| US9838969B2 (en) | Method, device and system for setting operation modes of communication devices in a communication network | |
| US20220086618A1 (en) | Low-power mobile telephony alert system | |
| JP5496376B1 (ja) | 端末、その制御方法、及びその制御プログラム | |
| KR20170066917A (ko) | 웨어러블 디바이스, 이의 전원 관리 방법 및 이를 수행하기 위한 애플리케이션 | |
| JP2017194786A (ja) | Gpsトラッキングデバイス | |
| CN112738872A (zh) | 一种寻呼周期确定方法、终端设备、网络设备及存储介质 | |
| JP2014077800A (ja) | 電子時計 | |
| KR101612270B1 (ko) | 원격 기능 제한이 가능한 커넥티드 디바이스 및 커넥티드 디바이스의 원격 기능 제한 방법 | |
| KR20160069990A (ko) | 전자 장치의 소모 전류 제어 | |
| JP6478239B2 (ja) | 端末装置および通信システム | |
| JP5160153B2 (ja) | 携帯通信機器及び携帯通信機器の制御方法 | |
| KR20170037802A (ko) | 웨어러블 디바이스를 활용한 실내외 응급호출 구현 방안 | |
| KR200295653Y1 (ko) | 사용자의 위치파악이 가능한 무선단말장치 | |
| JP5992753B2 (ja) | 携帯電子機器、制御方法、制御プログラム及び制御システム | |
| KR101981117B1 (ko) | 자가 배터리를 이용하여 gps를 구동하는 개인용 휴대기기 시스템 | |
| JP2006074153A (ja) | 通信回線制御方法および装置 | |
| KR20040021094A (ko) | 사용자의 위치파악이 가능한 무선단말장치 | |
| JP2015106800A (ja) | 双方向通信システム | |
| JP2001280994A (ja) | Gpsを用いた携帯位置確認装置 | |
| JP2009005237A (ja) | 携帯電話子機およびそれを用いた携帯電話システム |