JP2017192559A - スポーツシューズ - Google Patents

スポーツシューズ Download PDF

Info

Publication number
JP2017192559A
JP2017192559A JP2016084549A JP2016084549A JP2017192559A JP 2017192559 A JP2017192559 A JP 2017192559A JP 2016084549 A JP2016084549 A JP 2016084549A JP 2016084549 A JP2016084549 A JP 2016084549A JP 2017192559 A JP2017192559 A JP 2017192559A
Authority
JP
Japan
Prior art keywords
base material
shoe
sole
thermoplastic base
tpu
Prior art date
Legal status (The legal status is an assumption and is not a legal conclusion. Google has not performed a legal analysis and makes no representation as to the accuracy of the status listed.)
Granted
Application number
JP2016084549A
Other languages
English (en)
Other versions
JP7002829B2 (ja
Inventor
カーマン マルコ
Kormann Marco
カーマン マルコ
エドワード ホルムス クリストファー
edward holmes Christopher
エドワード ホルムス クリストファー
ホアイング ブライアン
Hoying Brian
ホアイング ブライアン
マーティン ブランデージ アダム
Martin Brundage Adam
マーティン ブランデージ アダム
Current Assignee (The listed assignees may be inaccurate. Google has not performed a legal analysis and makes no representation or warranty as to the accuracy of the list.)
Adidas AG
Original Assignee
Adidas AG
Priority date (The priority date is an assumption and is not a legal conclusion. Google has not performed a legal analysis and makes no representation as to the accuracy of the date listed.)
Filing date
Publication date
Application filed by Adidas AG filed Critical Adidas AG
Priority to JP2016084549A priority Critical patent/JP7002829B2/ja
Publication of JP2017192559A publication Critical patent/JP2017192559A/ja
Application granted granted Critical
Publication of JP7002829B2 publication Critical patent/JP7002829B2/ja
Active legal-status Critical Current
Anticipated expiration legal-status Critical

Links

Images

Landscapes

  • Footwear And Its Accessory, Manufacturing Method And Apparatuses (AREA)

Abstract

【課題】靴のライフサイクル中の資源消費量および温暖化ガス排出量を抑制する向上した手法を提供すること。
【解決手段】靴100は、重量での大部分が熱可塑性プラスチック基礎材料から製作されるアッパ120を備える。さらに、靴100は、重量での大部分が熱可塑性プラスチック基礎材料から製作されるソール110とを備える。ソール110とアッパ120とは、個々に製作され、相互に結合される。さらに、使用済みの靴100から基礎材料を再生する。
【選択図】図1

Description

本発明は、靴に関し、詳細にはスポーツシューズに関し、靴を製造および再生処理する方法に関する。
靴、特にスポーツシューズは、一般に複数の構成要素から製作されるソールおよびアッパを備える。複数の構成要素は、一般に、ソールおよびアッパが、緩衝作用、湿気管理、トラクション(traction)、耐摩耗性などの様々な所望の特性を靴に与えるために必要とされる。このために、靴の様々な構成要素は、通常、様々な材料から製造される。構成要素は、次いで、たとえば接着剤や縫製によって相互に取り付けられる。
靴の様々な構成要素およびそれらそれぞれの材料の製造には、かなりの量のエネルギー(たとえば電気、熱など)を必要とし、それは温室効果ガスの排出を招く。さらに、靴の寿命が来ると、たとえば靴が擦り切れそれ以上使用できなくなると、靴を安全に処分するためにかなりの仕事が必要になる。このような状況では、靴の処分を最適化するために靴の内部に在る様々な個々の材料に特別な注意を払う必要がある。再び、エネルギーが、材料を分解するために必要になり、さらに、温暖化ガスが排出される。他方、大多数の使い古された靴は、さらには、廃棄物としてごみ埋め立て地または焼却施設で終わることになる。靴のライフサイクル中のエネルギー消費量および温暖化ガス排出量を抑制する多数の手法が知られている。
米国特許出願公開第2009/0119023A1号は、消費財をその生態系および/または環境への影響に基づいて評価しランク付けする評点システムを開示しており、そのシステムは履物に適用することができる。しかし、ランク付けまたは評価のみでは、そのライフサイクル中の資源消費および温暖化ガス排出が減少する靴を実現するには不十分である。
米国特許出願公開第2012/0233883A1号は、スクラップを取り入れる靴のアッパの製造プロセスを開示する。材料スクラップを回収し大きさを変えることができ、大きさを変えたスクラップを、再生材料層を生成するために散布することができる。その層を加熱および/または加圧して、柔軟な複合パネルを生成することができる。複合パネルを使用してアッパシェルを作り出すことができる。米国特許出願公開第2014/0066530A1号は、スクラップのエチレン酢酸ビニル(EVA)発泡プラスチック屑を再生する方法を開示する。新品のEVA樹脂とスクラップのEVA発泡プラスチック、ならびにEVA樹脂用の架橋剤と発泡剤とを含む混合物を、発泡させ架橋させる。混合物は、相溶化剤(compatibilizer)をさらに含み、その相溶化剤は水素添加石油樹脂である。米国特許出願公開第2012/0233883A1号および米国特許出願公開第2014/0066530A1号は、スクラップを再利用する発想に基づいており、それによって、消費前廃棄物(産業廃棄物)が製造プロセスに戻されて使用される。しかしながら、これらの方法は、靴の製造中に可能な廃棄物の再利用を対象とするに止まる。
米国特許出願公開第2014/0197253号A1は、複数の構成要素からなる品物を再生処理する方法を開示する。複合構成要素の靴のポリマー構成要素を分離することができる。その方法では、用意された靴を極低温で凍結し、それに衝撃を加えることによって、様々なポリマー構成要素の脆化およびガラス転移温度の相違を利用して、1つのポリマー構成要素を、靴の残りの部分を実質的に破砕することなく、粉砕するようにする。この方法は、複数のポリマー構成要素からなる品物の再生処理を対象とするが、極低温処理を必要とする極めて複雑で費用の掛かるプロセスである。
独国実用新案第20 2012 005 735U1号はサイクリングシューズに関する。サイクリングシューズは、相互にしっかり接着され得るアッパとソールとを備えるアウタシューを具備する。好ましくは、アウタシューは単一の材料から構成され、その場合、アッパおよびソールは単一の層のみを備える。ポリウレタン、特に熱可塑性ポリウレタンなどの熱可塑性または熱硬化性のエラストマーを、ことによると繊維強化材と共に、使用することができる。アウタシューは取外し可能にインナシュート連結することができる。インナシューもまたソールおよびアッパを備える。インナシューはEVAから構成してもよい。
欧州特許出願公開第2 233 021A2号は、スイミングプールや温泉で使用する保護ソックスに関する。そのソックスは、ソールとバンプ(vamp)とで異なる2つの材料によって形成されるタイプのものである。ソールは、ポリアミドを60〜75%およびポリウレタンを25〜40%含む防水繊維から製作される。バンプはテフロン加工ライクラからなる。
米国特許第9,010,157B1号は、周辺ニット部分を有する単繊維ニット要素を備える履物に関する。独国特許出願公開第10 2013 208 170A1号は、ミッドソールおよびアウトソールを備える靴用ソールに関する。
また、生物分解性の材料から靴を製造することができることが当分野で知られるようになった。そのような靴は数カ月以内に自然に分解され得る。しかし、これらの靴に使用される材料は、スポーツシューズには適さず、特に、高品質で高性能な靴に関する要件を満足しない。
米国特許出願公開第2009/0119023A1号 米国特許出願公開第2012/0233883A1号 米国特許出願公開第2014/0066530A1号 米国特許出願公開第2014/0197253A1号 独国実用新案第20 2012 005 735U1号 欧州特許出願公開第2 233 021A2号 米国特許第9,010,157B1号 独国特許出願公開第10 2013 208 170A1号 独国特許出願公開第10 2012 206 094号 欧州特許出願公開第2 649 896号
したがって、靴のライフサイクル中の資源消費量および温暖化ガス排出量を抑制する向上した手法を提供することを本発明の課題として考えることができる。
この課題は、請求項1に記載の靴、特にスポーツシューズによって少なくとも部分的に解決される。一実施形態では、靴は、重量での大部分が熱可塑性プラスチック基礎材料から製作されるアッパを備える。さらに、靴は、重量での大部分が前記と同じ熱可塑性プラスチック基礎材料から製作されるソールを備える。ソールとアッパとは、個々に製作され、相互に結合される。熱可塑性プラスチック基礎材料は、熱可塑性ポリウレタン(TPU)、ポリアミド(PA)、ポリエチレンテレフタラート(PET)、および/またはポリブチレンテレフタラート(PBT)でもよい。ただし、他の材料を使用することもできる。
その大部分を、さらにはその全体を同じ基礎材料から構成されたソールおよびアッパを有する靴を実現することによって、基礎材料を靴から容易に再生することができ、それによって、靴の様々な構成要素を分離および/または選別するために必要な努力が著しく軽減される。たとえば、靴全体を単一の再生処理ステップで処理することができる。本発明による靴は、特に靴全体が単一の材料から製作されているとき、使用済みの靴の再生処理を大幅に単純化することができる。さらに、再生基礎材料は、次いで、新たな靴のソールおよびアッパの両方に再使用することができ、それによって、両方の部品を、実質的に同じ再生処理材料から製作することができる。アッパおよびソールに同じ材料を使用すると同時に高品質の靴を実現することは、一種類の同じ化学系材料(たとえば熱可塑性ポリウレタン)の様々な物理的実装形態(たとえば糸、フォイル、発泡体、ペレットなど)を使用することによって、高品質な靴(たとえば緩衝作用、合い具合、湿気管理、トラクション、耐摩耗性、良好な履き心地および感触)を実現するのに必要な様々な異なる特性をもたらすことができるという発想によって可能になる。特に、靴の全ての部品へのTPUの使用が、スポーツマン向きに設計された高性能な靴の製造を可能にする。
一般に、本明細書に開示された靴の構成要素、部品、要素などは、恒久的に結合することができる。一部の実施形態では、靴が、取外し可能な部品を全く備えないこともある。あるいは、前記構成要素、部品、要素などの一部または全てを取外し可能に結合することもできる。
アッパおよびソールに同じ基礎材料を使用すると、たとえばエネルギーを加えることによって、たとえば熱によって容易に接合することができる相性の良い材料を使用するという基本的利点を可能にする。例として、赤外線(IR)加熱を使用して2つ以上の構成要素の表面を溶解することができ、それによって、たとえば溶解面を互いに押し付けることによって、2つ以上の構成要素を接着することができる。接着は、たとえば分子間の化学結合によって達成することもできる。
さらに、アッパおよびソールに同じ基礎材料を使用すると、2つの構成要素の結合が容易になり、その結合は、上記のように、たとえばエネルギー、たとえば熱を加えて表面を溶解することによって、接着剤も全く必要とすることなく達成することができる。
このように、同じ基礎材料をいくつもの代の靴にわたって再生し再使用することができるので、経済的に実行可能な、少なくとも部分的に閉じた材料サイクルを、何代もの靴に関して作り出すことができる。それによって、同じ再生材料から製作される新たな代の靴毎に、材料を製造し安全に処分するためのエネルギーおよび温暖化ガスの排出を削減することができる。結果的に、従来の靴と比較して、寿命が来た靴を分解するのに必要なエネルギーおよび温暖化ガスを削減することができるだけではない。さらに、古い靴の基礎材料を簡単に再使用することができるので、新たな靴の基礎材料を再製造するのに必要なエネルギーも削減することができる。再生熱可塑性プラスチック材料から靴を再生し製造するための追加のエネルギーを考慮に入れても、再生靴の環境負荷は、新品の熱可塑性プラスチック材料を使用する類似の従来の靴より大幅に低くなる。
少なくとも部分的に閉じた材料サイクルとは、再使用基礎材料を新しい材料と混合することも可能であることを意味する。たとえば、新しい材料のパーセンテージは、たとえばその結果の材料特性の一貫性を確保するために、10〜50%、または15〜20%の量にすることができる。
さらに、靴のアッパおよびソールに単一の基礎材料を使用すると、基礎材料のより経済的な調達を可能にし、製造中に基礎材料をより効率的に取り扱うことを可能にする。このようにさらに別の費用効果をもたらすことができる。
ソールおよびアッパの諸部分を合同製造ステップで製作することも可能であることに留意されたい。「ソールとアッパとを個々に製作する」との表現は、ソールの少なくとも一部分と、熱可塑性プラスチック基礎材料を含むアッパの少なくとも一部分とが別々に製作されるソールおよびアッパを含意することを意図する。その結果として、同じ基礎材料を使用するにも拘らず、様々な物理特性をソールおよびアッパにもたらすことができる。他の例では、ソール全体とアッパ全体とを別々に製作することができる。
一部の例では、ソールおよび/またはアッパは、重量で、50%を超え、75%を超え、または95%を超える同一基礎材料を含む。他の例では、ソールおよび/またはアッパは、実質的に同じ基礎材料から構成される。
靴の熱可塑性プラスチック基礎材料は、アッパおよびソールの合同再生処理プロセスで再生処理されるように適合させることができ、その結果その熱可塑性プラスチック基礎材料を、さらに別のアッパおよび/またはソール製造用の基礎材料として役立てることができる。言い換えれば、靴の分解が必要なくなり得る。靴全体を、合同再生処理プロセスにかけて基礎材料を再生することができる。再生材料は、同じ種類の靴もしくはスポーツシューズ製品または別の靴製品用の基礎材料として役立てることができる。原理的に、再生材料は、他のあらゆるスポーツ用製品の製造用材料として役立てることができる。
既述のように、靴の熱可塑性プラスチック基礎材料は、TPU、PA、PETおよび/またはPBTの1つから選択することができる。さらに、熱可塑性プラスチック基礎材料は、TPU、PA6、PA66、PA11、PA1010、PA612、PA610、PA1012、PA410、PA12、および/またはポリエーテルブロックアミド(PEBA)のうちの1つから選択することが可能である。
熱可塑性プラスチック基礎材料は、また、発泡TPU、ポリエステル系TPU、および/またはポリエーテル系TPUの1つから選択することもできる。これら材料は、靴のソールおよびアッパへの使用に共に好適であることが分かっている。たとえば、TPUを使用することによって、ソールが、良好な緩衝特性(たとえば発泡TPUを使用)を実現することができ、同時にアッパが、良好な履き心地(たとえばTPU製の糸を使用)を実現することができる。熱可塑性プラスチック基礎材料は、次いで、靴の寿命が来るとその靴から簡単な再生処理ステップで再生することができ、次いで、新たな代の靴に再使用することができる。
靴のアッパは、熱可塑性プラスチック基礎材料から成る糸を含み得る。アッパは、テキスタイル材から製作することができ、またはテキスタイル材を含み得、そのテキスタイル材は熱可塑性プラスチック基礎材料から成る糸を含む。テキスタイル材は、ニット生地、たとえば経編地および/または緯編地でもよい。たとえば、緯編地は、平編みおよび/または丸編みでもよい。たとえば、経編地はエンジニアドニットでもよい。ニット生地の他に、織ファブリック、不織ファブリック、編組ファブリック、および/または他の糸ベースのファブリックのアッパを形成することができ、それらファブリックは良好な履き心地を有する高品質のアッパを実現することを可能にする。たとえば、TPU糸は、そのようなアッパを形成することを可能にする。アッパのファブリック構成要素は、ショアD硬度44〜84、54〜74、または62〜66を与えられ得る。
靴のソールは、熱可塑性プラスチック基礎材料から成る発泡プラスチックを含み得る。発泡プラスチックによって、良好な緩衝特性を得ることができる。たとえば、TPU発泡プラスチックをこの目的に使用することができる。これら発泡プラスチックは、また、良好な耐久性も示す。
靴のソールは、熱可塑性プラスチック基礎材料から成る発泡ペレットを含み得る。たとえば、優れた緩衝特性および寿命をもたらす発泡TPUペレットを、これに関して使用することができる。たとえば、独国特許出願公開第10 2012 206 094号および欧州特許出願公開第2 649 896号に記載された材料を使用することができる。
ソールの熱可塑性プラスチック基礎材料は、たとえば射出TPUを使用して、射出成型することができる。したがって、ソールは単一の製作ステップで形成することができる。他の成形方法は、圧縮成形または蒸気成形でもよい。特に、靴のソールが熱可塑性プラスチック基礎材料から成る発泡ペレット、たとえば発泡TPUペレットを含むとき、蒸気プロセスを使用することができる。さらに、蒸気は、アウトソールの熱可塑性プラスチック基礎材料ならびにアッパの熱可塑性プラスチック基礎材料の表面を溶解し、それら表面を互いに接着するために使用することができる。
靴のソールは、熱可塑性プラスチック基礎材料を含むミッドソールを備え得る。独立したミッドソールによって、著しく最適化された緩衝特性をもたらすことができる。ミッドソールは、熱可塑性プラスチック基礎材料から成る発泡プラスチック、たとえば上記のTPU発泡プラスチックまたは発泡TPUペレットを含み得る。
靴のソールは、熱可塑性プラスチック基礎材料を含むアウトソールをさらに備え得る。アウトソールを追加して使用することによって、ソールは、良好なトラクションおよび耐摩耗性を得ることができる。ミッドソールおよび追加アウトソールは、このように、それら個々の目的に向けてそれぞれ最適化することができる。
ミッドソールは、ショアA硬度60〜100、70〜90、または78〜82を呈し得る。アウトソールは、ショアA硬度40〜80、50〜70、または58〜62を呈し得る。
アウトソールの熱可塑性プラスチック基礎材料は、たとえば射出TPUを使用して、射出成型することができる。したがって、アウトソールは単一の製作ステップで形成することができる。たとえば、その熱可塑性プラスチック基礎材料はミッドソール上に直接射出することができる。あるいは、別個に製作されたアウトソールを、たとえば基礎材料を含む接着剤、たとえばTPUをベースとする接着剤を用いて、または上記のように単純にエネルギー、たとえば熱を加えることによって、ミッドソールに結合することができる。
熱可塑性プラスチック基礎材料を含むソールの少なくとも一部分を、熱可塑性プラスチック基礎材料を含むアッパの少なくとも一部分とは異なるグレードの固有物理特性(たとえば硬度、密度)を呈するように適合させることができる。たとえば、アッパのある部分を、ソールのある部分より柔らかく、低密度に、および/または撓みやすくなるように適合させることができる。これは、たとえば、糸に紡がれたTPUをアッパに使用し、ならびに/または発泡TPUおよび/もしくは射出成型TPUをソールに使用することによって達成することができる。上記の部分の重量での大部分が、熱可塑性プラスチック基礎材料から製作することができると理解されたい。
ソールは、特にサッカシューズのソールの場合、1つまたは複数の層を備え得る。その層の1つまたは複数は同じ基礎材料から製作することができる。ただし、諸層が互いに異なってもよい。たとえば、層の1つまたは複数が、1つまたは複数の他の層とは異なる剛性および/または硬度を有してもよい。たとえば、外側の層を内側の層より柔らかくし、またはその逆にすることができる。様々な特性が、諸層の様々な幾何学的構造によって達成することができる。それによって、ソールの可撓性を個々に調節することができる。ソールの一部分およびアッパの一部分に関して前出の段落で説明した態様は、ソールの異なる2つの部分、たとえばソールの異なる2つの層に、同様に適用することができる。
それに加えてまたはその代わりに、ソールは、特にサッカシューズのソールの場合、1つまたは複数のプロフィール要素、たとえばスタッドを備え得る。1つまたは複数のプロフィール要素は、熱可塑性プラスチック基礎材料を含んでもよく、または熱可塑性プラスチック基礎材料から製作してもよい。
アッパは、異なるグレードの固有物理特性を呈する様々な領域を備え得る。たとえば2つ以上の領域を設けることができる。それら各領域は、熱可塑性プラスチック基礎材料を含み得、各領域の重量での大部分を熱可塑性プラスチック基礎材料から製作することができる。アッパを、一体にそれらを結合してアッパを形成する様々な要素、たとえばヒールカウンタ、バンプ、および/またはトウキャップを用いて製造することも可能である。個々の要素のそれぞれは、それぞれ特定の固有物理特性を呈することができる。
靴の、たとえばアッパおよび/またはソールの熱可塑性プラスチック基礎材料は、別の靴のソールおよび/またはアッパから再生処理された材料を含み得る。これによって、少なくとも部分的に閉じた材料サイクルを実現することができる。靴のアッパおよびソールに使用する基礎材料は、一緒に再生処理し、新たな靴の製作において完全に再使用することができる。したがって、「古い」基礎材料を処分するためのエネルギーおよび「新しい」基礎材料を製造するためのエネルギーを節減することができる。
一部の例では、アッパは、熱可塑性プラスチック基礎材料を含み、または熱可塑性プラスチック基礎材料から構成されるヒールカウンタおよび/または補強要素を備え得る。たとえば、側面および/または中間補強要素を設けることができる。ヒールカウンタおよび/または補強要素は、靴の再生処理性を損なうことなく、必要とされる安定性を靴にもたらすのに役立ち得る。
たとえば、アッパは、着用者の足の足前方部分、足中央部分、および/または足後方部分を包むことができ、アッパを1つまたは複数の前記部分で選択的に安定させるヒールカウンタおよび/または補強要素を設けることができる。たとえば、アッパは、熱可塑性プラスチック基礎材料を含む1つまたは複数のファブリック構成要素を備え得、熱可塑性プラスチック基礎材料を含むヒールカウンタおよび/または補強要素を、1つまたは複数のファブリック構成要素間および/または1つまたは複数のファブリック構成要素上に配置することができる。それに加えてまたはその代わりに、ファブリック構成要素に関して説明したのと同様に、ヒールカウンタおよび/または補強要素は、1つまたは複数の非ファブリック構成要素と組み合わせることもできる。ヒールカウンタおよび/または補強要素は、アッパ、特に1つまたは複数のファブリックおよび/または非ファブリック構成要素に恒久的に結合することができる。ヒールカウンタおよび/または補強要素は、アッパの外面、特に1つまたは複数のファブリックおよび/または非ファブリック構成要素の外面に設けることができる。ヒールカウンタおよび/または補強要素は、たとえば本明細書に記載のように、アッパ、またはアッパの1つまたは複数のファブリックもしくは非ファブリック構成要素に縫合、接着(たとえば熱溶解TPUを介して)、または他の方法で結合もしくは取り付けることができる。1つまたは複数のヒールカウンタおよび/または補強要素は、また、ソールに取り付け、ソールからアッパへ延在させることもできる。1つまたは複数のヒールカウンタおよび/または補強要素は、たとえば熱可塑性プラスチック基礎材料として本明細書に記載された任意のTPU材料を使用して設けることができる。1つまたは複数のヒールカウンタおよび/または補強要素は、併せて製作することができる。
1つまたは複数の補強要素は、たとえば、アッパの側面および/または中間ミッドフット領域ならびに側面および/または中間ヒール領域に延在し、それによって、そこで、アッパの安定性を選択的に強化する。一部の例では、1つまたは複数の補強要素は、側面および/または中間ヒール領域から側面および/または中間ミッドフット領域まで延在する。それに加えてまたはその代わりに、1つまたは複数の補強要素は、原理的に、アッパ上のどこにでも、たとえばアッパのトウ領域および/またはインステップ領域に取り付けることができる。このように、靴の合い具合および靴の特性(たとえば剛性、グリップ力、耐摩耗性)を個々に調節することができる。
1つまたは複数のヒールカウンタは、たとえば、ヒール領域、側面リアフット領域、中間リアフット領域、中間ミッドフット領域、および/または側面ミッドフット領域に延在させることができる。たとえば、第1のヒールカウンタを、後方ヒール領域から側面ヒール領域および/または側面ミッドフット領域まで延在させることができる。第2のヒールカウンタは、後方ヒール領域から中間ヒール領域および/または中間ミッドフット領域まで延在させることができる。
靴として、アッパおよび/もしくはソール、または靴のあらゆる構成要素、すなわち1つまたは複数の補強要素および/もしくはヒールカウンタは、重量で、50%を超え、75%を超え、または95%を超える基礎材料を含み得る。他の例では、1つまたは複数の補強要素および/またはヒールカウンタは、靴の他のあらゆる構成要素も全く同じく、実質的に基礎材料から構成される。
一部の例では、熱可塑性プラスチック基礎材料を含むレースを設けることができる。たとえば、レースは、本明細書に記載される熱可塑性プラスチック基礎材料から成る糸を含み得る。一部の例では、レースは、熱可塑性プラスチック基礎材料(から成る糸)から構成することができる。レースは、恒久的にまたは取外し可能に靴に結合することができる。熱可塑性プラスチック基礎材料を含むレースを使用することによって、それらレースは靴と一緒に再生処理することができ、再生処理に先立ってレースを靴から取り除き、レースを別途処分する必要はない。
本発明の別の態様は、靴、特にスポーツシューズを製造する方法に関する。その方法は、熱可塑性プラスチック基礎材料を用意するステップと、アッパを製作するステップであって、アッパの重量での大部分が熱可塑性プラスチック基礎材料から製作される、ステップとを含む。さらに、方法は、ソールを製作するステップであって、ソールの重量での大部分が前記と同じ熱可塑性プラスチック基礎材料から製作される、ステップを含む。ソールとアッパとが個々に製作される。方法はさらに、ソールとアッパを相互に結合するステップを含む。熱可塑性プラスチック基礎材料は、TPU、PA、PET、および/またはPBTのうちの1つから選択することができる。ただし、上記のとおり、他の材料も使用することができる。
この方法は、ソールとアッパに同じ材料を使用する本明細書に記載の靴を製造することを可能にする。この方法は、したがって、上記のように、少なくとも部分的に閉じた材料サイクルによって靴を製造することを可能にする。
基礎材料を用意するステップは、別の靴のソールおよび/またはアッパを再生処理するステップを含み得る。その別の靴は、本明細書に記載の例による靴でもよく、その靴のアッパおよびソールに使用されている基礎材料が再使用される。
本発明のさらに別の態様は、靴、特にスポーツシューズから基礎材料を再生する方法に関する。その方法は以下のステップを含む。本明細書に記載の靴を用意する。熱可塑性プラスチック基礎材料をその靴から再生し、次いで、その熱可塑性プラスチック基礎材料を別のスポーツ用製品、たとえば別のアッパおよび/またはソール製造用の基礎材料として役立てることができるように、その靴のアッパおよびソールを一緒に処理する。
本発明による方法は、プラットフォーム技術と見なすべきである。いかなるスポーツ用製品も理論的にこのプラットフォームから作り上げることができる。たとえば靴から再生された、熱可塑性プラスチック基礎材料を、他のあらゆるスポーツ用製品、たとえばボール、衣類、防具、ラケット、クラブなどを製造する基礎材料として役立てることが可能である。同様に、あらゆるスポーツ用製品、たとえばボール、衣類、防具、ラケット、クラブなどの熱可塑性プラスチック基礎材料を再生し、その材料を再使用することも可能である。
本発明の別の態様は、ビジネスモデルに関する。本明細書に記載の靴を顧客に売りに出すことができる。顧客がその靴を使用した後、たとえば靴の寿命が来たら、靴の製造業者はその靴を戻して貰うことができる。たとえば、小売店に返品場所を設けることができ、かつ/または、顧客は使用済みの靴を郵便で送り返すことができる。製造業者は、返却された靴のアッパおよびソールから基礎材料を再生し、その基礎材料を使用して再生基礎材料を含む新しい靴を製造することができる。再生基礎材料を、たとえば上記のように、スポーツシューズ以外のあらゆるスポーツ用品、たとえばボール、衣類、または他のスポーツ用具のために使用することも可能である。様々な例によれば、新しい靴に対する割引券および/または値引きを、顧客をその製造業者の靴に回帰させる動機付けとして利用することができる。また、リースモデルを使用することもでき、顧客は、リース料(たとえば月々)を支払い、使用済みの靴を返すと新しい靴を提供される。リースモデルにおいて新しい靴が顧客に提供される頻度は、靴のタイプに依存し得、かつ/またはリース料の関数であり得る。たとえば、ランニングシューズは、1または複数月に1度の頻度で交換され得、その頻度は支払うリース料が高くなるほど増加し得る。フットボールシューズは、たとえば、1年に1度(たとえば新しシーズン毎)の交換が適切であり得る。別の可能性は、あるタイプの靴の新しい型が発売されるたびに顧客が交換を行うことができる予約購買モデルを使用することである。
本発明によるさらに別のビジネスモデルは、顧客が、新しいスポーツ用品、たとえば本明細書に記載の靴を、直接、スポーツを行おうとする場所で買うことであり得る。たとえば、直接、顧客がスポーツを行いたい場所に、本発明による様々な種類の靴を保有し、売り出す自動販売機または店を設置することが可能であり得る。したがって、顧客が、たとえば公園を散歩中に、走りたいと急に思い立ったとき、顧客は、本発明による靴を自動販売機から得ることができる。顧客はその靴に保証金を払う必要があるようにすることが可能であり得る。ランニング後、顧客は、使用済みの靴を自動販売機、または返品場所に戻すことができる。顧客が保証金の一部を返して貰い、あるいは、顧客が同じ製造業者から別のスポーツ用品を値引きして売って貰うことを可能にすることができる。製造業者は、使用済みの靴を回収し、戻された靴のアッパおよびソールから基礎材料を再生し、それを使用して再生基礎材料を含む新しい靴を製造することができる。再生基礎材料を、たとえば既述のように、スポーツシューズ以外のあらゆるスポーツ用品、たとえばボール、衣類、または他のスポーツ用具のために使用することも可能である。本発明による靴は、特に靴全体が単一の材料から製作されているとき、使用済みの靴の再生処理を単純化することができる。
さらに別の態様によれば、マーカ、たとえば無線識別(RFID)タグまたはたとえば近赤外性(NIR)マーカなどの赤外線(IR)マーカを、新しい靴毎に、別の靴から再生した基礎材料を含むソールおよびアッパと共に組み込むことができる。マーカは、この靴の基礎材料が以前の靴に既に使用されている回数を示すことができる。したがって、顧客は、いくつの靴の寿命をその基礎材料が既に支えることができているかを直接知ることができる。さらに、マーカは、顧客のリース/予約購買レベルなどのさらに別の情報を示すこともできる。これは、製造業者での返却および交換処理の完全な自動化を可能にする。さらに、マーカは、靴がすり減りおよび/または新しい靴が入手可能なとき、顧客を転向させるのに使用することができる。さらに、1つまたは複数のIRマーカを靴の材料に組み入れて、複数の他の材料の中ならその材料を識別可能にすることができる。たとえば、IRマーカをアッパのあらゆる糸に組み入れることを可能にすることができる。また、それによって、靴に使用され得る同じ基礎材料の様々なグレードを容易に識別することができる。
本発明の様々な態様は、スポーツシューズ以外のスポーツ用品にも有効であり得ることに留意されたい。
本発明の可能な実施形態が、下記の図面を参照して、以下の詳細な記述でさらに説明される。
本発明による靴の実施形態の図である。 本発明による靴の別の実施形態の図である。
以下には、本発明の一部の可能な実施形態のみが詳細に説明され得ることに留意されたい。当業者は、これら特定の実施形態に関して説明される特定の細部を変更し、さらに発展させ、異なる態様で組み合わせることができ、また、以下に説明される特定の実施形態の一部の態様を省略することもできることを容易に理解する。さらに、以降の詳細な記述において説明される様々な態様を、上記の「発明の概要」において説明された態様と組み合わせることができることに留意されたい。
図1は、本発明の一例による靴100を示す。靴100は、様々な構成要素を有するソール110およびアッパ120を備える。
ソール110は、ミッドソール111およびアウトソール112を備える。ミッドソール111は、たとえば独国出願公開第10 2012 206 094号および/または欧州特許出願公開第2 649 896号に記載のように、緩衝作用をもたらす発泡TPUを含む。たとえば、発泡TPUは、ペレットの形で用意することができ、その後、蒸気を使用して所望の形状にプレス加工することができる。ミッドソール111は、ショアA硬度60〜100、70〜90、または78〜82で形成することができ、たとえば80AのTPU、たとえばElastollan(登録商標)1180A TPUを使用する。アウトソール112はミッドソール111上に射出成型することができる。アウトソール112は、ショアA硬度40〜80、50〜70、または58〜62のTPUを含み得、たとえば60AのTPU、たとえばElastollan(登録商標)1160A TPUを使用する。アウトソール112は、耐摩耗性およびトラクションが増強されたソールを実現するように適合させることができる。一部の例では、アウトソール112には、別々に製造されてアウトソール112に結合することができ、かつ/またはアウトソール112と一体に製造することができる1つまたは複数のプロフィール要素を設けることができる。
靴100は、任意選択のトーションバー113をさらに備える。トーションバー113は、ミッドソール111および/またはアウトソール112上に射出成型することができる。トーションバー113は、ショアA硬度75〜100、85〜98、または93〜97のTPUを含み得、たとえば95AのTPU、たとえばElastollan(登録商標)1195A TPUを使用する。トーションバー113は、ソール110の曲げおよび捩り剛性を増加させ、それによって特に土踏まずの敏感な領域での履き心地を向上させるように、適合させることができる。
靴100のアッパ120は任意選択のヒールカウンタ124を備える。ヒールカウンタ124は、ショアA硬度75〜100、85〜98、または93〜97のTPUを含み得、たとえば95AのTPU、たとえばElastollan(登録商標)1195A TPUを使用する。ヒールカウンタ124は、別個の製造ステップにおいて射出成型することができる。ヒールカウンタ124は、アッパ120の安定性を向上させるように働くことができる。
アッパ120は、ファブリック構成要素121と、任意選択的に補強要素122とを備え得、両方ともTPUファブリックを含み得る。ファブリック構成要素121はTPU糸を含む。ファブリック構成要素は、ニットファブリック、織ファブリック、不織ファブリック、および/または編組ファブリックでもよい。たとえば、平編みおよび/または3D編みを使用して、ファブリック構成要素121を形成することができる。たとえば、ファブリック構成要素121は緯編地および/または経編地でもよい。さらに、ファブリック構成要素121は、アッパ120の主要部分を占めてもよく、さらには靴100のアッパ120の全体にわたって占めてもよい。たとえば、ファブリック構成要素121は、アッパ120のフォアフット領域、側面および/もしくは中間領域、ならびに/またはヒール領域に配置することができる。通気孔が、ファブリック構成要素121に存在してもよい。ファブリック構成要素121は、ショアD硬度44〜84、54〜74、または62〜66で形成してもよく、たとえば64DのTPU、たとえばElastollan(登録商標)1164DTPUを使用し、かつ/またはショアA硬度75〜100、85〜98、または93〜97で形成してもよい。
補強要素122は、不織TPUファブリックを含み得る。補強要素122は、アッパ120の下側ヒール領域から靴の側面および/または中間領域を横切りアッパ120のインステップ領域および/またはアッパ120のタン/レース領域の周りに向かって延在するラインの形を構成するように配置することができる。補強要素122は、ファブリック要素121と同様なショアD硬度で形成することができ、たとえば64DのTPU、たとえばElastollan(登録商標)1164D TPUを使用する。ただし、補強要素122は、靴100のアッパ120を補強することができるように、ファブリック構成要素121より高い引張強度を有し得る。それに加えてまたはその代わりに、不織TPUファブリックを含むパディングおよび/またはインソールカバーを設けることができる。他の例では、アッパのより大きな部分が不織要素を含み得る。その一方で、一部の例では、不織要素を全く含まなくてもよい。
さらに、靴100のアッパ120は、薄膜材の1つまたは複数のパッチ、特にTPUフォイル123を備え得る。TPUフォイルは、たとえば、ショアA硬度75〜100、85〜98、もしくは93〜97および/またはショアD硬度40〜80、50〜70、もしくは58〜62で形成することができ、たとえば、95AのTPU、たとえばElastollan(登録商標)1195A TPUおよび/または60DのTPU、たとえばElastollan(登録商標)1160D TPUを使用する。TPUフォイル123は、アッパ120の縫い目の周りに配置することができる。TPUフォイル123は、アッパ120を補強するために配置することができる。要望に応じて、靴100のアッパ120の他の領域にも、薄膜材、特にTPUフォイル123を設けることができる。一部の例では、実質的にアッパ全体がTPUフォイルによって被覆される。
アッパ120のファブリック構成要素121、補強要素122、TPUフォイル123、およびヒールカウンタ124は、TPU糸を使用して相互に縫合してもよい。それに加えてまたはその代わりに、TPU接着剤、たとえば熱溶解型TPU接着剤を使用することができる。たとえば、ヒールカウンタ124は、熱溶解型TPU接着剤によってアッパ120に結合してもよい。接着剤は、たとえば、エーテル系および/またはエステル系熱溶解型TPUのいかなる熱溶解型TPUでもよい。さらに別の選択肢として、それに加えてまたはその代わりに赤外線(IR)溶接を使用してアッパ120の様々な要素を結合することができる。同様に、靴100のアッパ120は、上記と同様に、TPU接着剤150、縫合、および/または赤外線溶接によって、靴100のソール110に結合することができる。
様々な構成要素111〜113、150、121〜124を用いて、ソール110およびアッパ120を備える靴が形成され、アッパ120およびソール110の重量での大部分が、熱可塑性プラスチック基礎材料、すなわちTPUから製作さる。ソール110、アッパ120、および靴100全体が実質的に単一の熱可塑性プラスチック基礎材料、すなわちTPUから構成されることさえある。ソール110とアッパ120とは、個々に製作され、上記の適切な手段によって相互に結合される。ソール110およびアッパ120は、それによって、恒久的に結合することができる。同じ化学系の材料(たとえばTPU)を様々な物理的実装形態で使用することによって、ソールは、良好な耐摩耗性、耐久性、トラクション、および擦り減り方を実現することができる。同時に、アッパには、快適な履き心地を実現するように、安定性および柔軟性を与えることができる。
たとえばPA、PETおよび/またはPBTなど、他の熱可塑性材料も熱可塑性プラスチック基礎材料として使用することができることに留意されたい。さらに、材料混合物も、それらが適正な特性を呈しかつ一緒に再生処理することができる限りは、ソールおよびアッパの共通の基礎材料として使用することができる。
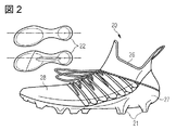
図2は、本発明による靴20の別の例を示す。靴20はインナソック26を備える。インナソック26は発泡TPUを含み得る。発泡TPUは、柔らかい感触および良好な履き心地をもたらすように適合させることができる。インナソック26は、スケルトン27内に配置することができ、靴20の着用者の足を完全に包み込むように適合されている。他の例では、インナソック26は、足を部分的にのみ包み込むように適合させることができ、たとえば爪先領域はインナソック26から出しておくことができる。インナソック26は、テキスタイル材を含み、またはそれから製作することが可能であり、そのテキスタイル材は熱可塑性プラスチック基礎材料から成る糸を含む。たとえば、テキスタイル材は、ニット、織ファブリック、不織ファブリック、および/または他の糸ベースのファブリックでもよい。
スケルトン27は、ヒールカウンタ、ソールプレート、ならびに靴20のインステップ領域周りの任意選択の一連のストラップを備え得る。スケルトン27のヒールカウンタおよびソールプレートは射出成型TPUを含み得る。射出成型TPUは、靴100の射出成型TPUに関して説明した硬度で成形することができる。スケルトン27のストラップは、靴100に関して説明したTPUフォイルおよび/またはTPUファブリックを含み得る。ストラップは、インナソック26をスケルトン27内に固定し、かつ/または靴20の安定性と強度を向上させるように働くことができる。
スケルトン27は、また、靴20が野外環境で使用されたときに地面に喰い込んでトラクションを増進するように適合されたスタッドなど、任意選択のプロフィール要素21を備え得る。それに加えてまたはその代わりに、プロフィール要素21は、以下にさらに説明されるように、ソック要素28によって設けることができる。
ソック要素28は、スケルトン27の周りに配置することができる。ソック要素28は、靴20を耐水性または防水性にするために設けることができる。さらに、スポーツ用のボール、たとえばフットボール用のボールに密着するための所望の摩擦特性をソック要素28を用いて実現することができる。ソック要素28は、インナソック26全体および/またはスケルトン27全体を実質的に包み込むように適合させることができる。ソック要素28は、靴20の着用者によるスケルトン27周りへのソック要素28の装着を容易にするループまたは同様な要素をソック要素の上方後方部分に備え得る。一部の例では、ソック要素28は、着用者の足は包むが着用者の踝は包まないように適合させることができる。あるいは、ソック要素28は、靴20のフォアフット領域のみを包み、靴20のヒール部分は包まなくすることもできる。ソック要素28は、たとえば上記で靴100に関して説明したような、TPUフォイルを含み得る。TPUフォイルは、たとえば、耐水性、良い手触り、確かなトラクション特性、補強、および/または視覚(デザイン)効果を靴に与えることができる。
ソック要素28は、スケルトン27によって形成されるプロフィール要素21を包むように配置することができる。そのようなプロフィール要素21は、ソック要素28によって完全に蔽われ得、かつ/または、ソック要素28が、プロフィール要素21の一部または全てがソック要素28を貫通して延出することができるように、開口を備え得る。それに加えてまたはその代わりに、プロフィール要素21をソック要素28上に形成することもできる。それらプロフィール要素は、たとえば、ソック要素28上に射出成型することができる。靴100に関して上記で説明した射出TPUをその場合にも使用することができる。
靴20は、スケルトン27またはインナソック26内に配置することができる任意選択のインソールボード22を備え得る。例示的インソールボード22の上視および下視図が図2の挿入図に示されている。インソールボードは、靴100に関する射出成型TPUに対して説明した射出成型TPUを含み得る。インソールボード22の形状は、着用者の足の形に適合させることができる。さらに、インソールボード22は、土踏まずの下に補強要素を備え得、それにより、足のこの領域で必要とされる安定性をインソールボード22を用いて靴20に与える。
靴100に関して説明したのと同様に、その様々な構成要素によって、靴20は、ソールおよびアッパを備え、アッパおよびソールの重量での大部分は、同じ熱可塑性プラスチック基礎材料、すなわちTPUから製作される。例示的靴20は、実質的に一種類の同じ熱可塑性プラスチック基礎材料TPUから構成されることさえある。さらに、靴20のソールおよびアッパを構成し、全てがTPUを含み得る要素26、27、および28、ならびに22は、個々に製作され、上記の適切な手段によって相互に結合される。構成要素同士は恒久的に結合してもよい。あるいは、前記構成要素の一部または全てを取外し可能に結合してもよい。
特に、インナソック26、スケルトン27、ソック要素28および/またはインソールボードを恒久的に結合してもよい。
本発明の様々な態様は、スポーツシューズ以外のスポーツ用品、たとえばボール、衣類、他のスポーツ用具にも有効であり得ることに留意されたい。
以下で、本発明の理解を容易にするために、さらなる例について説明する。
1. 重量での大部分が熱可塑性プラスチック基礎材料から製作されるアッパ(120)と、
重量での大部分がと同じ熱可塑性プラスチック基礎材料から製作されるソール(110)とを備える靴、特にスポーツシューズであって、
ソール(110)とアッパ(120)とが、個々に製作され、相互に結合され、
熱可塑性プラスチック基礎材料が、熱可塑性ポリウレタンTPU、ポリアミドPA、ポリエチレンテレフタラートPET、またはポリブチレンテレフタラートPBTのうちの1つから選択される、靴。
2. 熱可塑性プラスチック基礎材料が、アッパ(120)およびソール(110)の合同再生処理プロセスで再生処理されるように適合され、その結果、熱可塑性プラスチック基礎材料を、さらに別のアッパおよび/またはソールを製造する基礎材料として役立てることができる、例1に記載の靴。
3. 熱可塑性プラスチック基礎材料が、PA6、PA66、PA11、PA1010、PA612、PA610、PA1012、PA410、PA12、またはポリエーテルブロックアミドPEBAのうちの1つから選択されるPAである、例1または2に記載の靴。
4. 熱可塑性プラスチック基礎材料が、発泡TPU、ポリエステル系TPU、またはポリエーテル系TPUのうちの1つから選択される、例1または2に記載の靴。
5. アッパ(120)が、熱可塑性プラスチック基礎材料から成る糸を含む、例1から4のいずれか一項に記載の靴。
6. アッパが、熱可塑性プラスチック基礎材料から成る糸を含むテキスタイル材を含む、例1から5のいずれか一項に記載の靴。
7. テキスタイル材が、ニット材、織材、不織材、または編組材である、例6に記載の靴。
8. テキスタイル材が経編地または緯編地である、例6または7に記載の靴。
9. ソール(110)が、熱可塑性プラスチック基礎材料から成る発泡プラスチックを含む、例1から8のいずれか一項に記載の靴。
10. ソール(110)が、熱可塑性プラスチック基礎材料から成る発泡ペレットを含む、例1から9のいずれか一項に記載の靴。
11. ソール(110)が、熱可塑性プラスチック基礎材料を含むミッドソール(111)を備える、例1から10のいずれか一項に記載の靴。
12. ソール(110)が、熱可塑性プラスチック基礎材料を含むアウトソール(112)をさらに備える、例11に記載の靴。
13. アウトソール(112)の熱可塑性プラスチック基礎材料が射出成型される、例12に記載の靴。
14. 熱可塑性プラスチック基礎材料を含むソール(110)の少なくとも一部分(111、112、113)が、熱可塑性プラスチック基礎材料を含むアッパ(120)の少なくとも一部分(121、122、123、124)とは異なるグレードの固有物理特性を呈するように適合されている、例1から13のいずれか一項に記載の靴。
15. アッパが、様々な領域を備え、様々な領域が異なるグレードの固有物理特性を呈する、例1から14のいずれか一項に記載の靴。
16. アッパが、ヒールカウンタおよび/または補強要素を備える、例1から15のいずれか一項に記載の靴。
17. 熱可塑性プラスチック基礎材料が、別の靴のソールおよび/またはアッパから再生処理された材料を含む、例1から16のいずれか一項に記載の靴。
18. 熱可塑性プラスチック基礎材料を用意するステップと、
アッパを製作するステップであって、アッパの重量での大部分が熱可塑性プラスチック基礎材料から製作される、ステップと、
ソールを製作するステップであって、ソールの重量での大部分がと同じ熱可塑性プラスチック基礎材料から製作される、ステップと
を含む靴、特にスポーツシューズを製造する方法であって、
ソールとアッパとが個々に製作され、
方法がさらに、
ソールとアッパを相互に結合するステップ
を含み、
熱可塑性プラスチック基礎材料が、熱可塑性ポリウレタンTPU、ポリアミドPA、ポリエチレンテレフタラートPET、またはポリブチレンテレフタラートPBTのうちの1つから選択される、方法。
19. 基礎材料を用意するステップが、別の靴のソールおよび/またはアッパを再生処理するステップを含む、例18に記載の方法。
20. 他の靴が、例1から17のいずれか一項による靴である、例19に記載の方法。
21. 靴、特にスポーツシューズから基礎材料を再生する方法であって、
例1から17のいずれか一項に記載の靴を用意するステップと、
靴のアッパおよびソールを一緒に処理するステップであって、それによって、熱可塑性プラスチック基礎材料が、靴から再生され、スポーツ用製品、特にソールおよび/またはアッパの製造用の基礎材料として役立ち得る、ステップと
を含む方法。
これまでに図面に示したまたは記載した構成要素の異なる配置、ならびに図示または記載していない構成要素およびステップも可能である。同様に、いくつかの特徴および部分的組み合わせが有用であり、他の特徴および部分的組み合わせに関係なく使用することができる。本発明の実施形態を、例示的かつ非限定的な目的のために記載してきたが、本特許の読者には代替的実施形態が明らかになるであろう。したがって、本発明は、これまでに記載したまたは図面に示した実施形態に限定されず、以下の特許請求の範囲の範囲から逸脱することなく、様々な実施形態および修正形態を作成することが可能である。
20 靴
21 プロフィール要素
22 インソールボード
26 インナソック
27 スケルトン
28 ソック要素
100 靴
110 ソール
111 ミッドソール
112 アウトソール
113 トーションバー
120 アッパ
121 ファブリック構成要素
122 補強要素
123 TPUフォイル
124 ヒールカウンタ
150 TPU接着剤

Claims (21)

  1. 重量での大部分が熱可塑性プラスチック基礎材料から製作されるアッパと、
    重量での大部分が前記と同じ熱可塑性プラスチック基礎材料から製作されるソールと
    を備える靴であって、
    前記ソールと前記アッパとが、個々に製作され、相互に結合され、
    前記熱可塑性プラスチック基礎材料が、熱可塑性ポリウレタンTPU、ポリアミドPA、ポリエチレンテレフタラートPET、またはポリブチレンテレフタラートPBTのうちの1つから選択される、靴。
  2. 前記熱可塑性プラスチック基礎材料が、前記アッパおよび前記ソールの合同再生処理プロセスで再生処理されるように適合され、その結果、前記熱可塑性プラスチック基礎材料を、さらに別のアッパおよび/またはソールを製造する基礎材料として役立てることができる、請求項1に記載の靴。
  3. 前記熱可塑性プラスチック基礎材料が、PA6、PA66、PA11、PA1010、PA612、PA610、PA1012、PA410、PA12、またはポリエーテルブロックアミドPEBAのうちの1つから選択されるPAである、請求項1または2に記載の靴。
  4. 前記熱可塑性プラスチック基礎材料が、発泡TPU、ポリエステル系TPU、またはポリエーテル系TPUのうちの1つから選択される、請求項1または2に記載の靴。
  5. 前記アッパが、前記熱可塑性プラスチック基礎材料から成る糸を含む、請求項1から4のいずれか一項に記載の靴。
  6. 前記アッパが、前記熱可塑性プラスチック基礎材料から成る糸を含むテキスタイル材を含む、請求項1から5のいずれか一項に記載の靴。
  7. 前記テキスタイル材が、ニット材、織材、不織材、または編組材である、請求項6に記載の靴。
  8. 前記テキスタイル材が経編地または緯編地である、請求項6または7に記載の靴。
  9. 前記ソールが、前記熱可塑性プラスチック基礎材料から成る発泡プラスチックを含む、請求項1から8のいずれか一項に記載の靴。
  10. 前記ソールが、前記熱可塑性プラスチック基礎材料から成る発泡ペレットを含む、請求項1から9のいずれか一項に記載の靴。
  11. 前記ソールが、前記熱可塑性プラスチック基礎材料を含むミッドソールを備える、請求項1から10のいずれか一項に記載の靴。
  12. 前記ソールが、前記熱可塑性プラスチック基礎材料を含むアウトソールをさらに備える、請求項11に記載の靴。
  13. 前記アウトソールの前記熱可塑性プラスチック基礎材料が射出成型される、請求項12に記載の靴。
  14. 前記熱可塑性プラスチック基礎材料を含む前記ソールの少なくとも一部分が、前記熱可塑性プラスチック基礎材料を含む前記アッパの少なくとも一部分とは異なるグレードの固有物理特性を呈するように適合されている、請求項1から13のいずれか一項に記載の靴。
  15. 前記アッパが、様々な領域を備え、前記様々な領域が異なるグレードの固有物理特性を呈する、請求項1から14のいずれか一項に記載の靴。
  16. 前記アッパが、ヒールカウンタおよび/または補強要素を備える、請求項1から15のいずれか一項に記載の靴。
  17. 前記熱可塑性プラスチック基礎材料が、別の靴のソールおよび/またはアッパから再生処理された材料を含む、請求項1から16のいずれか一項に記載の靴。
  18. 熱可塑性プラスチック基礎材料を用意するステップと、
    アッパを製作するステップであって、前記アッパの重量での大部分が前記熱可塑性プラスチック基礎材料から製作される、ステップと、
    ソールを製作するステップであって、前記ソールの重量での大部分が前記と同じ熱可塑性プラスチック基礎材料から製作される、ステップと
    を含む靴、特にスポーツシューズを製造する方法であって、
    前記ソールと前記アッパとが個々に製作され、
    方法がさらに、
    前記ソールと前記アッパを相互に結合するステップ
    を含み、
    前記熱可塑性プラスチック基礎材料が、熱可塑性ポリウレタンTPU、ポリアミドPA、ポリエチレンテレフタラートPET、またはポリブチレンテレフタラートPBTのうちの1つから選択される、方法。
  19. 前記基礎材料を用意する前記ステップが、別の靴のソールおよび/またはアッパを再生処理するステップを含む、請求項18に記載の方法。
  20. 前記他の靴が、請求項1から17のいずれか一項による靴である、請求項19に記載の方法。
  21. 靴、特にスポーツシューズから基礎材料を再生する方法であって、
    請求項1から17のいずれか一項に記載の靴を用意するステップと、
    前記靴の前記アッパおよび前記ソールを一緒に処理するステップであって、それによって、前記熱可塑性プラスチック基礎材料が、前記靴から再生され、スポーツ用製品、特にソールおよび/またはアッパの製造用の基礎材料として役立ち得る、ステップと
    を含む方法。
JP2016084549A 2016-04-20 2016-04-20 スポーツシューズ Active JP7002829B2 (ja)

Priority Applications (1)

Application Number Priority Date Filing Date Title
JP2016084549A JP7002829B2 (ja) 2016-04-20 2016-04-20 スポーツシューズ

Applications Claiming Priority (1)

Application Number Priority Date Filing Date Title
JP2016084549A JP7002829B2 (ja) 2016-04-20 2016-04-20 スポーツシューズ

Publications (2)

Publication Number Publication Date
JP2017192559A true JP2017192559A (ja) 2017-10-26
JP7002829B2 JP7002829B2 (ja) 2022-01-20

Family

ID=60155786

Family Applications (1)

Application Number Title Priority Date Filing Date
JP2016084549A Active JP7002829B2 (ja) 2016-04-20 2016-04-20 スポーツシューズ

Country Status (1)

Country Link
JP (1) JP7002829B2 (ja)

Cited By (2)

* Cited by examiner, † Cited by third party
Publication number Priority date Publication date Assignee Title
WO2020048989A1 (en) * 2018-09-03 2020-03-12 Dsm Ip Assets B.V. A shoe comprising a sole of a thermoplastic material and a method for use in manufacturing such a shoe
CN114908453A (zh) * 2022-04-20 2022-08-16 李宁(中国)体育用品有限公司 轻质透气鞋面面料及轻质高弹纤维纺丝工艺

Citations (9)

* Cited by examiner, † Cited by third party
Publication number Priority date Publication date Assignee Title
JPH08323890A (ja) * 1995-03-31 1996-12-10 Toray Ind Inc 被服用芯材およびその製造方法
JPH09150467A (ja) * 1995-11-30 1997-06-10 Okamoto Ind Inc 靴及びその製造方法
JP2002272506A (ja) * 2001-03-16 2002-09-24 Asics Corp スパイクシューズのソール
JP2003145610A (ja) * 2001-11-12 2003-05-20 Kanegafuchi Chem Ind Co Ltd ポリアミド系樹脂の押出成形方法
JP2007504295A (ja) * 2003-08-29 2007-03-01 ナイキ,インコーポレイテッド 熱可塑性ポリウレタンとヒドロキシル官能性重合体とのブレンド物におけるゲル抑制
JP2012062615A (ja) * 2009-02-06 2012-03-29 Nike Internatl Ltd 複合要素
JP2012512698A (ja) * 2008-12-18 2012-06-07 ナイキ インターナショナル リミテッド ニット構成要素を組み込んだアッパーを有する履物製品
JP2014210179A (ja) * 2013-04-19 2014-11-13 アディダス アーゲー アッパー
JP2016078622A (ja) * 2014-10-16 2016-05-16 マツダ株式会社 自動車の発動発電機搭載構造

Patent Citations (9)

* Cited by examiner, † Cited by third party
Publication number Priority date Publication date Assignee Title
JPH08323890A (ja) * 1995-03-31 1996-12-10 Toray Ind Inc 被服用芯材およびその製造方法
JPH09150467A (ja) * 1995-11-30 1997-06-10 Okamoto Ind Inc 靴及びその製造方法
JP2002272506A (ja) * 2001-03-16 2002-09-24 Asics Corp スパイクシューズのソール
JP2003145610A (ja) * 2001-11-12 2003-05-20 Kanegafuchi Chem Ind Co Ltd ポリアミド系樹脂の押出成形方法
JP2007504295A (ja) * 2003-08-29 2007-03-01 ナイキ,インコーポレイテッド 熱可塑性ポリウレタンとヒドロキシル官能性重合体とのブレンド物におけるゲル抑制
JP2012512698A (ja) * 2008-12-18 2012-06-07 ナイキ インターナショナル リミテッド ニット構成要素を組み込んだアッパーを有する履物製品
JP2012062615A (ja) * 2009-02-06 2012-03-29 Nike Internatl Ltd 複合要素
JP2014210179A (ja) * 2013-04-19 2014-11-13 アディダス アーゲー アッパー
JP2016078622A (ja) * 2014-10-16 2016-05-16 マツダ株式会社 自動車の発動発電機搭載構造

Cited By (4)

* Cited by examiner, † Cited by third party
Publication number Priority date Publication date Assignee Title
WO2020048989A1 (en) * 2018-09-03 2020-03-12 Dsm Ip Assets B.V. A shoe comprising a sole of a thermoplastic material and a method for use in manufacturing such a shoe
CN112638192A (zh) * 2018-09-03 2021-04-09 帝斯曼知识产权资产管理有限公司 包含热塑性材料的鞋底的鞋和用于制造这种鞋的方法
CN114908453A (zh) * 2022-04-20 2022-08-16 李宁(中国)体育用品有限公司 轻质透气鞋面面料及轻质高弹纤维纺丝工艺
CN114908453B (zh) * 2022-04-20 2024-09-17 李宁(中国)体育用品有限公司 轻质透气鞋面面料及轻质高弹纤维纺丝工艺

Also Published As

Publication number Publication date
JP7002829B2 (ja) 2022-01-20

Similar Documents

Publication Publication Date Title
US20250160469A1 (en) Sports Shoes and Methods for Manufacturing and Recycling of Sports Shoes
US12491411B2 (en) One material ball
EP4103007B1 (en) Article of footwear and method of manufacture
US20030069807A1 (en) Customized article of footwear and method of conducting retail and internet business
JP2016198496A (ja) スポーツシューズ用のソール
US11707887B1 (en) Article of footwear having a plate
JP7002829B2 (ja) スポーツシューズ
US20260001271A1 (en) Article of footwear having a plate
HK1222820A1 (zh) 具有带聚合物层的针织鞋面的鞋类物品
HK1222820B (en) Article of footwear having a knit upper with a polymer layer

Legal Events

Date Code Title Description
A621 Written request for application examination

Free format text: JAPANESE INTERMEDIATE CODE: A621

Effective date: 20170418

A131 Notification of reasons for refusal

Free format text: JAPANESE INTERMEDIATE CODE: A131

Effective date: 20180508

A521 Request for written amendment filed

Free format text: JAPANESE INTERMEDIATE CODE: A523

Effective date: 20180807

A02 Decision of refusal

Free format text: JAPANESE INTERMEDIATE CODE: A02

Effective date: 20190122

A521 Request for written amendment filed

Free format text: JAPANESE INTERMEDIATE CODE: A523

Effective date: 20190522

C60 Trial request (containing other claim documents, opposition documents)

Free format text: JAPANESE INTERMEDIATE CODE: C60

Effective date: 20190522

A911 Transfer to examiner for re-examination before appeal (zenchi)

Free format text: JAPANESE INTERMEDIATE CODE: A911

Effective date: 20190606

C21 Notice of transfer of a case for reconsideration by examiners before appeal proceedings

Free format text: JAPANESE INTERMEDIATE CODE: C21

Effective date: 20190611

A912 Re-examination (zenchi) completed and case transferred to appeal board

Free format text: JAPANESE INTERMEDIATE CODE: A912

Effective date: 20190712

C211 Notice of termination of reconsideration by examiners before appeal proceedings

Free format text: JAPANESE INTERMEDIATE CODE: C211

Effective date: 20190723

C22 Notice of designation (change) of administrative judge

Free format text: JAPANESE INTERMEDIATE CODE: C22

Effective date: 20191224

C22 Notice of designation (change) of administrative judge

Free format text: JAPANESE INTERMEDIATE CODE: C22

Effective date: 20200519

C22 Notice of designation (change) of administrative judge

Free format text: JAPANESE INTERMEDIATE CODE: C22

Effective date: 20200609

C30 Protocol of an oral hearing

Free format text: JAPANESE INTERMEDIATE CODE: C30

Effective date: 20200619

C13 Notice of reasons for refusal

Free format text: JAPANESE INTERMEDIATE CODE: C13

Effective date: 20200721

A601 Written request for extension of time

Free format text: JAPANESE INTERMEDIATE CODE: A601

Effective date: 20201021

A601 Written request for extension of time

Free format text: JAPANESE INTERMEDIATE CODE: A601

Effective date: 20201217

A521 Request for written amendment filed

Free format text: JAPANESE INTERMEDIATE CODE: A523

Effective date: 20210121

C22 Notice of designation (change) of administrative judge

Free format text: JAPANESE INTERMEDIATE CODE: C22

Effective date: 20210216

C13 Notice of reasons for refusal

Free format text: JAPANESE INTERMEDIATE CODE: C13

Effective date: 20210601

A521 Request for written amendment filed

Free format text: JAPANESE INTERMEDIATE CODE: A523

Effective date: 20210818

C23 Notice of termination of proceedings

Free format text: JAPANESE INTERMEDIATE CODE: C23

Effective date: 20211116

C03 Trial/appeal decision taken

Free format text: JAPANESE INTERMEDIATE CODE: C03

Effective date: 20211214

C30A Notification sent

Free format text: JAPANESE INTERMEDIATE CODE: C3012

Effective date: 20211214

A61 First payment of annual fees (during grant procedure)

Free format text: JAPANESE INTERMEDIATE CODE: A61

Effective date: 20211228

R150 Certificate of patent or registration of utility model

Ref document number: 7002829

Country of ref document: JP

Free format text: JAPANESE INTERMEDIATE CODE: R150

R250 Receipt of annual fees

Free format text: JAPANESE INTERMEDIATE CODE: R250