JP2017190887A - 加熱調理器 - Google Patents
加熱調理器 Download PDFInfo
- Publication number
- JP2017190887A JP2017190887A JP2016079276A JP2016079276A JP2017190887A JP 2017190887 A JP2017190887 A JP 2017190887A JP 2016079276 A JP2016079276 A JP 2016079276A JP 2016079276 A JP2016079276 A JP 2016079276A JP 2017190887 A JP2017190887 A JP 2017190887A
- Authority
- JP
- Japan
- Prior art keywords
- heating
- heater
- air
- heating chamber
- chamber
- Prior art date
- Legal status (The legal status is an assumption and is not a legal conclusion. Google has not performed a legal analysis and makes no representation as to the accuracy of the status listed.)
- Pending
Links
Images
Landscapes
- Baking, Grill, Roasting (AREA)
Abstract
【課題】加熱ヒータの配置を最適化することで、加熱ヒータの熱量を確保するとともに耐久性を向上する。
【解決手段】加熱調理器は、被調理物が配置される調理室と、調理室と区画されている加熱室25と、吸込口21から調理室内の空気を加熱室25内に吸引し、吹出口22から加熱室25内の空気を調理室内に供給する循環ファン40と、循環ファン40によって供給する空気を加熱するコンベクションヒータ35A,35Bとを備えている。コンベクションヒータ35A,35Bは、吸込口21と吹出口22の間に位置するように加熱室25に配置されており、加熱室25を正対視すると、水平方向に対して傾斜されるとともに垂直方向に対しても傾斜されている。
【選択図】図6
【解決手段】加熱調理器は、被調理物が配置される調理室と、調理室と区画されている加熱室25と、吸込口21から調理室内の空気を加熱室25内に吸引し、吹出口22から加熱室25内の空気を調理室内に供給する循環ファン40と、循環ファン40によって供給する空気を加熱するコンベクションヒータ35A,35Bとを備えている。コンベクションヒータ35A,35Bは、吸込口21と吹出口22の間に位置するように加熱室25に配置されており、加熱室25を正対視すると、水平方向に対して傾斜されるとともに垂直方向に対しても傾斜されている。
【選択図】図6
Description
本発明は、加熱調理器に関する。
外装体の内部が調理室と加熱室に区画され、循環ファンによって調理室内の空気を加熱室内に吸引し、加熱ヒータによって加熱した空気(熱風)を加熱室から調理室に循環させることで、調理室内の被調理物を調理する加熱調理器が知られている。特許文献1の加熱調理器では、調理室と加熱室とを区画する隔壁の中央に吸込口が設けられ、隔壁の上下端近傍に吹出口が設けられている。循環ファンは、吸込口と対向するように配置されている。加熱ヒータは、吹出口に沿って平行に延びるように、循環ファンと吹出口の間に配置されている。
しかしながら、特許文献1の加熱調理器では、加熱ヒータの配置に関する最適化について、何ら考慮されていない。即ち、加熱室の縦横比が異なり、吹出口を長辺側に形成する場合は、全長が長い加熱ヒータを使用することになり、吹出口を短辺側に形成する場合は、全長が短い加熱ヒータを使用することになる。しかし、両者とも目標とする熱量(出力)、及び耐久性(寿命)が十分でない可能性がある。これは、加熱室の縦横比が同じ場合であっても同様である。
本発明は、加熱ヒータの配置を最適化することで、加熱ヒータの熱量を確保するとともに耐久性を向上することを課題とする。
本発明は、被調理物が配置される調理室と、前記調理室と隔壁によって区画されている加熱室と、前記調理室と前記加熱室とを連通させる吸込口及び吹出口と、前記吸込口から前記調理室内の空気を前記加熱室内に吸引し、前記吹出口から前記加熱室内の空気を前記調理室内に供給する循環ファンと、前記循環ファンによって供給する空気を加熱する加熱ヒータとを備え、前記加熱ヒータは、前記吸込口と前記吹出口の間に位置するように前記加熱室に配置されており、前記加熱室を正対視すると、水平方向に対して傾斜されるとともに垂直方向に対しても傾斜されている、加熱調理器を提供する。
この加熱調理器によれば、水平方向及び垂直方向に対して傾斜するように加熱ヒータが加熱室に配置されているため、加熱ヒータを水平方向又は垂直方向に延びるように配置する場合と比較して、全長が長い加熱ヒータを使用することができる。よって、加熱室内の空気を加熱可能な加熱ヒータの加熱領域が長くなるため、効率的に空気を加熱することができる。また、従来よりも全長が長く耐久性が同じ加熱ヒータを用いた場合、熱量を高くすることができるため調理時の加熱効率を向上できる。一方、従来よりも全長が長く熱量が同じ加熱ヒータを用いた場合、耐久性が向上するため使用可能な期間を長くすることができる。
前記加熱室は、垂直方向の高さと水平方向の幅とは寸法が異なっており、前記高さ及び前記幅のうち寸法が短い方に隣接するように前記吹出口が設けられていてもよい。また、前記吹出口は、前記加熱室の幅方向の端部に高さ方向に延びるように設けられていてもよい。この態様によれば、高さ及び幅のうち寸法が長い方にできたスペースを利用できるため、加熱ヒータの水平方向及び垂直方向に対する傾斜を十分にとることができる。よって、短辺に沿って加熱ヒータを配置する場合と比較して、加熱調理に適した熱量を確保できるとともに、加熱ヒータの耐久性を確実に向上できる。
前記吹出口は、前記加熱室の対向位置に一対設けられていてもよい。この場合、前記吸込口は、前記一対の吹出口の中間位置の1箇所だけに設けられていてもよい。この態様によれば、調理室から加熱室に吸い込んだ空気を効率的に加熱し、加熱室から調理室へ偏りなく加熱した空気(熱風)を供給できる。
本発明の加熱調理器では、水平方向及び垂直方向に対して傾斜するように加熱ヒータが配置されているため、全長が長い加熱ヒータを使用することができる。よって、加熱ヒータの熱量を確保できるとともに、加熱ヒータの耐久性を向上できる。
以下、本発明の実施の形態を図面に従って説明する。
(第1実施形態)
図1から図3は、本発明の第1実施形態に係る加熱調理器10を示す。この加熱調理器10は、グリル調理とコンベクション調理を実行可能な製パン器である。外装体12の内部には、調理室15と加熱室25とが設けられている。ベーカリー処理は、パン材料を収容するパンケース1を調理室15内に配置して行われる。グリル調理とコンベクション調理は、被調理物を載せる載置部材である焼き網2と、被調理物の焼き屑等を受ける屑受け皿3とを調理室15内に配置して行われる。なお、グリル調理には、パンを焼くトースターが含まれている。
図1から図3は、本発明の第1実施形態に係る加熱調理器10を示す。この加熱調理器10は、グリル調理とコンベクション調理を実行可能な製パン器である。外装体12の内部には、調理室15と加熱室25とが設けられている。ベーカリー処理は、パン材料を収容するパンケース1を調理室15内に配置して行われる。グリル調理とコンベクション調理は、被調理物を載せる載置部材である焼き網2と、被調理物の焼き屑等を受ける屑受け皿3とを調理室15内に配置して行われる。なお、グリル調理には、パンを焼くトースターが含まれている。
(加熱調理器の全体構成)
図1から図3を参照すると、調理室15は、底壁16、一対の側壁17,17、天壁18、及び後壁19によって囲まれ、正面側を開口部20とした空間である。開口部20は、上下以外の正面で横向きに開口しており、外装体12に配置されている開閉可能な蓋体13によって閉塞されている。図2に最も明瞭に示すように、調理室15と加熱室25とは、隔壁である後壁19によって区画されている。図4を併せて参照すると、加熱室25は、一端開口のヒータケース26を後壁19の背面側に配置することで、このヒータケース26の内部に形成されている。後壁19には、調理室15と加熱室25とを連通させる吸込口21と吹出口22とが設けられている。吸込口21は、多数のパンチ孔からなり、加熱室25の中央領域に位置するように1箇所だけ設けられている。吹出口22は、垂直方向に延びるスリットからなり、加熱室25の両端部に対向するように一対設けられている。
図1から図3を参照すると、調理室15は、底壁16、一対の側壁17,17、天壁18、及び後壁19によって囲まれ、正面側を開口部20とした空間である。開口部20は、上下以外の正面で横向きに開口しており、外装体12に配置されている開閉可能な蓋体13によって閉塞されている。図2に最も明瞭に示すように、調理室15と加熱室25とは、隔壁である後壁19によって区画されている。図4を併せて参照すると、加熱室25は、一端開口のヒータケース26を後壁19の背面側に配置することで、このヒータケース26の内部に形成されている。後壁19には、調理室15と加熱室25とを連通させる吸込口21と吹出口22とが設けられている。吸込口21は、多数のパンチ孔からなり、加熱室25の中央領域に位置するように1箇所だけ設けられている。吹出口22は、垂直方向に延びるスリットからなり、加熱室25の両端部に対向するように一対設けられている。
調理室15には、下側の左右と上側の左右に、第1加熱ヒータであるグリルヒータ33A〜33Dが配置されている。加熱室25には、吸込口21と吹出口22の間に位置するように、第2加熱ヒータであるコンベクションヒータ35A,35Bが配置されている。これらヒータ33A〜33D,35A,35Bとしては、絶縁材料で構成された直管状の外郭内に発熱体を配置したガラス管ヒータを用いることができる。また、加熱室25には、一対のコンベクションヒータ35A,35Bの間に循環ファン40が配置されている。この循環ファン40は、吸込口21と対向するように配置されており、ヒータケース26の外方に配置したファンモータ41によって回転される。ファンモータ41の出力軸には、循環ファン40の他に、ファンモータ41を冷却するための冷却ファン42が連結されている。
調理室15の側壁17には、焼き網2を装着するための網装着部45が設けられている。また、調理室15の底壁16には、有底筒状の容器であるパンケース1を装着するためのケース装着部48が設けられている。ケース装着部48の内部には、パンケース1内の混練羽根(図示せず)に連結するための連結部材49が回転可能に配置されている。また、調理室15及び加熱室25の外部には、駆動モータ50、小径の第1プーリ51、及び大径の第2プーリ52が配置されている。第1プーリ51と第2プーリ52には、無端状のベルト53が掛け渡されている。また、連結部材49と第2プーリ52とは、回転軸54に対して相対的に回転不可能に固定されることで、一体的に回転可能である。
図2に示すように、調理室15にパンケース1を配置してベーカリー処理を実行すると、調理室15内の下側グリルヒータ33A,33B、及び駆動モータ50が動作され、予熱、混練、発酵、及び焼成の各工程を経てパンが製パンされる。図3に示すように、調理室15に焼き網2を配置してグリル調理を実行すると、調理室15内全てのグリルヒータ33A〜33Dが動作され、グリルヒータ33A〜33Dによって調理室15内を加熱することで、輻射熱で被調理物が加熱調理される。焼き網2にパンが載せられている場合には、輻射熱でパンが焼き上げられる。
調理室15に焼き網2を配置してコンベクション調理を実行すると、加熱室25内のコンベクションヒータ35A,35B、及びファンモータ41が動作される。すると、循環ファン40が回転することで、吸込口21から調理室15内の空気が加熱室25内に吸引され、加熱室25内の空気が吹出口22から調理室15内へ供給される。加熱室25に吸引された空気は、吹出口22に至るまでの間にコンベクションヒータ35A,35Bの周囲を通過することで、コンベクションヒータ35A,35Bによって加熱される。よって、加熱室25内の空気は昇温され、設定された流速の熱風として、吹出口22から調理室15に供給される。調理室15内では、吹出口22から吐出された熱風が流動し、熱風が被調理物に衝突することで、空気の熱で被調理物が加熱調理される。
(コンベクションヒータの配置の詳細)
コンベクション調理で被調理物を加熱調理する際の効率は、空気の加熱効率と熱風の送風量とが影響する。空気の加熱効率が悪くなると被調理物の加熱効率も悪くなり、空気の加熱効率が良くなると被調理物の加熱効率も良くなる。また、空気(熱風)の送風量が少なくなると被調理物の加熱効率は悪くなり、空気の送風量が多くなると被調理物の加熱効率は良くなる。要するに、コンベクション調理により被調理物を調理する効率を向上するには、コンベクションヒータ35A,35Bによる空気の加熱効率を向上し、循環ファン40による送風量を確保することが重要である。
コンベクション調理で被調理物を加熱調理する際の効率は、空気の加熱効率と熱風の送風量とが影響する。空気の加熱効率が悪くなると被調理物の加熱効率も悪くなり、空気の加熱効率が良くなると被調理物の加熱効率も良くなる。また、空気(熱風)の送風量が少なくなると被調理物の加熱効率は悪くなり、空気の送風量が多くなると被調理物の加熱効率は良くなる。要するに、コンベクション調理により被調理物を調理する効率を向上するには、コンベクションヒータ35A,35Bによる空気の加熱効率を向上し、循環ファン40による送風量を確保することが重要である。
空気の加熱効率を向上するには、コンベクションヒータ35A,35Bの熱量(出力)を高くすることが考えられる。しかし、コンベクションヒータ35A,35Bの熱量、及びコンベクションヒータ35A,35Bの耐久性(寿命)は、コンベクションヒータ35A,35Bの全長の変化に応じて変わる。即ち、熱量が同一である場合、コンベクションヒータ35A,35Bの耐久性は、全長が短くなるに従って低くなり、全長が長くなるに従って高くなる。逆に、耐久性が同一である場合、コンベクションヒータ35A,35Bの熱量は、全長が短くなるに従って低くなり、全長が長くなるに従って高くなる。要するに、全長が長いコンベクションヒータ35A,35Bを用いることが、空気の加熱効率の向上、及びコンベクションヒータ35A,35Bの耐久性の向上には有効である。
空気の送風量を多くするには、直径が大きい循環ファン40を用いることが有効である。しかし、限られた加熱室25内に直径が大きい循環ファン40を配置すると、コンベクションヒータ35A,35Bを配置するスペースを確保できない。そこで、本実施形態では、コンベクションヒータ35A,35Bの配置を以下のように最適化している。
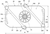
図2及び図4を参照すると、加熱室25を画定するヒータケース26は、後壁19に対して間隔をあけて平行に位置する端壁27と、端壁27の外周縁から屈曲している外周壁28とを備えている。図5及び図6に示すように、ヒータケース26の垂直方向の高さHの寸法と、水平方向の幅Wの寸法とは異なっており、本実施形態のヒータケース26は、高さHが幅Wより短い横長の概ね長方形状に形成されている。図3を参照すると、ヒータケース26の端壁27の中央には、後壁19に形成した吸込口21が位置している。また、ヒータケース26の短辺側(寸法が短い方)である外周壁28の左右の側部28a,28bの横には、後壁19に形成した吹出口22,22が位置している。即ち、吹出口22,22は、側部28a,28bに隣接し、側部28a,28bに沿って高さ方向Hに延びている。
図5及び図6に示すように、端壁27の中央には、ファンモータ41の出力軸を貫通させるための貫通孔29が設けられている。循環ファン40は、貫通孔29を通してヒータケース26内に位置する出力軸部分に連結されている。これにより循環ファン40は、吸込口Hと対向し、一対の吹出口22,22の中間位置に配置されている。
コンベクションヒータ35A,35Bは、循環ファン40と一緒にヒータケース26の内部に配置された状態で、調理室15の後壁19の背面側に配置されている。コンベクションヒータ35A,35Bは、吸込口21と吹出口22,22の間に位置するように、ヒータケース26に対して循環ファン40の両側に傾斜して配置されている。更に詳しく説明すると、図6は、加熱調理器10を設置し、加熱室25を正対視した状態である。この図6に示すように、コンベクションヒータ35A,35Bは、水平方向である幅方向Wに対して傾斜されており、垂直方向である高さ方向Wに対しても傾斜されている。即ち、コンベクションヒータ35A,35Bは、水平方向に延びるようにも垂直方向に延びるようにも配置されていない。
図5を参照すると、コンベクションヒータ35A,35Bをヒータケース26に対して斜めに配置するために、ヒータケース26の外周壁28には、各一対の差込孔30,30と位置決め孔31,31が設けられている。差込孔30は、コンベクションヒータ35A,35Bの両端の電気接続部36を挿通可能な大きさの長方形状であり、外周壁28の下部28cと上部28dに形成されている。位置決め孔31,31は、電気接続部36を差し込んで位置決め可能な大きさの長方形状であり、左側部28aと上部28dとの間の上角部28eと、右側部28bと下部28cとの間の下角部28fとに形成されている。
コンベクションヒータ35A,35Bをヒータケース26に配置する際には、例えば一方のコンベクションヒータ35Aを下部28cの差込孔30から差し込み、上角部28eの位置決め孔31に位置決めする。また、他方のコンベクションヒータ35Bを上部28dの差込孔30から差し込み、下角部28fの位置決め孔31に位置決めする。そして、下部28cと電気接続部36の隙間及び上部28dと電気接続部36の隙間に、スペーサ37が配置される。スペーサ37は、外周壁28の外方から嵌め込まれ、外周壁28に対してネジ止めにより固定されている。これによりヒータケース26内には、コンベクションヒータ35A,35Bが左斜め上向きに傾斜して配置されている。なお、コンベクションヒータ35A,35Bの傾斜方向は、右斜め上向きとしてもよい。
このようにした加熱調理器10では、加熱室25に吸込口21と一対の吹出口22,22の間を横断するように、コンベクションヒータ35A,35Bが傾斜して配置されている。そのため、従来のように吹出口に沿って延びるように加熱ヒータを配置した場合と比較して、全長が長いコンベクションヒータ35A,35Bを使用することができる。よって、コンベクションヒータ35A,35Bの加熱領域が長くなるため、加熱室25内の空気を効率的に加熱することができる。
また、吹出口に沿って加熱ヒータを配置した場合と耐久性が同じコンベクションヒータ35A,35Bを用いる場合、全長が長い分熱量を高くすることができるため、調理時の加熱効率を向上できる。一方、吹出口に沿って加熱ヒータを配置した場合と熱量が同じコンベクションヒータ35A,35Bを用いる場合、耐久性が向上するため使用可能な期間を長くすることができる。
特に、本実施形態では、横長形状の加熱室25の短辺側に吹出口22を配置し、寸法が長い横方向のスペースをコンベクションヒータ35A,35Bの配置に利用できる。よって、コンベクションヒータ35A,35B水平方向及び垂直方向に対する傾斜を十分にとることができる。そのため、短辺に沿って加熱ヒータを配置する場合と比較して、加熱調理に適した目標とする熱量、及び耐久性を十分に向上できる。
また、本実施形態の加熱室25は横長形状であるため、傾斜して配置されている一対のコンベクションヒータ35A,35Bの間には循環ファン40を配置するためのスペースを十分確保できる。よって、空気の送風量を確保できる直径の循環ファン40を用いることができる。その結果、調理室15から加熱室25に吸い込んだ空気を効率的に加熱し、加熱室25から調理室15へ加熱した空気(熱風)を確実に供給できる。
(第2実施形態)
図7は第2実施形態の加熱調理器10の加熱室25を示す。この第2実施形態では、吸込口21の上下に一対の吹出口22,22が位置するように形成され、これらの間を斜めに横断するようにコンベクションヒータ35A,35Bが配置されている点で、第1実施形態と相違する。
図7は第2実施形態の加熱調理器10の加熱室25を示す。この第2実施形態では、吸込口21の上下に一対の吹出口22,22が位置するように形成され、これらの間を斜めに横断するようにコンベクションヒータ35A,35Bが配置されている点で、第1実施形態と相違する。
詳しくは、ヒータケース26は、高さHが幅Wより短い横長の概ね長方形状に形成されている。コンベクションヒータ35A,35Bは、吸込口21と吹出口22,22の間に幅方向Hに延びるように配置されている。これらコンベクションヒータ35A,35Bは、側部28bから側部28aに向けて左上がりに配置されており、水平方向である幅方向Wに対して傾斜し、垂直方向である高さ方向Wに対しても傾斜している。
このようにした加熱調理器10は、上側のコンベクションヒータ35Aと下側のコンベクションヒータ35Bとの間が狭くなるため、第1実施形態と比較して循環ファン40の配置スペースに制約が生じる。しかし、第1実施形態と比較すると、コンベクションヒータ35A,35Bの全長を更に長くすることができるため、コンベクションヒータ35A,35Bによる熱量を更に高めることができるとともに、コンベクションヒータ35A,35Bの耐久性を更に向上できる。
(本実施形態と比較例との比較)
図8から図11は、第1から第4の比較例を示す。これら比較例の加熱調理器は、いずれも横長のヒータケース26’を備えている。そして、吹出口22’は、ヒータケース26’の垂直方向(高さ方向)又は水平方向(幅方向)に延びるように、調理室の後壁に形成されている。また、コンベクションヒータ35A’,35B’は、ヒータケース26’に対して垂直方向(高さ方向)又は水平方向(幅方向)に延びるように配置されている。
図8から図11は、第1から第4の比較例を示す。これら比較例の加熱調理器は、いずれも横長のヒータケース26’を備えている。そして、吹出口22’は、ヒータケース26’の垂直方向(高さ方向)又は水平方向(幅方向)に延びるように、調理室の後壁に形成されている。また、コンベクションヒータ35A’,35B’は、ヒータケース26’に対して垂直方向(高さ方向)又は水平方向(幅方向)に延びるように配置されている。
詳しくは、図8の第1比較例では、ヒータケース26’の側部28a’,28b’に隣接するように、垂直方向に延びる吹出口22’,22’が形成されている。また、コンベクションヒータ35A’,35B’は、吹出口22’,22’に沿って延びるように、側部28a’,28b’に沿って垂直方向に配置されている。
この第1比較例では、吸込口21’から吹出口22’に向けた空気の流動方向と、コンベクションヒータ35A,35Bが延びる方向が交差しているため、吹出口22’に向かう空気を高効率で加熱できる。しかし、コンベクションヒータ35A’,35B’を短辺側に配置するため、コンベクションヒータ35A’,35B’の全長が短く、空気を加熱する熱量が少ない。そして、熱量を確保するために出力を高くすると、コンベクションヒータ35A’,35B’の耐久性が悪くなる。
図9の第2比較例では、ヒータケース26’の上部28d’及び下部28c’に隣接するように、水平方向に延びる吹出口22’,22’が形成されている。また、コンベクションヒータ35A’,35B’は、吹出口22’,22’に沿って延びるように、上部28d’及び下部28c’に沿って水平方向に配置されている。この第2比較例の構成は、特許文献1で挙げた加熱調理器の構成と同一である。
この第2比較例では、第1比較例と同様に、吸込口21’から吹出口22’に向けた空気の流動方向と、コンベクションヒータ35A’,35B’が延びる方向が交差しているため、吹出口22’に向かう空気を確実に加熱できる。しかし、この第2比較例では、上側のコンベクションヒータ35A’と下側のコンベクションヒータ35B’との間が狭くなるため、小型の循環ファン40’を用いるか、大型のヒータケース26’を用いる必要がある。そして、小型の循環ファン40’を用いた場合、調理室に供給可能な熱風量が少なくなるため、被調理物の加熱効率が低下する。また、大型のヒータケース26’を用いた場合、加熱調理器全体が大型になる。
図10の第3比較例では、ヒータケース26’の側部28a’,28b’に隣接するように、垂直方向に延びる吹出口22’,22’が形成されている。また、コンベクションヒータ35A’,35B’は、吹出口22’,22’に対して直交方向に延びるように、上部28d’及び下部28c’に沿って水平方向に配置されている。
この第3比較例では、吸込口21’から吹出口22’に向けた空気の流動方向と、コンベクションヒータ35A,35Bが延びる方向が同一であるため、加熱されずに吹出口22’に至る空気が多く、空気の加熱効率が悪い。
図11の第4比較例では、ヒータケース26’の上部28d’及び下部28c’に隣接するように、水平方向に延びる吹出口22’,22’が形成されている。また、コンベクションヒータ35A’,35B’は、吹出口22’,22’に対して直交方向に延びるように、側部28a’,28b’に沿って垂直方向に配置されている。
この第4比較例では、コンベクションヒータ35A’,35B’を短辺側に配置するため、コンベクションヒータ35A’,35B’の全長が短く、空気を加熱する熱量が少ない。しかも、第3比較例と同様に、吸込口21’から吹出口22’に向けた空気の流動方向と、コンベクションヒータ35A,35Bが延びる方向が同一であるため、加熱されずに吹出口22’に至る空気が多く、空気の加熱効率が悪い。
これに対して、図6に示す第1実施形態では、吹出口22とコンベクションヒータ35A,35Bをヒータケース26の短辺側に配置している。しかし、第1及び第4の比較例と比べると、コンベクションヒータ35A,35Bを斜めに配置している分、コンベクションヒータ35A,35Bの全長を長くすることができるため、空気を加熱するための熱量を確保できる。また、第3及び第4の比較例と比べると、吸込口21から吹出口22に向けた空気の流動方向と、コンベクションヒータ35A,35Bが延びる方向が交差しているため、吹出口22に向かう空気を確実に加熱できる。しかも、第2比較例と比べると、コンベクションヒータ35A,35B間に循環ファン40を配置するスペースを十分確保できるため、十分な風量の循環ファン40を配置できる。よって、被調理物を確実に加熱できるとともに、加熱調理器全体が大型になることもない。
また、図7に示す第2実施形態では、吹出口22とコンベクションヒータ35A,35Bをヒータケース26の長辺側に配置している。そのため、第1及び第4の比較例と比べると、コンベクションヒータ35A,35Bの全長を確保できるため、空気を加熱するための熱量を確保できる。また、第3及び第4の比較例と比べると、吸込口21から吹出口22に向けた空気の流動方向と、コンベクションヒータ35A,35Bが延びる方向が交差しているため、吹出口22に向かう空気を確実に加熱できる。さらに、第2比較例と比べると、コンベクションヒータ35A,35Bを斜めに配置している分、コンベクションヒータ35A,35Bの全長を更に長くすることができるため、空気を加熱するための熱量を確保できる。また、コンベクションヒータ35A,35Bの耐久性を向上できる。
なお、本発明の加熱調理器は、前記実施形態の構成に限定されず、種々の変更が可能である。
例えば、図12及び図13に示すように、ヒータケース26は、高さHの寸法が幅Wの寸法より大きい縦長の概ね長方形状に形成してもよい。図12の第1変形例では、縦長のヒータケース26に対して幅方向Wの両端に吹出口22,22が位置するように形成されている。また、ヒータケース26は、吸込口21と吹出口22,22の間を横断するように斜めに配置されている。図13の第2変形例では、縦長のヒータケース26に対して高さ方向Hの両端に吹出口22,22が位置するように形成されている。また、ヒータケース26は、吸込口21と吹出口22,22の間を横断するように斜めに配置されている。これらのようにしても、前記実施形態と同様の作用及び効果を得ることができる。
また、加熱室25を画定するヒータケース26は、概ね長方形状に限らず、概ね正方形状としてもよいし、五角形以上の多角形状としてもよい。また、吹出口22は、加熱室25の対向位置に一対設けたが、3以上設けてコンベクションヒータも3以上配置してもよいし、1個だけ設けてコンベクションヒータも1個だけ配置してもよい。また、吹出口22は、湾曲したスリットに限らず、直線状に延びるスリットとしてもよいし、多数のパンチ孔からなる実質的な帯状に形成してもよい。また、吸込口21も同様に希望に応じて変更が可能である。
さらに、加熱室25は、隔壁である後壁19にヒータケース26を配置することで形成される構成に限られず、希望に応じて変更が可能である。例えば、底壁16、一対の側壁17,17、天壁18、及び後壁19を備える加熱庫の内部に、後壁と間隔をあけて位置する隔壁を設けて、加熱庫の内部を調理室15と加熱室25に区画してもよい。この場合、吸込口21及び吹出口22は、隔壁に形成するのではなく、底壁16と隔壁との隙間、及び天壁18と隔壁との隙間によって構成してもよいし、各側壁17,17と隔壁との隙間によって構成してもよい。
1…パンケース
2…焼き網
3…屑受け皿
10…加熱調理器
12…外装体
13…蓋体
15…調理室
16…底壁
17…側壁
18…天壁
19…後壁(隔壁)
20…開口部
21…吸込口
22…吹出口
25…加熱室
26…ヒータケース
27…端壁
28…外周壁
28a…左側部
28b…右側部
28c…下部
28d…上部
28e…上角部
28f…下角部
29…貫通孔
30…差込孔
31…位置決め孔
33A〜33D…グリルヒータ(第1の加熱ヒータ)
35A,35B…コンベクションヒータ(第2の加熱ヒータ)
36…電気接続部
37…スペーサ
40…循環ファン
41…ファンモータ
42…冷却ファン
45…網装着部
48…ケース装着部
49…連結部材
50…駆動モータ
51…第1プーリ
52…第2プーリ
53…ベルト
54…回転軸
2…焼き網
3…屑受け皿
10…加熱調理器
12…外装体
13…蓋体
15…調理室
16…底壁
17…側壁
18…天壁
19…後壁(隔壁)
20…開口部
21…吸込口
22…吹出口
25…加熱室
26…ヒータケース
27…端壁
28…外周壁
28a…左側部
28b…右側部
28c…下部
28d…上部
28e…上角部
28f…下角部
29…貫通孔
30…差込孔
31…位置決め孔
33A〜33D…グリルヒータ(第1の加熱ヒータ)
35A,35B…コンベクションヒータ(第2の加熱ヒータ)
36…電気接続部
37…スペーサ
40…循環ファン
41…ファンモータ
42…冷却ファン
45…網装着部
48…ケース装着部
49…連結部材
50…駆動モータ
51…第1プーリ
52…第2プーリ
53…ベルト
54…回転軸
Claims (5)
- 被調理物が配置される調理室と、
前記調理室と隔壁によって区画されている加熱室と、
前記調理室と前記加熱室とを連通させる吸込口及び吹出口と、
前記吸込口から前記調理室内の空気を前記加熱室内に吸引し、前記吹出口から前記加熱室内の空気を前記調理室内に供給する循環ファンと、
前記循環ファンによって供給する空気を加熱する加熱ヒータとを備え、
前記加熱ヒータは、前記吸込口と前記吹出口の間に位置するように前記加熱室に配置されており、前記加熱室を正対視すると、水平方向に対して傾斜されるとともに垂直方向に対しても傾斜されている、加熱調理器。 - 前記加熱室は、垂直方向の高さと水平方向の幅とは寸法が異なっており、前記高さ及び前記幅のうち寸法が短い方に隣接するように前記吹出口が設けられている、請求項1に記載の加熱調理器。
- 前記吹出口は、前記加熱室の幅方向の端部に高さ方向に延びるように設けられている、請求項2に記載の加熱調理器。
- 前記吹出口は、前記加熱室の対向位置に一対設けられている、請求項1から3のいずれか1項に記載の加熱調理器。
- 前記吸込口は、前記一対の吹出口の中間位置の1箇所だけに設けられている、請求項4に記載の加熱調理器。
Priority Applications (1)
| Application Number | Priority Date | Filing Date | Title |
|---|---|---|---|
| JP2016079276A JP2017190887A (ja) | 2016-04-12 | 2016-04-12 | 加熱調理器 |
Applications Claiming Priority (1)
| Application Number | Priority Date | Filing Date | Title |
|---|---|---|---|
| JP2016079276A JP2017190887A (ja) | 2016-04-12 | 2016-04-12 | 加熱調理器 |
Publications (1)
| Publication Number | Publication Date |
|---|---|
| JP2017190887A true JP2017190887A (ja) | 2017-10-19 |
Family
ID=60084582
Family Applications (1)
| Application Number | Title | Priority Date | Filing Date |
|---|---|---|---|
| JP2016079276A Pending JP2017190887A (ja) | 2016-04-12 | 2016-04-12 | 加熱調理器 |
Country Status (1)
| Country | Link |
|---|---|
| JP (1) | JP2017190887A (ja) |
Citations (4)
| Publication number | Priority date | Publication date | Assignee | Title |
|---|---|---|---|---|
| JPS556138A (en) * | 1978-06-27 | 1980-01-17 | Matsushita Electric Ind Co Ltd | Heating device |
| JPS5668805U (ja) * | 1979-10-31 | 1981-06-08 | ||
| JPS63132211U (ja) * | 1987-02-23 | 1988-08-30 | ||
| JP2014035108A (ja) * | 2012-08-08 | 2014-02-24 | Hitachi Appliances Inc | 加熱調理器 |
-
2016
- 2016-04-12 JP JP2016079276A patent/JP2017190887A/ja active Pending
Patent Citations (4)
| Publication number | Priority date | Publication date | Assignee | Title |
|---|---|---|---|---|
| JPS556138A (en) * | 1978-06-27 | 1980-01-17 | Matsushita Electric Ind Co Ltd | Heating device |
| JPS5668805U (ja) * | 1979-10-31 | 1981-06-08 | ||
| JPS63132211U (ja) * | 1987-02-23 | 1988-08-30 | ||
| JP2014035108A (ja) * | 2012-08-08 | 2014-02-24 | Hitachi Appliances Inc | 加熱調理器 |
Similar Documents
| Publication | Publication Date | Title |
|---|---|---|
| CN105263380B (zh) | 空气炸锅盘 | |
| RU2410606C1 (ru) | Нагревательная печь | |
| CN211212750U (zh) | 一种多功能烤具 | |
| CN110786749A (zh) | 一种多功能烤具 | |
| JP6898140B2 (ja) | 加熱調理器 | |
| US9962037B2 (en) | Food condition maintaining device | |
| CN102232799A (zh) | 电烤箱 | |
| CN102232801A (zh) | 电烤箱 | |
| JP5377133B2 (ja) | 加熱調理器 | |
| JP2017190887A (ja) | 加熱調理器 | |
| EP4235039B1 (en) | Kitchen oven with counter-rotating fans | |
| JP6593961B2 (ja) | 加熱調理器 | |
| CN114052523A (zh) | 具有分区空气炸功能的烹饪设备 | |
| CN216534973U (zh) | 具有空气炸功能的烹饪设备 | |
| JP2007003042A (ja) | 加熱調理器 | |
| JP3863539B2 (ja) | 加熱調理器 | |
| JP6697671B2 (ja) | オーブントースター | |
| JP6141102B2 (ja) | 加熱調理用受皿セット及び加熱調理器 | |
| CN220937752U (zh) | 空气炸锅 | |
| CN220937749U (zh) | 空气炸锅 | |
| CN221903365U (zh) | 烤箱 | |
| EP4481277A1 (en) | Domestic oven with air frying accessory | |
| CN113854853A (zh) | 具有空气炸功能的烹饪设备 | |
| US20230130495A1 (en) | Apparatus For Cooking With Ventilated Hot Air And/Or For Grilling Food | |
| CN114207358B (zh) | 抽屉式加热烹调器 |
Legal Events
| Date | Code | Title | Description |
|---|---|---|---|
| A621 | Written request for application examination |
Free format text: JAPANESE INTERMEDIATE CODE: A621 Effective date: 20180418 |
|
| A131 | Notification of reasons for refusal |
Free format text: JAPANESE INTERMEDIATE CODE: A131 Effective date: 20190212 |
|
| A977 | Report on retrieval |
Free format text: JAPANESE INTERMEDIATE CODE: A971007 Effective date: 20190215 |
|
| A02 | Decision of refusal |
Free format text: JAPANESE INTERMEDIATE CODE: A02 Effective date: 20190806 |