JP2017123734A - 電力変換装置 - Google Patents

電力変換装置 Download PDF

Info

Publication number
JP2017123734A
JP2017123734A JP2016001776A JP2016001776A JP2017123734A JP 2017123734 A JP2017123734 A JP 2017123734A JP 2016001776 A JP2016001776 A JP 2016001776A JP 2016001776 A JP2016001776 A JP 2016001776A JP 2017123734 A JP2017123734 A JP 2017123734A
Authority
JP
Japan
Prior art keywords
snubber
terminal
circuit
socket
semiconductor module
Prior art date
Legal status (The legal status is an assumption and is not a legal conclusion. Google has not performed a legal analysis and makes no representation as to the accuracy of the status listed.)
Granted
Application number
JP2016001776A
Other languages
English (en)
Other versions
JP6524919B2 (ja
Inventor
薫 鳥居
Kaoru Torii
薫 鳥居
秀夫 山脇
Hideo Yamawaki
秀夫 山脇
仁史 井村
Hitoshi Imura
仁史 井村
大介 賀来
Daisuke Kaku
大介 賀来
Current Assignee (The listed assignees may be inaccurate. Google has not performed a legal analysis and makes no representation or warranty as to the accuracy of the list.)
Toyota Motor Corp
Original Assignee
Toyota Motor Corp
Priority date (The priority date is an assumption and is not a legal conclusion. Google has not performed a legal analysis and makes no representation as to the accuracy of the date listed.)
Filing date
Publication date
Application filed by Toyota Motor Corp filed Critical Toyota Motor Corp
Priority to JP2016001776A priority Critical patent/JP6524919B2/ja
Publication of JP2017123734A publication Critical patent/JP2017123734A/ja
Application granted granted Critical
Publication of JP6524919B2 publication Critical patent/JP6524919B2/ja
Expired - Fee Related legal-status Critical Current
Anticipated expiration legal-status Critical

Links

Images

Landscapes

  • Dc-Dc Converters (AREA)
  • Inverter Devices (AREA)

Abstract

【課題】本明細書は、本明細書は、複数の半導体モジュールと複数の冷却器が積層された積層体を備えるタイプの電力変換装置に関し、スナバ回路の組み付け作業性のよい構造を提供する。【解決手段】電力変換装置2は、複数の半導体モジュール3と複数の冷却器22が積層されている積層ユニット10と、少なくとも一つの半導体モジュール3に取り付けられているスナバソケット4を備える。半導体モジュール3は、内部にスイッチング素子を含むスイッチング回路を封止しているとともに、スイッチング回路の高電位側端子(正極端子7a)と低電位側端子(負極端子7b)が積層ユニット10の積層方向と交差する方向に延びている。スナバソケット4では、正極端子7aと負極端子7bに差し込めるようになっている絶縁性の本体の内部に、正極端子7aと負極端子7bの間に接続されるスナバ回路が収容されている。【選択図】図3

Description

本発明は、複数の冷却器と複数の半導体モジュールが積層されている積層体を備える電力変換装置に関する。
電力変換装置では、電力変換用のスイッチング素子を含む回路(スイッチング回路)を封止した半導体モジュールがよく使われる。一方、電力変換装置では、スイッチング素子のスイッチング動作に伴うノイズを低減するため、あるいは、リンギングと呼ばれる電流/電圧の振動を低減するため、スナバ回路が用いられる。特許文献1には、半導体モジュールから延びている高電位側端子と低電位側端子(内部のスイッチング回路の高電位側に導通している端子と低電位側に導通している端子)に、スナバ回路が実装された基板がネジ留めされている電力変換装置が開示されている。
特開2014−128066号公報
電力変換装置では複数の半導体モジュールを使うことが多い。また、電力変換用のスイッチング素子は発熱量が大きいため、電力変換装置では、半導体モジュールを冷却する冷却器を伴うこともよくある。一つのタイプの電力変換装置は、半導体モジュールと冷却器が交互に並ぶように複数の半導体モジュールと複数の冷却器を積層した積層体を備えている。そのような電力変換装置では、隣り合う半導体モジュールの間の隙間が狭く、各半導体モジュールの高電位側端子と低電位側端子にスナバ回路の基板をネジ留めするのは組み付けの作業性が悪い。本明細書は、複数の半導体モジュールと複数の冷却器が積層された積層体を備えるタイプの電力変換装置に関し、スナバ回路の組み付け作業性のよい構造を提供する。
本明細書が開示する電力変換装置は、半導体モジュールと冷却器が交互に並ぶように複数の半導体モジュールと複数の冷却器が積層されている積層体と、少なくとも一つの半導体モジュールに取り付けられているソケット部品を備える。ソケット部品が取り付けられている半導体モジュールは、内部にスイッチング素子を含むスイッチング回路を封止している。また、その半導体モジュールでは、スイッチング回路の高電位側端子と低電位側端子が積層体の積層方向と交差する方向に延びている。ソケット部品は、高電位側端子と低電位側端子が差し込めるようになっている絶縁性の本体の内部に、高電位側端子と低電位側端子の間に接続されるスナバ回路が収容されている。この電力変換装置では、スナバ回路を収容したソケット部品を高電位側端子と低電位側端子に差し込むことで、スナバ回路がスイッチング回路に接続される。この電力変換装置では、スナバ回路をネジ留めする必要がなく、スナバ回路の半導体モジュールへの組み付け作業性に優れる。なお、積層されている全ての半導体モジュールに、スナバ回路を内蔵したソケット部品が取り付けられていてもよく、積層体のなかのいくつかの半導体モジュールにソケット部品が取り付けられていてもよい。本明細書が開示する技術の詳細とさらなる改良は以下の「発明を実施するための形態」にて説明する。
実施例の電力変換装置を含む電気自動車の電力系のブロック図である。 電力変換装置の底面図である。 電力変換装置の断面図である。 スナバ回路ソケットの斜視図である。 スナバ回路ソケットの内部構造を示す斜視図である。 スナバ回路ソケットの内部部品の正極端子用クリップを横断する断面図である。 スナバ回路ソケットの内部部品の負極端子用クリップを横断する断面図である。
図面を参照して実施例の電力変換装置を説明する。実施例の電力変換装置は、電気自動車に搭載されている。図1に、電力変換装置2を含む電気自動車100の電力系のブロック図を示す。電力変換装置2は、バッテリ11の直流電力を昇圧した後に交流に変換し、2個の走行用モータ19a、19bに供給する。電力変換装置2は、双方向コンバータ回路17と、2個のインバータ回路18a、18bを備える。双方向コンバータ回路17は、フィルタコンデンサ12、リアクトル13、2個のスイッチング素子14a、14b、2個のダイオード15a、15b、スナバコンデンサ5、スナバ抵抗6を備えており、それらの部品が図1に示す回路を構成している。双方向コンバータ回路17は、バッテリ11の側から供給される電力の電圧を昇圧してインバータ回路18a、18bの側に出力する昇圧機能と、インバータ回路18a、18bの側から供給される電力(モータ19a、19bの発電による回生電力)の電圧を降圧してバッテリ11の側に出力する降圧機能を備える。図1に示す双方向コンバータ回路17の回路構成と動作は良く知られているので詳しい説明は省略する。
双方向コンバータ回路17では、2個のスイッチング素子14a、14bが直列に接続されており、その直列回路の高電位側と低電位側の間に、スナバコンデンサ5とスナバ抵抗6が直列に接続されている。スナバコンデンサ5とスナバ抵抗6の直列回路がスナバ回路9である。スナバ回路9は、スイッチング素子14a、14bのスイッチング動作に伴うノイズを低減するため、及び、リンギングを低減するために備えられている。なお、図1に示す符号3aが示す破線矩形は、後述する半導体モジュールを意味する。半導体モジュール3aは、2個のスイッチング素子14a、14bの直列接続と、スイッチング素子14a、14bの各々に逆並列に接続されているダイオード15a、15bを封止したパッケージである。また、図1において符号4が示す破線矩形は、後述するスナバソケットを意味する。スナバソケット4は、スナバ回路9を内蔵したパッケージである。
インバータ回路18aは、2個のスイッチング素子の直列接続の組が3組並列に接続された回路構造を有している。各直列接続の中点から交流が出力される。図1に示すインバータ回路18aの回路構成と動作は良く知られているので詳しい説明は省略する。
インバータ回路18aの各スイッチング素子にはダイオードが逆並列に接続されている。図1から明らかなとおり、インバータ回路18aが有する3組の直列接続は、双方向コンバータ回路17が有するスイッチング素子14a、14b、ダイオード15a、15bの回路構成と同じである。図1において、符号3b−3dが示す破線矩形は、半導体モジュールを表し、その半導体モジュール3b−3dは、双方向コンバータ回路17の半導体モジュール3aと物理的な構造が同である。
インバータ回路18aにおいて、2個のスイッチング素子の直列接続の高電位側と低電位側の間に、双方向コンバータ回路17のスナバ回路9と同じスナバ回路が接続されている。インバータ回路18aの半導体モジュール3b−3dの各々には、スナバ回路9を内蔵したスナバソケット4が並列に接続されている。
図1では、インバータ回路18aが備えるスイッチング素子とダイオード、及び、スナバ回路の構成は双方向コンバータ回路17の回路構成と同じであるので、インバータ回路18aでは個々の電子部品への符号を省略している。
インバータ回路18bは、インバータ回路18aと同じ構造を備えており、図1では、インバータ回路18bの詳しい回路構成は図示を省略している。インバータ回路18bは、2個のスイッチング素子の直列接続と各スイッチング素子に逆並列に接続されているダイオードをまとめた半導体モジュール3e−3gと、各半導体モジュール3e−3gに付属するスナバソケット4で構成されている。インバータ回路18a、18bのスナバ回路9も、各スイッチング素子が発生するノイズを低減するため、及び、リンギングを低減するために備えられている。
双方向コンバータ回路17と2個のインバータ回路18a、18bの間には、平滑コンデンサ16が接続されている。平滑コンデンサ16は、双方向コンバータ回路17が出力する電流の脈動を抑えるために挿入されている。
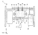
図2と図3を参照して電力変換装置2のハードウエア構造を説明する。図2は、電力変換装置2の底面図であり、図3は、電力変換装置2の断面図である。図3は、後述する積層ユニット10の端で電力変換装置2をカットした断面図である。
先に述べたように、電力変換装置2は、7個の半導体モジュール3a−3gを備えている。以下では、7個の半導体モジュール3a−3gのいずれか一つを区別なく示すときには半導体モジュール3と表記する。
7個の半導体モジュール3は、複数の冷却器22と積層されており、それらは積層ユニット10を構成する。複数の半導体モジュール3と複数の冷却器22は、各々一つずつ交互に並ぶように積層されている。図中の座標系のX方向が、半導体モジュール3と冷却器22の積層方向に相当する。図2では、積層方向の両端の冷却器だけに符号22を記しており、他の冷却器には符号は省略した。積層ユニット10は電力変換装置2のハウジング23に収容されており板バネ28により積層方向に圧力を受けている。
積層ユニット10は、複数の冷却器22を積層方向に貫く2本のパイプ32、33を備えており、それらのパイプ32、33は、電力変換装置2の外部にて不図示の冷媒循環装置に接続されている。冷媒は一方のパイプ32を通じて各冷却器22に分配される。冷媒は各冷却器22を流れる間に隣接する半導体モジュール3から熱を吸収し、他方のパイプ33を通じて電力変換装置2から排出される。板バネ28の圧力により、隣接する冷却器22と半導体モジュール3が密着し、半導体モジュール3から冷却器22への伝熱が促進される。
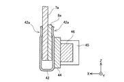
図3は、積層ユニット10の端の半導体モジュール3gと最外側の冷却器22の間で積層ユニット10をカットした断面図である。半導体モジュール3gの内部には、半導体チップ35a、35bが封止されている。半導体チップ35a、35bは、夫々、一つのスイッチング素子(IGBT素子)と一つのダイオードを逆並列に接続した逆導通型IGBTチップである。半導体チップ35a、35bは半導体モジュール3gの内部で直列に接続されており、図1において符号3gが示す破線矩形で囲んだ範囲の回路を構成する。即ち、半導体モジュール3gはその内部にスイッチング素子を含むスイッチング回路を封止している。なお、半導体チップ35a、35bを封止している半導体モジュール3gの本体は樹脂で作られている。半導体モジュール3gの本体から3本のパワー端子が延びている。3本のパワー端子は、積層体の積層方向(図中のX方向)と交差する方向(図中のZ方向)に延びている。3本のパワー端子は、スイッチング素子の直列接続(スイッチング回路)の高電位側と導通している正極端子7a、直列接続の低電位側と導通している負極端子7b、及び、直列接続の中点と導通している中点端子7cである。図2では、右端の半導体モジュール3aにのみ、各端子の符号を付しており、他の半導体モジュール3b−3gには端子を示す符号は省略している。図3の断面図では、半導体モジュール3gのパワー端子(正極端子7a、負極端子7b、及び、中点端子7c)のみが見えている。
なお、半導体モジュール3の本体の反対側の側面からは、複数の制御端子34が延びている。複数の制御端子34は、各スイッチング素子(半導体チップ35a、35b)のゲート電極と導通しているゲート端子や、半導体チップ35a、35bの内部の温度センサや電流センサにつながっている制御線などである。制御端子34は、制御基板30に接続されている。制御基板30には各半導体モジュール3のスイッチング素子(半導体チップ35a、35b)を駆動するための回路が実装されている。
3本のパワー端子7a−7cは、夫々、バスバを通じて他の部品に接続されている。図1のブロック図から明らかなとおり、全ての半導体モジュール3の高電位側(即ち正極端子7a)と低電位側(即ち負極端子7b)は、平滑コンデンサ16に接続されている。図2、図3に示したコンデンサユニット21の中に、図1の平滑コンデンサ16とフィルタコンデンサ12に相当するコンデンサ素子が収容されている。全ての半導体モジュール3の正極端子7aは、正極バスバ8aを通じてコンデンサユニット21と接続されており、負極端子7bは負極バスバ8bを通じてコンデンサユニット21と接続されている。正極バスバ8aは、コンデンサユニット21に近い側では大きな一枚の金属板であり、各半導体モジュール3の正極端子7aに向けて、半導体モジュール3の数と同数の枝部が延びており、各枝部が各正極端子7aと接合されている。負極バスバ8bも同様であり、コンデンサユニット21に近い側では大きな一枚の金属板であり、負極端子7bに向けて、半導体モジュール3の数と同数の枝部が延びており、各枝部が各負極端子7bと接合されている。
双方向コンバータ回路17の半導体モジュール3aの中点端子7cは中間バスバ24を介してリアクトルユニット29に接続している。リアクトルユニット29の中に、図1のリアクトル13に相当する部品が収容されている。他の半導体モジュール3b−3gの中点端子7cは、出力バスバ25の一端に接続されており、出力バスバ25の他端は、端子台26において、モータ19a、19b(図1参照)に通じるパワーケーブルの接続端子27を形成している。
各半導体モジュール3の正極端子7aと負極端子7bに、先に述べたスナバソケット4が嵌合している。図2では、スナバソケット4は仮想線で描いてある。図3では、半導体モジュール3gに取り付けられた状態のスナバソケット4xを仮想線で示してあり、半導体モジュール3gから離れた位置に、実線でスナバソケット4を示している。図3において実線のスナバソケット4は、半導体モジュール3gから外した状態を意味している。スナバソケット4は、パワー端子7a−7cの延設方向(即ち図のZ方向)に沿って、半導体モジュール3に向けて移動することで、正極端子7aと負極端子7bが差し込めるようになっている。先に述べたように、スナバソケット4は、スナバコンデンサ5とスナバ抵抗6を直列に接続したスナバ回路9を収容している。スナバソケット4を半導体モジュール3に取り付けると、スナバ回路9の一端が正極端子7aと導通し、スナバ回路9の他端が負極端子7bと導通する。即ち、スナバ回路9が、半導体モジュール3の中の2個のスイッチング素子の直列接続の高電位側と低電位側の間に接続される。
スナバソケット4の外観の図4に示し、スナバソケット4の内部の部品構造を図5に示す。図5では、スナバソケット4の内部構造が理解できるように、本体41の輪郭のみを仮想線で描いてある。スナバソケット4の本体41は絶縁性の樹脂で作られている。図4に示すように、スナバソケット4の本体41には、2個のスリット(正極スリット41a、負極スリット41b)が設けられている。正極スリット41aには半導体モジュール3の正極端子7aが差し込まれ、負極スリット41bには負極端子7bが差し込まれる。即ち、スナバソケット4の本体41は、半導体モジュール3の正極端子7aと負極端子7bに差し込めるようになっている。図中の座標系において、半導体モジュール3の正極端子7aと負極端子7bは、Z方向に延びており、そのZ方向は、積層ユニット10の積層方向(X方向)と交差する方向である。別言すれば、スナバソケット4は、積層方向(X方向)と交差する方向に沿って移動することで、正極端子7aと負極端子7bに差し込まれる。
スナバソケット4の本体41の内部には、図1のスナバコンデンサ5に相当する2個のコンデンサ素子45と、図1のスナバ抵抗6に相当する抵抗素子46が基板44の一方の面に実装されている。基板44の他方の面には、正極用クリップ42と負極用クリップ43が取り付けられている。正極用クリップ42と負極用クリップ43が導電性の金属で作られている。基板44の上で、2個のコンデンサ素子45は並列に接続されており、図1のスナバコンデンサ5に対応する容量を確保している。また、基板44の上で、2個のコンデンサ素子45の並列接続と抵抗素子46が直列に接続されており、図1のスナバ回路9が構成される。基板44の上で、正極用クリップ42と抵抗素子46が接続され、また負極用クリップ43と2個のコンデンサ素子45の並列接続の一端が接続されている。後述するように正極用クリップ42と負極用クリップ43はU字形状の鋼板で作られている。先に述べた正極スリット41aの内部で、正極用クリップ42のU字が開いている。同様に、先に述べた負極スリット41bの内部で、負極用クリップ43のU字が開いている。
スナバソケット4の正極スリット41aに半導体モジュール3の正極端子7aを差し込み、負極スリット41bに負極端子7bを差し込むと、正極端子7aと正極用クリップ42が接触し、負極端子7bと負極用クリップ43が接触する。その結果、正極端子7aと負極端子7bの間にスナバ回路9が接続されることになる。即ち、半導体モジュール3に封止されたスイッチング回路の高電位側と低電位側の間にスナバ回路9が接続される。なお、後述する図6に示されているように、正極端子7aには正極バスバ8aが接続されており、正極用クリップ42には、正極端子7aとともに正極バスバ8aが挟まれる。また、後述する図7に示されているように、負極端子7bには負極バスバ8bが接続されており、負極用クリップ43には、負極端子7bとともに負極バスバ8bが挟まれる。
図6に、正極用クリップ42を横断するように図中のXZ平面でカットした断面図を示す。図6には、半導体モジュール3の正極端子7aの一部とそれに接合している正極バスバ8aの一部も示されている。正極用クリップ42は、U字形状をなした鋼板で作られており、U字の両端にくびれ部42aが設けられている。正極用クリップ42のくびれ部42aに正極端子7aと正極バスバ8aが挟まれる。正極端子7aと正極バスバ8aは、U字形状の鋼板で作られた正極用クリップ42の弾性により保持される。
図7に、負極用クリップ43を横断するように図中のXZ平面でカットした断面図を示す。図7には、半導体モジュール3の負極端子7bの一部と負極バスバ8bの一部も示されている。負極用クリップ43は、U字形状をなした鋼板で作られており、U字の腕の長い方の端(長端43a)は、かぎ型に湾曲しており、腕の短い方の端(短端43b)は、長い方の腕に向けて突出している。短端43bの突出と長端43aの間に、負極端子7bと負極バスバ8bが挟まれる。長端43aのかぎ型の先端が、負極バスバ8bとそれに接合された負極端子7bの脱落を防止する。
以上述べたように、正極用クリップ42のU字のくびれ部42a、負極用クリップ43の短端43bの突出、及び、長端43aのかぎ型の湾曲が、スナバソケット4が正極端子7a、負極端子7bから脱落することを防止する。
基板44、コンデンサ素子45、抵抗素子46は、絶縁性の本体41に覆われており、外部から絶縁されている。正極用クリップ42の内側と負極用クリップ43の内側だけが、正極スリット41a、負極スリット41bの中で本体41から露出している。
図6と図7に示した構成から理解されるように、スナバソケット4は、半導体モジュール3に着脱するのが容易である。より正確には、スナバソケット4は、半導体モジュール3の正極端子7aと負極端子7bに容易に挿抜が可能である。図2に示したように、電力変換装置2では、複数の半導体モジュール3が複数の冷却器22とともに、半導体モジュール3と冷却器22が交互に並ぶように積層されており、隣り合う半導体モジュール3の間隔が小さい。各半導体モジュール3の正極端子7aと負極端子7bは積層ユニット10の積層方向と直交する方向に延びており、スナバソケット4は、正極端子7a、負極端子7bの延設方向に沿ってそれらの端子に差し込めるようになっている。それゆえ、スナバソケット4は、積層方向に狭い間隔で並んでいる複数の半導体モジュール3の夫々に容易に装着することができる。すなわち、着脱式のスナバソケット4は、電力変換装置2の積層ユニット10への組み付け作業性に優れる。
実施例の電力変換装置2に関する利点、及び、留意点を述べる。実施例の電力変換装置2は、同じ構造の複数の半導体モジュール3を備えており、各半導体モジュール3にスナバソケット4が装着される。複数のスナバソケット4も同じ構造を有している。例えば、モータ19a、19bの定格出力が異なる場合、インバータ回路18aの半導体モジュール3b−3dと、インバータ回路18bの半導体モジュール3e−3gでは、スイッチング素子の性能が異なる場合がある。その場合、半導体モジュール3b−3dに装着するスナバ回路の抵抗及びコンデンサと、半導体モジュール3e−3gに装着するスナバ回路の抵抗及びコンデンサには異なる仕様が求められる。スナバソケット4は着脱式であるので、抵抗及びコンデンサの仕様が異なるいくつかタイプのスナバソケット4を準備しておくことで、性能の異なる半導体モジュールに対して低コストで対応することができる。
スナバソケット4は、スイッチング素子を収容する半導体モジュール3の端子間(正極端子7aと負極端子7bの間)に装着される。すなわち、スナバソケット4は、短い導電距離でスナバ回路をスイッチング素子に接続することができる。このことは、ノイズ低減に貢献する。
スナバソケット4に収容されている抵抗素子46は、過電流が流れると溶断するヒューズを兼ね備えるものであるとよい。
実施例の電力変換装置2では、全ての半導体モジュール3にスナバソケット4が装着されている。積層ユニット10の中には、上記した半導体モジュール3以外の部品が積層されることがある。スナバソケット4は、積層されている複数の半導体モジュール3のうちのいくつかのみに装着されていてもよい。さらにいえば、スナバソケット4は、積層されている複数の半導体モジュール3のうち、少なくとも一つの半導体モジュール3に装着されていればよい。
実施例の電力変換装置2では、半導体モジュール3gに内蔵されている半導体チップ35a、35bは、逆導通型IGBTチップであった。半導体チップは、IGBTチップに限られず、例えば、SiC半導体素子を内蔵したチップであってもよい。即ち、本明細書が開示する技術は、スイッチング素子としてIGBTのみならず、例えばSiCを利用したトランジスタなどであってもよい。なお、SiCを利用した半導体では、SiCの構造を利用してダイオードを形成することができるので、SiCを利用すると、スイッチング素子とダイオードが一体となったチップを構成することができる。本明細書が開示する技術は、そのような半導体チップ(スイッチング素子)を利用したスイッチング回路を封止する半導体モジュールを含む電力変換装置に適用することも好適である。
また、スナバソケット4では、基板44、コンデンサ素子45、抵抗素子46が、絶縁性の本体41に覆われている。スナバソケット4の本体41の内部には、他のデバイスが組み込まれていてもよい。また、他の導電体に触れない箇所であれば、本体41に組み込まれているデバイスの一部が露出していてもよい。
実施例の正極端子7aが請求項における高電位側端子の一例に相当し、負極端子7bが請求項における低電位側端子の一例に相当する。実施例のスナバソケット4が請求項のソケット部品の一例に相当する。積層ユニット10が請求項の積層体の一例に相当する。
以上、本発明の具体例を詳細に説明したが、これらは例示に過ぎず、特許請求の範囲を限定するものではない。特許請求の範囲に記載の技術には、以上に例示した具体例を様々に変形、変更したものが含まれる。本明細書または図面に説明した技術要素は、単独であるいは各種の組合せによって技術的有用性を発揮するものであり、出願時請求項記載の組合せに限定されるものではない。また、本明細書または図面に例示した技術は複数目的を同時に達成し得るものであり、そのうちの一つの目的を達成すること自体で技術的有用性を持つものである。
2:電力変換装置
3a−3g:半導体モジュール
4:スナバソケット
5:スナバコンデンサ
6:スナバ抵抗
7a:正極端子
7b:負極端子
7c:中点端子
8a:正極バスバ
8b:負極バスバ
9:スナバ回路
10:積層ユニット
11:バッテリ
12:フィルタコンデンサ
13:リアクトル
14a、14b:スイッチング素子
15a、15b:ダイオード
16:平滑コンデンサ
17:双方向コンバータ回路
18a、18b:インバータ回路
19a、19b:モータ
21:コンデンサユニット
22:冷却器
23:ハウジング
24:中間バスバ
25:出力バスバ
26:端子台
27:接続端子
28:板バネ
29:リアクトルユニット
30:制御基板
35a、35b:半導体チップ
41:本体
41a:正極スリット
41b:負極スリット
42:正極用クリップ
43:負極用クリップ
44:基板
45:コンデンサ素子
46:抵抗素子
100:電気自動車

Claims (1)

  1. 半導体モジュールと冷却器が交互に並ぶように複数の半導体モジュールと複数の冷却器が積層されている積層体と、
    少なくとも一つの前記半導体モジュールに取り付けられているソケット部品と、
    を備えており、
    前記ソケット部品が取り付けられている前記半導体モジュールは、スイッチング素子を含むスイッチング回路を封止しているとともに、当該スイッチング回路の高電位側端子と低電位側端子が前記積層体の積層方向と交差する方向に延びており、
    前記ソケット部品は、前記高電位側端子と前記低電位側端子が差し込めるようになっている絶縁性の本体の内部に、前記高電位側端子と前記低電位側端子の間に接続されるスナバ回路が収容されている、
    電力変換装置。
JP2016001776A 2016-01-07 2016-01-07 電力変換装置 Expired - Fee Related JP6524919B2 (ja)

Priority Applications (1)

Application Number Priority Date Filing Date Title
JP2016001776A JP6524919B2 (ja) 2016-01-07 2016-01-07 電力変換装置

Applications Claiming Priority (1)

Application Number Priority Date Filing Date Title
JP2016001776A JP6524919B2 (ja) 2016-01-07 2016-01-07 電力変換装置

Publications (2)

Publication Number Publication Date
JP2017123734A true JP2017123734A (ja) 2017-07-13
JP6524919B2 JP6524919B2 (ja) 2019-06-05

Family

ID=59306438

Family Applications (1)

Application Number Title Priority Date Filing Date
JP2016001776A Expired - Fee Related JP6524919B2 (ja) 2016-01-07 2016-01-07 電力変換装置

Country Status (1)

Country Link
JP (1) JP6524919B2 (ja)

Cited By (3)

* Cited by examiner, † Cited by third party
Publication number Priority date Publication date Assignee Title
JP2019118164A (ja) * 2017-12-26 2019-07-18 株式会社デンソー 電力変換装置
JP2020022287A (ja) * 2018-08-01 2020-02-06 株式会社デンソー 電力変換装置
CN113328605A (zh) * 2020-02-13 2021-08-31 三菱电机株式会社 功率转换装置

Citations (3)

* Cited by examiner, † Cited by third party
Publication number Priority date Publication date Assignee Title
JP2012249501A (ja) * 2011-05-31 2012-12-13 Denso Corp 電力変換装置
JP2014053516A (ja) * 2012-09-10 2014-03-20 Hitachi Automotive Systems Ltd パワー半導体モジュール
JP2015136225A (ja) * 2014-01-16 2015-07-27 トヨタ自動車株式会社 電力変換器

Patent Citations (3)

* Cited by examiner, † Cited by third party
Publication number Priority date Publication date Assignee Title
JP2012249501A (ja) * 2011-05-31 2012-12-13 Denso Corp 電力変換装置
JP2014053516A (ja) * 2012-09-10 2014-03-20 Hitachi Automotive Systems Ltd パワー半導体モジュール
JP2015136225A (ja) * 2014-01-16 2015-07-27 トヨタ自動車株式会社 電力変換器

Cited By (7)

* Cited by examiner, † Cited by third party
Publication number Priority date Publication date Assignee Title
JP2019118164A (ja) * 2017-12-26 2019-07-18 株式会社デンソー 電力変換装置
JP7059628B2 (ja) 2017-12-26 2022-04-26 株式会社デンソー 電力変換装置
JP2020022287A (ja) * 2018-08-01 2020-02-06 株式会社デンソー 電力変換装置
JP7124530B2 (ja) 2018-08-01 2022-08-24 株式会社デンソー 電力変換装置
CN113328605A (zh) * 2020-02-13 2021-08-31 三菱电机株式会社 功率转换装置
JP2021129383A (ja) * 2020-02-13 2021-09-02 三菱電機株式会社 電力変換装置
CN113328605B (zh) * 2020-02-13 2024-06-04 三菱电机株式会社 功率转换装置

Also Published As

Publication number Publication date
JP6524919B2 (ja) 2019-06-05

Similar Documents

Publication Publication Date Title
CN101606311B (zh) 电力变换装置
JP5700022B2 (ja) 電力変換装置
CN107493687B (zh) 电力转换装置
JP6597549B2 (ja) 半導体モジュール
CN107408554B (zh) 电力转换装置
US10374523B2 (en) Power conversion device
JP2013219892A (ja) 電力変換装置
JP6647189B2 (ja) 半導体モジュール、半導体装置および電力装置
CN110754033B (zh) 电力变换装置
JP6690478B2 (ja) 電力変換装置
JP2013219967A (ja) 電力変換装置
JP7544288B2 (ja) 電力変換装置
JP2019037049A (ja) 電力変換装置
JP6352740B2 (ja) 電力変換装置
JPWO2018109884A1 (ja) 電力変換装置
JP2017123734A (ja) 電力変換装置
CN101728935B (zh) 功率变换装置
JP6123722B2 (ja) 半導体装置
JP6693348B2 (ja) 電力変換装置
JP6179487B2 (ja) 3レベル電力変換装置の半導体モジュールユニット
JP6693349B2 (ja) 電力変換装置
JP2016149911A (ja) 電力変換装置
JP2023066814A (ja) コンデンサ装置、電力変換装置および車両
JP2018113828A (ja) 電力変換装置、及びその製造方法
JP6780583B2 (ja) 電力変換装置

Legal Events

Date Code Title Description
A621 Written request for application examination

Free format text: JAPANESE INTERMEDIATE CODE: A621

Effective date: 20180214

A977 Report on retrieval

Free format text: JAPANESE INTERMEDIATE CODE: A971007

Effective date: 20181213

A131 Notification of reasons for refusal

Free format text: JAPANESE INTERMEDIATE CODE: A131

Effective date: 20190122

A521 Request for written amendment filed

Free format text: JAPANESE INTERMEDIATE CODE: A523

Effective date: 20190320

TRDD Decision of grant or rejection written
A01 Written decision to grant a patent or to grant a registration (utility model)

Free format text: JAPANESE INTERMEDIATE CODE: A01

Effective date: 20190409

A61 First payment of annual fees (during grant procedure)

Free format text: JAPANESE INTERMEDIATE CODE: A61

Effective date: 20190422

R151 Written notification of patent or utility model registration

Ref document number: 6524919

Country of ref document: JP

Free format text: JAPANESE INTERMEDIATE CODE: R151

LAPS Cancellation because of no payment of annual fees