JP2017005299A - 映像処理装置及び映像処理方法 - Google Patents

映像処理装置及び映像処理方法 Download PDF

Info

Publication number
JP2017005299A
JP2017005299A JP2015114125A JP2015114125A JP2017005299A JP 2017005299 A JP2017005299 A JP 2017005299A JP 2015114125 A JP2015114125 A JP 2015114125A JP 2015114125 A JP2015114125 A JP 2015114125A JP 2017005299 A JP2017005299 A JP 2017005299A
Authority
JP
Japan
Prior art keywords
imaging
information
unit
video data
frame
Prior art date
Legal status (The legal status is an assumption and is not a legal conclusion. Google has not performed a legal analysis and makes no representation as to the accuracy of the status listed.)
Granted
Application number
JP2015114125A
Other languages
English (en)
Other versions
JP5901825B1 (ja
Inventor
憲 土佐林
Ken Tosabayashi
憲 土佐林
Current Assignee (The listed assignees may be inaccurate. Google has not performed a legal analysis and makes no representation or warranty as to the accuracy of the list.)
Shutoko Engineering Co Ltd
Funcreate Co Ltd
Original Assignee
Shutoko Engineering Co Ltd
Funcreate Co Ltd
Priority date (The priority date is an assumption and is not a legal conclusion. Google has not performed a legal analysis and makes no representation as to the accuracy of the date listed.)
Filing date
Publication date
Application filed by Shutoko Engineering Co Ltd, Funcreate Co Ltd filed Critical Shutoko Engineering Co Ltd
Priority to JP2015114125A priority Critical patent/JP5901825B1/ja
Application granted granted Critical
Publication of JP5901825B1 publication Critical patent/JP5901825B1/ja
Publication of JP2017005299A publication Critical patent/JP2017005299A/ja
Active legal-status Critical Current
Anticipated expiration legal-status Critical

Links

Images

Landscapes

  • Television Signal Processing For Recording (AREA)

Abstract

【課題】映像データの確認作業効率を向上することができる映像処理装置及び映像処理方法を提供する。【解決手段】撮像装置10は、少なくとも撮像時刻を含む複数の撮像環境に関する情報を取得し、被写体を結像する光学系および撮像素子を有する撮像部の出力信号に基づいて、複数のフレームを含む映像データを生成する。このとき、撮像装置10は、映像データに対して、フレームごとに撮像環境に関する情報を付加し、記憶媒体に記憶する。【選択図】 図2

Description

本発明は、映像処理装置及び映像処理方法に関する。
従来、路面に関連する路面構造物や路面の周辺に設置された付属構造物等を含む道路構造物を点検する場合、点検用車両に搭載したカメラ等によって撮像した映像を点検者が確認している。
特許文献1には、車両にCCDカメラを搭載し、当該CCDカメラが車両走行中に取得した路面映像をもとに路面のひびわれを検出する路面ひびわれ検出装置が開示されている。この路面ひびわれ検出装置は、1/30秒毎に路面画像(フレーム)を取得すると共に、当該路面画像の取得タイミングで車両の走行距離データと時刻とを取得する。特許文献1において、上記時刻は、走行距離データの計測開始時刻を基準とする相対時刻(経過時間)である。
特開平9−96515号公報
カメラ等で撮像された映像をもとに点検対象となる物体の状態を確認する場合、例えば、特定の時刻に撮像されたフレームを取り出して確認することができると、点検作業効率が一段と向上する。
しかしながら、上記特許文献1に記載の技術にあっては、各フレームの時刻情報は、計測開始時刻からの経過時間のみにより管理されている。そのため、映像からフレームを取り出す場合、「計測開始から何分何秒後のフレーム」という指定をすることしかできない。このように、特定の時刻を指定してフレームを取り出すことができないため、映像を効率的に確認することができない。
そこで、本発明は、映像データの確認作業効率を向上することができる映像処理装置及び映像処理方法を提供することを課題としている。
上記課題を解決するために、本発明に係る映像処理装置の一態様は、少なくとも撮像時刻を含む複数の撮像環境に関する情報を取得する撮像環境情報取得部と、被写体を結像する光学系および撮像素子を有する撮像部の出力信号に基づいて、複数のフレームを含む映像データを生成する映像データ生成部と、前記映像データに対して、フレームごとに前記撮像環境情報取得部で取得した情報を付加し、記憶媒体に記憶する記憶部と、を備える。
このように、各フレームと撮像時刻等の撮像環境に関する情報とを直接的に関連付けて記録するので、特定の時刻など、撮像環境を指定してフレームを取り出すことができる。したがって、映像データを効率良く確認することができる。
また、上記撮像環境情報取得部は、上記撮像環境に関する情報として、上記撮像時刻と、撮像位置および撮像姿勢の少なくとも1つとに関する情報を取得してもよい。これにより、特定の位置を指定してフレームを取り出したり、特定の姿勢を指定してフレームを取り出したりすることができる。
さらに、上記撮像環境情報取得部は、標準電波から得られる標準時刻情報を、上記撮像時刻に関する情報として取得してもよい。これにより、正確な撮像時刻を各フレームに関連付けることができる。
また、上記撮像環境情報取得部は、測位衛星から送信される衛星信号から得られる測位情報を、上記撮像位置に関する情報として取得してもよい。これにより、正確な撮像位置を各フレームに関連付けることができる。
さらに、上記撮像環境情報取得部は、3軸加速度センサおよび3軸ジャイロセンサの少なくとも一方で検出した情報を、上記撮像姿勢に関する情報として取得してもよい。これにより、加速度情報や角速度情報を撮像姿勢に関する情報として各フレームに関連付けることができる。
また、上記記憶部で記憶した映像データに基づいて、フレームと当該フレームに対応する撮像環境に関する情報とを重畳させて表示部に表示する第一の表示制御部をさらに備えもよい。このように、映像データと撮像環境に関する情報とを1画面に表示することで、撮像環境の把握が容易となる。
さらに、ユーザが指定した上記撮像環境に関する情報を取得する指定情報取得部と、上記記憶部で記憶した映像データから、上記指定情報取得部で取得した情報が付加されたフレームを検索する画像検索部と、当該画像検索部で検索したフレームを表示部に表示する第二の表示制御部と、を備えてもよい。これにより、ユーザは、自身が指定した撮像環境に対応するフレームを容易に確認することができる。
本発明によれば、映像データに対して、フレームごとに少なくとも撮像時刻を含む撮像環境情報を付加するので、映像データの確認作業効率を向上させることができる。
本実施形態における映像処理システムの一例を示す概略構成図である。 撮像装置の構成を示すブロック図である。 映像ファイルの構成例である。 画像処理装置の構成を示すブロック図である。 画像検索結果の表示例である。 第2の実施形態の画像処理のフローチャートである。
以下、本発明の実施の形態を図面に基づいて説明する。
(第1の実施形態)
図1は、本実施形態における映像処理システム100の一例を示す概略構成図である。
図1に示すように、映像処理システム100は、例えば車両200に搭載可能である。車両200は、例えば、高速道路をはじめとする各種道路において、毎日もしくは数日おきに行われる日常点検を実施するための点検用車両である。映像処理システム100は、撮像装置10と、画像処理装置20とを備える。
撮像装置10は、例えば車両200の正面の屋根部分に取り付けられ、車両200の周辺を撮像するデジタルビデオカメラである。また、この撮像装置10は、例えば、アスペクト比16:9の横長のハイビジョン映像を撮像するハイビジョンカメラである。これにより、アスペクト比4:3の映像に対し、人の視野に近い状態で映像を撮像することができる。撮像装置10は、例えば車両200が所定の点検対象道路を走行しているとき、若しくは車両200が停車しているときに、当該車両200の周辺の映像を撮像する。
本実施形態では、撮像装置10は、車両200の前方の映像を撮像する。ここで、撮像装置10の撮像範囲(方向や画角(視野角))は、検出対象に応じて適宜設定するものとする。なお、撮像装置10は複数台設置することもできる。例えば、撮像装置10は、車両200の前方を撮像する第一のカメラと、車両200の左側方を撮像する第二のカメラと、車両200の右側方を撮像する第三のカメラとで構成することもできる。この場合、各カメラでそれぞれ撮像した撮像方向の異なる映像を1つの動画情報として出力可能な構成としてもよい。また、撮像装置10は、車両の後方を撮像するように構成されていてもよい。
画像処理装置20は、撮像装置10から映像ファイルを取得し、映像の表示制御を行う。この画像処理装置20は、例えばノート型パーソナルコンピュータ(ノートPC)により構成される。画像処理装置20は、撮像装置10と通信可能に有線または無線で接続されている。なお、画像処理装置20は、ノートPCに限定されるものではなく、例えば、スマートフォンやタブレット端末などの携帯端末であってもよい。また、画像処理装置20は、例えば、撮像装置10に内蔵されていてもよい。さらに、画像処理装置20は、例えば、撮像装置10とネットワーク等を介して接続されたサーバ装置であってもよい。
以下、撮像装置10の構成について具体的に説明する。
図2に示すように、撮像装置10は、撮像部11と、信号処理部12と、記録部13と、時刻情報取得部14と、位置情報取得部15と、姿勢情報取得部16と、を備える。
撮像部11は、レンズ11aや撮像素子11b等を含んで構成される。レンズ11aは、被写体を結像するための光学系である。撮像素子11bは、例えば、CCD(Charge Coupled Device)やCMOS(Complementary Metal Oxide Semiconductor)等である。撮像部11は、レンズ11aで集めた光を撮像素子11bに結像させ、結像された光像を光電変換により電気信号に変換し、これを撮像部11の出力信号として信号処理部12に出力する。
信号処理部12は、撮像部11から得られた電気信号に所定の信号処理を施し、複数のフレームを含む映像データを生成する。本実施形態では、撮像時刻、撮像位置、撮像時の姿勢(撮像姿勢)などの撮像環境に関する情報(以下、「環境情報」と称す。)を、各フレームに対応付けて映像データを生成する。この映像データの生成方法については後述する。また、信号処理部12は、エンコーダを介して映像データを圧縮処理するなどにより映像ファイルを生成する。ここでの圧縮方式は、例えば、H.264、MPEG4(Moving Picture Experts Group phase4)、MJPEG(Motion-JPEG)などの規格に基づく。記録部13は、信号処理部12で生成した映像ファイルを、HDD(Hard Disk Drive)、SSD(Solid State Drive)、磁気テープ等の磁気記録媒体、光ディスクや光磁気ディスク等の光/光磁気記憶媒体等の記録媒体に記録する。
時刻情報取得部14は、例えば、電波時計等に用いられる標準電波を受信する受信機を備え、当該受信機で受信した標準電波から得られる標準時刻情報を、撮像時刻を示す情報として信号処理部12に出力する。ここで、標準電波としては、日本のJJY、米国のWWVB、英国のMSF、及び、独国のDCF77などがある。なお、インターネットを通じて時刻情報を提供する時刻情報提供サービスや放送の時報を利用して時刻情報を取得してもよいし、パソコンに内蔵された時計(例えば、画像処理装置20に内蔵された時計)を利用して時刻情報を取得してもよい。
位置情報取得部15は、例えば、GNSS(Global Navigation Satellite System)衛星から送信される信号を受信するGNSS受信機を含んで構成される。位置情報取得部15は、受信した信号から撮像装置10の位置(車両200の位置)を示す位置情報を取得し、その位置情報を、撮像位置を示す情報として信号処理部12に出力する。なお、GNSSとは、GPS(米国)、GALILEO(欧州)、CLONASS(ロシア)、準天頂衛星(日本)などの測位衛星の総称である。
姿勢情報取得部16は、例えば、3軸加速度センサ、3軸ジャイロセンサ等の3軸センサにより構成される。姿勢情報取得部16は、撮像装置10(車両200)の加速度情報や角速度情報を取得し、取得した情報を、撮像姿勢を示す情報として信号処理部12に出力する。
なお、時刻情報取得部14、位置情報取得部15及び姿勢情報取得部16は、それぞれ時刻情報、位置情報及び姿勢情報を取得可能な構成であれば、上記の構成に限定されない。また、時刻情報取得部14、位置情報取得部15及び姿勢情報取得部16は、それぞれ撮像装置10に内蔵してもよいし、車両200に設置してもよい。例えば、姿勢情報取得部16を車両200のサスペンションによって車体の揺れが緩衝されない位置(例えば、車輪近傍)に設置した場合、路面の僅かな変動による揺れを検出することができる。
信号処理部12は、時刻情報取得部14、位置情報取得部15及び姿勢情報取得部16から時刻情報、位置情報及び姿勢情報を入力し、これらの撮像情報が書き込まれた映像ファイルを生成する。
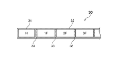
図3は、映像ファイルの一例を示す図である。この図3に示すように、映像ファイル30は、ヘッダ部31と映像データ部32とを含んで構成されている。ヘッダ部31には、映像ファイル30のファイル名、ファイルの種類、ファイルサイズ等、映像ファイル30の構造を示すヘッダ情報(H)が含まれる。また、映像データ部32には、フレーム単位(1F,2F,…)の映像データが含まれる。映像データ部32内におけるフレームとフレームとの間には、環境情報33が、例えば数値データとして書き込まれる。環境情報33は、例えば、対応するフレームの直前に書き込む。すなわち、第2フレーム(2F)の環境情報33は、第1フレーム(1F)と第2フレーム(2F)との間に書き込む。なお、環境情報33とそれに対応するフレームとの対応付けがされていれば、環境情報33を書き込む位置は上記に限定されない。また、環境情報33は、映像データの全フレームに対して書き込んでもよいし、所定間隔で書き込んでもよい。
本実施形態においては、信号処理部12は、環境情報33を、映像データの再生に影響しない形で書き込む。例えば、環境情報33は、フレームごとに設けられたヘッダ(フレームヘッダ)内に格納してもよいし、フレームごとのメタデータとして格納してもよい。また、映像再生時に環境情報33が読み飛ばされるような制御コードを付加して環境情報33を書き込んでもよい。なお、映像再生時に環境情報33がコメントアウトされる形で環境情報33を書き込んでもよい。環境情報33の書き込み方法は、映像処理システム100のユーザが適宜設定することができる。
このように、信号処理部12は、各フレームに関連する環境情報33を書き込みながらフレーム単位で映像データ部32を順次生成していく。そして、信号処理部12は、映像データ部32の生成が完了すると、映像データ部32に対応するヘッダ部31を生成し、映像ファイル30を生成する。信号処理部12は、生成した映像ファイル30を記録部13に記録する。
次に、画像処理装置20の構成について具体的に説明する。
図4に示すように、画像処理装置20は、画像取得部21と、パラメータ取得部22と、画像処理部23と、表示制御部24と、を備える。
画像取得部21は、撮像装置10から映像ファイル30を取得し、これを画像処理部23に出力する。パラメータ取得部22は、ユーザが所定の操作部(例えば、キーボードやマウス等のポインティングデバイス)を操作して入力した、後述する画像処理に関するパラメータを取得する。画像処理部23は、映像ファイル30に対して、必要に応じてパラメータ取得部22が取得したパラメータをもとに画像処理を施し、その結果を表示制御部24に出力する。表示制御部24は、画像処理部23の画像処理結果を液晶ディスプレイ(LCD)等のモニタで構成される表示部71(図5)に表示する。例えば、画像処理部20がノート型パーソナルコンピュータやタブレット等である場合、表示部71はノート型パーソナルコンピュータの表示部である。
本実施形態では、上記画像処理として、例えば画像検索処理を実施する。すなわち、画像処理部23は、ユーザが上記パラメータとして検索条件を入力している場合、入力された検索条件を充足する画像(フレーム)を映像ファイル30から検索する画像検索処理を実施する。
例えば、画像処理部23は、ユーザが検索条件として時刻を指定している場合、映像データ内の環境情報33を読み出し、ユーザが指定した時刻と同一の時刻に撮像されたフレームを検索する。また、ユーザが検索条件として位置を指定している場合には、映像データ部32内の環境情報33を読み出し、ユーザが指定した位置と同一の位置で撮像されたフレームを検索する。ここで、ユーザによる位置の指定は、例えば、緯度及び経度を入力することで実行されてもよいし、表示部等に表示されたマップ上の位置をポインティングデバイスで指示することで実行されてもよい。さらに、ユーザが検索条件として撮像姿勢を指定している場合には、映像データ部32内の環境情報33を読み出し、ユーザが指定した撮像姿勢で撮像されたフレームを検索する。
上記の画像検索処理は、映像データ部32から環境情報33を抜き出す(検出する)処理を行うプログラムを実行することで実現可能である。ここで、環境情報33に制御コードが付加されている場合には、当該制御コードをピックアップする処理を行うプログラムを実行することで、環境情報33以外の付加情報と区別して検索処理を実現可能である。
画像処理部23は、当該画像検索処理によって検索されたフレームを、画像検索結果として表示制御部24に出力する。これにより、表示制御部24は、画像処理部23によって検索されたフレームを表示部に表示することができる。また、画像処理部23は、画像検索処理によって検索されたフレームを、再生開始位置として表示制御部24に出力することもできる。この場合、表示制御部24は、画像処理部23によって検索されたフレームから映像データを再生する。映像データの再生は、静止画でもよいし、動画でもよい。
図5は、画像検索結果の表示画面の一例を示す図である。この図5に示すように、表示部71は、撮像部11により取得した映像データ(画像フレーム)を表示する映像表示領域72と、環境情報33を表示する環境情報表示領域73とを有する。また、表示部71は、映像データの再生や一時停止、停止、巻戻し、早送り等を指示可能なボタン74等を表示することができる。環境情報表示領域73には、映像表示領域72に表示したフレームの撮像時刻、撮像位置、撮像姿勢を、例えば数値データで表示することができる。図5の例では、撮像時刻として西暦20XX年XX月XX日のXX時XX分が表示され、撮像位置として北緯(N)XX度XX分、東経(E)XX度XX分が表示され、3軸加速度センサの値(G)として、X.XXX(cm/s)が表示されている。尚、撮像位置は地図で表示してもよいし、撮像姿勢は波形で表示してもよい。環境情報の表示方法は適宜設定可能である。また、ユーザが環境情報の表示方法を切替可能な構成であってもよい。
このように、映像データの中からユーザが指定した撮像時刻や撮像位置の画像(フレーム)を容易に検索し、車両200付近の映像に撮像時刻等を重畳して表示することができる。所望の時刻を指定して画像を表示することができるので、巻戻しや早送りの操作が不要である。
以上の構成により、本実施形態では、ユーザが撮像装置10の電源を投入すると、撮像装置10は車両周辺の撮像を開始する。撮像装置10は、車両200の走行中及び停車中のいずれであっても撮像可能である。このとき、撮像装置10は、所定のフレームレートで撮像処理を実行して各フレームの映像データを生成しながら、各フレームに関連する撮像時刻、撮像位置、撮像姿勢等に関する情報を環境情報33として画像データに書き込み、映像ファイル30を生成する。ここで、フレームレートは、例えば、24fps、30fps、60fps、120fpsなどを採用することができる。撮像装置10による撮像処理が終了すると、画像処理装置20は、撮像装置10から映像ファイル30を取り込み、ユーザが指定した検索条件を充足する画像(フレーム)を検索し、表示する。なお、ユーザが指定した時刻の前後の所定時間を含む時間帯の画像(フレーム)を検索し、例えば、当該指定時刻を含む数分間の画像を表示してもよい。
このように、本実施形態では、映像データの各フレームに環境情報33を数値データとして書き込むので、特定の時刻や位置等を指定することで、映像ファイル30の映像データ部32から容易に対応するフレームを検索、表示することができる。また、環境情報33は、映像再生時に影響のない形式で書き込むため、不具合を発生させることなく適切に映像データを再生することができる。尚、所定時間の間、動画で映像を再生したい場合、再生開始時刻と再生終了時刻を指定すればよい。また、図5の環境情報表示領域73に表示する内容は、ユーザが適宜決定することができる。例えば、ユーザが加速度センサの計測値を表示する必要がないと考えるならば、時刻情報と位置情報のみを環境情報表示領域73に表示してもよい。
映像データの各フレームと時刻情報とを関連付ける方法としては、例えば、映像データに変換した時刻情報をフレームごとに画像合成して記録する方法がある。しかしながら、この場合、映像の再生画面上では各フレームの撮像時刻を確認することはできるが、特定の時刻のフレームを検索するためには、ユーザが映像を巻戻したり早送りしたりする必要がある。
また、映像データの各フレームには、LTC(Longitudinal TimeCode)などに代表される時間.分.秒.フレーム番号からなるタイムコードが付与されている。しかしながら、例えば日本や米国等で採用されているNTSC(National Television System Committee)方式の場合、フレーム数が29.97フレーム/秒であるため、実時間に対して、タイムコードの歩進が僅かにずれる。このずれを長時間において解消するための補正モードとしてドロップフレームがあるが、フレーム1枚1枚に正確な時刻を関連付けることは困難である。
これに対して、本実施形態では、各フレームに時刻情報取得部14によって取得した時刻情報をそれぞれ関連付けることができる。また、時刻情報取得部14によって取得する時刻情報として、電波時計情報を用いるので、正確な撮像時刻を各フレームに関連付けることができる。
また、撮像時刻と共に、撮像位置や撮像姿勢(加速度、角速度等)といった撮像環境に関する情報を各フレームに付加し、各フレームとこれらの撮像環境に関する情報とを直接的に関連付けることができる。
従来、各フレームに関連する情報は、映像データとは別に記録媒体等に記録されており、各フレームと各フレームに関連する情報とのリンクは、映像撮像時のタイムコード等を双方に付与することによりなされていた。しかしながら、この場合、映像データを処理する際に、記録媒体等からタイムコードを介して対応する情報を読み出さなければならない。このように、各フレームとそれに対応する各情報とが間接的に関連付けられた構成であると、映像データとは別に上記情報を記録、管理する必要があり不便であると共に、必要な情報の抽出や表示が非効率であるとの問題があった。これに対して、本実施形態では、各フレームとそれに対応する撮像環境に関する情報とを直接的に関連付けることができるので、上記のような問題がない。
さらに、本実施形態では、撮像装置10において、撮像部11から得られる信号をもとに映像データを生成する際に、撮像時刻等の環境情報33を一緒に書き込む。すなわち、ビデオカメラが出力した映像ファイルを加工して撮像情報を書き込む構成ではない。そのため、映像データと撮像情報との関連付けを行うために、ビデオカメラに映像ファイルの加工を行うための装置を接続する必要がない。したがって、システム内の機器数を削減することができる。また、機器間の接続不具合に起因して撮像情報の書き込み不具合が発生することを抑制することができる。
環境情報33を用いて検索したフレームは、例えば、車両200周辺の状態確認に用いることができる。例えば、ユーザが検索条件として時刻情報を指定した場合、指定した時刻に車両200が走行していた場所及びその周辺の状態を確認することができる。
また、ユーザが検索条件として点検の対象となる物体の設置位置を示す位置情報を指定した場合には、点検の対象となる物体が撮像されたフレームを検索、表示することができ、当該物体の異常等の確認が可能となる。ここで、点検の対象となる物体としては、例えば、車両200が走行可能な道路、トンネル、橋などに関する構造物がある。例えば、舗装やジョイント部、道路区画線(白線)、マンホール、排水溝、中央分離帯、標識、看板、電柱、支柱、照明灯、街路灯、防音壁、ケーブル、ワイヤ、信号機、反射鏡、ガードレール、縁石、横断歩道橋、電話ボックス等は、上記構造物に含まれる。
さらに、ユーザが検索条件として撮像姿勢の許容値を指定した場合、車両200に許容値を超える大きさの振動が発生した場所を撮像したフレームを検索、表示することができ、その場所の路面の状態を確認することができる。これにより、例えば、上記振動が発生した原因が路面の劣化である場合には、これを適切に把握することができる。また、上記振動が発生した場所が道路のジョイント部75である場合には、当該ジョイント部の状態を確認することもできる。
また、例えば図5に示すように、環境情報33を道路の映像と共に1つの画面に表示するので、点検者は映像の撮像時刻、撮像位置及び撮像姿勢等を容易に把握することができる。したがって、例えば、映像データをもとに、点検者が目視で、もしくは画像処理により自動で上述した構造物等の異常を検出した場合には、異常を検出したフレームの撮像時刻や撮像位置等を容易に把握することができる。その結果、異常を検出した構造物の設置場所に、詳細点検や修理の作業員を向かわせるなどの適正な対応が可能となる。
尚、表示部71は、映像表示領域72と環境情報表示領域73とを有するとしたが、環境情報表示領域73を設けなくてもよい。即ち、環境情報33を表示部71において表示するかは、ユーザが適宜決定してよい。
(第2の実施形態)
第1の実施形態において、振動が発生した場所が道路のジョイント部75である場合には、当該ジョイント部75の状態を確認することができるとした。撮像画像中において横方向に延びる物体が道路のジョイント部75であるか否かの判断は、撮像した画像を用いて行ってもよいし、撮像した画像に画像処理を施した後の画像を用いて行ってもよい。後者の場合に採用される画像処理を、第2の実施形態として説明する。なお、以下の記載では、第1の実施形態との相違点のみを説明する。
第2の実施形態では、道路のジョイント部75の検出を、以下のような特異点抽出に基づいて行う。図6は、第2の実施形態で採用する画像処理のフローチャートである。
この画像処理は、例えば画像処理装置20の電源が投入されたタイミングで実行開始することができる。
先ずステップS1で、画像取得部21は、撮像部11から撮影画像を取得し、ステップS2に移行する。なお、このステップS1では、撮影画像に対して種々の補正処理を行ってもよい。例えば、撮影画像に対してワイドダイナミックレンジ(WDR)処理を行うことで、逆光が強いシーンや明暗の差が大きいシーンを撮影した画像の高品位化を図ることができる。
ステップS2では、画像処理部23は、ステップS1で取得した画像データに対して所定の二値化閾値を用いて二値化処理を施す。
この二値化閾値は、検出対象である道路のジョイント部75を検出可能な値に設定する。一般に、路面にはアスファルト舗装が施されており、撮影画像において、当該アスファルト路面部分に対応する画素の輝度値(以下、「画素値」ともいう)は黒色の輝度値「0」に近い値となる。これに対して、ジョイント部75では、路面上に金属製の継手部材や後打コンクリートが露出しており、撮影画像において、当該ジョイント部75に対応する領域の画素値は、上記のアスファルト路面部分に対応する領域の画素値よりも白色の輝度値「255」に近い値となる。
したがって、道路構造物としてジョイント部75を検出する場合には、二値化閾値をジョイント部75に対応する領域の画素値の下限値と同等、若しくはそれよりも所定のマージン分だけ小さく(黒色の輝度値に近く)設定する。これにより、二値化処理の結果、ジョイント部に対応する画素は白、アスファルト路面に対応する画素は黒となる。
次にステップS3で、画像処理部23は、二値化画像から特異点を抽出し、ステップS4に移行する。ここで、特異点とは、二値化画像内において予め設定した注目画素値を有する画素である。注目画素値は、検出対象の道路構造物(ジョイント部75)の二値化処理後の画素値に設定しておく。検出対象の道路構造物がジョイント部75である場合、注目画素値は、二値化処理後の白色の輝度値「1」となる。なお、このステップS3では、特異点を抽出する前に、二値化画像に対して孤立点除去や膨張処理、収縮処理等を行ってノイズを除去するようにしてもよい。
ステップS4では、画像処理部23は、ステップS3で抽出した特異点の連続性を判定する。具体的には、画像処理部23は、先ず二値化画像に対してラベリング処理を施し、ジョイント部75の候補となる領域(点群)を識別する。次に画像処理部23は、各領域について、二値化画像の車両200の幅方向に対応する方向(X方向)で連続する特異点の数Nxと、車両200の進行方向に対応する方向(Y方向)で連続する特異点の数Nyとを計測する。そして、これら特異点数Nx,Nyがそれぞれ予め設定した判定範囲内であるか否かを判定することで、ジョイント部75の有無を判定する。
上記判定範囲は、検出対象であるジョイント部75の撮影画像内での大きさをもとに設定する。ジョイント部75は、道路の幅方向に沿って道路幅に相当する長さを有すると共に、車両の進行方向に沿って所定の幅(例えば、500mm程度)を有する。したがって、検出対象がジョイント部75である場合、特異点数Nxの判定範囲は、ジョイント部75の長さ(道路幅)に相当する画素数に基づいて設定し、特異点数Nyの判定範囲は、ジョイント部75の幅に相当する画素数に基づいて設定する。このように、抽出した特異点の点群の数に基づいて、ジョイント部75の有無を判定する。なお、判定範囲の設定ファイルは、予め記憶部13に記憶しておき、ユーザが適宜調整可能である。
ステップS5では、画像処理部23は、ステップS4の判定の結果、ジョイント部75があると判断した場合にはステップS6に移行し、ジョイント部75がないと判断した場合には後述するステップS8に移行する。
ステップS6では、画像処理部23は、ステップS1で取得した撮影画像に対して環境情報33を各フレーム(1F、2F、3F、・・・)に付加する。
ステップS7では、画像処理部23と表示制御部24は、上記環境情報付きの撮影画像を記憶部13に保存すると共に、画像処理後のジョイント部75の画像を表示部71(映像表示領域72)に表示可能である。
ステップS8では、画像処理部23は、ジョイント部75の検出処理を終了するか否かを判定する。例えば、車両200の乗員が画像処理装置20に設けられた処理終了ボタンを押すなどにより、CPU21が道路構造物の検出処理を終了するための指示を受信した場合に、当該検出処理を終了する。
このように、ジョイント部75の検出に際し、撮影画像から特異点を抽出し、当該特異点の連続性を判断する。すなわち、ジョイント部75の撮影画像内における輝度が路面の輝度とは異なることを利用し、路面の輝度値とは異なる輝度値を有する画素を特異点として抽出する。そして、画像内において所定の方向に連続する特異点の数が所定の判定範囲内にあると判断した場合に、当該特異点の点群に対応する領域をジョイント部75として検出する。そのため、検出対象のジョイント部75の撮影画像内における大きさ及び姿勢に概ね一致する大きさ及び姿勢を有する特異点の点群を、ジョイント部75として検出することができる。したがって、複雑な処理を必要とすることなく、適切にジョイント部75の検出が可能となる。また、ジョイント部75と同等の輝度値を有する構造物が存在する場合であっても、ジョイント部75とは大きさや姿勢が異なる構造物は検出対象から除外することができる。したがって、ジョイント部75を適切に検出することができる。本実施形態では、ジョイント部75の輝度値を有する画素を特異点として抽出し、当該特異点の点群に基づいてジョイント部75を検出するので、検出対象であるジョイント部75とは輝度値の異なる影は検出対象から除外することができる。そして、特異点抽出に基づく画像処理を施した画像を表示部71の映像表示領域72に表示することができる。
さらに、撮影画像に対して二値化処理を施すことで特異点を抽出する。したがって、比較的簡易な処理で特異点を抽出することができる。また、二値化処理で用いる二値化閾値は外部記憶媒体等に記憶し、検出対象の道路構造物の輝度値に応じて調整可能である。換言すると、上記二値化閾値を変更することで、検出可能となる道路構造物を変更することができる。したがって、非検出としたい道路構造物がある場合には、その道路構造物が検出されないように上記二値化閾値を設定することができる。
また、上記判定範囲は外部記憶媒体等に記憶し、検出対象とする道路構造物に応じて調整可能である。そのため、上述した二値化閾値と同様に、上記判定範囲を変更することで、検出可能となる道路構造物を変更することができる。例えば、当該判定範囲を、車幅方向に道路幅相当の長さを有する領域に設定すれば、特異点の点群として、道路のジョイント部75に対応する領域と道路の白線に対応する領域とを認識している場合であっても、ジョイント部75に対応する領域のみをジョイント部75である判断することができる。このように、解析に必要な道路構造物のみを検出するような設定とすることができるので、作業性を向上させることができる。
なお、本実施形態の画像処理では、特異点を抽出する方法により道路構造物を検出するので、さまざまな道路構造物を検出対象とすることができる。すなわち、道路構造物はジョイント部75に限定されず、撮影画像における道路構造物に対応する画素が特異点として抽出できれば、当該道路構造物の自動検出が可能である。路面に関連する路面構造物の場合、アスファルト路面とは異なる輝度値を有する構造物であれば、いずれも検出対象とすることができる。例えば、このような路面構造物としては、道路区画線(白線等)、轍、路面上の落下物、路面の損傷による穴などが挙げられる。また、路面周辺の付属構造物の場合にも同様に、周囲とは異なる輝度値を有する構造物であれば、いずれも検出対象とすることができる。例えば、このような付属構造物としては、標識、標識の文字、他車両のナンバープレートの文字、照明灯、防音壁やトンネル等の損傷部(亀裂、ボルト抜け部等)などが挙げられる。
道路構造物を検出した撮影画像は、道路構造物の状態確認に用いることができる。すなわち、点検者は、当該撮影画像から道路構造物の異常の有無を判断することができる。また、トンネル内の照明や破線状の白線等、通常は等間隔で配列している道路構造物について、点検者は、照明切れや白線切れの有無を判断することもできる。
また、上記実施形態においては、特異点の抽出に際し、撮影画像を二値化処理する場合について説明したが、撮影画像を多値化処理し、多値化処理後の画像から、道路構造物の当該多値化処理後の輝度値を有する画素を特異点として抽出してもよい。
さらに、特異点の抽出に際し、撮像画像に対して減色処理を施し、減色処理後の画像から特異点を抽出してもよい。例えば、フルカラーの撮像画像を、256色や16色等に減色した画像に変換し、減色処理後の画像から検出対象の物体の色に対応する画素を選出し、これを特異点として抽出することができる。例えば、検出対象の物体が道路標識である場合、道路標識に主に用いられる色(赤、緑、青、黄など)に対応する画素を特異点として抽出する。また、例えば、検出対象の物体が錆である場合、錆の色(茶色、茶褐色など)に対応する画素を特異点として抽出する。これにより、より高精度に検出対象の物体を検出することができる。この検出方法は、検出対象の物体の色が既知である場合に有効である。
(変形例)
上記実施形態においては、撮像環境に関する情報として、撮像時刻、撮像位置および撮像姿勢を取得する場合について説明したが、少なくとも撮像時刻を含んでいればよく、例えば撮像時の速度に関する情報や、撮像時の音に関する情報などを含んでもよい。また、撮像時の音(音声データ)は、各フレーム1F、2F、3Fに含まれてもよい。
また、上記実施形態においては、撮像装置10を車両200に設置する場合について説明したが、これに限定されるものではない。例えば、車両以外の移動体(ラジコン、ドローン(無人航空機)、ヘリコプターなど)に撮像装置10を設置してもよいし、路肩等に撮像装置10を固定してもよい。さらに、撮像装置10は、店舗や施設等に設置することもできる。この場合、映像処理システム100は、店舗や施設内を監視する監視システムとして機能させることができる。また、撮像装置10は、人が携帯してもよい。
また、上記実施形態においては、画像処理装置20において、画像検索処理で検索したフレームを表示部に表示する場合について説明したが、検索したフレームを記録媒体に記録したり、サーバ装置へ転送したりするようにしてもよい。
なお、上記実施形態における画像処理装置20で実行されるプログラムは、インストール可能なファイル形式または実行可能なファイル形式で、コンピュータが読み取り可能な記憶媒体に記憶されて提供されてもよい。また、上記実施形態における画像処理装置20で実行されるプログラムは、インターネット等のネットワーク経由で提供されてもよい。
以上、本発明の実施形態について詳細に説明したが、上述した実施形態は、本発明を実施するにあたっての一例を示したにすぎず、本発明の技術的範囲は、上述した実施形態に限定されるものではない。本発明は、その趣旨を逸脱しない範囲において種々の修正又は変更が可能である。
10…撮像装置、11…撮像部、12…信号処理部、13…記録部、14…時刻情報取得部、15…位置情報取得部、16…姿勢情報取得部、20…画像処理装置、21…画像取得部、22…パラメータ取得部、23…画像処理部、24…表示制御部、30…映像データ、31…ヘッダ部、32…映像データ部、33…環境情報、71…表示部、72…映像表示領域、73…環境情報表示領域、74…ボタン、100…映像処理システム、200…車両

Claims (12)

  1. 少なくとも撮像時刻を含む複数の撮像環境に関する情報を取得する撮像環境情報取得部と、
    被写体撮像部の出力信号に基づいて、複数のフレームを含む映像データを生成する映像データ生成部と、
    前記映像データに対して、フレームごとに前記撮像環境情報取得部で取得した情報を付加し、記憶媒体に記憶する記憶部と、を備えることを特徴とする映像処理装置。
  2. 前記撮像環境情報取得部は、
    前記撮像環境に関する情報として、前記撮像時刻と、撮像位置および撮像姿勢の少なくとも1つとに関する情報を取得することを特徴とする請求項1に記載の映像処理装置。
  3. 前記撮像環境情報取得部は、
    標準電波から得られる標準時刻情報を、前記撮像時刻に関する情報として取得することを特徴とする請求項1または2に記載の映像処理装置。
  4. 前記撮像環境情報取得部は、
    測位衛星から送信される衛星信号から得られる測位情報を、前記撮像位置に関する情報として取得することを特徴とする請求項1〜3のいずれか1項に記載の映像処理装置。
  5. 前記撮像環境情報取得部は、
    3軸加速度センサおよび3軸ジャイロセンサの少なくとも一方で検出した情報を、前記撮像姿勢に関する情報として取得することを特徴とする請求項1〜4のいずれか1項に記載の映像処理装置。
  6. 前記記憶部で記憶した前記映像データに基づいて、前記フレームと当該フレームに対応する前記撮像環境に関する情報とを重畳させて表示部に表示する第一の表示制御部をさらに備えることを特徴とする請求項1〜5のいずれか1項に記載の映像処理装置。
  7. 前記第1の表示制御部は、特異点抽出による画像処理を施した画像を前記表示部に表示することを特徴とする請求項6に記載の映像処理装置。
  8. ユーザが指定した前記撮像環境に関する情報を取得する指定情報取得部と、
    前記記憶部で記憶した前記映像データから、前記指定情報取得部で取得した情報が付加されたフレームを検索する画像検索部と、
    前記画像検索部で検索したフレームを表示部に表示する第二の表示制御部と、を備えることを特徴とする請求項1〜7のいずれか1項に記載の映像処理装置。
  9. 複数の撮像環境に関する情報を取得する撮像環境情報取得部と、
    被写体撮像部の出力信号に基づいて、複数のフレームを含む映像データを生成する映像データ生成部と、
    前記フレームの各々に、前記複数の撮像環境に関する情報を記録する手段と、
    前記フレームの各々を、記録した前記情報に基づいて検索する手段と、を備えることを特徴とする映像処理装置。
  10. 少なくとも撮像時刻を含む複数の撮像環境に関する情報を取得するステップと、
    被写体を結像する光学系および撮像素子を有する撮像部の出力信号に基づいて、複数のフレームを含む映像データを生成するステップと、
    前記映像データに対して、フレームごとに前記撮像環境情報取得部で取得した情報を付加し、記録媒体に記録するステップと、を含むことを特徴とする映像処理方法。
  11. コンピュータを、前記請求項1〜9のいずれか1項に記載の映像処理装置の各部として機能させるためのプログラム。
  12. 前記請求項11に記載のプログラムを記録した、コンピュータが読み取り可能な記録媒体。
JP2015114125A 2015-06-04 2015-06-04 映像処理装置及び映像処理方法 Active JP5901825B1 (ja)

Priority Applications (1)

Application Number Priority Date Filing Date Title
JP2015114125A JP5901825B1 (ja) 2015-06-04 2015-06-04 映像処理装置及び映像処理方法

Applications Claiming Priority (1)

Application Number Priority Date Filing Date Title
JP2015114125A JP5901825B1 (ja) 2015-06-04 2015-06-04 映像処理装置及び映像処理方法

Publications (2)

Publication Number Publication Date
JP5901825B1 JP5901825B1 (ja) 2016-04-13
JP2017005299A true JP2017005299A (ja) 2017-01-05

Family

ID=55747680

Family Applications (1)

Application Number Title Priority Date Filing Date
JP2015114125A Active JP5901825B1 (ja) 2015-06-04 2015-06-04 映像処理装置及び映像処理方法

Country Status (1)

Country Link
JP (1) JP5901825B1 (ja)

Cited By (6)

* Cited by examiner, † Cited by third party
Publication number Priority date Publication date Assignee Title
US10972694B2 (en) 2018-06-15 2021-04-06 Canon Kabushiki Kaisha Imaging apparatus, imaging system, and control method of imaging apparatus
JP2021068994A (ja) * 2019-10-21 2021-04-30 首都高技術株式会社 走行ルートの検索方法
JP2021100188A (ja) * 2019-12-23 2021-07-01 首都高技術株式会社 映像処理装置及び映像処理方法
WO2022091272A1 (ja) 2020-10-28 2022-05-05 日産自動車株式会社 電動車両の制御方法、及び電動車両の制御システム
JP7067852B1 (ja) 2022-02-01 2022-05-16 株式会社ファンクリエイト 路面損傷位置の算定方法
JP2024164212A (ja) * 2019-03-29 2024-11-26 成典 田中 点群データ管理システム

Families Citing this family (1)

* Cited by examiner, † Cited by third party
Publication number Priority date Publication date Assignee Title
CN115662109B (zh) * 2022-09-09 2025-04-15 公安部交通管理科学研究所 验证多源融合视频时间可信度的计时方法、装置及系统

Citations (7)

* Cited by examiner, † Cited by third party
Publication number Priority date Publication date Assignee Title
JP2009060477A (ja) * 2007-09-03 2009-03-19 Yasuaki Iwai 車載画像記録装置
JP2009065324A (ja) * 2007-09-05 2009-03-26 Nippon Telegr & Teleph Corp <Ntt> 画像提供装置、画像提供方法及び画像提供プログラム
JP2009147542A (ja) * 2007-12-12 2009-07-02 Canon Inc 再生装置
JP2011023882A (ja) * 2009-07-14 2011-02-03 Olympus Corp 通信端末
JP2011029852A (ja) * 2009-07-23 2011-02-10 Canon Inc 画像記録装置
JP2012098199A (ja) * 2010-11-04 2012-05-24 Aisin Aw Co Ltd 基準パターン情報生成装置、方法、プログラムおよび一般車両位置特定装置
JP2013026830A (ja) * 2011-07-21 2013-02-04 Panasonic Corp 画像処理装置およびこれを備えた原稿読取システム

Patent Citations (7)

* Cited by examiner, † Cited by third party
Publication number Priority date Publication date Assignee Title
JP2009060477A (ja) * 2007-09-03 2009-03-19 Yasuaki Iwai 車載画像記録装置
JP2009065324A (ja) * 2007-09-05 2009-03-26 Nippon Telegr & Teleph Corp <Ntt> 画像提供装置、画像提供方法及び画像提供プログラム
JP2009147542A (ja) * 2007-12-12 2009-07-02 Canon Inc 再生装置
JP2011023882A (ja) * 2009-07-14 2011-02-03 Olympus Corp 通信端末
JP2011029852A (ja) * 2009-07-23 2011-02-10 Canon Inc 画像記録装置
JP2012098199A (ja) * 2010-11-04 2012-05-24 Aisin Aw Co Ltd 基準パターン情報生成装置、方法、プログラムおよび一般車両位置特定装置
JP2013026830A (ja) * 2011-07-21 2013-02-04 Panasonic Corp 画像処理装置およびこれを備えた原稿読取システム

Cited By (8)

* Cited by examiner, † Cited by third party
Publication number Priority date Publication date Assignee Title
US10972694B2 (en) 2018-06-15 2021-04-06 Canon Kabushiki Kaisha Imaging apparatus, imaging system, and control method of imaging apparatus
JP2024164212A (ja) * 2019-03-29 2024-11-26 成典 田中 点群データ管理システム
JP7785878B2 (ja) 2019-03-29 2025-12-15 成典 田中 点群データ管理システム
JP2021068994A (ja) * 2019-10-21 2021-04-30 首都高技術株式会社 走行ルートの検索方法
JP2021100188A (ja) * 2019-12-23 2021-07-01 首都高技術株式会社 映像処理装置及び映像処理方法
WO2022091272A1 (ja) 2020-10-28 2022-05-05 日産自動車株式会社 電動車両の制御方法、及び電動車両の制御システム
JP7067852B1 (ja) 2022-02-01 2022-05-16 株式会社ファンクリエイト 路面損傷位置の算定方法
JP2023112536A (ja) * 2022-02-01 2023-08-14 株式会社ファンクリエイト 路面損傷位置の算定方法

Also Published As

Publication number Publication date
JP5901825B1 (ja) 2016-04-13

Similar Documents

Publication Publication Date Title
JP5948465B1 (ja) 映像処理システム及び映像処理方法
JP5901825B1 (ja) 映像処理装置及び映像処理方法
JP3466169B2 (ja) 道路や周辺施設等の管理システム
US20160202769A1 (en) Information processing apparatus, information processing method, and recording medium
US20160320203A1 (en) Information processing apparatus, information processing method, program, and recording medium
JP7035272B2 (ja) 撮影システム
JP3225434B2 (ja) 映像提示システム
JP5803723B2 (ja) 構造物点検支援方法、構造物点検支援プログラム及び構造物点検支援装置
CN102447886A (zh) 在现有静止图像内可视化视频
CN106998434A (zh) 一种移动视频轨迹在电子地图中与视频播放同步显示的方法
WO2021035756A1 (zh) 基于飞行器的巡检方法、设备及存储介质
WO2008116376A8 (zh) 一种便携式数字拍摄系统
JP6634502B2 (ja) 画像処理装置、画像処理方法及び画像処理プログラム
JP6647171B2 (ja) 情報処理装置、情報処理方法、及びプログラム
JP6731667B1 (ja) 走行ルートの検索方法
JP7048357B2 (ja) 撮影画像事前確認システム及び撮影画像事前確認方法
JP2021028813A (ja) 情報処理装置及び方法
KR101118926B1 (ko) 주, 야간 겸용 이동물체 관측시스템
JP6721915B1 (ja) 映像処理装置及び映像処理方法
JP7067852B1 (ja) 路面損傷位置の算定方法
JP7089364B2 (ja) 撮影システム
JP2008225353A (ja) 画像表示システム、画像表示方法、およびプログラム
KR100898157B1 (ko) 교통 상황 종합 감시시스템
JP7115263B2 (ja) 評価装置、調査システム、評価方法及びプログラム
JP2024063952A (ja) 支援情報作成装置、支援情報作成システム、支援情報作成方法、および支援情報作成プログラム

Legal Events

Date Code Title Description
A131 Notification of reasons for refusal

Free format text: JAPANESE INTERMEDIATE CODE: A131

Effective date: 20160112

A521 Request for written amendment filed

Free format text: JAPANESE INTERMEDIATE CODE: A523

Effective date: 20160115

A521 Request for written amendment filed

Free format text: JAPANESE INTERMEDIATE CODE: A523

Effective date: 20160112

TRDD Decision of grant or rejection written
A01 Written decision to grant a patent or to grant a registration (utility model)

Free format text: JAPANESE INTERMEDIATE CODE: A01

Effective date: 20160223

A61 First payment of annual fees (during grant procedure)

Free format text: JAPANESE INTERMEDIATE CODE: A61

Effective date: 20160308

R150 Certificate of patent or registration of utility model

Ref document number: 5901825

Country of ref document: JP

Free format text: JAPANESE INTERMEDIATE CODE: R150

R250 Receipt of annual fees

Free format text: JAPANESE INTERMEDIATE CODE: R250

R250 Receipt of annual fees

Free format text: JAPANESE INTERMEDIATE CODE: R250

R250 Receipt of annual fees

Free format text: JAPANESE INTERMEDIATE CODE: R250

R250 Receipt of annual fees

Free format text: JAPANESE INTERMEDIATE CODE: R250

R250 Receipt of annual fees

Free format text: JAPANESE INTERMEDIATE CODE: R250

R250 Receipt of annual fees

Free format text: JAPANESE INTERMEDIATE CODE: R250

R250 Receipt of annual fees

Free format text: JAPANESE INTERMEDIATE CODE: R250

R250 Receipt of annual fees

Free format text: JAPANESE INTERMEDIATE CODE: R250

S531 Written request for registration of change of domicile

Free format text: JAPANESE INTERMEDIATE CODE: R313531

R350 Written notification of registration of transfer

Free format text: JAPANESE INTERMEDIATE CODE: R350