JP2016532905A - 走査顕微鏡及び該走査顕微鏡のための音響光学メインビームスプリッタ - Google Patents

走査顕微鏡及び該走査顕微鏡のための音響光学メインビームスプリッタ Download PDF

Info

Publication number
JP2016532905A
JP2016532905A JP2016539528A JP2016539528A JP2016532905A JP 2016532905 A JP2016532905 A JP 2016532905A JP 2016539528 A JP2016539528 A JP 2016539528A JP 2016539528 A JP2016539528 A JP 2016539528A JP 2016532905 A JP2016532905 A JP 2016532905A
Authority
JP
Japan
Prior art keywords
crystal
illumination light
light
beam splitter
main beam
Prior art date
Legal status (The legal status is an assumption and is not a legal conclusion. Google has not performed a legal analysis and makes no representation as to the accuracy of the status listed.)
Granted
Application number
JP2016539528A
Other languages
English (en)
Other versions
JP6538694B2 (ja
Inventor
ヴァルダン クリシュナマチャリ ヴィシュヌ
ヴァルダン クリシュナマチャリ ヴィシュヌ
Current Assignee (The listed assignees may be inaccurate. Google has not performed a legal analysis and makes no representation or warranty as to the accuracy of the list.)
Leica Microsystems CMS GmbH
Original Assignee
Leica Microsystems CMS GmbH
Priority date (The priority date is an assumption and is not a legal conclusion. Google has not performed a legal analysis and makes no representation as to the accuracy of the date listed.)
Filing date
Publication date
Application filed by Leica Microsystems CMS GmbH filed Critical Leica Microsystems CMS GmbH
Publication of JP2016532905A publication Critical patent/JP2016532905A/ja
Application granted granted Critical
Publication of JP6538694B2 publication Critical patent/JP6538694B2/ja
Active legal-status Critical Current
Anticipated expiration legal-status Critical

Links

Images

Classifications

    • GPHYSICS
    • G02OPTICS
    • G02FOPTICAL DEVICES OR ARRANGEMENTS FOR THE CONTROL OF LIGHT BY MODIFICATION OF THE OPTICAL PROPERTIES OF THE MEDIA OF THE ELEMENTS INVOLVED THEREIN; NON-LINEAR OPTICS; FREQUENCY-CHANGING OF LIGHT; OPTICAL LOGIC ELEMENTS; OPTICAL ANALOGUE/DIGITAL CONVERTERS
    • G02F1/00Devices or arrangements for the control of the intensity, colour, phase, polarisation or direction of light arriving from an independent light source, e.g. switching, gating or modulating; Non-linear optics
    • G02F1/29Devices or arrangements for the control of the intensity, colour, phase, polarisation or direction of light arriving from an independent light source, e.g. switching, gating or modulating; Non-linear optics for the control of the position or the direction of light beams, i.e. deflection
    • G02F1/33Acousto-optical deflection devices
    • GPHYSICS
    • G01MEASURING; TESTING
    • G01JMEASUREMENT OF INTENSITY, VELOCITY, SPECTRAL CONTENT, POLARISATION, PHASE OR PULSE CHARACTERISTICS OF INFRARED, VISIBLE OR ULTRAVIOLET LIGHT; COLORIMETRY; RADIATION PYROMETRY
    • G01J3/00Spectrometry; Spectrophotometry; Monochromators; Measuring colours
    • G01J3/12Generating the spectrum; Monochromators
    • G01J3/1256Generating the spectrum; Monochromators using acousto-optic tunable filter
    • GPHYSICS
    • G02OPTICS
    • G02BOPTICAL ELEMENTS, SYSTEMS OR APPARATUS
    • G02B21/00Microscopes
    • G02B21/0004Microscopes specially adapted for specific applications
    • G02B21/002Scanning microscopes
    • G02B21/0024Confocal scanning microscopes (CSOMs) or confocal "macroscopes"; Accessories which are not restricted to use with CSOMs, e.g. sample holders
    • G02B21/0032Optical details of illumination, e.g. light-sources, pinholes, beam splitters, slits, fibers
    • GPHYSICS
    • G02OPTICS
    • G02BOPTICAL ELEMENTS, SYSTEMS OR APPARATUS
    • G02B21/00Microscopes
    • G02B21/0004Microscopes specially adapted for specific applications
    • G02B21/002Scanning microscopes
    • G02B21/0024Confocal scanning microscopes (CSOMs) or confocal "macroscopes"; Accessories which are not restricted to use with CSOMs, e.g. sample holders
    • G02B21/0052Optical details of the image generation
    • G02B21/0064Optical details of the image generation multi-spectral or wavelength-selective arrangements, e.g. wavelength fan-out, chromatic profiling
    • GPHYSICS
    • G02OPTICS
    • G02BOPTICAL ELEMENTS, SYSTEMS OR APPARATUS
    • G02B21/00Microscopes
    • G02B21/0004Microscopes specially adapted for specific applications
    • G02B21/002Scanning microscopes
    • G02B21/0024Confocal scanning microscopes (CSOMs) or confocal "macroscopes"; Accessories which are not restricted to use with CSOMs, e.g. sample holders
    • G02B21/0052Optical details of the image generation
    • G02B21/0068Optical details of the image generation arrangements using polarisation
    • GPHYSICS
    • G02OPTICS
    • G02BOPTICAL ELEMENTS, SYSTEMS OR APPARATUS
    • G02B27/00Optical systems or apparatus not provided for by any of the groups G02B1/00 - G02B26/00, G02B30/00
    • G02B27/28Optical systems or apparatus not provided for by any of the groups G02B1/00 - G02B26/00, G02B30/00 for polarising
    • G02B27/283Optical systems or apparatus not provided for by any of the groups G02B1/00 - G02B26/00, G02B30/00 for polarising used for beam splitting or combining
    • GPHYSICS
    • G02OPTICS
    • G02FOPTICAL DEVICES OR ARRANGEMENTS FOR THE CONTROL OF LIGHT BY MODIFICATION OF THE OPTICAL PROPERTIES OF THE MEDIA OF THE ELEMENTS INVOLVED THEREIN; NON-LINEAR OPTICS; FREQUENCY-CHANGING OF LIGHT; OPTICAL LOGIC ELEMENTS; OPTICAL ANALOGUE/DIGITAL CONVERTERS
    • G02F1/00Devices or arrangements for the control of the intensity, colour, phase, polarisation or direction of light arriving from an independent light source, e.g. switching, gating or modulating; Non-linear optics
    • G02F1/01Devices or arrangements for the control of the intensity, colour, phase, polarisation or direction of light arriving from an independent light source, e.g. switching, gating or modulating; Non-linear optics for the control of the intensity, phase, polarisation or colour 
    • G02F1/11Devices or arrangements for the control of the intensity, colour, phase, polarisation or direction of light arriving from an independent light source, e.g. switching, gating or modulating; Non-linear optics for the control of the intensity, phase, polarisation or colour  based on acousto-optical elements, e.g. using variable diffraction by sound or like mechanical waves
    • G02F1/116Devices or arrangements for the control of the intensity, colour, phase, polarisation or direction of light arriving from an independent light source, e.g. switching, gating or modulating; Non-linear optics for the control of the intensity, phase, polarisation or colour  based on acousto-optical elements, e.g. using variable diffraction by sound or like mechanical waves using an optically anisotropic medium, wherein the incident and the diffracted light waves have different polarizations, e.g. acousto-optic tunable filter [AOTF]

Landscapes

  • Physics & Mathematics (AREA)
  • General Physics & Mathematics (AREA)
  • Optics & Photonics (AREA)
  • Nonlinear Science (AREA)
  • Chemical & Material Sciences (AREA)
  • Analytical Chemistry (AREA)
  • Spectroscopy & Molecular Physics (AREA)
  • Microscoopes, Condenser (AREA)
  • Optical Modulation, Optical Deflection, Nonlinear Optics, Optical Demodulation, Optical Logic Elements (AREA)
  • Investigating Or Analysing Materials By Optical Means (AREA)
  • Investigating, Analyzing Materials By Fluorescence Or Luminescence (AREA)

Abstract

本発明は、走査顕微鏡のための音響光学メインビームスプリッタに関するものであり、この音響光学メインビームスプリッタは、事前に選択された又は事前に選択可能な照明光波長の照明光を、試料を照明するための照明光ビームパスに向け、且つ、試料から到来する検出光を検出光ビームパスに向けるように構成されており、またそのように動作する。この音響光学メインビームスプリッタは以下の特徴を備えている。つまり、音響光学メインビームスプリッタにおいて、照明光波長に対応付けられている音響周波数の1つの力学的な波が伝播されるか、又は、照明光波長に対応付けられており、且つ、同一の音響周波数を有している複数の力学的な波が伝播され、試料から到来する検出光束から、1つの力学的な波との相互作用によって、又は、複数の力学的な波との相互作用によって、検出光束の、第1の直線偏光方向及び照明光波長を有している成分も、検出光束の、第1の直線偏光方向に対して垂直な第2の直線偏光方向及び照明光波長を有している成分も偏向されて、前記検出光束から除去される、及び/又は、1つの力学的な波との相互作用によって、又は、複数の力学的な波との相互作用によって、第1の直線偏光方向及び事前に選択された照明光波長を有している照明光の成分も、第1の直線偏光方向とは異なる、特に第1の直線偏光方向に対して垂直な第2の直線偏光方向及び事前に選択された照明光波長を有している照明光の成分も、試料を照明するための照明光ビームパスへと向けられる。

Description

本発明は、走査顕微鏡のための音響光学メインビームスプリッタに関するものであり、この音響光学メインビームスプリッタは、事前に選択された又は事前に選択可能な照明光波長の照明光を、試料を照明するための照明光ビームパスに向け、且つ、試料から到来する検出光を検出光ビームパスに向けるように構成されており、またそのように動作する。
走査顕微鏡では、試料が光ビームによって照明され、それによって試料から放射される反射光又は蛍光が観測される。照明光ビームの焦点は、制御可能なビーム偏向装置を用いて、一般的に2つのミラーの傾斜させることによって、対象平面において移動される。多くの場合、偏向軸は相互に垂直であり、従って一方のミラーはx方向において偏向され、他方のミラーはy方向において偏向される。ミラーの傾斜は例えばガルバノメータ位置決め素子によって行われる。対象物から到来する光の出力は、走査ビームの位置に依存して測定される。通常の場合、位置決め素子には目下のミラー位置を求めるためのセンサが備えつけられている。
特に、共焦点走査顕微鏡では、光ビームの焦点を用いて対象物が3次元で走査される。共焦点走査顕微鏡は、一般的に、光源と、光源の光を絞り(いわゆる励起ピンホール)に焦点合わせする際に用いられるフォーカシング光学系と、ビームスプリッタと、ビームを制御するためのビーム偏向装置と、顕微鏡光学系と、検出絞りと、検出光又は蛍光を検出する検出器と、を有している。照明光は、例えばビームスプリッタを介して入射される。
対象物から到来する蛍光は、ビーム偏向装置を介してビームスプリッタへと戻され、更にそのビームスプリッタを通過し、続いて、検出絞りに焦点合わせされる。検出絞りの後段には検出器が設けられている。焦点領域には直接的に由来しない検出光は別の光路を進み、従って検出絞りは通過しないので、その結果、スポット点情報が取得され、このスポット情報は、対象物の連続的な走査によって3次元画像がもたらされる。
蛍光顕微鏡では、蛍光だけを検出できるようにするために、試料において反射及び散乱された照明光の成分が検出光から除去されなければならない。このために、従来の顕微鏡では、ダイクロイックフィルタ、いわゆるメインビームスプリッタが使用される。
その種のビームスプリッタの代わりに、少なくとも1つの光源の励起光を顕微鏡に入射させ、且つ、対象物において散乱及び反射された励起光又は励起波長を、検出ビームパスを介して対象物より到来する光から遮蔽するために、音響光学コンポーネントとして構成されている光学装置を設けることもできる。このことは例えば独国の出願公告明細書、独国特許出願公開第199 06 757号明細書から公知である。この刊行物から公知の光学装置は、非常に簡単な構造での可変の構成を実現するために、スペクトル選択素子によって種々の波長の励起光を遮蔽できることを特徴としている。択一的に、その種の光学装置は、スペクトル選択素子を遮蔽すべき励起波長に合わせて調整できることを特徴としている。
その種の音響光学コンポーネントの機能は、実質的に、照明光と力学的な波との相互作用を基礎としている。幾つかの音響光学コンポーネントでは、例えばAOTFでは、所望の照明光波長の光に関してブラッグの条件が厳密に満たされているようにするために、力学的な波が厳密に規定された周波数を有していなければならない。ブラッグの条件が満たされていない光は、この音響光学コンポーネントでは、力学的な波によって偏向されない。複数の波長の光が試料を照明するための照明光として使用される場合、異なる周波数を有する複数の力学的な波も同時に形成されなければならない。
音響光学コンポーネントは、通常の場合、電気的な変換器(文献においてはトランスデューサと称されることが多い)が取り付けられている、いわゆる音響光学結晶から構成されている。変換器は通常の場合、圧電材料と、その圧電材料の上下に設けられている電極と、を含んでいる。典型的には30MHzから800MHzの間の範囲にある無線周波数を用いて電極を電気的に活性化させることによって、圧電材料が振動され、その結果、音響的な波を、即ち音波を生じさせることができ、この音波は発生後に結晶を通過する。多くの場合、音響的な波は、光学的な相互作用領域を通過した後に、反対側に位置する結晶面において吸収されるか、又は、入射方向とは異なる方向へと反射されるので、光にもはや影響は及ぼされない。
音響光学結晶は、生じた音波によって結晶の光学特性が変化することを特徴としており、その際、音響によって一種の光学格子又は同等の光学的にアクティブな構造、例えばホログラムが誘導される。結晶を通過した光は光学格子において回折される。相応に、光は種々の回折次数で種々の回折方向へと偏向される。入射する光全体に多かれ少なかれ、波長に依存せずに影響を及ぼす、音響光学コンポーネントが存在する。これについては、例えばAOM(acousto optical modulator)、AOD(acousto optical deflector)、周波数シフタのようなコンポーネントがあることを示唆するにとどめる。
更に、例えば放射される無線周波数に依存して個々の波長に選択的に作用するコンポーネント(AOTF)も既に存在している。音響光学素子は、例えば二酸化テルリウムのような複屈折結晶から形成されることが多く、光の入射方向及びその光の偏光に対する結晶軸の姿勢は各素子の光学作用を決定する。これらの関係は、例えば独国特許出願公開第10 2006 053 187号明細書から公知である。
メインビームスプリッタとしての音響光学コンポーネントを有している走査顕微鏡の動作様式は、独国特許出願公開第101 37 155号明細書に詳細に記載されている。この刊行物には、接線方向に偏光された照明光を偏向させる第1のAOTFの力学的な波が、接線方向の直線偏光方向を有している照明光波長の成分だけを検出光から完全に除去できることも記載されている。もっとも検出光は、矢状方向の偏光方向を有している成分も、接線方向の偏光方向を有している成分も含んでいる。
この理由から、音響光学コンポーネントの後段には、別の音響光学コンポーネントとして形成されている補償素子が設けられている。この別の音響光学コンポーネントもやはりAOTFとして形成されており、別の周波数の別の電磁高周波を用いる別の高周波源によって制御される。別の電磁高周波のHF周波数は、照明光の波長及び矢状方向の偏光方向を有している検出光の成分が遮蔽されるように選択されている。この方式は、検出光から遮蔽すべき、矢状方向の偏光方向を有している光に関して、力学的な波における回折のためのブラッグの条件は、その力学的な波が接線方向の偏光方向を有している光の周波数とは異なる周波数を有している場合にしか満たされないことから必要となる。従って、顕微鏡は、異なる周波数の2つの力学的な波を同時に形成するために、各照明光波長に対して2つの異なるHF周波数を提供しなければならない。更に、別の音波発生器を備えている別の音響光学コンポーネントが必須となる。例えば、4つの波長の照明光を用いて照明が行われるならば、8つの電磁高周波が同時に提供され、それにより、2つの音響光学コンポーネントにおいて分散的に、異なる周波数の8つの力学的な波が形成される場合にのみ、蛍光検出が可能となる。
従来のダイクロイックメインビームスプリッタを使用しても観測することができない原因不明の妨害的な縞が像に頻繁に発生するということは非常に深刻な問題である。
従って、本発明の課題は、使用時に妨害的な縞が発生しない、音響光学メインビームスプリッタを提供することである。
この課題は、以下の特徴を備えている音響光学メインビームスプリッタによって解決される。つまり、音響光学メインビームスプリッタにおいて、照明光波長に対応付けられている音響周波数の1つの力学的な波が伝播されるか、又は、照明光波長に対応付けられており、且つ、同一の音響周波数を有している複数の力学的な波が伝播され、
a.試料から到来する検出光束から、1つの力学的な波との相互作用によって、又は、複数の力学的な波との相互作用によって、検出光束の、第1の直線偏光方向及び照明光波長を有している成分も、検出光束の、第1の直線偏光方向に対して垂直な第2の直線偏光方向及び照明光波長を有している成分も偏向されて、検出光束から除去される、及び/又は、
b.1つの力学的な波との相互作用によって、又は、複数の力学的な波との相互作用によって、第1の直線偏光方向及び事前に選択された照明光波長を有している照明光の成分も、第1の直線偏光方向とは異なる、特に第1の直線偏光方向に対して垂直な第2の直線偏光方向及び事前に選択された照明光波長を有している照明光の成分も、試料を照明するための照明光ビームパスに向けられる。
本発明によれば先ず、上述の妨害的な縞は、個々の力学的な波の周波数領域が相互に重畳すると生じる「うなり」に起因しており、これは最終的に、試料及び/又は検出器に到来する光の光出力に周期的な変動をもたらすことが分かった。この問題は、特に、力学的な波がその性質上、無限に狭い音響周波数を、即ち単一の音響周波数を有することができずに、むしろ中心周波数を軸として常に周波数領域が存在しているという事実に基づいている。それにもかかわらず本明細書においては、分かり易くするために音響周波数という用語を用いており、これはその都度、中間周波数を意味している。
本発明によれば、有利には、電磁高周波が印加されることによって音響光学メインビームスプリッタにおいて生じる熱出力が、従来技術から公知の音響光学メインビームスプリッタにおいて生じる熱出力よりも遙に低くなる。つまり、照明波長毎にそれぞれ2つの力学的な波が入射されることによって、非常に大きい熱出力が1つ又は複数の結晶に注入される。このことは、最終的に回折効率を低下させ、ひいては、不可避の温度変動によって偏光方向も変動させ、従って試料及び検出器に到来する光の光出力も変動させる。これら全ての欠点は、本発明による音響光学メインビームスプリッタでは回避されるか、又は少なくとも実質的に低減される。
以下では、分かり易くするために先ず、単一の照明光波長の光だけが照明光ビームパスに結合される場合、及び/又は、単一の照明光波長を有している成分だけが、試料から到来する検出光から除去される場合に、本発明による音響光学メインビームスプリッタがどのように機能するかを、特に種々の実施例に基づき説明する。しかしながら下記において更に詳細に説明するように、本発明が基礎とする原理は、複数の照明光波長の照明光が同時に照明光ビームパスに向けられるべき場合、及び/又は、複数の照明光波長の成分が同時に試料から到来する検出光から除去されるべき場合に、それぞれ同一の装置において共通して何度も適用することも可能であり、その際、各照明光波長に対しては、照明光波長に固有のそれぞれ1つの音響周波数の少なくとも1つの固有の力学的な波が必要とされる。
本発明による音響光学メインビームスプリッタは更に、1つ又は複数の音響周波数を単純に変更することによって、別の1つ又は複数の波長の光を偏向させることができることから、音響光学メインビームスプリッタが設けられている顕微鏡を非常に個別的に使用することができる、という利点を提供する。
本発明が基礎とする本質的な着想、即ち、事前に決定された又は事前に決定可能な波長の照明光及び/又は検出光を、その偏光に依存せずに、波長に対応付けられている単一の音響周波数を使用して、照明光ビームパス又は検出光ビームパスに向けるという着想を、種々のやり方で実現することができる。
つまり、例えば、対応付けられた音響周波数の力学的な波が伝播し、且つ、所定の波長の光がその偏光に依存せずに偏向される単一の結晶を使用することができる。しかしながら、音響光学メインビームスプリッタにおいて複数の結晶を、特に2つの結晶を使用することも可能である。以下では、考えられる多数の構成のヴァリエーションの中から例示的に幾つかの構成を説明する。
特に簡単に実現可能な1つの実施の形態においては、2つの結晶が設けられており、それらの結晶においてはそれぞれ1つの力学的な波が伝播され、その際、力学的な波は同一の音響周波数を有しているが、しかしながら結晶は、その他のパラメータに関して、例えば結晶カット面及び/又は結晶方位及び/又は力学的な波及び光の伝播方向に関して、相互に異なっており、且つ、2つの結晶のうちの第1の結晶においては、第1の直線偏光方向を有している所定の波長の光が偏向され、それに対し、2つの結晶のうちの第2の結晶においては、特に第1の直線偏光方向に対して垂直な第2の直線偏光方向を有している所定の波長の光が偏向されるように、相互に調整されている。
結晶のそのような配置構成を有しているその種の音響光学メインビームスプリッタにおいては、有利には、照明光を照明光ビームパスに入射させるための複数の入光部を設けることができる。特に、有利には、異なる直線偏光方向の照明光が入射され、照明光ビームパスに向けられる。しかしながら、偏光されていない一次光を受光し、少なくとも、1つ又は複数の所定の波長の成分を、必要に応じて1つの結晶の異なる入光部を介して、又は複数の結晶の異なる入光部を介して、試料を照明するための照明光ビームパスに向けることも可能である。その種の音響光学メインビームスプリッタは、例えば、偏光ビームスプリッタを有することができ、この偏光ビームスプリッタは偏光されていない一次光を受光し、また直線偏光方向に依存して空間的に分割することができ、それによって、生じた照明光束には、1つ又は複数の結晶の異なる入光部を介して、1つの力学的な波又は複数の力学的な波を作用させることができる。
1つの特別な構成においては、音響光学メインビームスプリッタは、検出光束が連続的に通過するように配置されている、第1の結晶及び第2の結晶を有している。第1の結晶内に存在し、且つ、音響周波数を有している第1の力学的な波との相互作用によって、第1の直線偏光方向及び照明光波長を有している成分が偏向されて、検出光束から除去される。同様に、第2の結晶内に存在し、且つ、音響周波数を有している第2の力学的な波との相互作用によって、第2の直線偏光方向及び照明光波長を有している成分が偏向されて、検出光束から除去される。
その種の実施の形態は、複数ある結晶のうちの少なくとも1つの結晶が、例えば調整可能な音響光学フィルタ(acousto optical tunable filter:AOTF)に対して使用されるような、市販の結晶であって良いという極めて重要な利点を有している。その場合有利には、その他の結晶も別のパラメータに関して、第1の結晶の音響周波数と同一の音響周波数を有している力学的な波が、同一の波長を有しているが異なる直線偏光方向を有している光に作用するように形成されている。
第1の結晶が市販の結晶であるか、又は特別に製造された結晶であるかに依存せずに、有利には、第1の結晶を形状及び/又はサイズ及び/又は結晶カット面の点に関して第2の結晶と異ならせることができる。択一的又は付加的に、第1の結晶の格子構造に対する検出光束の伝播方向の配向を、第2の結晶の格子構造に対する検出光束の伝播方向の配向とは異ならせることができる、及び/又は、第1の結晶の格子構造に対する第1の力学的な波の伝播方向の配向を、第2の結晶の格子構造に対する第2の力学的な波の伝播方向の配向とは異ならせることができる。
音響光学メインビームスプリッタが2つの結晶を有している特別な実施の形態においては、有利には、検出光束を先ず第1の結晶を通過させ、続けて第2の結晶を通過させ、また、第1の結晶の力学的な波との相互作用によって、照明光波長の照明光を照明光ビームパスに向けることができる。択一的又は付加的に、検出光束を先ず第1の結晶を通過させ、続けて第2の結晶を通過させ、また、第2の結晶の力学的な波との相互作用によって、照明光波長の照明光を照明光ビームパスに向けることができる。
結晶のそのような配置構成を有しているその種の音響光学メインビームスプリッタにおいても、有利には、照明光を照明光ビームパスに入射させるための複数の入光部を設けることができる。特に、有利には、異なる直線偏光方向の照明光が入射され、照明光ビームパスに向けられる。その種の実施の形態においても、偏光されていない一次光を受光し、少なくとも、1つ又は複数の所定の波長の成分を、必要に応じて1つ又は複数の結晶の異なる入光部を介して、試料を照明するための照明光ビームパスに向けることも可能である。特に、その種の音響光学メインビームスプリッタも、例えば、偏光ビームスプリッタを有することができ、この偏光ビームスプリッタは偏光されていない一次光を受光し、また直線偏光方向に依存して空間的に分割することができ、それによって、生じた照明光束には、1つ又は複数の結晶の異なる入光部を介して、1つの力学的な波又は複数の力学的な波を作用させることができる。
前述の実施の形態の代替的な実施の形態として、音響光学メインビームスプリッタが、光の事前に選択された波長に対応付けられている音響周波数を有している力学的な波が伝播する結晶を1つだけ有していることも考えられる。
その種の実施の形態は、有利には、結晶及び力学的な波の伝播方向が、以下のように相互に相対的に、また、それぞれが結晶に入射する検出光束に相対的に配向されているように構成されている。つまり、音響光学メインビームスプリッタが、力学的な波によって、検出光束の、第1の直線偏光方向及び照明光波長を有している成分も、検出光束の、第1の直線偏光方向に対して垂直な第2の直線偏光方向及び照明光波長を有している成分も偏向させて、検出光束から除去するように配向されている。
特に、結晶内では第1の直線偏光方向の検出光を第1の方向へと偏向させ、それに対して、特に第1の直線偏光方向に対して垂直な第2の直線偏光方向の検出光を別の第2の方向へと偏向させることができる。択一的又は付加的に、第1の直線偏光方向の照明光を、音響光学メインビームスプリッタの第1の入光部へと入射させ、それに対して、第2の直線偏光方向の光を、音響光学メインビームスプリッタの第2の入光部へと入射させることも可能である。
音響光学ビームスプリッタの特別な実施の形態に依存せずに、しかしながら、特に力学的な波が1つの照明光波長及び2つの直線偏光方向を有している光成分に作用する音響光学ビームスプリッタにおいては、有利には、メインビームスプリッタのビームガイドコンポーネントは、検出光束の残存部分が音響光学メインビームスプリッタから共線的に出射される、及び/又は、所望の波長の全ての照明光束は、その偏光方向に依存せずに、その照明光束が向けられた照明光ビームパスにおいて共線的に統合される。
その種の音響光学メインビームスプリッタの具体的な構造、特に1つ又は複数の力学的な波の伝播方向及び検出光束の伝播方向に相対的な結晶の配向、並びに、1つ又は複数の力学的な波及び検出光束の相互に相対的な配向、また、入射面及び出射面の相互的な配向及び結晶の光学軸に対する入射面及び出射面の配向を、特に分割された照明光が音響光学メインビームスプリッタ及び/又は結晶から共線的な照明光束として出射される構成に関して、例えば、下記において説明する反復的な方法に従い発展させることができ、この方法は有利には、実際の構成部材に基づいてではなく、コンピュータシミュレーションにおいて実行され、これは結晶形状、面及び結晶格子の配向の個々のパラメータ、力学的な波の伝播方向の配向、及び、検出光及び/又は照明光の伝播方向が所望の要求に応じるまで行われる。もっとも、この方法は実際の構成部材に基づいても実現することは可能であると考えられる。コンピュータシミュレーションにおいて関連する全てのパラメータがこのようにして求められると、続けて、結晶が別のステップにおいて製造される。
先ず、公知の通常の結晶カット面及び公知の配向を有している音響光学構成部材が、例えば市販のAOTFが、90°の入射角で検出光束を結晶の入射面へと入射させるように、顕微鏡のビームパスに導入される。続いて、結晶は有利には、入射する検出光束及び力学的な波の伝播方向によって張られている平面において、1つ又は複数の力学的な波を有している検出光束から、1つ又は複数の照明光波長の2つの直線偏光成分が偏向されて、検出光束から除去されるまで、十分に回転され、従って、力学的な波の伝播方向と結晶軸との間の角度も変更される。
もっとも、通常の場合、回転によって、放出された検出光の共線性が失われることにある。この理由から、後続の反復ステップにおいては、結晶を回転させることなく、入射面が入射する検出光束に対して再び垂直になるように、結晶の形状が変更される。更なるステップにおいては、結晶を回転させるのではなく、結晶の形状を変更することによって、検出光が共線的な検出光束として結晶から出射されるように、検出光のための出射面が配向される。
もっとも、結晶の形状を変更することによって、通常の場合、力学的な波によって、1つ又は複数の照明光波長の2つの各直線偏光成分はもはや偏向されずに検出光束から除去されることになる。このことから、結晶はこの条件が再び満たされるまで、再び回転される。続いて、既に説明した別の反復ステップが繰り返される。
2つの直線偏光成分が同時に偏向する条件と、共線的な光の出射の条件とが満たされるまで、反復サイクルが複数回実行される。通常の場合、本方法は非常に高速に収束されるので、小数の反復サイクルが実行された後には目的が達成されている。
1つの特別な実施の形態においては、結晶の回転時に、検出光の直線偏光方向に関して、照明光波長を有している全ての一次回折光が共線的に結晶から出射されることがその都度顧慮される。その種の実施の形態は、その都度ただ1つの力学的な波が、異なる直線偏光のそれぞれ2つの成分を検出光束から除去できるという利点だけではなく、更には、上述の共線性が生じる一次回折の光路を介して、多色の照明光を共線的に照明光ビームパスに回折させることができるという利点も提供する。
更に上記において説明したように、音響光学メインビームスプリッタが、光の事前に選択された複数の波長のうちの1つに対応付けられている音響周波数を有しており、且つ、事前に選択された波長の光にその偏光に依存せずに作用する力学的な波が伝播する結晶を1つだけ有していることも可能である。
本発明による音響光学メインビームスプリッタの1つの特別な実施の形態においては、その種の2つの結晶が相前後して設けられており、それによって、それら2つの結晶を検出すべき検出光が連続的に通過する。その種の実施の形態は、試料から到来する検出光からの、1つ又は複数の照明光波長を有している光成分の除去に関して非常に良好な効率を提供する。更には、その種の実施の形態は有利には、別の照明光束を顕微鏡の照明光ビームパスへと入射させるための付加的な入射の可能性を提供する。特に、複数の結晶を備えているその種の実施の形態は、複数の照明光束を顕微鏡の照明光ビームパスへと同時に入射させることができる。
特に、その種の配置構成の第1の結晶においても、第2の結晶においても、所定の波長の光をその偏光に依存せずに偏向させる力学的な波がそれぞれ1つずつ伝播されるが、その際、結晶内を伝播する力学的な波の音響周波数は異なっていても良い。むしろ、相前後して設けられている音響光学コンポーネントの構造を、特に、結晶の構造及び配向を、音響周波数を有している、第1の結晶内を伝播する力学的な波も、音響周波数を有している、第2の結晶内を伝播する力学的な波も、それぞれ偏光に依存せずに、照明光波長の光に作用するように異ならせることも可能である。
既に説明したように、有利には、検出光束の残存部分が音響光学メインビームスプリッタから共線的に出射されるように、メインビームスプリッタのビームガイドコンポーネントを配置及び構成することができる。
音響光学メインビームスプリッタは、有利には、第1の直線偏光方向が、結晶の複屈折特性に関する通常光の直線偏光方向であるように構成されている。択一的又は付加的に、第2の直線偏光方向を、結晶の複屈折特性に関する通常光の直線偏光方向とすることができる、及び/又は、第1の直線偏光方向又は第2の直線偏光方向を、力学的な波の伝播方向及び検出光束の伝播方向によって張られている平面内に配置することができる。
本発明によれば有利には、音響光学メインビームスプリッタが、試料を照明するための、特に複数の異なる照明光束を顕微鏡の照明光ビームパスに向けるための多数の可能性を提供するように構成されている。特に有利には、音響光学メインビームスプリッタが複数の一次光束を入射させるための複数の入光部を有しており、それらの入光部からそれぞれ、事前に設定された又は事前に設定可能な1つの波長の照明光、又は、事前に設定された又は事前に設定可能な複数の波長の照明光を分割することができ、且つ、照明光ビームパスに向けることができる。
例えば、1つの特別な実施の形態においては、音響光学メインビームスプリッタが第1の結晶及び第2の結晶を有しており、それらの結晶は特に、検出光束が連続的に通過するように配置されており、その際、第1の結晶内に存在し、且つ、音響周波数を有している第1の力学的な波との相互作用によって、第1の直線偏光方向及び照明光波長を有している照明光が試料を照明するために照明光ビームパスに向けられ、また、第2の結晶内に存在し、且つ、音響周波数を有している第2の力学的な波との相互作用によって、第1の直線偏光方向とは異なる第2の直線偏光方向及び照明光波長を有している照明光が試料を照明するための照明光ビームパスに向けられる。
択一的に、結晶内を伝播する力学的な波との相互作用によって、第1の多色の、有利には共線的な、第1の直線偏光方向を有している一次光束からも、第2の多色の、有利には共線的な、第1の直線偏光方向とは異なる、特に、第1の直線偏光方向に対して垂直な第2の直線偏光方向を有している一次光束からも、それぞれ、力学的な波の周波数に対応付けられている照明光波長の照明光を分割し、試料を照明するために照明光ビームパスに向けるように音響光学メインビームスプリッタを構成することができるか、又は、結晶内を伝播する力学的な波との相互作用によって、第1の直線偏光方向及び照明光波長を有している照明光も、特に第1の直線偏光方向に対して垂直な別の第2の直線偏光方向及び照明光波長を有している照明光も、試料を照明するための照明光ビームパスに向けるように音響光学メインビームスプリッタを構成することができる。
本発明によるメインビームスプリッタを用いることによって、波長及び/又は偏光に関して相互に異ならせることができる種々の照明光成分を、試料を照明するための照明光ビームパスに向け、例えば分解能を高める特別な効果を惹起させることができる。特に、本発明によるメインビームスプリッタは、STED(Stimulated Emission Depletion)顕微鏡の分野において、又は、CARS(Coherent Anti Stokes Raman Spectroscopy)顕微鏡の分野において、又は、SRS(Stimulated Raman Scattering)顕微鏡の分野において、又は、CSRS(Coherent Stokes Raman Scattering)顕微鏡の分野において、又は、Rikes(Raman induced Kerr−Effect Scattering)顕微鏡の分野において、有利に使用することができる。
既に説明したように、音響光学メインビームスプリッタは、単一の波長の光を偏向させることに限定されるものではない。むしろ、音響光学メインビームスプリッタは、それぞれが異なる音響周波数によって特徴付けられている複数の力学的な波を用いて、検出光束から、試料において散乱及び/又は反射された、音響周波数に対応付けられている複数の照明光波長の照明光の成分を除去することができる。
1つの特別な実施の形態においては、音響光学メインビームスプリッタが第1の結晶及び第2の結晶を有しており、第1の結晶においては、それぞれが異なる照明光波長に対応付けられている異なる音響周波数によって特徴付けられている複数の力学的な波を用いて同時的に、第1の直線偏光方向及び音響周波数に対応付けられている複数の照明光波長を有している、試料において散乱及び/又は反射された照明光の成分が、検出光束から偏向され、また、第2の結晶においては、第1の結晶の力学的な波と同じ音響周波数を有している複数の力学的な波を用いて同時的に、第1の直線偏光方向とは異なる第2の直線偏光方向及び音響周波数に対応付けられている複数の照明光波長を有している、試料において散乱及び/又は反射された照明光の成分が、検出光束から偏向される。
より多くの色用途に関しては、既に説明したように有利には、メインビームスプリッタにおいては、特にメインビームスプリッタの結晶においては、それぞれが異なる照明光波長に対応付けられている異なる音響周波数によって特徴付けられている複数の力学的な波を同時に伝播させることができ、複数の力学的な波の各々は、その周波数に対応付けられている照明光波長を有しており、且つ第1の直線偏光方向を有している成分も、第1の直線偏光方向に対して垂直な第2の直線偏光方向を有している成分もそれぞれ偏向させて、検出光から除去することができる。
この際、特に、複数の力学的な波は同一の伝播方向を有している、及び/又は、同一の音波発生器によって形成されている。音波発生器は、有利には、結晶の外面に取り付けられており、力学的な波の伝播方向は、結晶及び結晶の格子構造に相対的に、結晶本体に対する結晶カット面によって規定することができる外面の配向によって決定されている。
有利には、音響光学メインビームスプリッタは複数の力学的な波を用いて、少なくとも1つの光源の多色の一次光から、複数の照明光波長の照明光を分割させ、試料を照明するために、照明光ビームパスに向けることができる。特に、音響光学メインビームスプリッタは複数の力学的な波を用いて、多色の、有利には共線的な一次光束から、試料を照明するための複数の照明光波長の照明光を分割させ、試料を照明するために、照明光ビームパスに向けることができる。
上記において力学的な波に関して既に説明したように、有利には、音響光学メインビームスプリッタは異なる音響周波数を有している複数の力学的な波を用いて、その都度、多色の、有利には共線的な、第1の直線偏光方向を有している少なくとも1つの光源の第1の一次光束からも、多色の、有利には共線的な、第1の直線偏光方向に対して垂直な第2の直線偏光方向を有している少なくとも1つの光源の第2の一次光束からも、それぞれ複数の波長の照明光を分割させ、試料を照明するために照明光ビームパスに向けることができ、その際、各力学的な波の周波数にはそれぞれ複数ある照明光波長のうちの1つが対応付けられている。
非常に特別な多面的に使用することができる実施の形態においては、音響光学メインビームスプリッタ及び/又はメインビームスプリッタの結晶が、試料を照明するための事前に選択された又は事前に選択可能な波長の照明光を分割することができる、第1の直線偏光方向の第1の一次光束のための第1の入光部と、試料を照明するための事前に選択された又は事前に選択可能な波長の照明光を分割することができる、特に第1の直線偏光方向に対して垂直な別の直線偏光方向の第2の一次光束のための第2の入光部と、を有している。特に有利には、第1の一次光束及び第2の一次光束を、偏光ビームスプリッタを用いた、例えば白色光源の偏光されていない一次光束の空間的な分割によって生じさせることができる。
また、音響光学メインビームスプリッタは、例えばフォトニック導光ファイバを含んでいる白色光源の一次光束を、第1の直線偏光方向を有している第1の成分と、特に第1の直線偏光方向に対して垂直な別の第2の直線偏光方向を有している成分と、に空間的に分割するための偏光ビームスプリッタを有することができる。
同様に既に説明したように、有利には、照明光ビームパスに向けられた照明光を、音響光学メインビームスプリッタ及び/又は音響光学メインビームスプリッタの結晶から、共線的な照明光束として出射させることができる。その限りにおいて、音響光学メインビームスプリッタを、同一の波長を有するが、しかしながら異なる直線偏光を有している照明光のためのビームコンバイナとして機能させることができる。この実施の形態は、単一の対物レンズを用いて、また有利には対物レンズの瞳全体を照明して、試料表面又は試料内に照明光を焦点合わせすることができるという利点を有している。
1つの特別な実施の形態においては、力学的な波が伝播する、音響光学メインビームスプリッタの結晶が、検出光のための入射面を有しており、特に、検出光を0°の入射角で入射させることができる。
特に、択一的又は付加的に、力学的な波が伝播する、音響光学メインビームスプリッタの結晶が、検出光のための出射面を有することができる、及び/又は、力学的な波が伝播する、音響光学メインビームスプリッタの結晶が、検出光のための出射面を有しており、この出射面を介して検出光を0°の出射角で結晶から出射させることができる。
1つの特別な実施の形態においては、力学的な波が伝播する、音響光学メインビームスプリッタの結晶が、検出光のための、入射面と、その入射面に対して平行に配向されている出射面と、を有している。
1つの極めて有利な実施の形態においては、音響光学メインビームスプリッタの結晶が、少なくとも1つの光源の一次光のための入射面を有している。既に説明したように、光源を有利には、例えばマイクロ構造化ファイバ及び/又はPBGファイバを用いて広範なスペクトルを有する一次光を放出する光源とすることができ、それによって、音響光学メインビームスプリッタを用いて、その都度、所望の波長の光成分を顕微鏡の照明光ビームパスに向けることができる。有利には、所望の照明光の偏向は、一次回折への1つの力学的な波(又は複数の波長の光が照明光として所望されている場合には複数の力学的な波)における回折によって行われ、他方、残存光は(1つ又は複数の)力学的な波と相互作用せずにビームトラップに到達する。
1つの特別な実施の形態においては、音響光学メインビームスプリッタの結晶が、少なくとも1つの光源の一次光のための少なくとも1つの入射面を有しており、この入射面は同時に検出光のための出射面でもある。
特に、音響光学メインビームスプリッタの結晶は、同時に検出光のための入射面でもある、照明光のための出射面を有している、及び/又は、音響光学メインビームスプリッタの結晶は、少なくとも1つの光源の一次光のための入射面と、分割された照明光のための出射面と、を有しており、それらの入射面及び出射面は、力学的な波を用いて偏向された照明光が0°の入射角で出射面に入射するように相互に配向されている。
音響光学メインビームスプリッタの結晶が、少なくとも1つの光源の一次光のための入射面と、分割された照明光のための出射面と、を有しており、それらの入射面及び出射面は、一次光を共線的な一次光束として結晶に入射させることがき、且つ、力学的な波によって偏向された照明光が共線的な照明光束として結晶から出射されるように相互に配向されている実施の形態は特に有利である。
関連する光束の共線性を達成するために、1つの有利な実施の形態においては、音響光学メインビームスプリッタが少なくとも1つの分散光学コンポーネントを有しており、この分散光学コンポーネントは、(少なくとも部分的に)結晶によって惹起される一次光及び/又は照明光及び/又は検出光の空間的な色分割を補償する。
択一的又は付加的に、音響光学メインビームスプリッタは少なくとも1つの分散光学コンポーネントを有することができ、この分散光学コンポーネントは、(少なくとも部分的に)結晶によって惹起される一次光及び/又は照明光及び/又は検出光の空間的な色分割を補償し、且つ、複数の入射面を、即ち、特に第1の直線偏光方向を有している光のための第1の入射面と、第1の直線偏光方向に対して垂直な第2の直線偏光方向を有している光のための第2の入射面と、を有している。
この実施の形態は、音響光学メインビームスプリッタには結晶を設けることができ、この結晶が比較的単純な基本形状を有することができる、という利点を有している。例えば、検出光のための入射面を、検出光のための出射面に対して平行に形成することができる。例えば、検出光のための出射面を介して入射する光源の一次光の、結晶による空間的な色分割を、本発明によれば、例えば、一次光が結晶に入射する前にその一次光が先ず反対方向において空間的に分割され、その空間的な分割が結晶によって再び戻されることによって補償することができる。
特に、音響光学メインビームスプリッタから出射される検出光の共線性を達成するために、試料に由来する検出光が2つの結晶を連続的に通過できるように2つの結晶が直列に設けられている、音響光学メインビームスプリッタの実施の形態においては、有利には、第1の結晶の入射窓が第2の結晶の出射窓に対して平行に配置されており、また付加的に、第1の結晶の出射窓が第2の結晶の入射窓に対して平行に配置されている。
択一的又は付加的に、共線性を達成するために、音響光学メインビームスプリッタは少なくとも1つの分散光学コンポーネントを有することができ、この分散光学コンポーネントは、力学的な波が伝播する、音響光学メインビームスプリッタの結晶によって(少なくとも部分的に)惹起される一次光及び/又は照明光及び/又は検出光の空間的な色分割を補償する。択一的又は付加的に、音響光学メインビームスプリッタは少なくとも1つの分散光学コンポーネントを有することができ、この分散光学コンポーネントは、力学的な波が伝播する、音響光学メインビームスプリッタの結晶によって(少なくとも部分的に)惹起される一次光及び/又は照明光及び/又は検出光の空間的な色分割を補償し、且つ、複数の入射面を有している、及び/又は、音響光学メインビームスプリッタは、少なくとも1つの分散光学コンポーネントを有することができ、この分散光学コンポーネントは、力学的な波が伝播する、音響光学メインビームスプリッタの結晶によって(少なくとも部分的に)惹起される一次光及び/又は照明光及び/又は検出光の空間的な色分割を補償し、且つ、第1の直線偏光方向を有している光のための第1の入射面と、第1の直線偏光方向に対して垂直な第2の直線偏光方向を有している光のための第2の入射面と、を有している。
本発明による音響光学メインビームスプリッタが設けられている走査顕微鏡、特に共焦点走査顕微鏡を非常に多面的に使用することができる。
図面には本発明の対象が概略的に示されている。これを以下では図面に基づき説明する。同一の作用を有する構成要素には同一の参照符号を付している。
本発明による音響光学メインビームスプリッタを備えている顕微鏡の一実施例を示す。 本発明による音響光学メインビームスプリッタの第1の実施例を示す。 本発明による音響光学メインビームスプリッタの第2の実施例を示す。 本発明による音響光学メインビームスプリッタの第3の実施例を示す。 本発明による音響光学メインビームスプリッタの第4の実施例を示す。 照明光の偏向に関する第4の実施例を示す。 STED顕微鏡における特殊な使用可能性に関する第4の実施例を示す。
図1には、共焦点走査顕微鏡として形成されており、且つ、本発明による音響光学メインビームスプリッタが設けられている顕微鏡が示されている。
顕微鏡は複数の光源1を含んでおり、それら複数の光源1の光は共線的な一次光束2へと結合される。具体的に、顕微鏡はダイオードレーザ3と、有利にはダイオード励起固体レーザ4(DPSSレーザ;diode pumped solid State laser)と、ヘリウムネオンレーザ5と、アルゴンイオンレーザ6と、を含んでおり、それらのレーザの放射光束は、ダイクロイックビームスプリッタ7によって結合される。続いて、結合された放射光束はAOTF(acousto optical tunable filter)8に到達し、このAOTF8は、結合された放射光束から特定の波長の光を選択し、更にその光を通過させることができる。このために、AOTF8には高周波源9の電磁高周波が印加される。ユーザは、PC10を介する入力によって、1つ又は複数の波長のいずれの波長を、更に案内される光が有するべきかを設定することができる。また、高周波源9の周波数は、自動的に顕微鏡によって相応に調整される。AOTF8内では、電磁高周波によって、所望の光を回折させるための力学的な波が形成される。
顕微鏡は更に音響光学ビームコンバイナ11を有しており、このビームコンバイナ11は、一方ではAOTF8から転送された光を受光し、他方では白色光源12の光を受光する。
特にその種の白色光源12は、入射した一次光を、特にパルスレーザの光をスペクトル的に拡張する特別な光学素子を有することができ、例えばマイクロ構造光学素子及び/又はテーパファイバ及び/又はフォトニック結晶ファイバ及び/又はフォトニック結晶及び/又はフォトニックバンドギャップ材料及び/又は非線形性を誘導する同等の光学素子を有することができる。その種の光源は数10nmのスペクトル幅、特に数100nmのスペクトル幅の一次光を供給することができる。
音響光学ビームコンバイナ11にも同様に、高周波源9から供給される電磁高周波が印加される。音響光学ビームコンバイナ11は、電磁高周波によって光ビームを偏向又は回折させるための力学的な波を形成することができる音響光学素子を含んでいる。力学的な波の形成は、AOTF8から転送される光と、白色光源12の光とが、相互に共線的な結合された一次光束として音響光学ビームコンバイナ11から出射されるように行われる。
顕微鏡は更に音響光学メインビームスプリッタ13を含んでおり、この音響光学メインビームスプリッタ13は、一方では、1つの所望の波長の照明光14又は複数の所望の波長の照明光14を照明光ビームパス15に向けるタスクを有しており、他方では、試料ステージ17上に配置されて照明されている試料16に由来する、多色且つ共線性の検出光束18(破線で示されている)から、試料16において散乱及び/又は反射された照明光14の成分を除去するタスクを有している。
音響光学メインビームスプリッタ13によって照明光ビームパス15に向けられた照明光14は、ビーム偏向装置24に到達する。ビーム偏向装置24は、第1のガルバノメータミラー25及び第2のガルバノメータミラー26を含んでいる。一次光2の残りの部分は、1つ又は複数の力学的な波による影響を受けずにビームトラップ(図示せず)に到達する。
照明光14はビーム偏向装置24から出射された後に、先ず走査レンズ27に到達し、続いてチューブレンズ28に到達し、最後に、照明光14を試料16表面又は試料16内に焦点合わせする対物レンズ29に到達する。
ビーム偏向装置24は、照明光14の焦点を試料16にわたり又は試料16を通るように、有利には蛇行状に案内する。その際、第1のガルバノメータミラー25はX方向における偏向を担当し、第2のガルバノメータミラー26はY方向における偏向を担当する。
音響光学メインビームスプリッタ13にも、少なくとも1つの電磁高周波が印加され、それによって1つの周波数の少なくとも1つの力学的な波が形成される。電磁高周波の周波数を変更することによって、力学的な波の周波数を変更することができる。力学的な波の形成は、例えばピエゾ音波発生器によって行なうことができる。
力学的な波が伝播する、音響光学メインビームスプリッタ13の結晶(この図においては図示されていない)及び力学的な波の伝播方向は、試料16から到来する検出光束18に対して以下のように配向されている。つまり、音響光学メインビームスプリッタ13が、力学的な波を用いて、検出光束18の、第1の直線偏光方向及び照明波長を有している成分も、検出光束18の、第1の直線偏光方向に対して垂直な第2の直線偏光方向及び照明波長を有している成分も偏向させて、検出光束18から除去するように配向されている。検出光束18の残存成分19は共線的に結晶から出射され、またAONF(acousto optical notch filters)20、結像光学系21及び検出絞り22を通過した後に、有利には、マルチバンド検出器として形成されている検出器23に到達する。検出器23の電気信号は、更なる処理及び評価のためにPC10に伝送される。
顕微鏡は以下のように構成されている。即ち、照明光14としての1つの波長の光だけが照明光ビームパス15に向けられ、1つの波長の光だけが試料16から到来する検出光束18から除去されるのではなく、それと同時に、複数の異なる波長(及び2つの直線偏光方向)の照明光を検出光から除去するために、及び/又は、複数の異なる波長(及び2つの直線偏光方向)の照明光を照明光ビームパスに向けるために複数の力学的な波を使用することができ、その際、しかしながら有利には、音響光学メインビームスプリッタ13の結晶内の照明光波長毎にただ1つの力学的な波が形成されるように、顕微鏡は構成されている。
音響光学メインビームスプリッタ13には、ユーザが所望する照明光波長毎に、高周波源9によって形成される固有の電磁高周波が印加される。完全性を期すために、高周波源9がAONF20、音響光学ビームコンバイナ11、AOTF8及び音響光学メインビームスプリッタ13に対して供給する種々の高周波は通常の場合、異なる周波数を有していることを言及しておく。しかしながら、少なくとも2つの音響光学コンポーネントに対して同一の周波数の2つの高周波を使用できるように、音響光学コンポーネントを構成することも可能である。
図2には、音響光学メインビームスプリッタ13の第1の実施例が概略的に示されている。
音響光学メインビームスプリッタ13は偏光ビームスプリッタ33を含んでおり、この偏光ビームスプリッタ33は、例えば白色光源の複数の波長の偏光されていない一次光束を、特に偏光されていない広帯域の一次光束2を受光する。偏光ビームスプリッタ33は、一次光束2を第1の一次光束34及び第2の一次光束35へと空間的に分割し、その際、一次光束34,35の光は相互に垂直な直線偏光方向を有している。
音響光学メインビームスプリッタ13は、試料(この図においては図示していない)から到来する検出光束18(破線で示されている)のための入射面31と、最終的に検出器(この図においては図示していない)へと案内される検出光束18の残存成分19のための出射面32と、を備えている結晶30を含んでいる。残存成分19のための出射面32は、それと同時に第1の一次光束34及び第2の一次光束35を結晶30に入射させるための入射面でもある。
結晶30にはピエゾ音波発生器36が配置されており、このピエゾ音波発生器36には、1つの周波数の1つの電磁高周波又は複数の周波数の複数の電磁高周波が、1つの力学的な波又は複数の異なる力学的な波を形成するために印加される。1つ又は複数の力学的な波を用いて、第1の一次光束34からも、第2の一次光束35からも、1つの所望の照明光波長の光成分又は、複数の所望の照明光波長の光成分を回折によって偏向させ、それによって共線的に照明光ビームパス15に向けることができる。その際、各力学的な波のそれぞれ1つの周波数は(特にそれぞれがブラッグの条件を満たすために)、複数ある照明光波長のうちの1つの照明光波長に(2つの直線偏光方向に対して同時に)対応付けられている。
照明光14は、検出光束18のための入射面31を介して結晶30から出射される。従って、この入射面31は同時に照明光14のための出射面でもある。
同時に、1つの力学的な波を用いて、又は複数の力学的な波を用いて、検出光束18(破線で示されている)から、照明光14の1つ又は複数の波長を有している光成分が除去される。その際、結晶30及び(1つ又は複数の)力学的な波の伝播方向は、試料16から到来する検出光束18に対して以下のように配向されている。つまり、各力学的な波が、検出光束18の、第1の直線偏光方向及び照明波長を有している成分も、検出光束18の、第1の直線偏光方向に対して垂直な第2の直線偏光方向及び照明波長を有している成分も偏向させて、検出光束18から除去するように配向されている。検出光束18の残存成分19は、出射面32を介して共線的に結晶から出射される。図面においては、結晶構造の配向は結晶軸[001]及び[110]を示すことによって概略的に示唆されている。
第1の一次光束34は、(検出光の回折された成分に関する)通常光の一次回折の方向とは反対に結晶30に入射され、他方、第2の一次光束35は、(検出光の回折された成分に関する)異常光の一次回折の方向とは反対に結晶30に入射される。このようにして、音響光学メインビームスプリッタを用いて一次光束2から所定の1つ又は複数の波長の照明光14を顕微鏡の照明光ビームパスに、従って試料に向けるために、全ての一次光束2が使用され、その際、各波長に関しては、単一の周波数の単一の力学的な波だけが必要とされる。
結晶30から出射する照明光14の共線性を達成するために、結晶30の前段には分散光学コンポーネント37が設けられており、この分散光学コンポーネント37は、第1の一次光束34及び第2の一次光束35を空間的且つスペクトル的に分割し、その際、(特に角度及び/又は光路長の選択による)空間的な分割の程度は、それらが結晶30によって再び取り消されるように規定されている。
分散光学コンポーネント37は、第1の一次光束34のための入射兼出射窓38を有している。第1の一次光束34は先ず、入射兼出射窓38を介して、分散光学コンポーネント37に入射し、空間的且つスペクトル的に分割されて入射兼出射窓38を介して再び分散光学コンポーネント37から出射される前に、分散光学コンポーネント37を通った後に、入射兼出射窓38に対向する面に取り付けられている第1のミラー39によって反射される。
同様に、分散光学コンポーネント37は、偏向ミラー42によって偏向された第2の一次光束35のための別の入射兼出射窓40を有している。第2の一次光束35は先ず、入射兼出射窓40を介して、分散光学コンポーネント37に入射し、空間的且つスペクトル的に分割されて入射兼出射窓40を介して再び分散光学コンポーネント37から出射される前に、分散光学コンポーネント37を通った後に、入射兼出射窓40に対向する面に取り付けられている第2のミラー41によって反射される。
更に分散光学コンポーネント37は、検出光束18の残存成分19のための、入射面43と、この入射面43に平行な出射面44と、を有している。検出光束18の残存成分19は、入射面43にも、それに平行な出射面44にも垂直に入射するので、従ってスペクトル的に分割されない。
図3には、第1の結晶45及び第2の結晶46を有している、本発明による音響光学メインビームスプリッタ13の第2の実施例が示されている。
図示されている音響光学メインビームスプリッタ13は、複数の波長の光を含んでいる、図示されていない光源の一次光束47を受光する。一次光束はミラー48によって第1の結晶45の方向へと偏向され、出射窓49を介して第1の結晶45に入射する。試料から到来する検出光は出射窓を介して第1の結晶45から出射される(これについては下記において詳細に説明する)ことから、ここでは出射窓という用語を任意的に選択したことを明らかにしておく。
第1の結晶45には、第1のピエゾ音波発生器57が配置されている。第1のピエゾ音波発生器57には、高周波源9の周波数f1の電磁高周波が印加されており、またこの第1のピエゾ音波発生器57は、第1の結晶45を介して伝播される、周波数f1に対応する音響周波数の(図示していない)第1の力学的な波を形成する。
力学的な波との相互作用によって、音響周波数に対応付けられている照明光波長の照明光が、試料16を照明するために照明光ビームパスへと偏向される。偏向された照明光は、入射窓50を介して第1の結晶45から出射され、特に少なくとも1つの走査装置及び顕微鏡対物レンズを含んでいる、顕微鏡の走査及び光学系ユニット51を介して、照明すべき試料16に到達する。
試料16に由来する検出光束18は、反対向きの光路を伝播して再び第1の結晶45に到達し、入射窓50を介してこの第1の結晶45に入射する。力学的な波との相互作用によって、検出光束の、第1の直線偏光方向及び照明光波長を有している第1の部分55が偏向されて、検出光束18から除去される。検出光束18の残存部分は、出射窓49を介して第1の結晶から出射され、続いて第2の結晶46の入射窓52に到達する。
第2の結晶46には、第2のピエゾ音波発生器53が配置されている。第2のピエゾ音波発生器53にもやはり高周波源9の周波数f1の電磁高周波が印加されており、またこの第2のピエゾ音波発生器53は、第2の結晶46を介して伝播される、周波数f1に対応する音響周波数の(図示していない)第2の力学的な波を形成する。
第2の結晶46内を伝播する第2の力学的な波との相互作用によって、検出光束の、第1の直線偏光方向に対して垂直な第2の直線偏光方向及び照明光波長を有している第2の部分56が偏向されて、検出光束18から除去される。検出光束18の残存部分は、出射窓54を介して第2の結晶46から出射され、続いて図示していない検出器に到達する。
同一の音響周波数の音波によって、2つの結晶45,46において連続的に、検出光束の、第1の直線偏光方向及び照明光波長を有している第1の部分55も、検出光束の、第1の直線偏光方向に対して垂直な第2の直線偏光方向及び照明光波長を有している第2の部分56も偏向できることは、それらの結晶45,46が、少なくとも1つのパラメータに関して、例えば結晶カット面及び/又は結晶方位及び/又は力学的な波及び光の伝播方向に関して、偏向すべき光に対するブラッグの条件をそれぞれ満たしているように相互に異なっており、且つ相互に調整されていることによって達成されている。
結晶は、検出器に供給すべき検出光が共線的な光束としてメインビームスプリッタ13から出射されるように形成及び配置されている。
図4には、本発明による音響光学メインビームスプリッタ13の第3の実施例が示されている。
この音響光学メインビームスプリッタ13は、図3に図示した音響光学メインビームスプリッタ13に実質的に類似する構造を有しているが、しかしながらこの図4のメインビームスプリッタ13では、第1の入光部58を介して第1の一次光束34が入射され、第2の入光部59及び偏向ミラー61を介して第2の一次光束35が入射される。第1の一次光束34は、第1の直線偏光方向を有しており、それに対し第2の一次光束35は、第1の直線偏光方向に対して垂直な第2の直線偏光方向を有している。各結晶45,46内を伝播する力学的な波との相互作用によって、一次光束34,35の各々から、音響周波数に対応付けられている波長を有している成分が、試料16を照明するための照明光ビームパスに向けられる。
検出器(図示せず)に供給すべき検出光は、共線的な光束として出光部60を介してメインビームスプリッタ13から出射される。
音響周波数を変更することによって、別の波長の成分を、試料16を照明するための照明光ビームパスに向けることができる。
図5には、本発明による音響光学メインビームスプリッタ13の第4の実施例が示されているが、ここでは図面を見やすくするために、試料16から到来する検出光の軌道、及び、照明光波長λ1及びλ2を有している成分の、試料16から到来する検出光からの除去のみが示されている。
音響光学メインビームスプリッタ13は第1の結晶62を有しており、この第1の結晶62には第1のピエゾ音波発生器75が配置されている。第1のピエゾ音波発生器75には、周波数f1及びf2の2つの電磁高周波が印加されており、またこの第1のピエゾ音波発生器75は、第1の結晶62を介して伝播される、各周波数f1及びf2に対応するそれぞれ1つの音響周波数の(図示していない)2つの力学的な波を形成する。
第1の結晶62及び力学的な波の伝播方向は、第1の結晶62についてはその結晶構造に関して、以下のように相互に相対的に、また、それぞれが結晶に入射する検出光束18に相対的に配向されている。つまり、力学的な波によって、検出光束18の、第1の直線偏光方向及び照明光波長λ1及びλ2を有している成分も、検出光束18の、第1の直線偏光方向に対して垂直な第2の直線偏光方向及び照明光波長λ1及びλ2を有している成分も偏向されて、検出光束18から除去されるように配向されている。
図中、除去された成分は参照符号oe及びeoで表されている。第1の直線偏光方向は、この実施例において、第1の結晶62の複屈折特性に関する通常光の直線偏光方向であり、それに対し第2の直線偏光方向は、この実施例において、第1の結晶62の複屈折特性に関する異常光の直線偏光方向である。参照符号oe及びeoによって、入射する検出光の直線偏光方向は力学的な波との相互作用によって、(通常光から異常光、又は、通常光から異常光へと)それぞれ90°回転されることを表している。
音響光学メインビームスプリッタ13は、第2の結晶63を更に有しており、この第2の結晶63は、第1の結晶62から出射された残存検出光を受光する。この検出光は空間的に、その偏光に関しても、またその波長に関しても分割されている。しかしながら第2の結晶63は、自身から出射されて(図示していない)検出器へと供給される検出光束18が共線的に結合されるように構成されている。このことは、第1の結晶62の入射窓64が第2の結晶63の出射窓65に対して平行に配置されており、また付加的に、第1の結晶62の出射窓66が第2の結晶63の入射窓64に対して平行に配置されていることによって達成されている。
第2の結晶63は一方では、(第1の結晶62の力学的な波との相互作用にもかかわらず)、場合によっては未だなお検出光に残存する、照明光波長λ1及びλ2の成分を除去するために使用される。第2の結晶63は他方では、試料に向けられる照明光のための少なくとも1つの別の入射面を提供するために使用されるが、これはここでは詳細に図示されていない。
第2の結晶63には第2のピエゾ音波発生器68が配置されている。第2のピエゾ音波発生器68には、周波数f1’及びf2’の2つの電磁高周波が印加されており、またこの第2のピエゾ音波発生器68は、第2の結晶63を介して伝播される、各周波数f1’及びf2’に対応するそれぞれ1つの音響周波数の(図示していない)2つの力学的な波を形成する。
第2の結晶63及び力学的な波の伝播方向は、第2の結晶63についてはその結晶構造に関して、以下のように相互に相対的に、また、それぞれが結晶に入射する検出光束18に相対的に配向されている。つまり、力学的な波によって、検出光束18の、第1の直線偏光方向及び照明光波長λ1及びλ2を有している成分も、検出光束18の、第1の直線偏光方向に対して垂直な第2の直線偏光方向及び照明光波長λ1及びλ2を有している成分も偏向されて、検出光束18から除去されるように配向されている。
図6には、第1の直線偏光方向も、その第1の直線偏光方向とは異なる第2の直線偏光方向も有している、照明光波長λ1及びλ2の照明光が、図3に関連させて既に詳細に説明した音響光学メインビームスプリッタ13を用いて、試料16を照明するための照明光ビームパスにどのように向けられるかが示されている。
以下の説明においては、第1の結晶62を介して、その結晶62内を伝播する(図示していない)力学的な波との相互作用があった照明光についてのみ説明する。しかしながら、択一的又は付加的に、第2の結晶63を介して照明光を入射させ、試料16を照明するための照明光ビームパスに向けることも可能である。
照明光の入射は、図6に示されているように、検出光の、照明光波長を有している成分が検出光束18から除去される光路において行われる。
第1の結晶62の特別な結晶カット面に基づき、(図中「o−pol」が付されている)第1の直線偏光方向及び二つの照明光波長λ1及びλ2を有している第1の照明光束69が、共線的な照明光束として入射される。力学的な波との相互作用によって、光は試料16を照明するための照明光ビームパスに向けられる。また光は、特に少なくとも1つの走査装置及び顕微鏡対物レンズを含んでいる、顕微鏡の走査及び光学系ユニット51を介して、照明すべき試料16に到達する。
更に、第2の直線偏光方向と、照明光波長λ1の光と、を有している第2の照明光束70、並びに、照明光波長λ2の光と、同様に第2の直線偏光方向と、を有している第3の照明光束71が、空間的に別個の照明光束70,71として入射される。これらの照明光束70,71の光も、第1の結晶62内を伝播する力学的な波との相互作用によって、照明光ビームパスに到達し、また顕微鏡の走査及び光学系ユニット51を介して試料16に到達する。
照明光波長λ1又は照明光波長λ2を有していない光は、照明光ビームパスには向けられずに、図示していないビームトラップに向けられる。
図7には、STED顕微鏡における特別な使用可能性に関する第4の実施例が示されており、ここでは、試料に照射される照明光の軌道のみが示されており、図面を見やすくするために、検出光の軌道は図示していない。
共焦点走査顕微鏡の解像能力は、特に、試料における励起光束の焦点の空間的な大きさ及び強度分布によって定まる。蛍光の用途に関する解像能力を向上させるための装置は、国際公開第95/21393号から公知である。その装置においては、励起光束の焦点体積の横方向の縁部領域が、別の波長の別の光束の、いわゆる脱励起光束の、必要に応じて特別に成形された焦点でもって照明され、その縁部領域では、励起光束によって励起された試料領域が誘導放出されて基底状態に戻る。その場合、脱励起光束によって照明されない領域から自然放射される光だけが検出されるので、その結果、総じて解像度の向上が達成される。この方法については、STED(Stimulated Emission Depletion)と言う名称が定着している。
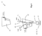
図7に示されている実施例においては、音響光学メインビームスプリッタ13が、異なる方向から到来し、且つ波長λexc及び異なる直線偏光をそれぞれが有している2つの励起光束72,73も、波長λdepの脱励起光も、試料16を照明するための照明光ビームパスに向けるために使用される。
第1の結晶62のピエゾ音波発生器75には、周波数f1の高周波が印加されており、またこの第1のピエゾ音波発生器75は、第1の結晶62を介して伝播される、周波数f1に対応する音響周波数の(図示していない)力学的な波を形成する。
励起光は第1の結晶62を介して入射し、また脱励起光は第2の結晶63を介して入射する。励起光は、第1の直線偏光方向(第1の結晶62の複屈折特性に関する通常直線偏光)を有している第1の励起光束72として、また、第1の直線偏光方向に対して垂直な直線偏光方向(第1の結晶62の複屈折特性に関する通常直線偏光)を有している第2の励起光束73として入射する。2つの励起光束72,73は、力学的な波との相互作用によって偏向され、相互に共軸に延びて、試料16を照明するための照明光ビームパスへと向けられる。
第2の結晶63のピエゾ音波発生器68には、周波数f2の高周波が印加されており、またこの第2のピエゾ音波発生器68は、第2の結晶63を介して伝播される、周波数f2に対応する音響周波数の(図示していない)力学的な波を形成する。この力学的な波との相互作用によって、第2の結晶63の複屈折特性に関する通常直線偏光方向を有している、波長λdepの脱励起光束74は、照明光ビームパスに向けられ、最終的に試料16に到達する。
更に、脱励起光束74の直線偏光方向に対して垂直な直線偏光方向を有している別の脱励起光束を入射させることも可能である。これによって例えば、脱励起光束74によって誘導放出が行われる試料領域とは異なる試料領域において、その別の脱励起光束によって、誘導放出を行うことができる。
この実施例においても、その偏光に依存せずに、検出光の、照明光波長を有している成分が、試料に由来する検出光束から除去される。
しかしながら、上記において詳細に説明したように、この実施例においても、励起光の波長λexcを有している成分が、試料から到来する検出光束から除去される。
本発明を特別な実施の形態に関連させて説明した。しかしながら、別紙の特許請求の範囲の保護範囲から逸脱することなく、種々の変更及び修正を行えることは明らかである。

Claims (21)

  1. 事前に選択された又は事前に選択可能な照明光波長の照明光を、試料を照明するための照明光ビームパスに向け、且つ、試料から到来する検出光を検出光ビームパスに向けるように構成及び規定されている、走査顕微鏡のための音響光学メインビームスプリッタにおいて、
    前記音響光学メインビームスプリッタにおいて、前記照明光波長に対応付けられている音響周波数の1つの力学的な波が伝播されるか、又は、前記照明光波長に対応付けられており、且つ、同一の音響周波数を有している複数の力学的な波が伝播され、
    a.試料から到来する検出光束から、前記1つの力学的な波との相互作用によって、又は、前記複数の力学的な波との相互作用によって、前記検出光束の、第1の直線偏光方向及び前記照明光波長を有している成分も、前記検出光束の、前記第1の直線偏光方向に対して垂直な第2の直線偏光方向及び前記照明光波長を有している成分も偏向されて、前記検出光束から除去される、及び/又は、
    b.前記1つの力学的な波との相互作用によって、又は、前記複数の力学的な波との相互作用によって、第1の直線偏光方向及び事前に選択された前記照明光波長を有している照明光の成分も、前記第1の直線偏光方向とは異なる、特に前記第1の直線偏光方向に対して垂直な第2の直線偏光方向及び事前に選択された前記照明光波長を有している照明光の成分も、試料を照明するための照明光ビームパスに向けられる、
    ことを特徴とする、音響光学メインビームスプリッタ。
  2. 前記音響光学メインビームスプリッタは、第1の結晶及び第2の結晶を有しており、該第1の結晶及び該第2の結晶は、前記検出光束が連続的に通過するように配置されており、
    前記第1の結晶内に存在し、且つ、前記音響周波数を有している第1の力学的な波との相互作用によって、前記第1の直線偏光方向及び前記照明光波長を有している成分が偏向されて、前記検出光束から除去され、
    前記第2の結晶内に存在し、同様に前記音響周波数を有している第2の力学的な波との相互作用によって、前記第2の直線偏光方向及び前記照明光波長を有している成分が偏向され、それによって前記検出光束から除去される、
    請求項1に記載の音響光学メインビームスプリッタ。
  3. a.前記第1の結晶は、形状及び/又はサイズ及び/又は結晶カット面に関して前記第2の結晶とは異なる、及び/又は、
    b.前記第1の結晶の格子構造に対する前記検出光束の伝播方向の配向は、前記第2の結晶の格子構造に対する前記検出光束の伝播方向の配向とは異なる、及び/又は、
    c.前記第1の結晶の格子構造に対する前記第1の力学的な波の伝播方向の配向は、前記第2の結晶の格子構造に対する前記第2の力学的な波の伝播方向の配向とは異なる、
    請求項2に記載の音響光学メインビームスプリッタ。
  4. a.前記検出光束は、先ず前記第1の結晶を通過し、続けて前記第2の結晶を通過し、前記第1の結晶の力学的な波との相互作用によって、前記照明光波長の照明光が照明光ビームパスに向けられる、及び/又は、
    b.前記検出光束は、先ず前記第1の結晶を通過し、続けて前記第2の結晶を通過し、前記第2の結晶の力学的な波との相互作用によって、前記照明光波長の照明光が照明光ビームパスに向けられる、
    請求項2又は3に記載の音響光学メインビームスプリッタ。
  5. 前記音響光学メインビームスプリッタは、力学的な波が伝播する1つの結晶を有しており、
    前記音響光学メインビームスプリッタが、前記力学的な波によって、前記検出光束の、第1の直線偏光方向及び前記照明光波長を有している成分も、前記検出光束の、前記第1の直線偏光方向に対して垂直な第2の直線偏光方向及び前記照明光波長を有している成分も偏向させて、前記検出光束から除去するように、前記結晶及び前記力学的な波の伝播方向は相互に相対的に、且つ、それぞれが前記結晶に入射する前記検出光束に相対的に配向されている、
    請求項1乃至4のいずれか1項に記載の音響光学メインビームスプリッタ。
  6. a.前記第1の直線偏光方向は、結晶の複屈折特性に関する通常光の直線偏光方向である、及び/又は、
    b.前記第2の直線偏光方向は、結晶の複屈折特性に関する異常光の直線偏光方向である、及び/又は、
    c.前記第1の直線偏光方向又は前記第2の直線偏光方向は、前記力学的な波の伝播方向及び前記検出光束の伝播方向によって張られている平面内に配置されている、
    請求項1乃至5のいずれか1項に記載の音響光学メインビームスプリッタ。
  7. 前記メインビームスプリッタのビームガイドコンポーネントは、前記検出光束の残存部分が前記音響光学メインビームスプリッタから共線的に出射されるように、及び/又は、所望の波長の前記照明光束が、その偏光方向に依存せずに、前記照明光束が向けられた照明光ビームパスにおいて共線的に統合されるように配置及び構成されている、
    請求項1乃至6のいずれか1項に記載の音響光学メインビームスプリッタ。
  8. 前記音響光学メインビームスプリッタは、第1の結晶及び第2の結晶を有しており、該第1の結晶及び該第2の結晶は特に、前記検出光束が連続的に通過するように配置されており、
    前記第1の結晶内に存在し、且つ、音響周波数を有している第1の力学的な波との相互作用によって、第1の直線偏光方向及び前記照明光波長を有している照明光が試料を照明するために照明光ビームパスに向けられ、
    前記第2の結晶内に存在し、且つ、音響周波数を有している第2の力学的な波との相互作用によって、前記第1の直線偏光方向とは異なる第2の直線偏光方向及び前記照明光波長を有している照明光が試料を照明するための前記照明光ビームパスに向けられる、
    請求項1乃至7のいずれか1項に記載の音響光学メインビームスプリッタ。
  9. a.結晶内を伝播する前記力学的な波との相互作用によって、第1の多色の、有利には共線的な、第1の直線偏光方向を有している一次光束からも、第2の多色の、有利には共線的な、前記第1の直線偏光方向とは異なる、特に、前記第1の直線偏光方向に対して垂直な第2の直線偏光方向を有している一次光束からも、それぞれ、前記力学的な波の周波数に対応付けられている前記照明光波長の照明光を分割し、且つ、試料を照明するために照明光ビームパスに向けるように、前記音響光学メインビームスプリッタは構成されている、又は、
    b.結晶内を伝播する前記力学的な波との相互作用によって、第1の直線偏光方向及び前記照明光波長を有している照明光も、特に垂直な別の第2の直線偏光方向及び前記照明光波長を有している照明光も、試料を照明するための前記照明光ビームパスに向けるように、前記音響光学メインビームスプリッタは構成されている、
    請求項1乃至7のいずれか1項に記載の音響光学メインビームスプリッタ。
  10. 前記音響光学メインビームスプリッタは、それぞれが異なる音響周波数によって特徴付けられている複数の力学的な波を用いて、前記検出光束から、試料において散乱及び/又は反射された、前記音響周波数に対応付けられている複数の照明光波長の照明光の成分を除去する、
    請求項1乃至9のいずれか1項に記載の音響光学メインビームスプリッタ。
  11. 前記音響光学メインビームスプリッタは、第1の結晶及び第2の結晶を有しており、
    a.前記第1の結晶においては、それぞれが異なる照明光波長に対応付けられている異なる音響周波数によって特徴付けられている複数の力学的な波を用いて同時的に、第1の直線偏光方向及び前記音響周波数に対応付けられている複数の照明光波長を有している、試料において散乱及び/又は反射された照明光の成分が、前記検出光束から偏向され、
    b.前記第2の結晶においては、前記第1の結晶の前記力学的な波と同じ音響周波数を有している複数の力学的な波を用いて同時的に、前記第1の直線偏光方向とは異なる第2の直線偏光方向及び前記音響周波数に対応付けられている複数の照明光波長を有している、試料において散乱及び/又は反射された照明光の成分が、検出光束から偏向される、
    請求項1乃至10のいずれか1項に記載の音響光学メインビームスプリッタ。
  12. 前記メインビームスプリッタにおいては、特に前記メインビームスプリッタの結晶においては、それぞれが異なる照明光波長に対応付けられている異なる音響周波数によって特徴付けられている複数の力学的な波が同時に伝播され、
    複数の力学的な波の各々は、その周波数に対応付けられている照明光波長を有しており、且つ第1の直線偏光方向を有している成分も、前記第1の直線偏光方向に対して垂直な第2の直線偏光方向を有している成分もそれぞれ偏向させて、検出光束から除去する、
    請求項1乃至11のいずれか1項に記載の音響光学メインビームスプリッタ。
  13. 前記音響光学メインビームスプリッタの結晶の複数の力学的な波は、同一の伝播方向を有している、及び/又は、同一の音波発生器によって形成されている、
    請求項1乃至12のいずれか1項に記載の音響光学メインビームスプリッタ。
  14. a.前記音響光学メインビームスプリッタは、異なる音響周波数を有している複数の力学的な波を用いて、多色の一次光から、複数の照明光波長の照明光を分割させ、試料を照明するために照明光ビームパスに向ける、及び/又は、
    b.前記音響光学メインビームスプリッタは、異なる音響周波数を有している複数の力学的な波を用いて、多色の共線的な一次光束から、複数の照明光波長の照明光を分割させ、試料を照明するために照明光ビームパスに向ける、及び/又は、
    c.前記音響光学メインビームスプリッタは、異なる音響周波数を有している複数の力学的な波を用いて、その都度、多色の、有利には共線的な、第1の直線偏光方向を有している少なくとも1つの光源の第1の一次光束からも、多色の、有利には共線的な、前記第1の直線偏光方向に対して垂直な第2の直線偏光方向を有している少なくとも1つの光源の第2の一次光束からも、それぞれ複数の波長の照明光を分割させ、試料を照明するために照明光ビームパスに向け、その際、各力学的な波の周波数にはそれぞれ複数ある照明光波長のうちの1つが対応付けられている、
    請求項1乃至13のいずれか1項に記載の音響光学メインビームスプリッタ。
  15. a.前記音響光学メインビームスプリッタ及び/又は前記メインビームスプリッタの結晶は、試料を照明するための事前に選択された又は事前に選択可能な波長の照明光を分割することができる、第1の直線偏光方向の第1の一次光束のための第1の入光部と、試料を照明するための事前に選択された又は事前に選択可能な波長の照明光を分割することができる、特に垂直な別の第2の直線偏光方向の第2の一次光束のための第2の入光部と、を有している、又は、
    b.前記音響光学メインビームスプリッタは、一次光束を、第1の直線偏光方向を有している第1の成分と、特に垂直な別の第2の直線偏光方向を有している第2の成分と、に空間的に分割するための偏光ビームスプリッタを有する、
    請求項1乃至14のいずれか1項に記載の音響光学メインビームスプリッタ。
  16. 前記照明光ビームパスに向けられた照明光は、前記音響光学メインビームスプリッタ及び/又は前記音響光学メインビームスプリッタの結晶から、共線的な照明光束として出射される、
    請求項1乃至15のいずれか1項に記載の音響光学メインビームスプリッタ。
  17. a.前記力学的な波が伝播する、前記音響光学メインビームスプリッタの結晶は、前記検出光のための入射面を有している、及び/又は、
    b.前記力学的な波が伝播する、前記音響光学メインビームスプリッタの結晶は、前記検出光のための入射面を有しており、該入射面を介して、前記検出光は0°の入射角で入射する、及び/又は、
    c.前記力学的な波が伝播する、前記音響光学メインビームスプリッタの結晶は、前記検出光のための出射面を有している、及び/又は、
    d.前記力学的な波が伝播する、前記音響光学メインビームスプリッタの結晶は、前記検出光のための出射面を有しており、該出射面を介して、前記検出光は0°の出射角で前記結晶から出射する、及び/又は、
    e.前記力学的な波が伝播する、前記音響光学メインビームスプリッタの結晶は、前記検出光のための、入射面と、該入射面に対して平行に配向されている出射面と、を有している、
    請求項1乃至16のいずれか1項に記載の音響光学メインビームスプリッタ。
  18. 前記試料に由来する前記検出光が2つの結晶を連続的に通過する2つの結晶が直列に設けられており、
    第1の結晶の入射窓は、第2の結晶の出射窓に対して平行に配置されており、
    付加的に、前記第1の結晶の前記出射窓が前記第2の結晶の前記入射窓に対して平行に配置されている、
    請求項1乃至17のいずれか1項に記載の音響光学メインビームスプリッタ。
  19. a.前記力学的な波が伝播する、前記音響光学メインビームスプリッタの結晶は、少なくとも1つの光源の前記一次光のための少なくとも1つの入射面を有している、及び/又は、
    b.前記力学的な波が伝播する、前記音響光学メインビームスプリッタの結晶は、少なくとも1つの光源の前記一次光のための少なくとも1つの入射面を有しており、該入射面は同時に前記検出光のための出射面でもある、及び/又は、
    c.前記力学的な波が伝播する、前記音響光学メインビームスプリッタの結晶は、前記照明光のための出射面を有しており、該出射面は同時に前記検出光のための入射面でもある、及び/又は、
    d.前記力学的な波が伝播する、前記音響光学メインビームスプリッタの結晶は、少なくとも1つの光源の一次光のための入射面と、分割された照明光のための出射面と、を有しており、該入射面及び該出射面は、前記力学的な波を用いて偏向された照明光が0°の入射角で前記出射面に入射するように相互に配向されている、及び/又は、
    e.前記力学的な波が伝播する、前記音響光学メインビームスプリッタの結晶は、少なくとも1つの光源の一次光のための入射面と、分割された照明光のための出射面と、を有しており、該入射面及び該出射面は、前記一次光が共線的な一次光束として結晶に入射でき、且つ、前記力学的な波を用いて偏向された照明光が共線的な照明光束として前記結晶から出射されるように相互に配向されている、
    請求項1乃至18のいずれか1項に記載の音響光学メインビームスプリッタ。
  20. a.前記音響光学メインビームスプリッタは、少なくとも1つの分散光学コンポーネントを有しており、該分散光学コンポーネントは、前記力学的な波が伝播する、前記音響光学メインビームスプリッタの結晶によって(少なくとも部分的に)惹起される前記一次光及び/又は前記照明光及び/又は前記検出光の空間的な色分割を補償する、及び/又は、
    b.前記音響光学メインビームスプリッタは、少なくとも1つの分散光学コンポーネントを有しており、該分散光学コンポーネントは、前記力学的な波が伝播する、前記音響光学メインビームスプリッタの結晶によって(少なくとも部分的に)惹起される前記一次光及び/又は前記照明光及び/又は前記検出光の空間的な色分割を補償し、且つ、複数の入射面を有している、及び/又は、
    c.前記音響光学メインビームスプリッタは、少なくとも1つの分散光学コンポーネントを有しており、該分散光学コンポーネントは、前記力学的な波が伝播する、前記音響光学メインビームスプリッタの結晶によって(少なくとも部分的に)惹起される前記一次光及び/又は前記照明光及び/又は前記検出光の空間的な色分割を補償し、且つ、第1の直線偏光方向を有している光のための第1の入射面と、前記第1の直線偏光方向に対して垂直な第2の直線偏光方向を有している光のための第2の入射面と、を有している、
    請求項1乃至19のいずれか1項に記載の音響光学メインビームスプリッタ。
  21. 請求項1乃至20のいずれか1項に記載の音響光学メインビームスプリッタを備えている顕微鏡、特に走査顕微鏡又は共焦点走査顕微鏡。
JP2016539528A 2013-09-03 2014-09-03 走査顕微鏡及び該走査顕微鏡のための音響光学メインビームスプリッタ Active JP6538694B2 (ja)

Applications Claiming Priority (5)

Application Number Priority Date Filing Date Title
DE102013217496 2013-09-03
DE102013217496.9 2013-09-03
DE102013227104.2 2013-12-23
DE102013227104.2A DE102013227104B4 (de) 2013-09-03 2013-12-23 Scanmikroskop und akustooptischer Hauptstrahlteiler für ein Scanmikroskop
PCT/EP2014/068749 WO2015032821A1 (de) 2013-09-03 2014-09-03 Scanmikroskop und akustooptischer hauptstrahlteiler für ein scanmikroskop

Publications (2)

Publication Number Publication Date
JP2016532905A true JP2016532905A (ja) 2016-10-20
JP6538694B2 JP6538694B2 (ja) 2019-07-03

Family

ID=52470509

Family Applications (1)

Application Number Title Priority Date Filing Date
JP2016539528A Active JP6538694B2 (ja) 2013-09-03 2014-09-03 走査顕微鏡及び該走査顕微鏡のための音響光学メインビームスプリッタ

Country Status (6)

Country Link
US (1) US9933686B2 (ja)
EP (1) EP3042232B1 (ja)
JP (1) JP6538694B2 (ja)
CN (1) CN105723270B (ja)
DE (1) DE102013227104B4 (ja)
WO (1) WO2015032821A1 (ja)

Cited By (1)

* Cited by examiner, † Cited by third party
Publication number Priority date Publication date Assignee Title
JP2023537415A (ja) * 2020-08-11 2023-08-31 ライカ マイクロシステムズ シーエムエス ゲゼルシャフト ミット ベシュレンクテル ハフツング ビームスプリッティングデバイス

Families Citing this family (9)

* Cited by examiner, † Cited by third party
Publication number Priority date Publication date Assignee Title
DE102013227103B4 (de) * 2013-09-03 2018-05-30 Leica Microsystems Cms Gmbh Mikroskop mit einer akustooptischen Vorrichtung
LU93098B1 (de) * 2016-06-03 2018-01-22 Leica Microsystems Verfahren zum Einstellen der Intensität eines Lichtstrahls in einer optischen Anordnung und zugehörige optische Anordnung
DE102016124004A1 (de) * 2016-12-09 2018-06-14 Leica Microsystems Cms Gmbh Optisches Gerät mit mindestens einem spektral selektiven Bauelement
DE102017119479A1 (de) * 2017-08-25 2019-02-28 Carl Zeiss Microscopy Gmbh Optische Anordnung zum Scannen von Anregungsstrahlung und/oder Manipulationsstrahlung in einem Laser-Scanning-Mikroskop und Laser-Scanning-Mikroskop
US11029506B2 (en) * 2018-04-20 2021-06-08 Coluxa Inc. Scanning microscope with multiplexed light sources
EP4628964A3 (en) * 2018-07-02 2025-12-17 Universitat de Barcelona Programmable multiple-point illuminator, confocal filter, confocal microscope and method to operate said confocal microscope
EP3882681A1 (en) * 2020-03-10 2021-09-22 Leica Instruments (Singapore) Pte. Ltd. A concept for a microscope system with an led-based illumination system
EP4145218B1 (en) * 2021-09-03 2025-07-09 Leica Microsystems CMS GmbH Optical filter device
WO2025214596A1 (en) * 2024-04-10 2025-10-16 Leica Microsystems Cms Gmbh Acousto-optic system and optical device

Citations (2)

* Cited by examiner, † Cited by third party
Publication number Priority date Publication date Assignee Title
JP2003522323A (ja) * 1998-12-28 2003-07-22 アメルシャム・バイオサイエンシーズ・アクチボラグ 蛍光発光測定装置
JP2004537747A (ja) * 2001-07-30 2004-12-16 ライカ ミクロジュステムス ハイデルベルク ゲーエムベーハー 光学装置及び走査顕微鏡

Family Cites Families (6)

* Cited by examiner, † Cited by third party
Publication number Priority date Publication date Assignee Title
ATE204086T1 (de) 1994-02-01 2001-08-15 Hell Stefan Vorrichtung und verfahren zum optischen messen eines probenpunktes einer probe mit hoher ortsauflösung
DE19906757B4 (de) 1998-02-19 2004-07-15 Leica Microsystems Heidelberg Gmbh Mikroskop
DE19944355B4 (de) * 1999-09-16 2004-11-18 Leica Microsystems Heidelberg Gmbh Optische Anordnung
US6963398B2 (en) * 2001-10-03 2005-11-08 Olympus Optical Co., Ltd. Laser scanning microscope
DE102006053187A1 (de) 2006-11-09 2008-05-15 Leica Microsystems Cms Gmbh Akustooptisches Bauteil
DE102010033722A1 (de) * 2010-08-07 2012-02-09 Carl Zeiss Microimaging Gmbh Anordnung und/oder Verfahren zur Eliminierung unerwünschter Strahlungsanteile aus detektiertem Licht von einer beleuchteten Probe

Patent Citations (2)

* Cited by examiner, † Cited by third party
Publication number Priority date Publication date Assignee Title
JP2003522323A (ja) * 1998-12-28 2003-07-22 アメルシャム・バイオサイエンシーズ・アクチボラグ 蛍光発光測定装置
JP2004537747A (ja) * 2001-07-30 2004-12-16 ライカ ミクロジュステムス ハイデルベルク ゲーエムベーハー 光学装置及び走査顕微鏡

Cited By (2)

* Cited by examiner, † Cited by third party
Publication number Priority date Publication date Assignee Title
JP2023537415A (ja) * 2020-08-11 2023-08-31 ライカ マイクロシステムズ シーエムエス ゲゼルシャフト ミット ベシュレンクテル ハフツング ビームスプリッティングデバイス
JP7669474B2 (ja) 2020-08-11 2025-04-28 ライカ マイクロシステムズ シーエムエス ゲゼルシャフト ミット ベシュレンクテル ハフツング ビームスプリッティングデバイス

Also Published As

Publication number Publication date
US20160223882A1 (en) 2016-08-04
DE102013227104B4 (de) 2018-05-30
JP6538694B2 (ja) 2019-07-03
CN105723270A (zh) 2016-06-29
EP3042232B1 (de) 2019-07-17
DE102013227104A1 (de) 2015-03-05
EP3042232A1 (de) 2016-07-13
US9933686B2 (en) 2018-04-03
CN105723270B (zh) 2019-10-22
WO2015032821A1 (de) 2015-03-12

Similar Documents

Publication Publication Date Title
JP6538694B2 (ja) 走査顕微鏡及び該走査顕微鏡のための音響光学メインビームスプリッタ
JP6530405B2 (ja) ビームコンバイナ、音響光学ビームコンバイナ、光源、顕微鏡及び使用
US10310243B2 (en) Device and method for multispot scanning microscopy
JP7089719B2 (ja) 分光顕微鏡、及び分光観察方法
US9721326B2 (en) Method and system for improving resolution in laser imaging microscopy
US8718414B2 (en) Acousto-optical tunable filter element
CN105683818B (zh) 具有偏振的样品照明的扫描显微镜
US10132682B2 (en) Microscope with an acousto-optical device
JP2004537747A (ja) 光学装置及び走査顕微鏡
JP6632531B2 (ja) 照明光の焦点の形状を変える部材を有する顕微鏡
KR102105814B1 (ko) 레이저 공간 변조 초고분해능 광학 현미경
JP5521901B2 (ja) 非線形顕微鏡及び非線形観察方法
JP2017102013A (ja) 走査型顕微鏡
EP4145207B1 (en) Optical filter device for illuminating a sample
EP4145218B1 (en) Optical filter device
JP2009063666A (ja) 顕微鏡
HK1038797B (en) Arrangement for separation excitation light and emission light in a microscope
HK1038797A1 (en) Arrangement for separation excitation light and emission light in a microscope

Legal Events

Date Code Title Description
A521 Request for written amendment filed

Free format text: JAPANESE INTERMEDIATE CODE: A523

Effective date: 20160315

Free format text: JAPANESE INTERMEDIATE CODE: A523

Effective date: 20160509

A621 Written request for application examination

Free format text: JAPANESE INTERMEDIATE CODE: A621

Effective date: 20170901

A977 Report on retrieval

Free format text: JAPANESE INTERMEDIATE CODE: A971007

Effective date: 20180808

A131 Notification of reasons for refusal

Free format text: JAPANESE INTERMEDIATE CODE: A131

Effective date: 20180820

A601 Written request for extension of time

Free format text: JAPANESE INTERMEDIATE CODE: A601

Effective date: 20181119

A521 Request for written amendment filed

Free format text: JAPANESE INTERMEDIATE CODE: A523

Effective date: 20190116

TRDD Decision of grant or rejection written
A01 Written decision to grant a patent or to grant a registration (utility model)

Free format text: JAPANESE INTERMEDIATE CODE: A01

Effective date: 20190520

A61 First payment of annual fees (during grant procedure)

Free format text: JAPANESE INTERMEDIATE CODE: A61

Effective date: 20190606

R150 Certificate of patent or registration of utility model

Ref document number: 6538694

Country of ref document: JP

Free format text: JAPANESE INTERMEDIATE CODE: R150

R250 Receipt of annual fees

Free format text: JAPANESE INTERMEDIATE CODE: R250

R250 Receipt of annual fees

Free format text: JAPANESE INTERMEDIATE CODE: R250

R250 Receipt of annual fees

Free format text: JAPANESE INTERMEDIATE CODE: R250

R250 Receipt of annual fees

Free format text: JAPANESE INTERMEDIATE CODE: R250