JP2016530833A - 送信の干渉を低減するためのシステムおよび方法 - Google Patents

送信の干渉を低減するためのシステムおよび方法 Download PDF

Info

Publication number
JP2016530833A
JP2016530833A JP2016540391A JP2016540391A JP2016530833A JP 2016530833 A JP2016530833 A JP 2016530833A JP 2016540391 A JP2016540391 A JP 2016540391A JP 2016540391 A JP2016540391 A JP 2016540391A JP 2016530833 A JP2016530833 A JP 2016530833A
Authority
JP
Japan
Prior art keywords
nfc
based communication
channel
receiver
transmitter
Prior art date
Legal status (The legal status is an assumption and is not a legal conclusion. Google has not performed a legal analysis and makes no representation as to the accuracy of the status listed.)
Granted
Application number
JP2016540391A
Other languages
English (en)
Other versions
JP2016530833A5 (ja
JP6441362B2 (ja
Inventor
モフィディ、マーボド
Current Assignee (The listed assignees may be inaccurate. Google has not performed a legal analysis and makes no representation or warranty as to the accuracy of the list.)
Qualcomm Inc
Original Assignee
Qualcomm Inc
Priority date (The priority date is an assumption and is not a legal conclusion. Google has not performed a legal analysis and makes no representation as to the accuracy of the date listed.)
Filing date
Publication date
Application filed by Qualcomm Inc filed Critical Qualcomm Inc
Publication of JP2016530833A publication Critical patent/JP2016530833A/ja
Publication of JP2016530833A5 publication Critical patent/JP2016530833A5/ja
Application granted granted Critical
Publication of JP6441362B2 publication Critical patent/JP6441362B2/ja
Expired - Fee Related legal-status Critical Current
Anticipated expiration legal-status Critical

Links

Images

Classifications

    • HELECTRICITY
    • H04ELECTRIC COMMUNICATION TECHNIQUE
    • H04BTRANSMISSION
    • H04B15/00Suppression or limitation of noise or interference
    • H04B15/02Reducing interference from electric apparatus by means located at or near the interfering apparatus
    • HELECTRICITY
    • H04ELECTRIC COMMUNICATION TECHNIQUE
    • H04BTRANSMISSION
    • H04B15/00Suppression or limitation of noise or interference
    • H04B15/02Reducing interference from electric apparatus by means located at or near the interfering apparatus
    • H04B15/04Reducing interference from electric apparatus by means located at or near the interfering apparatus the interference being caused by substantially sinusoidal oscillations, e.g. in a receiver or in a tape-recorder
    • HELECTRICITY
    • H04ELECTRIC COMMUNICATION TECHNIQUE
    • H04BTRANSMISSION
    • H04B1/00Details of transmission systems, not covered by a single one of groups H04B3/00 - H04B13/00; Details of transmission systems not characterised by the medium used for transmission
    • H04B1/06Receivers
    • H04B1/10Means associated with receiver for limiting or suppressing noise or interference
    • H04B1/1027Means associated with receiver for limiting or suppressing noise or interference assessing signal quality or detecting noise/interference for the received signal
    • HELECTRICITY
    • H04ELECTRIC COMMUNICATION TECHNIQUE
    • H04BTRANSMISSION
    • H04B1/00Details of transmission systems, not covered by a single one of groups H04B3/00 - H04B13/00; Details of transmission systems not characterised by the medium used for transmission
    • H04B1/38Transceivers, i.e. devices in which transmitter and receiver form a structural unit and in which at least one part is used for functions of transmitting and receiving
    • H04B1/40Circuits
    • H04B1/403Circuits using the same oscillator for generating both the transmitter frequency and the receiver local oscillator frequency
    • H04B1/406Circuits using the same oscillator for generating both the transmitter frequency and the receiver local oscillator frequency with more than one transmission mode, e.g. analog and digital modes

Landscapes

  • Engineering & Computer Science (AREA)
  • Computer Networks & Wireless Communication (AREA)
  • Signal Processing (AREA)
  • Mobile Radio Communication Systems (AREA)
  • Noise Elimination (AREA)

Abstract

送信の干渉を低減するための方法が説明される。方法は、FM受信機がオンにされることを決定することを含む。方法はまた、FM受信機が誘導ベースの通信送信機からの干渉を経験するFMチャネルに同調されることを決定することを含む。方法はさらに、一時的な周波数シフトによって誘導ベースの通信送信機の送信周波数を調整することを含む。

Description

関連出願
[0001] 本願は、2013年9月6日に出願された「MITIGATING FM DESENSITIZATION BY NFC」についての米国特許仮出願第61/874,977号に関し、その優先権を主張する。
[0002] 本開示は、一般に信号処理に関する。より具体的には、本開示は、送信の干渉(transmission interference)を低減するためのシステムおよび方法に関する。
背景
[0003] 過去数10年間で、電子デバイスの使用は一般的となった。特に、電子技術の進歩は、ますます複雑化し有用性を増している電子デバイスのコストを削減してきた。コストの削減および消費者の需要は、電子デバイスが現在の社会において事実上ユビキタスになるほどに電子デバイスの使用を激増させた。電子デバイスの使用が拡大するにつれ、電子デバイスの新しい改善された特徴に対する需要も拡大した。より詳細には、より迅速に、より効率的に、またはより高い品質で機能を実行する電子デバイスが、しばしば求められている。
[0004] 多くの電子デバイスは、多数の技術を使用し得る。例えば、携帯電話は、他の通信技術について、トランシーバに加えてFM受信機を含み得る。これらの技術は、同時に使用されるときに干渉を経験し得る。例えば、FM受信機は、近距離通信(NFC:near field communication)無線を用いた同時使用中に、感度低下(desensitization)を経験し得る。技術間の干渉を低減することによる利点が理解されるだろう。
[0005] 送信干渉を低減するための方法が説明される。方法は、FM受信機がオンにされる(turned on)ことを決定することを含む。方法はまた、FM受信機が誘導ベースの通信送信機(induction-based communication transmitter)からの干渉を経験するFMチャネルに同調(tuned)されることを決定することを含む。方法はさらに、一時的な周波数シフト(temporary frequency shift)によって誘導ベースの通信送信機の送信周波数を調整することを含む。
[0006] 方法は、ワイヤレス通信デバイスによって行われ得る。誘導ベースの通信送信機の磁界は、FM受信機と誘導的に結合(inductively coupled)され得る。
[0007] FM受信機が誘導ベースの通信送信機からの干渉を経験するFMチャネルに同調されることを決定することは、同調されたFMチャネルを、感度低下されたFMチャネル(desensed FM channel)のリストと比較することを含み得る。干渉は、誘導ベースの通信送信機の送信周波数の高調波(harmonic)によって引き起こされ得る。一時的な周波数シフトは、FM受信機との干渉を低減し得る。
[0008] 方法はまた、同調されたFMチャネルが誘導ベースの通信送信機の送信周波数の高調波から周波数閾値(frequency threshold)内にあるとき、誘導ベースの通信送信機の送信周波数を調整することを含み得る。
[0009] 誘導ベースの通信送信機は、近距離通信(NFC:near field communication)送信機であり得る。NFC送信機の動作は、FM動作と同時であり得る。一時的な周波数シフトは、規定されたNFC送信周波数内の帯域幅内にあり得る。NFC送信機は、イニシエータ(initiator)として機能し得る。NFC送信機は、ポーリング動作(polling operation)を行い得る。
[0010] 送信干渉を低減するための装置がまた、説明される。装置は、プロセッサ、プロセッサと電子通信するメモリ、およびメモリ内に記憶される命令を含む。命令は、FM受信機がオンにされることを決定するためにプロセッサによって実行可能である。命令はまた、FM受信機が誘導ベースの通信送信機からの干渉を経験するFMチャネルに同調されることを決定するように実行可能である。命令はさらに、一時的な周波数シフトによって誘導ベースの通信送信機の送信周波数を調整するように実行可能である。
[0011] 送信干渉を低減するためのワイヤレスデバイスがまた、説明される。ワイヤレスデバイスは、FM受信機がオンにされることを決定するための手段を含む。ワイヤレスデバイスはまた、FM受信機が誘導ベースの通信送信機からの干渉を経験するFMチャネルに同調されることを決定するための手段を含む。ワイヤレスデバイスはさらに、一時的な周波数シフトによって誘導ベースの通信送信機の送信周波数を調整するための手段を含む。
[0012] 送信干渉を低減するためのコンピュータプログラム製品がまた、説明される。コンピュータプログラム製品は、命令を有する非一時的な的コンピュータ読取可能媒体を含む。命令は、ワイヤレス通信デバイスに、FM受信機がオンにされることを決定させるためのコードを含む。命令はまた、ワイヤレス通信デバイスに、FM受信機が誘導ベースの通信送信機からの干渉を経験するFMチャネルに同調されることを決定させるためのコードを含む。命令はさらに、ワイヤレス通信デバイスに、一時的な周波数シフトによって誘導ベースの通信送信機の送信周波数を調整させるためのコードを含む。
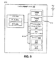
[0013] 図1は、送信の干渉を低減するためのシステムおよび方法が実装され得るワイヤレス通信デバイスの1つの構成を図示するブロック図である。 [0014] 図2は、誘導ベースの通信によって送信の干渉を低減するための方法の1つの構成を図示するフロー図である。 [0015] 図3は、送信の干渉を低減するためのシステムおよび方法が実装され得るワイヤレス通信デバイスの別の構成を図示するブロック図である。 [0016] 図4は、近距離通信(NFC)によって送信の干渉を低減するための方法の1つの構成を図示するフロー図である。 [0017] 図5は、NFCによる送信の干渉を低減する例を図示するグラフである。 [0018] 図6は、シフトされていないNFC第6高調波およびシフトされたNFC第6高調波のための例示的なFM受信感度を図示するグラフである。 [0019] 図7は、シフトされていないNFC第7高調波およびシフトされたNFC第7高調波のための例示的なFM受信感度を図示するグラフである。 [0020] 図8は、干渉オフセットに関連する例示的なFMノッチフィルタ帯域幅を図示するグラフである。 [0021] 図9は、ワイヤレス通信デバイス内に含まれ得る特定のコンポーネントを図示する。
[0022] 本明細書で説明されるシステムおよび方法は、ワイヤレスに通信する、および/または有線接続またはリンクを使用して通信する通信デバイスに適用され得る。いくつかの通信デバイスは、ワイヤレスに通信し、および/または有線接続またはリンクを使用して通信し得ることに留意されたい。例えば、いくつかの通信デバイスは、イーサネット(登録商標)プロトコルを使用して他のデバイスと通信し得る。ある構成では、本明細書で開示されるシステムおよび方法は誘導ベースの通信技術(induction-based communication technology)を使用して、別のデバイスと通信する通信デバイスに適用され得る。誘導ベースの通信技術のうちの1つの実装は、近距離通信(NFC)である。
[0023] 電子デバイス(例えば、モバイルデバイス)における強化されたFMブロードキャスト受信機(Rx)の性能に対するNFC技術の向上とユーザ需要の増加は、同時処理(concurrency)についての潜在的な課題(potential challenge)を生み出している。本明細書で使用されるような「同時処理(concurrency)」という用語は、電子デバイス上のFM受信機および誘導ベースの通信トランシーバの同時の(例えば、並列の)動作を指す。いくつかのシナリオでは、誘導ベースの通信技術による送信の1つまたは複数の高調波は、FMブロードキャストバンド(例えば、76−108メガヘルツ(MHz))内に落ち(fall)得る。この干渉は、FMチャネルに干渉し(本明細書において、「感度低下(desense)」または「感度低下させる(desensitize)」とも呼ばれる)得、隣接するFMチャネルに潜在的に干渉し得る。
[0024] ここで、様々な構成について、諸図を参照して説明する。これらの図では、同様の参照番号は、機能的に類似したエレメントを指し得る。本明細書の図において一般に説明および図示されるようなシステムおよび方法は、多種多様な異なる構成で配置および設計されることができる。よって、図に示される、いくつかの構成に関する下記のより詳細な説明は、請求項に記載される範囲を制限することを意図したものではなく、単にシステムおよび方法を代表するものにすぎない。
[0025] 図1は、送信の干渉を低減するためのシステムおよび方法が実装され得るワイヤレス通信デバイス102の1つの構成を図示するブロック図である。ワイヤレス通信システムは、音声、データなどのような様々なタイプの通信コンテンツを提供するために幅広く展開されている。ワイヤレス通信デバイス102は、同時に(例えば、並列で)動作し得る複数の通信技術を含み得る。例えば、ワイヤレス通信デバイス102は、FMブロードキャストを受信し得るFM受信機104を含み得る。ワイヤレス通信デバイス102はまた、誘導ベースの信号を送信および受信し得る誘導ベースの通信トランシーバ106を含み得る。
[0026] ワイヤレスシステム(例えば、多元接続システム)における通信は、ワイヤレスリンクによる送信を通じて達成され得る。このようなワイヤレスリンクは、単一入力単一出力(SISO)、多入力単一出力(MISO)、または多入力多出力(MIMO)システムを介して確立され得る。MIMOシステムは、データ送信のために複数の(N)送信アンテナおよび複数の(N)受信アンテナをそれぞれ備える、送信機および受信機を含む。SISOおよびMISOシステムは、MIMOシステムの特定のインスタンスである。MIMOシステムは、複数の送信アンテナおよび受信アンテナによって作成される追加の次元が利用される場合に、改善された性能(例えば、より高いスループット、より大きな容量、または向上された信頼性)を提供し得る。
[0027] ワイヤレス通信システムは、MIMOを利用し得る。MIMOシステムは、時間分割複信(TDD)および周波数分割複信(FDD)システムの両方をサポートし得る。TDDシステムでは、アップリンクおよびダウンリンク送信は、相反原理(reciprocity principle)がアップリンクチャネルからダウンリンクチャネルの推定を可能にするように、同じ周波数領域上にある。これは、送信ワイヤレスデバイス(例えば、ワイヤレス通信デバイス102)が、送信ワイヤレスデバイスで受信される通信から送信ビームフォーミング利得を引き出すことを可能にする。
[0028] ワイヤレス通信システムは、利用可能なシステムリソース(例えば、帯域幅および送信電力)を共有することによって、複数のワイヤレス通信デバイス102との通信をサポートすることができる多元接続システムであり得る。このような多元接続システムの例は、符号分割多元接続(CDMA)システム、広帯域符号分割多元接続(W−CDMA(登録商標))システム、時分割多元接続(TDMA)システム、周波数分割多元接続(FDMA)システム、直交周波数分割多元接続(OFDMA)システム、エボリューションデータオプティマイズド(EV−DO)、シングルキャリア周波数分割多元接続(SC−FDMA)システム、第3世代パートナーシッププロジェクト(3GPP(登録商標))ロングタームエボリューション(LTE(登録商標))システム、および空間分割多元接続(SDMA)システムを含む。
[0029] 「ネットワーク」および「システム」という用語は、しばしば交換可能に使用される。CDMAネットワークは、ユニバーサル地上無線アクセス(UTRA)、cdma2000のような無線技術を実装し得る。UTRAがW−CDMAおよび低チップレート(LCR)を含む一方、cdma2000は、IS−2000、IS−95、およびIS―856標準規格をカバーする。TDMAネットワークは、グローバル・システム・フォー・モバイル・コミュニケーションズ(GSM(登録商標))のような無線技術を実装し得る。OFDMAネットワークは、進化型UTRA(E−UTRA)、IEEE 802.11、IEEE 802.16、IEEE 802.20、フラッシュOFDM(登録商標)などのような無線技術を実装し得る。UTRA、E−UTRA、およびGSMは、ユニバーサルモバイル電気通信システム(UMTS)の一部である。ロングタームエボリューション(LTE)は、E−UTRAを用いるUMTSのリリースである。UTRA、E−UTRA、GSM、UMTS、およびLTEは、「第3世代パートナーシッププロジェクト」(3GPP)と名付けられた団体からの文書内で説明され、cdma2000は、「第3世代パートナーシッププロジェクト2」(3GPP2)と名付けられた団体からの文書内で説明される。
[0030] 第3世代パートナーシッププロジェクト(3GPP)は、グローバルに適用可能な第3世代(3G)モバイルフォン規格を定義することを目的とした、電気通信協会のグループ間のコラボレーションである。3GPPロングタームエボリューション(LTE)は、ユニバーサルモバイル電気通信システム(UMTS)モバイルフォン規格を改善することを目的とした、3GPPプロジェクトである。3GPPは、次世代のモバイルネットワーク、モバイルシステム、およびモバイルデバイスのための規格を定義し得る。
[0031] 3GPPロングタームエボリューション(LTE)およびUMTS、ワイヤレス通信デバイス102は、「ユーザ機器(user equipment)」(UE)と呼ばれ得る。3GPPグローバル・システム・フォー・モバイル・コミュニケーションズ(GSM)では、ワイヤレス通信デバイス102は、「モバイル局(mobile station)」(MS)と呼ばれ得る。ワイヤレス通信デバイス102はまた、端末、アクセス端末、加入者ユニット、局などとも呼ばれ、それらの機能性のいくつかまたは全てを含み得る。ワイヤレス通信デバイス102は、セルラフォン、携帯情報端末(PDA)、ワイヤレスデバイス、ワイヤレスモデム、ハンドヘルドデバイス、ラップトップコンピュータ、セッション開始プロトコル(SIP:Session Initiation Protocol)電話、ワイヤレスローカルループ(WLL)局などを含み得る。
[0032] ワイヤレス通信デバイス102は、FM受信機104を含み得、それはFM Rxアンテナ118を介してFMブロードキャストを受信し得る。ある構成では、FM Rxアンテナ118は、ワイヤレス通信デバイス102に接続される有線ヘッドセット内に存在し得る。
[0033] ワイヤレス通信デバイス102は、誘導ベースの通信トランシーバ106を含み得、それは、磁気誘導を使用して別のワイヤレス通信デバイス102(例えば、ターゲット)との無線通信を確立し得る。ある構成では、誘導ベースの通信トランシーバ106は、近距離通信(NFC)プロトコルに従って動作するNFCトランシーバであり得る。誘導ベースの通信トランシーバ106は、送信機108と受信機112とを含み得る。
[0034] 誘導ベースの通信送信機108は、誘導ベースの通信送信アンテナ114を介して信号を別のワイヤレス通信デバイス102に送信し得る。1つまたは複数の送信(Tx)高調波116は、信号の送信から生成され得る。Tx高調波(Tx harmonics)116はまた、スプリアス輻射(spurious emission)またはスプール(spur)とも呼ばれ得る。Tx高調波116は、複数の所与の送信周波数110であり得る。例えば、100Hzの第3高調波は、300Hzである。Tx高調波116は、FMブロードキャストバンド(例えば、76−108メガヘルツ(MHz))に落ち得る。Tx高調波116はFM Rxアンテナ118で受信され得、1つまたは複数のFMチャネルを感度低下させ得る。
[0035] ワイヤレス通信デバイス102は、FM受信機104と誘導ベースの通信送信機108の同時動作を提供するための、同時処理モジュール(concurrency module)122を含み得る。同時処理モジュール122は、FM受信機104がオンにされるかどうか、および誘導ベースの通信によって感度低下されたFMチャネルに同調されるかどうかを決定し得る。言い換えると、同時処理モジュール122は、同調されたFMチャネル120が、感度低下されたFMチャネル124であるかどうかを決定し得る。ある構成では、同時処理モジュール122は、同調されたFMチャネル120をFM受信機104から受信し得る。
[0036] 同時処理モジュール122は、同調されたFMチャネル120を、感度低下されたFMチャネル124のリストまたは表と比較し得る。同時処理モジュール122が、FM受信機104がオンにされ感度低下されたFMチャネル124に同調されることを決定する場合、そのときには同時処理モジュール122は、一時的な周波数シフト126によって誘導ベースの通信送信機108の送信周波数110を調整し得る。例えば、同時処理モジュール122が、小さいファクタだけ誘導ベースの通信送信機108の送信周波数110をシフトする場合、そのときにはTx高調波116は、FMチャネルの200kHzのFM Rxチャネル帯域幅から離れてシフトされ得る。
[0037] 同時処理モジュール122は、誘導ベースの通信送信機108の送信周波数110がシフトされ得る量に基づいて、感度低下のレベルを制御し得る。誘導ベースの通信送信機108の送信周波数110が予想よりも大きくシフトされる場合、他の誘導ベースの通信デバイスとの相互運用性(interoperability)は影響を受け得る。しかしながら、干渉信号が同一チャネルのロケーションから隣接するチャネルへと動かされるとき、FM受信機104の感度の著しい向上が見られ得る。干渉スプール(interfering spur)(例えば、Tx高調波116)は、図5に関連して下記で説明されるように、FM受信機104の帯域幅の中心にあるときよりもむしろ、FM受信機104の帯域幅のエッジにあるときに、FM感度の著しい向上があるだろう。
[0038] FM受信機が、影響を受けたFMチャネル(例えば、感度低下されたFMチャネル124のうちの1つ)に同調されるとき、同時処理モジュール122は、誘導ベースの通信送信機108の送信周波数110を調整し得る。同時処理モジュール122はまた、同調されたFMチャネル120が、誘導ベースの通信送信周波数110の高調波から周波数閾値128内にあるとき、誘導ベースの通信送信機108の送信周波数110を調整し得る。例えば、同時処理モジュール122は、FM受信機104が、感度低下されたFMチャネル124の一定量内にあるFMチャネル120に同調されるとき、送信周波数110を調整し得る。他のFMチャネル(周波数閾値128内にない)については、誘導ベースの通信送信機108の送信周波数110の一時的な周波数シフト126が行われない。
[0039] 図2は、誘導ベースの通信によって送信の干渉を低減するための方法200の1つの構成を示すフロー図である。ある実装では、ワイヤレス通信デバイス102は、NFCによるFMの感度低下を軽減するために、図2で図示される方法200を行い得る。
[0040] ワイヤレス通信デバイス102は、FM受信機104がオンにされるかどうかを決定し得る(202)。ワイヤレス通信デバイス102は、FMブロードキャストを受信し得る。ある構成では、ワイヤレス通信デバイス102のFM受信機104は、FMブロードキャストバンド(例えば、76−108MHz)内にある、同調されたFMチャネル120を受信し得る。
[0041] ワイヤレス通信デバイス102は、FM受信機104が誘導ベースの通信送信機108からの干渉を経験するFMチャネルに同調されることを決定する(204)。誘導ベースの通信の磁界は、FM受信機104と誘導結合され得る。FM受信機104は、誘導ベースの通信送信機108の送信周波数110に関連付けられた1つまたは複数のTx高調波116を受信し得る。Tx高調波116は、同調されたFMチャネル120の帯域幅内に落ち得、それは、FMチャネルに干渉し得る。
[0042] ワイヤレス通信デバイス102は、同調されたFMチャネル120を、感度低下されたFMチャネル124のリストまたは表と比較し得る。ある構成では、感度低下されたFMチャネル124は、Tx高調波116の周波数に対応する周波数を有するFMチャネルであり得る。
[0043] ワイヤレス通信デバイス102が、FM受信機104がオンにされること、および誘導ベースの通信送信機108によって感度低下されたFMチャネルに同調されることを決定する場合、そのときにはワイヤレス通信デバイス102は、一時的な周波数シフト126によって誘導ベースの通信送信機108の送信周波数110を調整し得る(206)。一時的な周波数シフト126は、FM受信機104との干渉を低減し得る。例えば、誘導ベースの通信送信機108の送信周波数110を調整することによって、Tx高調波116の周波数は、同調されたFMチャネル120から離れてシフトされ得る。
[0044] 図3は、送信の干渉を低減するためのシステムおよび方法が実装され得るワイヤレス通信デバイス302の別の構成を図示するブロック図である。ワイヤレス通信デバイス302は、FM受信機304と近距離通信(NFC:near field communication)トランシーバ306とを含み得る。FM受信機304は、FM Rxアンテナ318を介して、FMブロードキャストを受信し得る。ある構成では、FM Rxアンテナ318は、ワイヤレス通信デバイス302に接続される有線ヘッドセット内に存在し得る。
[0045] ワイヤレス通信デバイス302は、NFCトランシーバ306を含み得る。NFCトランシーバ306は、NFC送信機308とNFC受信機312とを含み得る。NFCトランシーバ306は、NFCプロトコルを使用して、別のワイヤレス通信デバイス302(例えば、ターゲットまたはNFCターゲットデバイス)との無線通信を確立し得る。NFCは、誘導ベースの通信技術である。入力電力は、エネルギー転送を提供するための放射界(radiated field)を生成するために、NFC送信機308に提供され得る。別のワイヤレス通信デバイス302(図示されない)のNFC受信機312は、放射界に結合され得、出力電力を生成し得る。2つのNFC利用可能ワイヤレス通信デバイス302は、距離を空けて離され得る。
[0046] ある構成では、1つのワイヤレス通信デバイス302のNFC送信機308と、他のワイヤレス通信デバイス302のNFC受信機312とは、相互共振(mutual resonant)の関係に従って構成される。NFC受信機312の共振周波数と、NFC送信機308の共振周波数とが極めて近いとき、NFC受信機312が放射界の「近距離場(near field)」に位置付けられるときに、NFC送信機308とNFC受信機312との間の送信損失は最小になる。
[0047] ワイヤレス通信デバイス302は、NFCループアンテナ314を含み得る。NFCループアンテナ314は、エネルギー送信および受信のための手段を提供し得る。上述されるように、効率的なエネルギー転送は、エネルギーの大部分を電磁波で遠距離場(far field)に伝搬するよりもむしろ、送信アンテナの近距離場(near field)におけるエネルギーの大半を受信アンテナに結合することによって起こる。このような近距離場にあるとき、結合モードは、NFCループアンテナ314の間で展開され得る。この近距離結合が起こり得るNFCループアンテナ314の周囲のエリアを、本明細書では結合モード領域(coupling-mode region)と呼ぶ。
[0048] NFCデバイスは、通信が確立されるのを可能にするために、十分な情報を取得し得る。確立され得る通信の1つの形式は、国際標準化機構のデータ交換プロトコル(ISO−DEP)通信リンクである。NFCデバイス間の通信は、NFC−A、NFC−Bなどを含むがこれらに限定されない、様々なNFC無線周波数(RF)技術を介して利用可能にされ得る。
[0049] NFC利用可能ワイヤレス通信デバイス302は、ワイヤレス通信デバイス302のNFCカバレッジエリアの範囲内にあるとき、NFCターゲットデバイスおよび/またはパワーを使用しない(unpowered)NFCチップ(例えば、NFCタグ(tag))を認識し得る。NFCは、イニシエータおよびターゲットを含み得る。イニシエータは、放射界を動的に生成し得る。ターゲットは、受動的(passive)であり得、放射界によって駆動され(powered)得る。
[0050] ワイヤレス通信デバイス302は、複数のNFCの使用ケースに従って動作し得る。ある使用ケースでは、ワイヤレス通信デバイス302は、ワイヤレス通信デバイス302が動的に送信されているイニシエータとして機能して得る。この場合、ワイヤレス通信デバイス302は、NFCタグ(例えば、受動的タグ(passive tag))のリーダのように機能している。さらに、この場合、ワイヤレス通信デバイス302は、放射界を生成している。
[0051] 別の使用ケースでは、ワイヤレス通信デバイス302は、ピア・ツー・ピアモードにある。このケースでは、ワイヤレス通信デバイス302は、別のNFCピアデバイスと通信中であり得る。ワイヤレス通信デバイス302は、放射界を生成するイニシエータとして機能することができるか、またはワイヤレス通信デバイス302は、NFCピアデバイスの放射界を変調している負荷であるターゲット(target)として機能することができる。
[0052] 第3の使用ケースの場合、ワイヤレス通信デバイス302は、カードエミュレーション(card emulation)を行い得る。このケースでは、ワイヤレス通信デバイス302は、ターゲットの役割(例えば、受動的な役割(passive role))を行い得る。ワイヤレス通信デバイス302は、任意の放射界を開始しない可能性がある。代わりに、ワイヤレス通信デバイス302は、別のNFCデバイスの放射界を変調し得る。
[0053] ある構成では、NFC送信機308は、NFCループアンテナ314を介してNFCタグまたは別のワイヤレス通信デバイス302にNFC信号を送信し得る。NFCは通常、13.56MHzで動作する。1つまたは複数のTx高調波316は、NFC信号の送信から生成され得る。Tx高調波316は、FMブロードキャストバンド(例えば、76−108メガヘルツ(MHz))に落ち(fall in)得る。例えば、第6高調波(例えば、6×13.56MHz=81.36MHz)、第7高調波(例えば、7×13.56MHz=94.92MHz)、および第8高調波(例えば、8×13.56MHz=108.48MHz)は、FMブロードキャストバンド上に落ちる(fall onto)。
[0054] 1つまたは複数のTx高調波316は、FM Rxアンテナ318で受信され得、それは、1つまたは複数のFMチャネルと干渉(例えば、感度低下)し得る。例えば、第6高調波は、日本で使用されるFM帯域(76−90MHz)と干渉し得る一方、第7および第8高調波は、米国、欧州、および他の地域で使用されるFM帯域(87.7−108.0MHz)と干渉し得る。FMチャネルは、0.1、0.3、0.5、0.7、および0.9MHzで終わる中心周波数を有し得る。いくつかの国々では、FMチャネルはまた、0.0、0.2、0.4、0.6、および0.8MHzで終わる中心周波数を有し得る。FMチャネルは、200kHzの幅であり得る。Tx高調波316がFM動作周波数上に落ちるとき、およびFM信号が弱い(例えば、弱いFM局)とき、そのときにはワイヤレス通信デバイス302のユーザは、FMチャネル上のTx高調波316の影響を聞き取り(hear)得る。
[0055] 現在、既知の解決法は、FMチャネルが感度低下されたままにすることを許容するか、あるいは、NFCトランザクション中にFMをミュートする、またはシステムオーディオトーンを出すことによって、オーディオの悪化をマスキングすることを試みる。例えば、既知のアプローチによると、ワイヤレス通信デバイス302がタグの読み取り(ワイヤレス通信デバイス302が、タグまたはリーダ(reader)のいずれかとして機能している)を検出するとき、またはワイヤレス通信デバイス302がピア・ツー・ピアモードにある場合、ワイヤレス通信デバイス302は、NFC送信中にFMオーディオをミュートし、システムトーン(例えば、ビープ音)を出し得る。言い換えると、既知のアプローチは、NFC送信中にFMオーディオをマスキングする。これら既知の解決法は、十分な同時処理を制限するか、または極めて劣化したFMオーディオの品質およびチャネル効率をもたらす。これらの問題は、制限されたFM放送局を有する国(たとえば、インド)で特に顕著である。
[0056] あるシナリオでは、NFCデバイスは、ポーリング動作(polling operation)を行い得る。例えば、NFCデバイスは、他のNFCデバイスおよび/またはNFCタグの存在を定期的に確認し得る。ポーリング期間は、プログラム可能であり得るが、ポーリングは通常、300ミリ秒(ms)ごとに発生し、ポーリングは一度に10〜30msの間持続し得る。従って、NFC利用可能ワイヤレス通信デバイス302は、継続的に、外に出ており(going out)、そしてFMオーディオを傷つけ(puncturing)し得、それは、ワイヤレス通信デバイス302のユーザに聴き取られ得る。ある構成では、NFCポーリングは、ワイヤレス通信デバイス302のディスプレイがオンにされるときに、発生し得る。別の構成では、NFCポーリングは、ワイヤレス通信デバイス302が休止しているようなときでさえ、発生し得る。従って、ユーザがFMチャネルを聴いており、ディスプレイがオフである場合、NFCポーリングは、可聴のFM干渉を引き起こし得る。
[0057] FMチャネルの感度低下のレベルは、NFCループアンテナ314に対するFM Rxアンテナ318(例えば、有線ヘッドセット)の相対位置に基づいて変化し得る。有線ヘッドセットは、FM Rxアンテナ318が存在し得る場所である。さらに、干渉のレベルは、NFCトランザクションのタイプに基づいて変化し得る。観測は、FMチャネル上のNFC Tx高調波316による最小10デシベル(dB)から50dBよりも大きい干渉を示している。
[0058] 使用される送信周波数310のリニエンシー(leniency)が、NFCのためのプロトコルに組み込まれている。言い換えると、NFC送信周波数310は、13.56MHzとして指定されるが、13.56MHzからプラスマイナス7kHzの周波数がNFC送信での使用に適用できる。従って、NFCは、指定されたプラスマイナス7kHzの帯域幅のレンジを有する。FM受信機304との干渉を低減させるために、ワイヤレス通信デバイス302が13.56MHzから離れるように送信周波数310をシフトし(shift the transmit frequency 310 off of 13. 56 MHz)得る。ある構成では、送信周波数310は、FM受信機304がTx高調波316によって影響され得る同調されたFMチャネル320上にあるとき、指定されたプラスマイナス7kHzの帯域幅のレンジ内に移動され得る。
[0059] ワイヤレス通信デバイス302は、NFCとFM動作の同時処理を提供するための同時処理モジュール(concurrency module)322を含み得る。同時処理モジュール322は、FM受信機304とNFCトランシーバ306との間の通信を提供し得る。同時処理モジュール322は、FM受信機304がオンにされるかどうか、およびNFCによって感度低下されたFMチャネル324に同調されるかどうかを決定し得る。同時処理モジュール322は、同調されたFMチャネル320をFM受信機304から受信し得る。ある構成では、同時処理モジュール322は、同調されたFMチャネル320を、NFCによって感度低下されたFMチャネル324のリストまたは表と比較し得る。例えば、NFCによって感度低下されたFMチャネル324のリストまたは表は、NFC第6高調波によって感度低下されたチャネル330、NFC第7高調波によって感度低下されたチャネル332、および/またはNFC第8高調波によって感度低下されたチャネル334を含み得る。この比較は、ルックアップテーブルに基づき得る。
[0060] 別の構成では、同時処理モジュール322は、同調されたFMチャネル320が、周波数閾値328の比較に基づいてNFCによって感度低下されたFMチャネル324であるかどうかを決定し得る。NFCによって感度低下されたFMチャネル324は、NFC Tx高調波316の周波数閾値328内にあり得る。例えば、周波数閾値328は、プラスマイナス0. 3MHzであり得る。ワイヤレス通信デバイス302は、同調されたFMチャネル320がプラスマイナス0.3MHz内であるかどうかを決定し得る。この場合、NFC第6高調波(例えば、81.36MHz)によって感度低下されたチャネル330は、81.1、81.3、および81.5MHzを含み得る。NFC第7高調波(例えば、94.92MHz)によって感度低下されたチャネル332は、94.7、94.9、および95.1MHzを含み得る。周波数閾値328の値は、より多いまたはより少ないFMチャネルを含むように調整され得ることに留意されたい。言い換えると、周波数閾値328を増加させることによって、より多くの周囲のFMチャネルが含まれ得る。同様に、周波数閾値を減少させることによって、より少ない周囲のFMチャネルが含まれ得る。
[0061] 同時処理モジュール322が、FM受信機304がオンにされること、およびNFCによって感度低下されたFMチャネル324に同調されることを決定する場合、そのときには同時処理モジュール322は、一時的な周波数シフト326によってNFC送信機308の送信周波数310を調整し得る。ある構成では、一時的な周波数シフト326は、プラスマイナス7kHz以内であり得る。従って、一時的な周波数シフト326は指定されたNFCの送信周波数帯域幅内にあり得る。同時処理モジュール322が、小さいファクタによってNFC送信機308の送信周波数310をシフトする場合、そのときには、Tx高調波316は、200kHzのFM Rxチャネル帯域幅の中心から離れて有効にシフトされ得ることに留意されたい。
[0062] 同時処理モジュール322は、NFC送信機308の送信周波数310がシフトされ得る量に基づいて、感度低下のレベルを制御し得る。NFC送信機308の送信周波数310が予想よりも大きく(例えば、NFCプロトコルによって提供されるような7kHzよりも大きく)シフトされる場合、他のNFCデバイスおよびNFCタグとの相互運用性は影響を受け得る。しかしながら、干渉信号が同一チャネルのロケーションから隣接するチャネルへと動かされるとき、FM受信機304の感度において著しい向上が見られ得る。一時的な周波数シフト326が他のNFCおよび/または無線周波数識別(RFID)デバイスおよびタグとの相互運用性の問題を引き起こすケースでは、一時的な周波数シフト326は低減され得る。干渉スプール(interfering spur)が、FM受信機304の帯域幅の中心にあるよりもむしろ、FM受信機304の帯域幅のエッジにあるときに、FM感度の著しい向上があるだろう。同時処理モジュール322が、同調されたFMチャネル320がNFCによって感度低下されたFMチャネル324ではないことを決定する場合、そのときには、NFC送信機308の送信周波数310の一時的な周波数シフト326は実装されない。
[0063] ある構成では、同時処理モジュール322は、Tx高調波316への同調されたFMチャネル320のロケーションに基づいてNFC送信機308の送信周波数をシフトし得る。NFC帯域幅がスプールの帯域幅よりも大きくなり得るため、干渉は、同調されたFMチャネル320とTx高調波316との間の距離を最大化することによって低減され得る。同調されたFMチャネル320がTx高調波316の周波数よりも低い場合、そのときには一時的な周波数シフト326は、正のシフト(positive shift)となり得る。例えば、FM受信機304が94.9MHzに同調される場合、そのときには一時的な周波数シフト326は、NFC第7高調波からFMチャネルの中心の距離を最大化するために+7kHzとなり得る。このケースでは、NFC第7高調波は、94.92MHzから94.969MHzまでシフトし得る。
[0064] 同調されたチャネル320がTx高調波316周波数よりも大きい場合、そのときには一時的な周波数シフト326は、負のシフト(negative shift)となり得る。例えば、FM受信機304が95.1MHzに同調される場合、そのときには一時的な周波数シフト326は、NFC第7高調波からFMチャネルの中心の距離を最大化するために−7kHzとなり得る。このケースでは、NFC第7高調波は、94.92MHzから94.871MHzまでシフトし得る。
[0065] 図4は、NFCによって送信の干渉を低減するための方法400の1つの構成を図示するフロー図である。ワイヤレス通信デバイス302は、NFCによるFMの感度低下を軽減するために、図4で図示される方法400を行い得る。
[0066] ワイヤレス通信デバイス302は、FM受信機304がオンにされるかどうかを決定し得る(402)。ワイヤレス通信デバイス302は、FMブロードキャストを受信し得る。ワイヤレス通信デバイス302は、FM受信機304がアクティブであるかどうかを決定し得る(402)。ワイヤレス通信デバイス302が、FM受信機304がオンにされないことを決定する(402)場合、そのときにはワイヤレス通信デバイス302は、NFC送信機308の送信周波数310を使用してNFC送信を進め得る。
[0067] ワイヤレス通信デバイス302が、FM受信機304がオンにされることを決定する(402)場合、そのときにはワイヤレス通信デバイス302は、FM受信機304がNFCによって感度低下されたFMチャネル324に同調されるかどうかを決定し得る(404)。ある構成では、ワイヤレス通信デバイス302は、同調されたFMチャネル320を、NFCによって感度低下されたFMチャネル324のリストまたは表と比較し得る。別の構成では、ワイヤレス通信デバイス302は、同調されたFMチャネル320が、周波数閾値328の比較に基づいてNFCによって感度低下されたFMチャネル324であるかどうかを決定(404)し得る。NFCによって感度低下されたFMチャネル324は、NFC Tx高調波316の周波数閾値328内にあり得る。これは、図3に関連して上述されるように達成され得る。
[0068] ワイヤレス通信デバイス302が、FM受信機304がNFCによって感度低下されたFMチャネル324に同調されることを決定(404)する場合、そのときにはワイヤレス通信デバイス302は、一時的な周波数シフト326によってNFC送信機308の送信周波数を調整(408)し得る。ある構成では、一時的な周波数シフト326は、プラスマイナス7kHz以内であり得る。一時的な周波数シフト326によってNFC送信機308の送信周波数310を調整する際、ワイヤレス通信デバイス302は、NFC送信を進め得る(406)。
[0069] ワイヤレス通信デバイス302が、FM受信機304がNFCによって感度低下されたFMチャネル324に同調されないことを決定(404)する場合、そのときにはワイヤレス通信デバイス302は、NFC送信を進め得る(406)。言い換えると、同調されたFMチャネル320がNFCによって感度低下され得ない場合、そのときにはワイヤレス通信デバイス302は、NFC送信機308の送信周波数310をシフトすることなく、NFC送信を進め得る(406)。
[0070] 図5は、NFCによる送信の干渉を低減する例を図示するグラフである。この例は、同調されたFMチャネル520に関連するNFC送信周波数510の一時的な周波数シフト526の効果を図示する。ワイヤレス通信デバイス302は、図3に関連して上述されるように、FM受信機304およびNFCトランシーバ306を含み得る。FM受信機304は、94.9MHzの同調されたFMチャネル520上にあり得る。同調されたFMチャネル520は、94.9MHzに中心がある200kHzの受信機帯域幅536を有する。
[0071] NFC送信機308は、13.56MHzのNFC送信周波数510において始めに動作し得る。NFC送信周波数510の第7高調波に対応するTx高調波516は、94.92MHz(例えば、7×13.56MHz)の周波数を有し得る。NFC送信周波数510によって生成されたTx高調波516は、同調されたFMチャネル520の近くに位置付けられることに留意されたい。これは、94.92MHzで、またはその近く、特に94.9MHzにおいて同調されたFMチャネル520で、FMチャネルの感度低下を引き起こし得る。干渉がFMチャネルの中心にあるとき、干渉がFM受信機帯域幅536のエッジにあるときと比較すると、オーディオの信号対雑音比(SNR:signal to noise ratio)での低下が大きい。
[0072] 7kHzの一時的な周波数シフト526は、NFC送信周波数510に適用され得る。一時的な周波数シフト526は、NFC送信周波数510を13.567MHzにシフトし得る。一時的な周波数シフト526は、49kHzのTx高調波516において対応するシフトを生成し得る。この場合、Tx高調波516(例えば、NFC送信周波数510の第7高調波)におけるシフトは、一時的な周波数シフト526の7倍(例えば、7×7kHz)である。微少な(minute)一時的な周波数シフト526をNFC送信周波数510に適用することによって、Tx高調波516は、同調されたFMチャネル520のFM受信機帯域幅536の中心から離れてシフトされ得、それは、低減された送信干渉を引き起こし得る。
[0073] 図6は、シフトされていないNFC第6高調波642およびシフトされたNFC第6高調波644についての例示的なFM受信感度638を図示するグラフである。FM受信感度638は、1ミリワット(mW)を基準とする測定された電力のデシベル(dB)における電力比として表される(dBm)。FM受信感度638は、同調されたFMチャネル620(81.0−81.7MHz)に関連して示される。干渉(例えば、Tx高調波316)が存在しないケースでは、ベースライン感度(baseline sensitivity)640は、−105dBmである(負の値は受信された信号を示す)。
[0074] FM受信感度638上の、シフトされていないNFC第6高調波642およびシフトされたNFC第6高調波644の効率は、同調されたFMチャネル620の周波数に関連して示される。シフトされていないNFC第6高調波642、およびシフトされたNFC第6高調波644は各々、−75dBmの信号強度を有し得る。シフトされていないNFC第6高調波642の存在下では、FM受信感度638は、FM周波数81.2−81.6MHzの間で低減され得る。シフトされていないNFC第6高調波642による、FM受信感度638に対する最大の影響は、FM受信感度638が−73dBmまで落ちる、81.4MHzで発生する。
[0075] NFC送信機308の送信周波数310は、シフトされたNFC第6高調波644を生成するために、プラスマイナス7kHzだけシフトされる。同調されたFMチャネル620が、NFC第6高調波(例えば、6×13.56MHz=81.36MHz)より大きい場合、そのときにはNFC送信機308の送信周波数310は、マイナス7kHzだけシフトされる。これは、シフトされたNFC第6高調波644と、同調されたFMチャネル620との間の距離を最大化し得る。代替的に、同調されたFMチャネル620がNFC第6高調波より小さい場合、そのときにはNFC送信機308の送信周波数310は、プラス7kHzだけシフトされる。
[0076] シフトされたNFC第6高調波644の存在下では、FM受信感度638は、FM周波数81.2−81.5MHzの間で低減される。図6で見られるように、シフトされたNFC第6高調波644は、NFC送信によって引き起こされるFMの感度低下の量を低減する。
[0077] 図7は、シフトされていないNFC第7高調波742、およびシフトされたNFC第7高調波744についての例示的なFM受信感度738を図示するグラフである。FM受信感度738は、同調されたFMチャネル720(94.5−95.5MHz)の周波数に関連して示される。干渉(例えば、Tx高調波316)が存在しないケースでは、ベースライン感度740は、−104dBmである。
[0078] FM受信感度738における、シフトされていないNFC第7高調波742およびシフトされたNFC第7高調波744の効果が、FM周波数に関連して示される。シフトされていないNFC第7高調波742、およびシフトされたNFC第7高調波744は各々、−75dBmの信号強度を有し得る。シフトされていないNFC第7高調波742の存在下では、FM受信感度738は、FM周波数94.7−95.1MHzの間で低減され得る。
[0079] NFC送信機308の送信周波数310は、シフトされたNFC第7高調波744を生成するために、プラスマイナス7kHzだけシフトされる。同調されたFMチャネル720が、NFC第7高調波(例えば、7×13.56MHz=94.92MHz)より大きい場合、そのときにはNFC送信機308の送信周波数310は、マイナス7kHzだけシフトされる。これは、シフトされたNFC第7高調波744と、同調されたFMチャネル720との間の距離を最大化し得る。代替的に、同調されたFMチャネル720がNFC第7高調波より小さい場合、そのときにはNFC送信機308の送信周波数310は、プラス7kHzだけシフトされる。
[0080] シフトされたNFC第7高調波744の存在下では、FM受信感度738は、FM周波数94.8−95.1MHzの間で低減され得る。図7で見られるように、シフトされたNFC第7高調波744は、NFC送信によって引き起こされるFM感度低下の量を低減する。
[0081] 図8は、干渉オフセット848に関連する例示的なFMノッチフィルタ帯域幅(notch filter bandwidth)846を図示するグラフである。図8のシミュレーション結果は、干渉するスプール(例えば、Tx高調波116)が、FMチャネルの中心(100kHzに位置付けられた)からより離れて動かされるにつれて、FMノッチフィルタ帯域幅846が拡大され得ることを示している。FMノッチフィルタ帯域幅846が増大するにつれて、FMノッチフィルタは、さらなる干渉を阻止し得る。
[0082] FMノッチフィルタ(スプールフィルタ(spur filter)とも呼ばれる)は干渉を除去または低減するだけではないため、FMノッチフィルタは、FM信号自体の一部分もまた除去し得る。結果として、オーディオ品質が低下され得る。しかしながら、図8は、NFCキャリアシフトがFMチャネルの中心から増大されるにつれて(例えば、干渉オフセット848が100kHzから移動するにつれて)、FMノッチフィルタ帯域幅846もまた増大し得ることを示す。干渉がFMチャネルの中心から遠いため、より広いFMノッチフィルタ帯域幅846が利用され得る。これは、NFC干渉からの障害と比較してFM信号のより広い除去された部分に起因して、オーディオ品質におけるより小さい劣化をもたらし得る。さらに、より大きいFMノッチフィルタ帯域幅846は、より幅広いノッチアウトされた(notched out)干渉をもたらし得る。
[0083] 図9は、ワイヤレス通信デバイス902内に含まれ得る特定のコンポーネントを図示する。ワイヤレス通信デバイス902は、アクセス端末、モバイル局、ユーザ機器(UE)などであり得る。例えば、ワイヤレス通信デバイス902は、図1のワイヤレス通信デバイス102、または図3のワイヤレス通信デバイス302であり得る。
[0084] ワイヤレス通信デバイス902は、プロセッサ903を含む。プロセッサ903は、汎用のシングルチップまたはマルチチップマイクロプロセッサ(例えば、アドバンストRISC(Reduced Instruction Set Computer)マシン(ARM))、専用マイクロプロセッサ(例えば、デジタル信号プロセッサ(DSP))、マイクロコントローラ、プログラマブルゲートアレイなどであり得る。プロセッサ903は、中央処理ユニット(CPU)と呼ばれ得る。単一のプロセッサ903のみが、図9のワイヤレス通信デバイス902において示されるが、代替の構成として、プロセッサの組み合わせ(例えば、ARMおよびDSP)が使用され得る。
[0085] ワイヤレス通信デバイス902はまた、プロセッサと電子通信するメモリ905を含む(すなわち、プロセッサは、メモリから情報を読み取ることおよび/またはメモリに情報を書き込むことができる)。メモリ905は、電子情報を記憶することが可能な任意の電子コンポーネントであり得る。メモリ905は、ランダムアクセスメモリ(RAM)、読取専用メモリ(ROM)、磁気ディスク記憶媒体、光記憶媒体、RAMにおけるフラッシュメモリデバイス、プロセッサと共に含まれるオンボードメモリ、消去可能プログラマブル読取専用メモリ(EPROM)、電気的消去可能PROM(EEPROM(登録商標))、レジスタなど、およびそれらの組合せとして構成され得る。
[0086] データ907aおよび命令909aは、メモリ905に記憶され得る。命令は、1つまたは複数のプログラム、ルーチン、サブルーチン、関数、プロシージャ、コードなどを含み得る。命令は、単一のコンピュータ読取可能なステートメントまたは多数のコンピュータ読取可能なステートメントを含み得る。命令909aは、本明細書に開示される方法を実現するためにプロセッサ903によって実行可能であり得る。命令909aを実行することは、メモリ905内に記憶されるデータ907aの使用を含み得る。プロセッサ903が命令909を実行する場合、命令909bの様々な部分がプロセッサ903にロードされ、データ907bの様々な部分がプロセッサ903にロードされ得る。
[0087] ワイヤレス通信デバイス902はまた、アンテナ917を介して、ワイヤレス通信デバイス902への信号の送信と、それからの信号の送信および受信を可能にするための、送信機911および受信機913を含み得る。送信機911および受信機913は、トランシーバ915と総称され得る。ワイヤレス通信デバイス902はまた、複数の送信機、複数のアンテナ、複数の受信機、および/または複数のトランシーバを含み得る(図示されず)。
[0088] ワイヤレス通信デバイス902は、デジタル信号プロセッサ(DSP)921を含み得る。ワイヤレス通信デバイス902はまた、通信インターフェース923を含み得る。通信インターフェース923は、ユーザがワイヤレス通信デバイス902とやり取りすることを可能にし得る。
[0089] ワイヤレス通信デバイス902の様々なコンポーネントが、1つまたは複数のバスによって共に結合され得、それは、電力バス、制御信号バス、ステータス信号バス、データバスなどを含み得る。明確化のために、様々なバスが、バスシステム919として、図9で図示される。
[0090] 先の説明では、参照番号は、時に、様々な用語に関連して使用されている。用語が参照番号に関連して使用される場合、これは、図のうちの1つまたは複数で示される特定のエレメントを指すことを意味し得る。用語が参照番号なしに使用される場合、これは、いずれか特定の図に限定することなく用語を一般的に指すことを意味し得る。
[0091] 「決定すること(determining)」という用語は、多種多様な動作を包含し、従って「決定すること」は、計算すること、演算すること、処理すること、導出すること、調査すること、調べること(例えば、表、データベース、または別のデータ構造を調べること)、確認することなどを含むことができる。また、「決定すること」は、受信すること(例えば、情報を受信すること)、アクセスすること(例えば、メモリ内のデータにアクセスすること)などを含むことができる。また、「決定すること」は、解決すること、選択すること、選ぶこと、確立することなどを含むことができる。
[0092] 「に基づく(based on)」というフレーズは、そうではないと明確に指定されていない限り、「のみに基づく」ことを意味するわけではない。言い換えると、「に基づく」というフレーズは、「のみに基づく(based only on)」および「に少なくとも基づく(based at least on)」の両方を説明する。
[0093] 「プロセッサ」という用語は、汎用プロセッサ、中央処理ユニット(CPU)、マイクロプロセッサ、デジタル信号プロセッサ(DSP)、コントローラ、マイクロコントローラ、ステートマシンなどを包含するように広く解釈されるべきである。いくつかの状況下では、「プロセッサ」は、特定用途向け集積回路(ASIC)、プログラマブル論理デバイス(PLD)、フィールドプログラマブルゲートアレイ(FPGA)などを指し得る。「プロセッサ」という用語は、処理デバイスの組み合わせ、例えば、デジタル信号プロセッサ(DSP)とマイクロプロセッサの組み合わせ、複数のマイクロプロセッサ、デジタル信号プロセッサ(DSP)コアと連携した1つまたは複数のマイクロプロセッサ、あるいは任意の他のこのような構成を指し得る。
[0094] 「メモリ」という用語は、電子情報を記憶することができる任意の電子コンポーネントを包含するように広く解釈されるべきである。メモリという用語は、ランダムアクセスメモリ(RAM)、読取専用メモリ(ROM)、不揮発性ランダムアクセスメモリ(NVRAM)、プログラマブル読取専用メモリ(PROM)、消去可能なプログラマブル読取専用メモリ(EPROM)、電気的消去可能PROM(EEPROM)、フラッシュメモリ、磁気または光学データ記憶装置、レジスタなどのような、様々なタイプのプロセッサ読取可能媒体を指し得る。メモリは、プロセッサがそのメモリから情報を読み取ることができる、および/またはそれに情報を書き込むことができる場合、そのプロセッサと電子通信していると考えられる。プロセッサに統合されているメモリは、そのプロセッサと電子通信している。
[0095] 「命令」および「コード」という用語は、任意のタイプの(1つまたは複数の)コンピュータ読取可能ステートメントを含むように広く解釈されるべきである。例えば、「命令」および「コード」という用語は、1つまたは複数のプログラム、ルーチン、サブルーチン、機能(function)、プロシージャなどを指し得る。「命令」および「コード」は、単一のコンピュータ可読ステートメントまたは多数のコンピュータ可読ステートメントを備え得る。
[0096] 本明細書で説明される機能は、ハードウェアによって実行されるソフトウェアまたはファームウェアにおいて実装され得る。これらの機能は、コンピュータ読取可能媒体上で、1つまたは複数の命令として記憶され得る。「コンピュータ読取可能媒体」または「コンピュータプログラム製品」という用語は、コンピュータまたはプロセッサによってアクセスされ得る任意の有形の記憶媒体を指す。限定ではなく例として、コンピュータ読取可能媒体は、RAM、ROM、EEPROM、CD−ROM、あるいは他の光学ディスク記憶装置、磁気ディスク記憶装置または他の磁気記憶デバイス、あるいは、命令またはデータ構造の形態で所望のプログラムコードを搬送または記憶するために使用されることができ、かつ、コンピュータによってアクセスされることができる任意の他の媒体を含み得る。本明細書で使用されるような、ディスク(disk)およびディスク(disc)は、コンパクトディスク(CD)、レーザーディスク(登録商標)、光ディスク、デジタル多目的ディスク(DVD)、フロッピー(登録商標)ディスク、およびBlu−ray(登録商標)ディスクを含み、ここでディスク(disks)は、通常磁気的にデータを再生し、一方ディスク(discs)は、レーザーを用いて光学的にデータを再生する。コンピュータ読取可能媒体は、有形および非一時的であり得ることに留意されたい。「コンピュータプログラム製品」という用語は、コンピューティングデバイスまたはプロセッサによって実行、処理、または計算され得るコードまたは命令(例えば、「プログラム」の)と組み合わせたコンピューティングデバイスまたはプロセッサを指す。本明細書で使用されるような、「コード」という用語は、コンピューティングデバイスまたはプロセッサによって実行可能であるソフトウェア、命令、コード、またはデータを指し得る。
[0097] ソフトウェアまたは命令はまた、送信媒体上で送信され得る。例えば、ソフトウェアがウェブサイト、サーバ、または他の遠隔ソースから、同軸ケーブル、光ファイバーケーブル、ツイストペア、デジタル加入者回線(DSL)、または赤外線、無線、およびマイクロ波のようなワイヤレス技術を使用して送信される場合、同軸ケーブル、光ファイバーケーブル、ツイストペア、DSL、あるいは赤外線、無線、およびマイクロ波のようなワイヤレス技術は送信媒体の定義に含まれる。
[0098] 本明細書に開示された方法は、記述された方法を達成するための1つまたは複数のステップまたは動作を備える。方法のステップおよび/または動作は、特許請求の範囲から逸脱することなく互いに置き換えられ得る。言い換えれば、ステップまたは動作の特定の順序が、説明されている方法の正常な動作のために必要とされない限り、特定のステップおよび/または動作の順序および/または使用は、特許請求の範囲から逸脱することなく修正され得る。
[0099] さらに、図2、および図4で図示されているような、本明細書で説明された方法および技法を実行するためのモジュールおよび/または他の適切な手段は、デバイスによってダウンロードされるおよび/または別の方法で取得され得ることが理解されるべきである。例えば、デバイスは、本明細書で説明された方法を実行するための手段の転送を容易にするために、サーバに結合され得る。代替的に、ここで説明された様々な方法は、デバイスに記憶手段を結合または提供した際に、デバイスが様々な方法を取得し得るように、記憶手段(例えば、ランダムアクセスメモリ(RAM)、読取専用メモリ(ROM)、コンパクトディスク(CD)またはフロッピーディスクのような物理記憶媒体など)を介して提供され得る。さらに、本明細書で説明される方法および技法をデバイスに提供するためのその他任意の適切な技法が利用され得る。
[00100] 本願の請求項は、上記に例示されたとおりの構成およびコンポーネントに限定されないことが理解されるべきである。様々な修正、変更、および、バリエーションが、本明細書において説明されたシステム、方法、および装置の配置、オペレーション、および、詳細において、特許請求の範囲から逸脱することなく行われ得る。

Claims (30)

  1. 送信の干渉を低減するための方法であって、
    FM受信機がオンにされることを決定することと、
    前記FM受信機が誘導ベースの通信送信機からの干渉を経験するFMチャネルに同調されることを決定することと、
    一時的な周波数シフトによって前記誘導ベースの通信送信機の送信周波数を調整することと
    を備える、方法。
  2. 前記方法は、ワイヤレス通信デバイスによって実行される、請求項1に記載の方法。
  3. 前記誘導ベースの通信送信機の磁界は、前記FM受信機と誘導結合される、請求項1に記載の方法。
  4. 前記FM受信機が誘導ベースの通信送信機からの干渉を経験するFMチャネルに同調されることを決定することは、前記同調されたFMチャネルを、感度低下されたFMチャネルのリストと比較することを備える、請求項1に記載の方法。
  5. 前記干渉は、前記誘導ベースの通信送信機の前記送信周波数の高調波によって引き起こされる、請求項1に記載の方法。
  6. 前記一時的な周波数シフトは、前記FM受信機との干渉を低減する、請求項1に記載の方法。
  7. 前記同調されたFMチャネルが、前記誘導ベースの通信送信機の前記送信周波数の高調波から周波数閾値内にあるとき、前記誘導ベースの通信送信機の前記送信周波数を調整することをさらに備える、請求項1に記載の方法。
  8. 前記誘導ベースの通信送信機は、近距離通信(NFC)送信機である、請求項1に記載の方法。
  9. 前記NFC送信機の動作は、FM動作と同時である、請求項8に記載の方法。
  10. 前記一時的な周波数シフトは、指定されたNFC送信周波数帯域幅内である、請求項8に記載の方法。
  11. 前記NFC送信機は、イニシエータとして機能している、請求項8に記載の方法。
  12. 前記NFC送信機は、ポーリング動作を行っている、請求項8に記載の方法。
  13. 送信の干渉を低減するための装置であって、
    プロセッサと、
    前記プロセッサと電子通信するメモリと、
    前記メモリに記憶された命令と
    を備え、前記命令は、
    FM受信機がオンにされることを決定することと、
    前記FM受信機が誘導ベースの通信送信機からの干渉を経験するFMチャネルに同調されることを決定することと、
    一時的な周波数シフトによって前記誘導ベースの通信送信機の送信周波数を調整することと
    を行うように前記プロセッサによって実行可能である、装置。
  14. 前記誘導ベースの通信送信機の磁界は、前記FM受信機と誘導結合される、請求項13に記載の装置。
  15. 前記FM受信機が誘導ベースの通信送信機からの干渉を経験するFMチャネルに同調されることを決定するように実行可能な前記命令は、前記同調されたFMチャネルを、感度低下されたFMチャネルのリストと比較するように実行可能な命令を備える、請求項13に記載の装置。
  16. 前記干渉は、前記誘導ベースの通信送信機の前記送信周波数の高調波によって引き起こされる、請求項13に記載の装置。
  17. 前記一時的な周波数シフトは、前記FM受信機との干渉を低減する、請求項13に記載の装置。
  18. 前記同調されたFMチャネルが前記誘導ベースの通信送信機の前記送信周波数の高調波から周波数閾値内にあるとき、前記誘導ベースの通信送信機の前記送信周波数を調整するように実行可能な命令をさらに備える、請求項13に記載の装置。
  19. 前記誘導ベースの通信送信機は、近距離通信(NFC)送信機である、請求項13に記載の装置。
  20. 送信の干渉を低減するためのワイヤレスデバイスであって、
    FM受信機がオンにされることを決定するための手段と、
    前記FM受信機が誘導ベースの通信送信機からの干渉を経験するFMチャネルに同調されることを決定するための手段と、
    一時的な周波数シフトによって前記誘導ベースの通信送信機の送信周波数を調整するための手段と
    を備える、ワイヤレスデバイス。
  21. 前記FM受信機が誘導ベースの通信送信機からの干渉を経験するFMチャネルに同調されることを決定するための前記手段は、前記同調されたFMチャネルを、感度低下されたFMチャネルのリストと比較するための手段を備える、請求項20に記載のワイヤレスデバイス。
  22. 前記干渉は、前記誘導ベースの通信送信機の前記送信周波数の高調波によって引き起こされる、請求項20に記載のワイヤレスデバイス。
  23. 前記一時的な周波数シフトは、前記FM受信機との干渉を低減する、請求項20に記載のワイヤレスデバイス。
  24. 前記同調されたFMチャネルが前記誘導ベースの通信送信機の前記送信周波数の高調波から周波数閾値内にあるとき、前記誘導ベースの通信送信機の前記送信周波数を調整するための手段をさらに備える、請求項20に記載のワイヤレスデバイス。
  25. 送信の干渉を低減するためのコンピュータプログラム製品であって、前記コンピュータプログラム製品は、命令を有する非一時的な的コンピュータ読取可能媒体を備え、前記命令は、
    ワイヤレス通信デバイスに、FM受信機がオンにされることを決定させるためのコードと、
    前記ワイヤレス通信デバイスに、前記FM受信機が誘導ベースの通信送信機からの干渉を経験するFMチャネルに同調されることを決定させるためのコードと、
    前記ワイヤレス通信デバイスに、一時的な周波数シフトによって前記誘導ベースの通信送信機の送信周波数を調整させるためのコードと
    を備える、コンピュータプログラム製品。
  26. 前記ワイヤレス通信デバイスに、前記FM受信機が誘導ベースの通信送信機からの干渉を経験するFMチャネルに同調されることを決定させるための前記コードは、前記ワイヤレス通信デバイスに、前記同調されたFMチャネルを、感度低下されたFMチャネルのリストと比較させるためのコードを備える、請求項25に記載のコンピュータプログラム製品。
  27. 前記干渉は、前記誘導ベースの通信送信機の前記送信周波数の高調波によって引き起こされる、請求項25に記載のコンピュータプログラム製品。
  28. 前記一時的な周波数シフトは、前記FM受信機との干渉を低減する、請求項25に記載のコンピュータプログラム製品。
  29. 前記同調されたFMチャネルが前記誘導ベースの通信送信機の前記送信周波数の高調波から周波数閾値内にあるとき、前記ワイヤレス通信デバイスに、前記誘導ベースの通信送信機の前記送信周波数を調整させるためのコードをさらに備える、請求項25に記載のコンピュータプログラム製品。
  30. 前記誘導ベースの通信送信機は、近距離通信(NFC)送信機である、請求項25に記載のコンピュータプログラム製品。
JP2016540391A 2013-09-06 2014-09-04 送信の干渉を低減するためのシステムおよび方法 Expired - Fee Related JP6441362B2 (ja)

Applications Claiming Priority (5)

Application Number Priority Date Filing Date Title
US201361874977P 2013-09-06 2013-09-06
US61/874,977 2013-09-06
US14/260,689 US9991971B2 (en) 2013-09-06 2014-04-24 Systems and methods for reducing transmission interference
US14/260,689 2014-04-24
PCT/US2014/054130 WO2015035073A1 (en) 2013-09-06 2014-09-04 Systems and methods for reducing transmission interference

Publications (3)

Publication Number Publication Date
JP2016530833A true JP2016530833A (ja) 2016-09-29
JP2016530833A5 JP2016530833A5 (ja) 2017-09-21
JP6441362B2 JP6441362B2 (ja) 2018-12-19

Family

ID=52626058

Family Applications (1)

Application Number Title Priority Date Filing Date
JP2016540391A Expired - Fee Related JP6441362B2 (ja) 2013-09-06 2014-09-04 送信の干渉を低減するためのシステムおよび方法

Country Status (6)

Country Link
US (1) US9991971B2 (ja)
EP (1) EP3042448A1 (ja)
JP (1) JP6441362B2 (ja)
KR (1) KR20160052615A (ja)
CN (1) CN105518998B (ja)
WO (1) WO2015035073A1 (ja)

Families Citing this family (11)

* Cited by examiner, † Cited by third party
Publication number Priority date Publication date Assignee Title
EP2582058B1 (en) 2011-10-10 2016-03-30 ST-Ericsson SA Interference mitigating method
JP2015162696A (ja) * 2014-02-26 2015-09-07 京セラ株式会社 通信機器及び制御方法
US9831960B2 (en) * 2014-12-05 2017-11-28 Qualcomm Incorporated Systems and methods for reducing transmission interference
CN107171759A (zh) * 2017-07-12 2017-09-15 惠州Tcl移动通信有限公司 一种查找和搜索fm频道的方法、移动终端及存储装置
US11387968B2 (en) 2017-09-11 2022-07-12 Lg Electronics Inc. Method for transmitting and receiving signal by terminal supporting dual-connectivity between E-UTRA and NR and terminal performing the method
KR102464620B1 (ko) 2018-01-30 2022-11-08 삼성전자주식회사 노이즈를 감소하기 위한 전자 장치
CN109660270A (zh) * 2018-11-21 2019-04-19 惠州Tcl移动通信有限公司 一种降低sglte耦合灵敏度劣化的方法及移动终端
CN109672959A (zh) * 2018-12-24 2019-04-23 维沃移动通信有限公司 一种信号处理方法、终端设备及计算机可读存储介质
CN110868757B (zh) * 2019-11-21 2024-04-09 维沃移动通信有限公司 一种信息的传输方法、装置及电子设备
US20210216060A1 (en) * 2020-01-09 2021-07-15 Myomega Systems Gmbh Management of a reliable industrial control system via dedicated cellular network
CN113810912B (zh) * 2021-10-29 2025-02-25 维沃移动通信有限公司 射频控制方法、装置和电子设备

Citations (5)

* Cited by examiner, † Cited by third party
Publication number Priority date Publication date Assignee Title
US2810074A (en) * 1955-06-02 1957-10-15 Hahnel Alwin Frequency control system for oscillators
JP2007110520A (ja) * 2005-10-14 2007-04-26 Ntt Docomo Inc 移動通信端末、及び電波干渉回避方法
US20100062801A1 (en) * 2008-09-09 2010-03-11 Tae Ho Kim Dual-standby mobile terminal and communication method for the same
JP2012533227A (ja) * 2009-07-09 2012-12-20 クゥアルコム・インコーポレイテッド ローカル送受信機のfmラジオとの干渉を防止するためのloシフトの使用
EP2582058A1 (en) * 2011-10-10 2013-04-17 ST-Ericsson SA Interference mitigating method

Family Cites Families (9)

* Cited by examiner, † Cited by third party
Publication number Priority date Publication date Assignee Title
US7146176B2 (en) 2000-06-13 2006-12-05 Shared Spectrum Company System and method for reuse of communications spectrum for fixed and mobile applications with efficient method to mitigate interference
US8126030B2 (en) 2005-08-31 2012-02-28 Motorola Mobility, Inc. Multi-mode wireless communication device and method
US20080146165A1 (en) 2006-12-15 2008-06-19 Motorola, Inc. Dynamic frequency synthesizer programming
EP2020758A1 (en) * 2007-08-01 2009-02-04 Sony Corporation Method for transmitting a signal over a power line channel and power line communication modem
US8396003B2 (en) 2007-12-28 2013-03-12 Nokia Corporation Control of radio process
US9155103B2 (en) 2009-06-01 2015-10-06 Qualcomm Incorporated Coexistence manager for controlling operation of multiple radios
EP2337231B1 (en) 2009-12-21 2012-10-31 ST-Ericsson (France) SAS A process for performing near field communication (NFC) in an integrated circuit or package also including a FM receiver
US20120040628A1 (en) 2010-08-13 2012-02-16 Infineon Technologies Ag Transceiver with Interferer Control
GB2492772B (en) 2011-07-11 2014-02-19 Cambridge Silicon Radio Ltd Communication apparatus

Patent Citations (5)

* Cited by examiner, † Cited by third party
Publication number Priority date Publication date Assignee Title
US2810074A (en) * 1955-06-02 1957-10-15 Hahnel Alwin Frequency control system for oscillators
JP2007110520A (ja) * 2005-10-14 2007-04-26 Ntt Docomo Inc 移動通信端末、及び電波干渉回避方法
US20100062801A1 (en) * 2008-09-09 2010-03-11 Tae Ho Kim Dual-standby mobile terminal and communication method for the same
JP2012533227A (ja) * 2009-07-09 2012-12-20 クゥアルコム・インコーポレイテッド ローカル送受信機のfmラジオとの干渉を防止するためのloシフトの使用
EP2582058A1 (en) * 2011-10-10 2013-04-17 ST-Ericsson SA Interference mitigating method

Also Published As

Publication number Publication date
US9991971B2 (en) 2018-06-05
WO2015035073A1 (en) 2015-03-12
CN105518998B (zh) 2017-10-27
US20150072623A1 (en) 2015-03-12
JP6441362B2 (ja) 2018-12-19
KR20160052615A (ko) 2016-05-12
EP3042448A1 (en) 2016-07-13
CN105518998A (zh) 2016-04-20

Similar Documents

Publication Publication Date Title
JP6441362B2 (ja) 送信の干渉を低減するためのシステムおよび方法
US10070247B2 (en) Systems and methods for connection creation
US20150072615A1 (en) Systems and methods for reducing transmission interference with a parasitic loop
US9172414B2 (en) Method and device for implementing radio frequency coexistence management strategy in wireless devices
US12464477B2 (en) Enhanced power management for wireless communications
US20170245204A1 (en) Systems and methods for prioritizing channel scanning
US20180054261A1 (en) Method and apparatus for data transmission
CN104919770B (zh) 用于加重包含优先级数据的频率块的方法和设备
JP2013528341A (ja) 同一周波数帯域におけるラジオ周波数信号に対するアンテナ共有
CN111010206A (zh) 天线调谐方法、装置、移动终端及计算机可读存储介质
US20150133180A1 (en) Selective power reduction to mitigate band interference
US20190007153A1 (en) Systems and methods for concurrent transmission
US10306562B2 (en) Transport format combination selection during self-jamming interference
US20190103940A1 (en) Securing bluetooth communications using multiple antennas
US10638425B2 (en) Adaptive out of service scan for modem power optimization in a wireless communication system
US20160365903A1 (en) Dsda and mimo antenna system
US11271662B2 (en) Low power communication links between wireless devices
US9490855B1 (en) Method and apparatus for self-directed interference cancellation filter management
US20150256229A1 (en) Systems and methods for improving the robustness of an nfc forum peer-to-peer link
CN113316235A (zh) 射频功率动态调整方法、移动终端及计算机可读存储介质

Legal Events

Date Code Title Description
A521 Request for written amendment filed

Free format text: JAPANESE INTERMEDIATE CODE: A523

Effective date: 20170807

A621 Written request for application examination

Free format text: JAPANESE INTERMEDIATE CODE: A621

Effective date: 20170807

A977 Report on retrieval

Free format text: JAPANESE INTERMEDIATE CODE: A971007

Effective date: 20180813

A131 Notification of reasons for refusal

Free format text: JAPANESE INTERMEDIATE CODE: A131

Effective date: 20180828

A521 Request for written amendment filed

Free format text: JAPANESE INTERMEDIATE CODE: A523

Effective date: 20181005

TRDD Decision of grant or rejection written
A01 Written decision to grant a patent or to grant a registration (utility model)

Free format text: JAPANESE INTERMEDIATE CODE: A01

Effective date: 20181023

A61 First payment of annual fees (during grant procedure)

Free format text: JAPANESE INTERMEDIATE CODE: A61

Effective date: 20181121

R150 Certificate of patent or registration of utility model

Ref document number: 6441362

Country of ref document: JP

Free format text: JAPANESE INTERMEDIATE CODE: R150

LAPS Cancellation because of no payment of annual fees