JP2016515744A - 多領域容量検出方法、該方法を実施する装置及び機器 - Google Patents
多領域容量検出方法、該方法を実施する装置及び機器 Download PDFInfo
- Publication number
- JP2016515744A JP2016515744A JP2016508091A JP2016508091A JP2016515744A JP 2016515744 A JP2016515744 A JP 2016515744A JP 2016508091 A JP2016508091 A JP 2016508091A JP 2016508091 A JP2016508091 A JP 2016508091A JP 2016515744 A JP2016515744 A JP 2016515744A
- Authority
- JP
- Japan
- Prior art keywords
- excitation
- potential
- electrodes
- electrode
- excitation potential
- Prior art date
- Legal status (The legal status is an assumption and is not a legal conclusion. Google has not performed a legal analysis and makes no representation as to the accuracy of the status listed.)
- Granted
Links
Images
Classifications
-
- G—PHYSICS
- G06—COMPUTING OR CALCULATING; COUNTING
- G06F—ELECTRIC DIGITAL DATA PROCESSING
- G06F3/00—Input arrangements for transferring data to be processed into a form capable of being handled by the computer; Output arrangements for transferring data from processing unit to output unit, e.g. interface arrangements
- G06F3/01—Input arrangements or combined input and output arrangements for interaction between user and computer
- G06F3/03—Arrangements for converting the position or the displacement of a member into a coded form
- G06F3/041—Digitisers, e.g. for touch screens or touch pads, characterised by the transducing means
- G06F3/0416—Control or interface arrangements specially adapted for digitisers
- G06F3/0418—Control or interface arrangements specially adapted for digitisers for error correction or compensation, e.g. based on parallax, calibration or alignment
-
- G—PHYSICS
- G06—COMPUTING OR CALCULATING; COUNTING
- G06F—ELECTRIC DIGITAL DATA PROCESSING
- G06F3/00—Input arrangements for transferring data to be processed into a form capable of being handled by the computer; Output arrangements for transferring data from processing unit to output unit, e.g. interface arrangements
- G06F3/01—Input arrangements or combined input and output arrangements for interaction between user and computer
- G06F3/03—Arrangements for converting the position or the displacement of a member into a coded form
- G06F3/041—Digitisers, e.g. for touch screens or touch pads, characterised by the transducing means
- G06F3/044—Digitisers, e.g. for touch screens or touch pads, characterised by the transducing means by capacitive means
- G06F3/0445—Digitisers, e.g. for touch screens or touch pads, characterised by the transducing means by capacitive means using two or more layers of sensing electrodes, e.g. using two layers of electrodes separated by a dielectric layer
-
- G—PHYSICS
- G06—COMPUTING OR CALCULATING; COUNTING
- G06F—ELECTRIC DIGITAL DATA PROCESSING
- G06F2203/00—Indexing scheme relating to G06F3/00 - G06F3/048
- G06F2203/041—Indexing scheme relating to G06F3/041 - G06F3/045
- G06F2203/04101—2.5D-digitiser, i.e. digitiser detecting the X/Y position of the input means, finger or stylus, also when it does not touch, but is proximate to the digitiser's interaction surface and also measures the distance of the input means within a short range in the Z direction, possibly with a separate measurement setup
-
- G—PHYSICS
- G06—COMPUTING OR CALCULATING; COUNTING
- G06F—ELECTRIC DIGITAL DATA PROCESSING
- G06F2203/00—Indexing scheme relating to G06F3/00 - G06F3/048
- G06F2203/041—Indexing scheme relating to G06F3/041 - G06F3/045
- G06F2203/04104—Multi-touch detection in digitiser, i.e. details about the simultaneous detection of a plurality of touching locations, e.g. multiple fingers or pen and finger
Landscapes
- Engineering & Computer Science (AREA)
- General Engineering & Computer Science (AREA)
- Theoretical Computer Science (AREA)
- Human Computer Interaction (AREA)
- Physics & Mathematics (AREA)
- General Physics & Mathematics (AREA)
- Electronic Switches (AREA)
- Position Input By Displaying (AREA)
- Measurement Of Resistance Or Impedance (AREA)
- Measurement Of Length, Angles, Or The Like Using Electric Or Magnetic Means (AREA)
- Investigating Or Analyzing Materials By The Use Of Electric Means (AREA)
Abstract
また、本発明は、方法を実施する装置及び機器に関する。
Description
−経時的に変化可能な少なくとも1つの励起電位を備えることができ;
−異なる周波数を有する周期的な励起電位を備えることができ;
−少なくとも1つの励起電位を備えることができ、該励起電位の周波数成分がスペクトル帯域にわたって広げられる;
−直角位相を成す同じ周波数の2つの周期的な励起電位を備えることができ;
−少なくとも1つの励起電位を備えることができ、該励起電位の干渉信号とのスカラー積が最小化され;
−基準電位にほぼ等しい少なくとも1つの励起電位を備えることができる。
−電極の電荷の代表的な測定値の取得と、
−電極の励起電位を使用することによる電荷の前記代表的な測定値の復調と、を備える。
−測定手段も備えることができ、該測定手段は、それらが連結される電極と同じ励起電位に基準付けられる。
−測定手段に連結されるとともに、基準電位に基準付けられる容量結合の代表的な測定値をもたらすことができる復調手段も備えることができる。
−幾つかの異なる励起電位で、及び/又は、
−少なくとも1つの励起電位で或いは基準電位で分極できるようにする手段も備えることができる。
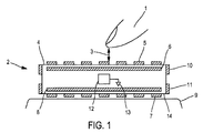
−機器2は、図1に示されるように、第1及び第2の面4,14へ向けてそれぞれ別個の第3の電極10,11を備えることができる。この場合、第3の電極10のうちの1つは、第1の電極5の励起電位にあることができ、また、第3の電極11のうちの1つは、第2の電極7の励起電位にあることができ;
−機器2が側面の少なくとも一部を覆う第3の電極10又は11のみを備えることが可能である。この場合、この第3の電極は、第1の電極5の励起電位にあることができ或いは第2の電極7の励起電位にあることができる。第3の電極は、随意的に、第1及び/又は第2の電極の測定から生じる情報の項目に応じて、一方の励起電位から他方の励起電位へと切り換えられ得る。第3の電極10又は11は、第1及び第2の電極の励起電位とは異なる励起電位にあることもできる。
−任意の数の平行な測定経路を実施するため、
−異なる測定経路に関して、任意の数の異なる励起電位を実施するため、
−同じ励起電位で分極される電極での幾つかの測定値の取得を同時に可能にするべく同じ励起電位を伴う平行な測定経路を実施するために、一般化され得る。
−測定値を取得するために電荷増幅器34(35)の入力に対して電極5(7)を連結するようになっており、
−或いは、基準電位42(43)に対して電極5(7)を連結するようになっており、この場合には、対応する電極がガード電極6(8)のように振る舞い、それにより、電荷増幅器34(35)の入力に連結される活性電極との寄生容量の出現を回避することができる。
−1つの面4,14の電極の全てが1つの同じ電子測定経路によって制御されるように、図1における装置に実装できる。したがって、この示された構成によれば、第1の測定経路が第1の面6の第1の電極5の全てを制御し、また、第2の測定経路が第2の面14の第2の電極7の全てを制御する。
−1つの面4,14の電極が複数の領域で分布されて幾つかの電子測定経路によってそれぞれ制御されるように、図1における装置に実装できる。これにより、精度を向上させることができるとともに、異なる領域における測定の独立性を高めることができる。
−側部電極10,11が第1及び第2の測定経路によってそれぞれ制御されるように、
−側部電極10,11が随意的に切り換え手段によって第1の測定経路又は第2の測定経路に連結されるように、図1における装置に実装できる。切り換えは、他の電極から生じる情報の項目に応じて行うことができる。
−側部電極10,11が第3の測定経路によって制御されるように、図1における装置に実装できる。
−第2の電極7の励起電位43が基準電位13へ切り換えられ、それにより、第2の面14の第2の電極7がこの基準電位13に設定される;
−第1の電極5を用いて測定が行われる。したがって、電話を(例えば)その第2の面14によって保持しているユーザの手9に対して第2の電極7が強力に結合される場合であっても、最適な状態下で第1の電極5を用いて指1を検出することができる。これは、ユーザがこれらの電極によって基準電位13にあると「わかる」からである。
−その後、同じようにして、第1の電極5の励起電位42が基準電位13へ切り換えられ、それにより、第1の面4の第1の電極5がこの基準電位13に設定され、それから、第2の電極7を用いて測定が行われる。したがって、装置は、その両方の面で、随意的には同じ方法で保持されて使用され得る。
−第2の電極の励起電位43が基準電位13へ切り換えられ、それにより、第2のモジュール22の第2の電極7がこの基準電位13に設定される;
−第1のモジュール21の第1の電極5を用いて測定が行われる。したがって、これらの第1の電極5は、検出領域24に沿うなど、第2のモジュール22の存在に対するのと同じように、環境の残りの部分に関して感度が良い。
−その後、同じようにして、第1の電極5の励起電位42が基準電位13へ切り換えられ、それにより、第1のモジュール21の第1の電極5がこの基準電位13に設定され、それから、第2のモジュール22の第2の電極7を用いて測定が行われる。
−同じ第1の電極5を用いて取得される一連の測定値に対応し、或いは、
−同じ基準電位42で分極されてマルチプレクサ44によって切り換えられる異なる第1の電極5を用いて取得される連続する測定値に対応する。
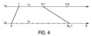
又は、時間間隔τsをもってサンプリングされたデジタル型式では、
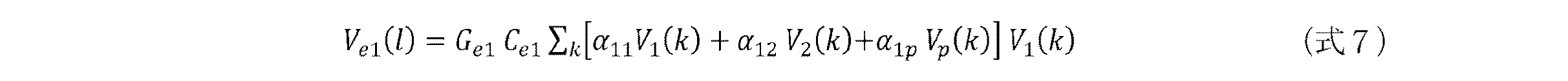
電荷測定信号は、結合信号Vei(l)を得るために(経路1に関しては)復調器38で復調される。この復調は、関連する経路の励起信号が局部発振器30,31として使用される同期振幅復調(ローパスフィルタ及びベースバンド転位)である。この復調はデジタルで行われる。復調は、対応する経路iの電荷測定信号Usi(k)と励起信号Vi(k)との項間乗算(term−to−term multiplication)、及び、蓄積時間間隔τeにわたる積の項の総和とを含む。すなわち、
この場合、k=0…Ns−1及びNs=τe/τsである。
対象物体1には、例えば、
−その動作と関連付けられる干渉に起因して、電圧源が存在する場合があり、
−対象物体1がそれ自体の励起電位で分極される能動的なスタイラスである場合には、対象物体1に存在する電圧源が、対象物体の動作のために意図的に生成される場合もある。
である。
を得るように基底関数biを選択することができる。したがって、寄生源に起因する結合信号の振幅に対する干渉は、このデシベル値を超えない。
+1;1/root(2);0;−1/root(2);−1
などの離散値のより完全な組をとることができる離散関数となることもできる。
−周期的な方形波信号パターン或いはほぼ正弦曲線を生成するように基底関数biを選択することができる。このとき、各基底関数biを本質的に周波数fiによって表すことができる。この場合、
−選択は、周波数fiを互いから遠ざけるように行うことができ、或いは、周波数は、異なる基底関数bi間で直交性を得るべく適切な態様で選択され得る;
−2つの励起電位を生成するために、同一の周波数f1、f2有するが90度の位相シフトを有する信号を生成することができる。このとき、信号は直角位相を成す。
−基底関数biは、エネルギーピークを最小にするように或いはスペクトルを平滑化するように選択され得る。装置により特定の周波数で放射されるエネルギーを最小限に抑えることができるようにする周波数分散法を使用することができる。この場合、
−基底関数biは、1/f雑音がシステムに悪影響を及ぼす低い周波数のエネルギーを最小限に抑えるべく、及び/又は、電磁両立性又は電磁消費の理由により高い周波数のエネルギーを回避するように選択され得る;
−前述した方法のそれぞれにおいて、選択は、寄生干渉Vpに晒されるスカラー積の項を最小にして寄生干渉の影響を最小限に抑えるべく方向付けることもできる。
−基底関数biを予め計算して装置に記憶させることができ、それにより、装置は、更なる計算を伴うことなく、これらの基底関数をリアルタイムで利用できる;
−関数の幾つかの組を先だって利用できる。このとき、これらの基底関数間の選択は、干渉信号Vpの影響の最小化などの基準にしたがって行うことができる。すなわち、
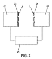
−必要に応じて、結合信号Vei(l)の一連の取得間で、したがって周期τe間で、基底関数の異なる組同士の間を切り換えることができる。図2の図において、このことは、励起源30,31により生成される信号の形状を経時的に変えること、或いは、異なる励起源30,31を切り換えることを意味する。したがって、装置全体をその環境に応じて動的に再構成することができる。
τs=5μs
τe=8ms
Ns=1600
−2つの異なる直交する周波数に関し、
b1(k)=+1;+1;−1;−1;+1;+1;−1;−1;…199回繰り返され;
b2(k)=+1;+1;+1;+1;−1;−1;−1;−1;…199回繰り返される。
−2つの同一の周波数及び直交信号に関し、
b1(k)=+1;+1;−1;−1;+1;+1;−1;−1;…199回繰り返され;
b2(k)=−1;+1;+1;−1;−1;+1;+1;−1;…199回繰り返される。
Claims (16)
- 複数の電極(5,7)を使用する容量検出のための方法であって、前記電極は、それらの近傍の物体(1,21,22)の検出を容量結合によって可能にし得る方法において、異なる励起電位(42,43)により前記電極(5,7)の少なくとも一部を同時に分極するステップを備え、前記励起電位(42,43)は、これらの励起電位(42,43)のうちの少なくとも2つの所定の継続時間にわたるスカラー積がゼロである或いは前記所定の継続時間にわたるこれらの励起電位(42,43)のうちの一方及び/又は他方のそれ自体とのスカラー積よりも非常に小さくなるように、基準電位(13)に対して生成されることを特徴とする方法。
- 生成される前記励起電位(42,43)は、経時的に変化可能な少なくとも1つの励起電位を備える請求項1に記載の方法。
- 生成される前記励起電位(42,43)は、異なる周波数の周期的な励起電位を備える請求項1又は請求項2に記載の方法。
- 生成される前記励起電位(42,43)が少なくとも1つの励起電位を備え、該励起電位の周波数成分がスペクトル帯域にわたって広げられる請求項1から3のいずれか一項に記載の方法。
- 生成される前記励起電位(42,43)は、直角位相を成す同じ周波数の2つの周期的な励起電位を備える請求項1から4のいずれか一項に記載の方法。
- 生成される前記励起電位(42,43)が少なくとも1つの励起電位を備え、該励起電位の干渉信号とのスカラー積が最小化される請求項1から5のいずれか一項に記載の方法。
- 生成される前記励起電位(42,43)は、基準電位にほぼ等しい少なくとも1つの励起電位を備える請求項1から6のいずれか一項に記載の方法。
- 電極(5,7)の容量結合を測定するステップも備え、該ステップは、
電極の電荷の代表的な測定値の取得と、
前記電極(5,7)の励起電位(42,43)を使用することによる電荷の前記代表的な測定値の復調と、を備える請求項1から7のいずれか一項に記載の方法。 - 複数の電極(5,7)を備える容量検出のための装置であって、前記電極は、それらの近傍の物体(1,21,22)の検出を容量結合によって可能にし得る装置において、異なる励起電位(42,43)により前記電極(5,7)の少なくとも一部を同時に分極できる励起手段(30,31)も備え、前記励起電位(42,43)は、これらの励起電位(42,43)のうちの少なくとも2つの所定の継続時間にわたるスカラー積がゼロである或いは前記所定の継続時間にわたるこれらの励起電位(42,43)のうちの一方及び/又は他方のそれ自体とのスカラー積よりも非常に小さくなるように、基準電位(13)に対して生成されることを特徴とする装置。
- 測定手段(34,35,36,37)も備え、該測定手段は、それらが連結される電極(5,7)と同じ励起電位(42,43)に基準付けられる請求項9に記載の装置。
- 前記測定手段(34,35,36,37)に連結されるとともに、前記基準電位(13)に基準付けられる容量結合の代表的な測定値をもたらすことができる復調手段(38,39)も備える請求項10に記載の装置。
- 少なくとも1つの電極を
幾つかの異なる励起電位(42,43)で、及び/又は、
少なくとも1つの励起電位(42,43)で或いは基準電位(13)で分極できるようにする手段も備える請求項9から11のいずれか一項に記載の装置。 - 請求項9から12のいずれか一項に記載の容量検出のための装置を備えて、請求項1から8のいずれか一項に記載の方法を実施する機器。
- ディスプレイスクリーンと、第1の励起電位(42)で分極される第1のほぼ透明な電極(5)とを第1の面(4)上に備えるとともに、第2の励起電位(43)で分極される第2の電極(7)を前記第1の面とは反対側の第2の面(14)上に備える請求項13に記載の機器。
- 以下のタイプ、すなわち、スマートフォン、タブレットのうちの1つである請求項14に記載の機器。
- 互いに対して移動できる複数のモジュール(21,22)を備え、前記各モジュールは、他のモジュール(21,22)とは異なる励起電位(42,43)で分極される電極(5,7)を備える請求項13に記載の機器。
Applications Claiming Priority (3)
| Application Number | Priority Date | Filing Date | Title |
|---|---|---|---|
| FR1353371 | 2013-04-15 | ||
| FR1353371A FR3004551A1 (fr) | 2013-04-15 | 2013-04-15 | Procede de detection capacitif multizone, dispositif et appareil mettant en oeuvre le procede |
| PCT/EP2014/057158 WO2014170180A2 (fr) | 2013-04-15 | 2014-04-09 | Procede de detection capacitif multizone, dispositif et appareil mettant en oeuvre le procede |
Publications (3)
| Publication Number | Publication Date |
|---|---|
| JP2016515744A true JP2016515744A (ja) | 2016-05-30 |
| JP2016515744A5 JP2016515744A5 (ja) | 2017-04-13 |
| JP6284623B2 JP6284623B2 (ja) | 2018-02-28 |
Family
ID=49322456
Family Applications (1)
| Application Number | Title | Priority Date | Filing Date |
|---|---|---|---|
| JP2016508091A Expired - Fee Related JP6284623B2 (ja) | 2013-04-15 | 2014-04-09 | 多領域容量検出方法、該方法を実施する装置及び機器 |
Country Status (7)
| Country | Link |
|---|---|
| US (1) | US10592046B2 (ja) |
| EP (1) | EP2987056A2 (ja) |
| JP (1) | JP6284623B2 (ja) |
| KR (1) | KR101911135B1 (ja) |
| CN (1) | CN105452998B (ja) |
| FR (1) | FR3004551A1 (ja) |
| WO (1) | WO2014170180A2 (ja) |
Families Citing this family (33)
| Publication number | Priority date | Publication date | Assignee | Title |
|---|---|---|---|---|
| US7920129B2 (en) | 2007-01-03 | 2011-04-05 | Apple Inc. | Double-sided touch-sensitive panel with shield and drive combined layer |
| US20090174676A1 (en) | 2008-01-04 | 2009-07-09 | Apple Inc. | Motion component dominance factors for motion locking of touch sensor data |
| FR2949007B1 (fr) | 2009-08-07 | 2012-06-08 | Nanotec Solution | Dispositif et procede d'interface de commande sensible a un mouvement d'un corps ou d'un objet et equipement de commande integrant ce dispositif. |
| FR2976688B1 (fr) | 2011-06-16 | 2021-04-23 | Nanotec Solution | Dispositif et procede pour generer une alimentation electrique dans un systeme electronique avec un potentiel de reference variable. |
| FR2985049B1 (fr) | 2011-12-22 | 2014-01-31 | Nanotec Solution | Dispositif de mesure capacitive a electrodes commutees pour interfaces tactiles et sans contact |
| US9336723B2 (en) | 2013-02-13 | 2016-05-10 | Apple Inc. | In-cell touch for LED |
| FR3005763B1 (fr) | 2013-05-17 | 2016-10-14 | Fogale Nanotech | Dispositif et procede d'interface de commande capacitive adapte a la mise en œuvre d'electrodes de mesures fortement resistives |
| CN116560524B (zh) | 2013-12-13 | 2024-10-01 | 苹果公司 | 用于自电容触摸传感器的集成触摸和显示架构 |
| US10133382B2 (en) | 2014-05-16 | 2018-11-20 | Apple Inc. | Structure for integrated touch screen |
| WO2015178920A1 (en) | 2014-05-22 | 2015-11-26 | Onamp Research Llc | Panel bootstrapping architectures for in-cell self-capacitance |
| FR3028062B1 (fr) * | 2014-10-29 | 2018-01-12 | Fogale Nanotech | Dispositif d'interface de commande capacitif integre a un ecran d'affichage |
| FR3028061B1 (fr) * | 2014-10-29 | 2016-12-30 | Fogale Nanotech | Dispositif capteur capacitif comprenant des electrodes ajourees |
| WO2016072983A1 (en) | 2014-11-05 | 2016-05-12 | Onamp Research Llc | Common electrode driving and compensation for pixelated self-capacitance touch screen |
| EP3224699B1 (en) | 2015-02-02 | 2018-10-03 | Apple Inc. | Flexible self-capacitance and mutual capacitance touch sensing system architecture |
| FR3032287B1 (fr) | 2015-02-04 | 2018-03-09 | Quickstep Technologies Llc | Dispositif de detection capacitif multicouches, et appareil comprenant le dispositif |
| US10146359B2 (en) | 2015-04-28 | 2018-12-04 | Apple Inc. | Common electrode auto-compensation method |
| US10386962B1 (en) | 2015-08-03 | 2019-08-20 | Apple Inc. | Reducing touch node electrode coupling |
| US10642426B2 (en) * | 2015-12-23 | 2020-05-05 | Lg Chem, Ltd. | Touch screen sensor |
| FR3051896B1 (fr) * | 2016-05-25 | 2018-05-25 | Fogale Nanotech | Dispositif de detection capacitive a garde nulle |
| CN109564485B (zh) | 2016-07-29 | 2022-04-01 | 苹果公司 | 具有多电源域芯片配置的触摸传感器面板 |
| US10386965B2 (en) | 2017-04-20 | 2019-08-20 | Apple Inc. | Finger tracking in wet environment |
| FR3066131B1 (fr) * | 2017-05-15 | 2019-06-14 | Fogale Nanotech | Robot dote d'une detection capacitive |
| FR3070022B1 (fr) * | 2017-08-10 | 2020-11-06 | Fogale Nanotech | Element d’habillage capacitif pour robot, robot muni d’un tel element d’habillage |
| FR3070294B1 (fr) * | 2017-08-28 | 2021-01-22 | Fogale Nanotech | Dispositif de detection multi-distances pour un robot, et robot equipe de tel(s) dispositif(s) |
| US11086463B2 (en) | 2017-09-29 | 2021-08-10 | Apple Inc. | Multi modal touch controller |
| WO2019067267A1 (en) | 2017-09-29 | 2019-04-04 | Apple Inc. | TACTILE DETECTION WITH MULTIPLE POWER DOMAINS |
| FR3081223B1 (fr) * | 2018-05-15 | 2020-09-18 | Fogale Nanotech | Dispositif de detection capacitive redondante parallele |
| FR3081224B1 (fr) * | 2018-05-15 | 2020-06-12 | Fogale Nanotech | Dispositif de detection capacitive redondante serie |
| FR3083729B1 (fr) * | 2018-07-13 | 2020-07-10 | Fogale Nanotech | Appareil muni d'une detection capacitive et de ligne(s) electrique(s) dans la zone de detection |
| US11016616B2 (en) | 2018-09-28 | 2021-05-25 | Apple Inc. | Multi-domain touch sensing with touch and display circuitry operable in guarded power domain |
| FR3106002B1 (fr) * | 2020-01-08 | 2022-01-28 | Fogale Nanotech | Dispositif de détection capacitive comprenant un module de polarisation par induction |
| US11662867B1 (en) | 2020-05-30 | 2023-05-30 | Apple Inc. | Hover detection on a touch sensor panel |
| US11893327B2 (en) * | 2020-12-14 | 2024-02-06 | Xerox Corporation | System and method for machine-learning enabled micro-assembly control with the aid of a digital computer |
Citations (2)
| Publication number | Priority date | Publication date | Assignee | Title |
|---|---|---|---|---|
| US20090127005A1 (en) * | 2007-11-14 | 2009-05-21 | N-Trig Ltd. | System and method for detection with a digitizer sensor |
| JP2011519458A (ja) * | 2008-04-30 | 2011-07-07 | エヌ−トリグ リミテッド | マルチタッチ検出 |
Family Cites Families (65)
| Publication number | Priority date | Publication date | Assignee | Title |
|---|---|---|---|---|
| US5483261A (en) | 1992-02-14 | 1996-01-09 | Itu Research, Inc. | Graphical input controller and method with rear screen image detection |
| US5880411A (en) | 1992-06-08 | 1999-03-09 | Synaptics, Incorporated | Object position detector with edge motion feature and gesture recognition |
| US5488204A (en) | 1992-06-08 | 1996-01-30 | Synaptics, Incorporated | Paintbrush stylus for capacitive touch sensor pad |
| GB9406702D0 (en) | 1994-04-05 | 1994-05-25 | Binstead Ronald P | Multiple input proximity detector and touchpad system |
| US5825352A (en) | 1996-01-04 | 1998-10-20 | Logitech, Inc. | Multiple fingers contact sensing method for emulating mouse buttons and mouse operations on a touch sensor pad |
| US5835079A (en) | 1996-06-13 | 1998-11-10 | International Business Machines Corporation | Virtual pointing device for touchscreens |
| US8421776B2 (en) * | 1996-08-12 | 2013-04-16 | Elo Touch Solutions, Inc. | Acoustic condition sensor employing a plurality of mutually non-orthogonal waves |
| FR2756048B1 (fr) | 1996-11-15 | 1999-02-12 | Nanotec Ingenierie | Pont de mesure capacitif flottant et systeme de mesure multi-capacitif associe |
| US6310610B1 (en) | 1997-12-04 | 2001-10-30 | Nortel Networks Limited | Intelligent touch display |
| US8479122B2 (en) | 2004-07-30 | 2013-07-02 | Apple Inc. | Gestures for touch sensitive input devices |
| EP1058924B1 (en) | 1998-01-26 | 2012-06-13 | Apple Inc. | Method and apparatus for integrating manual input |
| US7663607B2 (en) | 2004-05-06 | 2010-02-16 | Apple Inc. | Multipoint touchscreen |
| US6188391B1 (en) | 1998-07-09 | 2001-02-13 | Synaptics, Inc. | Two-layer capacitive touchpad and method of making same |
| JP4542637B2 (ja) | 1998-11-25 | 2010-09-15 | セイコーエプソン株式会社 | 携帯情報機器及び情報記憶媒体 |
| EP1148468A4 (en) * | 1999-09-27 | 2005-02-02 | Citizen Watch Co Ltd | METHOD FOR CONTROLLING A COLOR LIQUID SIGNAL DISPLAY DEVICE AND METHOD FOR CONTROLLING THE DISPLAY OF A CLOCK |
| US6847354B2 (en) | 2000-03-23 | 2005-01-25 | The United States Of America As Represented By The Administrator Of The National Aeronautics And Space Administration | Three dimensional interactive display |
| EP1211633B1 (en) * | 2000-11-28 | 2004-06-09 | STMicroelectronics S.r.l. | Texile-like capacitive pressure sensor and method of mapping the pressure exerted at points of a surface of a flexible and pliable object, particularly of a sail |
| JP3800984B2 (ja) | 2001-05-21 | 2006-07-26 | ソニー株式会社 | ユーザ入力装置 |
| JP2005516378A (ja) * | 2001-06-20 | 2005-06-02 | シタラ リミティド | 薄い平面型スイッチおよびその用途 |
| JP2003173237A (ja) | 2001-09-28 | 2003-06-20 | Ricoh Co Ltd | 情報入出力システム、プログラム及び記憶媒体 |
| US6690387B2 (en) | 2001-12-28 | 2004-02-10 | Koninklijke Philips Electronics N.V. | Touch-screen image scrolling system and method |
| US11275405B2 (en) * | 2005-03-04 | 2022-03-15 | Apple Inc. | Multi-functional hand-held device |
| FR2844048B1 (fr) | 2002-08-30 | 2005-09-30 | Nanotec Solution | Systeme et procede de mesure sans contact d'un deplacement ou positionnement relatif de deux objets adjacents par voie capacitive, et application au controle de miroirs |
| FR2844349B1 (fr) | 2002-09-06 | 2005-06-24 | Nanotec Solution | Detecteur de proximite par capteur capacitif |
| US8274481B2 (en) * | 2004-10-22 | 2012-09-25 | Sharp Kabushiki Kaisha | Display device with touch sensor, and drive method for the device |
| JP4541124B2 (ja) * | 2004-12-15 | 2010-09-08 | パナソニック株式会社 | プラズマディスプレイ装置 |
| FR2884349B1 (fr) | 2005-04-06 | 2007-05-18 | Moving Magnet Tech Mmt | Actionneur electromagnetique polarise bistable a actionnement rapide |
| FR2888319B1 (fr) | 2005-07-07 | 2008-02-15 | Nanotec Solution Soc Civ Ile | Procede de mesure sans contact d'un deplacement relatif ou d'un positionnement relatif d'un premier objet par rapport a un second objet, par voie inductive. |
| US7599670B2 (en) * | 2005-07-21 | 2009-10-06 | Microsoft Corporation | Dynamic bias for receiver controlled by radio link quality |
| FR2893711B1 (fr) | 2005-11-24 | 2008-01-25 | Nanotec Solution Soc Civ Ile | Dispositif et procede de mesure capacitive par pont flottant |
| US20080047764A1 (en) * | 2006-08-28 | 2008-02-28 | Cypress Semiconductor Corporation | Temperature compensation method for capacitive sensors |
| US7986193B2 (en) * | 2007-01-03 | 2011-07-26 | Apple Inc. | Noise reduction within an electronic device using automatic frequency modulation |
| US8054299B2 (en) * | 2007-01-08 | 2011-11-08 | Apple Inc. | Digital controller for a true multi-point touch surface useable in a computer system |
| JP4967780B2 (ja) * | 2007-04-20 | 2012-07-04 | セイコーエプソン株式会社 | 座標入力装置及び表示装置 |
| US8373665B2 (en) * | 2007-07-26 | 2013-02-12 | International Business Machines Corporation | Interactive display device |
| KR101237640B1 (ko) | 2008-01-29 | 2013-02-27 | (주)멜파스 | 기생 캐패시턴스 방지 구조를 구비한 터치스크린 장치 |
| US20090277696A1 (en) * | 2008-05-09 | 2009-11-12 | Reynolds Joseph K | Gradient sensors |
| JP2010061405A (ja) | 2008-09-03 | 2010-03-18 | Rohm Co Ltd | 静電容量センサ、その検出回路、入力装置および容量センサの制御方法 |
| US8638314B2 (en) * | 2008-10-17 | 2014-01-28 | Atmel Corporation | Capacitive touch buttons combined with electroluminescent lighting |
| US9740340B1 (en) * | 2009-07-31 | 2017-08-22 | Amazon Technologies, Inc. | Visually consistent arrays including conductive mesh |
| GB0913734D0 (en) | 2009-08-06 | 2009-09-16 | Binstead Ronald P | Masked touch sensors |
| FR2948997B1 (fr) | 2009-08-07 | 2012-04-20 | Nanotec Solution | Capteur de pression capacitif integrant une mesure de temperature compatible avec les milieux chauds. |
| FR2949008B1 (fr) | 2009-08-07 | 2011-09-16 | Nanotec Solution | Dispositif de detection capacitif a integration de fonctions. |
| FR2949007B1 (fr) | 2009-08-07 | 2012-06-08 | Nanotec Solution | Dispositif et procede d'interface de commande sensible a un mouvement d'un corps ou d'un objet et equipement de commande integrant ce dispositif. |
| EP2465021A4 (en) * | 2009-08-12 | 2014-06-25 | Cirque Corp | SYNCHRONOUS TIME-CONTROLLED ORTHOGONAL MEASUREMENT PATTERN FOR MULTI-TOUCH RECORDING ON A TOUCHPAD |
| KR101625611B1 (ko) * | 2009-09-03 | 2016-06-14 | 삼성디스플레이 주식회사 | 터치 패널 및 이를 갖는 터치 입출력 장치 |
| US9753586B2 (en) * | 2009-10-08 | 2017-09-05 | 3M Innovative Properties Company | Multi-touch touch device with multiple drive frequencies and maximum likelihood estimation |
| US8810524B1 (en) * | 2009-11-20 | 2014-08-19 | Amazon Technologies, Inc. | Two-sided touch sensor |
| TW201124766A (en) | 2010-01-08 | 2011-07-16 | Wintek Corp | Display device with touch panel |
| CN101840294B (zh) * | 2010-01-21 | 2012-01-18 | 宸鸿科技(厦门)有限公司 | 一种投射电容式触控面板的扫描方法 |
| US9092129B2 (en) * | 2010-03-17 | 2015-07-28 | Logitech Europe S.A. | System and method for capturing hand annotations |
| US8766931B2 (en) | 2010-07-16 | 2014-07-01 | Perceptive Pixel Inc. | Capacitive touch sensor having code-divided and time-divided transmit waveforms |
| US8923014B2 (en) | 2010-08-19 | 2014-12-30 | Lg Display Co., Ltd. | Display device having touch panel |
| JP4927216B1 (ja) * | 2010-11-12 | 2012-05-09 | シャープ株式会社 | 線形素子列値推定方法、静電容量検出方法、集積回路、タッチセンサシステム、及び電子機器 |
| KR101773612B1 (ko) * | 2011-01-13 | 2017-08-31 | 삼성전자주식회사 | 터치 영역 확인 장치 및 방법 |
| FR2971066B1 (fr) | 2011-01-31 | 2013-08-23 | Nanotec Solution | Interface homme-machine tridimensionnelle. |
| JP5350437B2 (ja) * | 2011-06-27 | 2013-11-27 | シャープ株式会社 | タッチセンサシステム |
| US9013213B2 (en) * | 2011-10-01 | 2015-04-21 | Intel Corporation | Digital fractional frequency divider |
| KR20130057637A (ko) | 2011-11-24 | 2013-06-03 | 삼성전기주식회사 | 접촉 감지 장치 |
| FR2990020B1 (fr) | 2012-04-25 | 2014-05-16 | Fogale Nanotech | Dispositif de detection capacitive avec arrangement de pistes de liaison, et procede mettant en oeuvre un tel dispositif. |
| CN103593096A (zh) * | 2012-08-16 | 2014-02-19 | 瀚宇彩晶股份有限公司 | 电容式触控系统 |
| US9411474B2 (en) | 2012-11-15 | 2016-08-09 | Nokia Technologies Oy | Shield electrode overlying portions of capacitive sensor electrodes |
| US9088282B2 (en) * | 2013-01-25 | 2015-07-21 | Apple Inc. | Proximity sensors with optical and electrical sensing capabilities |
| TWI483169B (zh) * | 2013-06-11 | 2015-05-01 | Pixart Imaging Inc | 電容偵測電路以及使用此電容偵測電路的電能供應裝置 |
| US20160001496A1 (en) * | 2014-07-01 | 2016-01-07 | Preco, Inc. | Methods and apparatus for the fabrication of pattern arrays in making touch sensor panels |
-
2013
- 2013-04-15 FR FR1353371A patent/FR3004551A1/fr not_active Ceased
-
2014
- 2014-04-09 CN CN201480027820.8A patent/CN105452998B/zh not_active Expired - Fee Related
- 2014-04-09 WO PCT/EP2014/057158 patent/WO2014170180A2/fr not_active Ceased
- 2014-04-09 JP JP2016508091A patent/JP6284623B2/ja not_active Expired - Fee Related
- 2014-04-09 US US14/784,264 patent/US10592046B2/en not_active Expired - Fee Related
- 2014-04-09 KR KR1020157031159A patent/KR101911135B1/ko not_active Expired - Fee Related
- 2014-04-09 EP EP14724650.8A patent/EP2987056A2/fr not_active Withdrawn
Patent Citations (2)
| Publication number | Priority date | Publication date | Assignee | Title |
|---|---|---|---|---|
| US20090127005A1 (en) * | 2007-11-14 | 2009-05-21 | N-Trig Ltd. | System and method for detection with a digitizer sensor |
| JP2011519458A (ja) * | 2008-04-30 | 2011-07-07 | エヌ−トリグ リミテッド | マルチタッチ検出 |
Also Published As
| Publication number | Publication date |
|---|---|
| WO2014170180A3 (fr) | 2014-12-04 |
| US10592046B2 (en) | 2020-03-17 |
| KR101911135B1 (ko) | 2018-10-23 |
| FR3004551A1 (fr) | 2014-10-17 |
| KR20150143543A (ko) | 2015-12-23 |
| CN105452998A (zh) | 2016-03-30 |
| JP6284623B2 (ja) | 2018-02-28 |
| US20160034102A1 (en) | 2016-02-04 |
| EP2987056A2 (fr) | 2016-02-24 |
| WO2014170180A2 (fr) | 2014-10-23 |
| CN105452998B (zh) | 2020-05-19 |
Similar Documents
| Publication | Publication Date | Title |
|---|---|---|
| JP6284623B2 (ja) | 多領域容量検出方法、該方法を実施する装置及び機器 | |
| CN106990880B (zh) | 用于改进电容性感测检测的方法和设备 | |
| CN102156571B (zh) | 数字化器的触摸检测 | |
| US10318066B2 (en) | Capacitive-based touch apparatus and method with reduced interference | |
| US8933913B2 (en) | Electromagnetic 3D stylus | |
| US10019079B2 (en) | Stylus for operating a digitizer system | |
| US11047931B2 (en) | Magnetic field sensor array with electromagnetic interference cancellation | |
| US10222913B2 (en) | Device for contactless interaction with an electronic and/or computer apparatus, and apparatus equipped with such a device | |
| US20070268272A1 (en) | Variable capacitor array | |
| CN105706020B (zh) | 用于电子装置或计算机装置的保护附件设备和配备有该附件设备的装置 | |
| US20160148034A1 (en) | Methods and Sensors for MultiPhase Scanning in the Fingerprint and Touch Applications | |
| US20130021271A1 (en) | Touch mouse | |
| US10452216B2 (en) | Touch processing device and method thereof | |
| CN108055870A (zh) | 半无源触控笔 | |
| US10816582B2 (en) | Sigma-delta configurations for capacitance sensing | |
| CN108073322A (zh) | 有源笔面板接收器干扰消除 | |
| JP7041235B2 (ja) | 所与の表面上の物体の位置を判断する方法及びデバイス | |
| ES2441869T3 (es) | Dispositivo de sensor para generar señales que son indicativas de la posición o el cambio de la posición de extremidades | |
| CN109542277A (zh) | 用于传感器电极的欧姆计 | |
| JP5899698B2 (ja) | 人体部位位置測定装置および電子機器システム | |
| CN106020578A (zh) | 单个接收器超不活跃模式 | |
| CN117631867A (zh) | 多频率同时绝对电容性触摸感测 | |
| CN114527505A (zh) | 薄层识别方法、装置、设备及存储介质 | |
| Liu et al. | Thin shell tactile sensing by acoustic wave diffraction patterns |
Legal Events
| Date | Code | Title | Description |
|---|---|---|---|
| A711 | Notification of change in applicant |
Free format text: JAPANESE INTERMEDIATE CODE: A711 Effective date: 20160322 |
|
| A521 | Request for written amendment filed |
Free format text: JAPANESE INTERMEDIATE CODE: A523 Effective date: 20170310 |
|
| A621 | Written request for application examination |
Free format text: JAPANESE INTERMEDIATE CODE: A621 Effective date: 20170310 |
|
| TRDD | Decision of grant or rejection written | ||
| A977 | Report on retrieval |
Free format text: JAPANESE INTERMEDIATE CODE: A971007 Effective date: 20171227 |
|
| A01 | Written decision to grant a patent or to grant a registration (utility model) |
Free format text: JAPANESE INTERMEDIATE CODE: A01 Effective date: 20180109 |
|
| A61 | First payment of annual fees (during grant procedure) |
Free format text: JAPANESE INTERMEDIATE CODE: A61 Effective date: 20180130 |
|
| R150 | Certificate of patent or registration of utility model |
Ref document number: 6284623 Country of ref document: JP Free format text: JAPANESE INTERMEDIATE CODE: R150 |
|
| LAPS | Cancellation because of no payment of annual fees |
