JP2016504518A - 非対称ポートタイミングによる内燃機関 - Google Patents

非対称ポートタイミングによる内燃機関 Download PDF

Info

Publication number
JP2016504518A
JP2016504518A JP2015543212A JP2015543212A JP2016504518A JP 2016504518 A JP2016504518 A JP 2016504518A JP 2015543212 A JP2015543212 A JP 2015543212A JP 2015543212 A JP2015543212 A JP 2015543212A JP 2016504518 A JP2016504518 A JP 2016504518A
Authority
JP
Japan
Prior art keywords
engine
piston
crosshead
crankpin
yoke
Prior art date
Legal status (The legal status is an assumption and is not a legal conclusion. Google has not performed a legal analysis and makes no representation as to the accuracy of the status listed.)
Granted
Application number
JP2015543212A
Other languages
English (en)
Other versions
JP6242909B2 (ja
Inventor
スカルゾ,ジョセフ
Current Assignee (The listed assignees may be inaccurate. Google has not performed a legal analysis and makes no representation or warranty as to the accuracy of the list.)
Scalzo Automotive Research Pty Ltd
Original Assignee
Scalzo Automotive Research Pty Ltd
Priority date (The priority date is an assumption and is not a legal conclusion. Google has not performed a legal analysis and makes no representation as to the accuracy of the date listed.)
Filing date
Publication date
Priority claimed from AU2012905081A external-priority patent/AU2012905081A0/en
Application filed by Scalzo Automotive Research Pty Ltd filed Critical Scalzo Automotive Research Pty Ltd
Publication of JP2016504518A publication Critical patent/JP2016504518A/ja
Application granted granted Critical
Publication of JP6242909B2 publication Critical patent/JP6242909B2/ja
Expired - Fee Related legal-status Critical Current
Anticipated expiration legal-status Critical

Links

Images

Classifications

    • FMECHANICAL ENGINEERING; LIGHTING; HEATING; WEAPONS; BLASTING
    • F02COMBUSTION ENGINES; HOT-GAS OR COMBUSTION-PRODUCT ENGINE PLANTS
    • F02BINTERNAL-COMBUSTION PISTON ENGINES; COMBUSTION ENGINES IN GENERAL
    • F02B25/00Engines characterised by using fresh charge for scavenging cylinders
    • F02B25/02Engines characterised by using fresh charge for scavenging cylinders using unidirectional scavenging
    • F02B25/08Engines with oppositely-moving reciprocating working pistons
    • FMECHANICAL ENGINEERING; LIGHTING; HEATING; WEAPONS; BLASTING
    • F01MACHINES OR ENGINES IN GENERAL; ENGINE PLANTS IN GENERAL; STEAM ENGINES
    • F01BMACHINES OR ENGINES, IN GENERAL OR OF POSITIVE-DISPLACEMENT TYPE, e.g. STEAM ENGINES
    • F01B9/00Reciprocating-piston machines or engines characterised by connections between pistons and main shafts, not specific to groups F01B1/00 - F01B7/00
    • F01B9/02Reciprocating-piston machines or engines characterised by connections between pistons and main shafts, not specific to groups F01B1/00 - F01B7/00 with crankshaft
    • F01B9/026Rigid connections between piston and rod; Oscillating pistons
    • FMECHANICAL ENGINEERING; LIGHTING; HEATING; WEAPONS; BLASTING
    • F02COMBUSTION ENGINES; HOT-GAS OR COMBUSTION-PRODUCT ENGINE PLANTS
    • F02BINTERNAL-COMBUSTION PISTON ENGINES; COMBUSTION ENGINES IN GENERAL
    • F02B37/00Engines characterised by provision of pumps driven at least for part of the time by exhaust
    • FMECHANICAL ENGINEERING; LIGHTING; HEATING; WEAPONS; BLASTING
    • F02COMBUSTION ENGINES; HOT-GAS OR COMBUSTION-PRODUCT ENGINE PLANTS
    • F02BINTERNAL-COMBUSTION PISTON ENGINES; COMBUSTION ENGINES IN GENERAL
    • F02B75/00Other engines
    • F02B75/16Engines characterised by number of cylinders, e.g. single-cylinder engines
    • F02B75/18Multi-cylinder engines
    • F02B75/24Multi-cylinder engines with cylinders arranged oppositely relative to main shaft and of "flat" type
    • FMECHANICAL ENGINEERING; LIGHTING; HEATING; WEAPONS; BLASTING
    • F02COMBUSTION ENGINES; HOT-GAS OR COMBUSTION-PRODUCT ENGINE PLANTS
    • F02BINTERNAL-COMBUSTION PISTON ENGINES; COMBUSTION ENGINES IN GENERAL
    • F02B75/00Other engines
    • F02B75/32Engines characterised by connections between pistons and main shafts and not specific to preceding main groups
    • FMECHANICAL ENGINEERING; LIGHTING; HEATING; WEAPONS; BLASTING
    • F16ENGINEERING ELEMENTS AND UNITS; GENERAL MEASURES FOR PRODUCING AND MAINTAINING EFFECTIVE FUNCTIONING OF MACHINES OR INSTALLATIONS; THERMAL INSULATION IN GENERAL
    • F16CSHAFTS; FLEXIBLE SHAFTS; ELEMENTS OR CRANKSHAFT MECHANISMS; ROTARY BODIES OTHER THAN GEARING ELEMENTS; BEARINGS
    • F16C11/00Pivots; Pivotal connections
    • F16C11/02Trunnions; Crank-pins
    • FMECHANICAL ENGINEERING; LIGHTING; HEATING; WEAPONS; BLASTING
    • F16ENGINEERING ELEMENTS AND UNITS; GENERAL MEASURES FOR PRODUCING AND MAINTAINING EFFECTIVE FUNCTIONING OF MACHINES OR INSTALLATIONS; THERMAL INSULATION IN GENERAL
    • F16CSHAFTS; FLEXIBLE SHAFTS; ELEMENTS OR CRANKSHAFT MECHANISMS; ROTARY BODIES OTHER THAN GEARING ELEMENTS; BEARINGS
    • F16C5/00Crossheads; Constructions of connecting-rod heads or piston-rod connections rigid with crossheads
    • FMECHANICAL ENGINEERING; LIGHTING; HEATING; WEAPONS; BLASTING
    • F02COMBUSTION ENGINES; HOT-GAS OR COMBUSTION-PRODUCT ENGINE PLANTS
    • F02BINTERNAL-COMBUSTION PISTON ENGINES; COMBUSTION ENGINES IN GENERAL
    • F02B75/00Other engines
    • F02B75/02Engines characterised by their cycles, e.g. six-stroke
    • F02B2075/022Engines characterised by their cycles, e.g. six-stroke having less than six strokes per cycle
    • F02B2075/025Engines characterised by their cycles, e.g. six-stroke having less than six strokes per cycle two
    • FMECHANICAL ENGINEERING; LIGHTING; HEATING; WEAPONS; BLASTING
    • F02COMBUSTION ENGINES; HOT-GAS OR COMBUSTION-PRODUCT ENGINE PLANTS
    • F02BINTERNAL-COMBUSTION PISTON ENGINES; COMBUSTION ENGINES IN GENERAL
    • F02B2730/00Internal-combustion engines with pistons rotating or oscillating with relation to the housing
    • F02B2730/02Internal-combustion engines with pistons rotating or oscillating with relation to the housing with piston rotating around its axis and having a reciprocating movement in a cylinder
    • FMECHANICAL ENGINEERING; LIGHTING; HEATING; WEAPONS; BLASTING
    • F02COMBUSTION ENGINES; HOT-GAS OR COMBUSTION-PRODUCT ENGINE PLANTS
    • F02BINTERNAL-COMBUSTION PISTON ENGINES; COMBUSTION ENGINES IN GENERAL
    • F02B33/00Engines characterised by provision of pumps for charging or scavenging
    • FMECHANICAL ENGINEERING; LIGHTING; HEATING; WEAPONS; BLASTING
    • F02COMBUSTION ENGINES; HOT-GAS OR COMBUSTION-PRODUCT ENGINE PLANTS
    • F02BINTERNAL-COMBUSTION PISTON ENGINES; COMBUSTION ENGINES IN GENERAL
    • F02B39/00Component parts, details, or accessories relating to, driven charging or scavenging pumps, not provided for in groups F02B33/00 - F02B37/00
    • F02B39/02Drives of pumps; Varying pump drive gear ratio
    • F02B39/08Non-mechanical drives, e.g. fluid drives having variable gear ratio
    • F02B39/10Non-mechanical drives, e.g. fluid drives having variable gear ratio electric
    • YGENERAL TAGGING OF NEW TECHNOLOGICAL DEVELOPMENTS; GENERAL TAGGING OF CROSS-SECTIONAL TECHNOLOGIES SPANNING OVER SEVERAL SECTIONS OF THE IPC; TECHNICAL SUBJECTS COVERED BY FORMER USPC CROSS-REFERENCE ART COLLECTIONS [XRACs] AND DIGESTS
    • Y02TECHNOLOGIES OR APPLICATIONS FOR MITIGATION OR ADAPTATION AGAINST CLIMATE CHANGE
    • Y02TCLIMATE CHANGE MITIGATION TECHNOLOGIES RELATED TO TRANSPORTATION
    • Y02T10/00Road transport of goods or passengers
    • Y02T10/10Internal combustion engine [ICE] based vehicles
    • Y02T10/12Improving ICE efficiencies

Landscapes

  • Engineering & Computer Science (AREA)
  • General Engineering & Computer Science (AREA)
  • Mechanical Engineering (AREA)
  • Chemical & Material Sciences (AREA)
  • Combustion & Propulsion (AREA)
  • Shafts, Cranks, Connecting Bars, And Related Bearings (AREA)
  • Supercharger (AREA)
  • Cylinder Crankcases Of Internal Combustion Engines (AREA)
  • Compressors, Vaccum Pumps And Other Relevant Systems (AREA)

Abstract

非対称ポートタイミングを可能にする内燃機関はエンジン機構を有し、エンジン機構は、クランクピンを有するクランクシャフトを含み、対向する一対のピストンの各ピストンはクランクピンに接続され、それによってピストンは、軸方向に直列のシリンダのうちそれぞれ1つにおいて往復運動可能である。当該機構は、対向端を有するクロスヘッドも含み、対向端の各々上にそれぞれのピストンが搭載され、さらに、クロスヘッドとクランクピンとの間に連結部も含み、それによってピストンは、ピストンが駆動されて往復運動するにつれて周方向に振動させられる。

Description

本発明は概して2ストローク内燃機関に関し、より具体的には、上死点から下死点に移動する際にピストンがシリンダ内で楕円運動を生じることを可能にするクランクピストン機構に関する。ピストンのこの楕円運動により、非常に効率的な2ストローク内燃機関のための必須条件である、非対称ポートタイミングを実現することが可能となる。
発明の背景
移植された2ストローク内燃機関において、ピストンは、シリンダ内に周方向に配置された吸気口ポートおよび排気口ポートを開閉するように機能する。これらのポートの1つ以上は、新たに充填された空気または空気/燃料混合物をシリンダに通過させ、1つ以上の他のポートは燃焼ガスを排出させる。ピストンの下方移動によって排気口がまず露出され、高圧ガスを排気管によって大気に逃がしてブローダウンを実現することを可能にするように、吸気口ポートおよび排気口ポートがシリンダの周りに配置される。ピストンのさらなる下方移動によって吸気口ポートが露出され、新たに充填された加圧空気または空気/燃料混合物が圧縮サイクルを経た後で燃焼のためにシリンダに送達されることが可能となる。加圧されたガスは、燃焼ガスをシリンダから追い出すようにも機能する。これは掃気として知られているプロセスである。
従来の2ストローク内燃機関では、排気口ポートおよび吸気口ポートの開口は対称的である。これは、ピストンの下方移動によって排気口ポートがまず開き、次いで吸気口ポートが開き、ピストンの上方移動によって吸気口ポートがまず閉じ、次いで排気口ポートが閉じることを意味する。この動作によって、排気口ポートが開いている間に加圧された新鮮な空気または空気/燃料混合物の一部を逃がすことが可能となる。このプロセスは、2ストローク内燃機関がスーパーチャージャーによって過給されるかまたはターボチャージャーによって過給され得ることを防ぐ。
最新のエンジンは、低燃費であることと排気ガスが少ないこととが要求される。2ストロークエンジンがこれらの2つの基準を満たすことに成功するには、非対称ポートタイミングを実現することが重要である。これは、ブローダウンプロセスのために排気口がまず開き、続いて掃気および充填プロセスのために吸気口ポートが開口しなければならないことを意味する。ピストンの上方移動中に、掃気が完了した後で新たな充填が漏出するのを防ぐために排気口がまず閉じ、次いで吸気口ポートが閉じる。排気口ポートの閉鎖と吸気口ポートの閉鎖との間の期間を用いて充填サイクルを完了させ、所望であればスーパーチャージャーによる過給を行う。スーパーチャージャーとして一般に知られているエンジン駆動型送風機の使用によって、掃気および充填を行うことがさらに望ましい。またこれにより、4ストローク内燃機関と同様にエンジンがウエットサンプを有することが可能となる。
2ストローク中に非対称ポートタイミングを実現する様々な既知の形態がある。しかしこれらは一般に、2つの対向するピストンが1つのシリンダ内で動作し、一方のピストンが吸気口ポートを露出させ、他方のピストンが排気口ポートを露出させるように各ピストンを他方に対して同期させる米国特許番号第63170,443号に記載されているような複雑な配置を伴う。別の対向型ピストンエンジンはユンカースユモエンジンであり、2本のクランクシャフトがエンジンのいずれかの端部上で用いられ、互いにわずかに位相外れのチェーンまたはギヤリングによって互いに連結され、ポート非対称を実現する。ネイピア(登録商標)デルティック2ストロークエンジンおよびルーツ式2ストロークエンジンにおいて同様の配置が用いられた。別の形態は、ポートおよびポペットバルブの組合せを吸気口および排気口にそれぞれ用いた。他の形態は、U型気筒、スリーブバルブ配置、および対向型カムエンジンを含む。これらの代替的な配置の各々では、付加的な複雑な機構が付加的な摩擦損失および容積に寄与し、2ストロークエンジンの利点が打ち消される。
本発明は、2ストローク内燃機関に適しているが、4ストローク内燃機関での使用にも適合可能な対向型シリンダ機構を提供することを目的とする。
したがって、本発明はエンジン機構を提供する。エンジン機構は、クランクピンを有するクランクシャフトを含み、対向する一対のピストンの各ピストンはクランクピンに接続され、それによってピストンは、軸方向に直列のシリンダのうちそれぞれ1つにおいて往復運動可能である。機構はさらに、対向端を有する細長いクロスヘッドを含み、対向端の各々上にピストンのそれぞれ1つが搭載され、機構はさらに、クロスヘッドとクランクピンとの間に連結部を含み、それによってピストンは、ピストンが駆動されて往復運動するにつれて周方向に振動される。
クロスヘッドとクランクピンとの間の連結部は、クランクシャフトの形態に部分的に依存して、様々な形態を取ることができる。連結部は、クランクピン上に嵌合され、クランクピンに沿って移動することができる部材によって提供され得る。一形態では、当該部材は、クランクピンがそこを通って延在するヨークの形態であり得、ヨークを通るボアとクランクピンとの間に軸受が設けられる。クランクシャフトがクランクピンの各端部を越えてシャフトセクションによる回転のために支持されることができるように、ヨークは、クランクピン上に嵌合されることを可能にする2つの部品からなる形態であり得る。しかし、クランクピンの一方端のみにおけるそのようなシャフトセクションによる回転のために支持可能であるクランクシャフトがクランクシャフトの一方端を規定することにより、ヨークは一体型構造であり、クランクピンを縦に収容することができるボアを規定することができる。しかし、クロスヘッドとクランクピンとの間の連結部を提供する部材が取ることができるさらに他の形態がある。当該部材のための原則要件は、クランクピンに沿って可逆的に移動可能であることと、ピストンが往復運動する軸に平行でありかつ当該軸から横方向にオフセットされる軸上のクロスヘッドに対して可逆的に回転可能であるようにクロスヘッドと係合することとである。したがって、たとえば、クランクシャフトが回転するとそれ自身の軸上で回転可能なクランクピンをクランクシャフトが有することにより、クロスヘッドとクランクピンとの間の連結部を提供する部材は、クランクピンの長手スロットを通って延在し、対向端を有する細長い本体部分を有する形態であり得、細長い本体部分は、対向端によってクロスヘッドの相補的な面に当接して、ピストンが往復運動する軸に平行であり、かつ当該軸から横方向にオフセットされた軸上で、連結部材とクロスヘッドとの間の相対回転を可能にする。
発明に係るエンジン機構は、単連クランクシャフトなどのクランクシャフトを利用し得る。クランクシャフト上で、対向する少なくとも1対のピストンが堅くまたは柔軟に接続され、オフセットされたクロスヘッドを形成し、ピストンがジャーナル支持される。ヨーク部材は、球面、円錐または平坦な軸受面によってクロスヘッドと係合し得る。オフセットされたクロスヘッド−ヨーク形状により、ピストンが共通の同じ軸上で対向型シリンダ内で往復運動する際、ピストンに部分的な回転運動が与えられる。ピストンが往復運動する際の部分的な回転運動に起因するピストンの全体的な動作により、それぞれのシリンダにおいて各ピストンのための楕円経路が生じる。その結果、配置は、非対称ポートタイミングが生じ得るように、各シリンダの充填ポートおよび排気口ポートの開閉をもたらすかまたは制御するように適合されることができる。非対称ポートタイミングは、ターボチャージャーの補助の有無に関わらずスーパーチャージャーを利用することを可能性にし、2ストロークエンジンについて長く求められてきた利点であるエンジン効率を高めるという重要な利点を有する。
ボクサー構造において2の倍数を有する多気筒機関を製造することができる。各構成は異なる均衡配置を必要とする。2気筒対向型機関では、シリンダの面において力の均衡が必要とされる。この構成では、エンジン回転数で反対方向に動作している2本のバランスシャフトがシリンダ面に対して垂直な面に位置決めされ、実質的に完全な均衡を生じる。4気筒構成では、たとえば、1つの面における偶不釣り合いを打ち消すために必要とされるバランスシャフトは1本だけである。発明の詳細な説明は、各構成についての均衡要件を包含する。しかし、ある用途において、かつヨーク部材と共にピストン質量および部分クロスヘッドを慎重に設計することによって、特に小容量エンジンではバランスシャフトが必要でない場合がある。
本発明は主として2ストロークエンジンに向けられるが、ピストンとクランクシャフトとの間の機械的配置は、ポペットバルブおよびカムシャフト駆動装置を含む適切なヘッドと組合せた4ストロークエンジンに適用することもできる。
発明に係る2ストローク内燃機関は、匹敵する寸法の現在の4ストロークエンジンに対して匹敵する性能特性を有することができる。しかし、2ストローク内燃機関は、効率向上、寸法減少、および重量低下という向上した利点によって、これらの匹敵する特性を実現することができる。少なくとも好ましい形態において、発明は、スーパーチャージャーによる高度な過給およびダイレクトフューエルインジェクションシステムの適合性、実質的に全体的なダイナミックバランス、および製造費用削減のための機械的簡略化を可能にする。
非対称ポートタイミングの実現を容易にするため、楕円のピストン動作と共同して機能する変更されたクラウン構造がピストンに設けられる。ある配置では、当該構造は、クラウンを越えて突出し、クラウンの周囲に設けられて、2つのアーチ形の周方向に離間されたスカートを形成するセグメント化されたスカート構造を含むかまたは備える。スカートはクラウンの対向する側にあるが、一方は他方よりアーチ度が小さくてもよい。一方のスカートは約140〜170度のアーチ度を有してもよく、他方のスカートは約70〜85度のアーチ度を有するが、多くの用途ではアーチ度が小さい方のスカートをなくすことができる。クラウンは1対の対向する開口部を有し、各々は、シャツの2組の周方向に近い端部のそれぞれ1つの間にある。対向する開口部は、同様のアーチ度であってもよい。開口部の一方は吸気口ポートと共働する吸気口であり、他方の開口部は排出口であり、排気口ポートと共働する。スカートの高さは、エンジンに必要とされる非対称性によって決定される。クラウンは、スカートから内方に、シャツの端部を横切って延在するディフレクタバーを有し得る。シャツの端部の間には吸気開口部が形成され、当該バーは、エンジンに嵌合させた任意のスカベンジングポンプからの流入空気をそらすのに十分な高さを有する。
発明に係るエンジンは、別個のエンジン駆動型スーパーチャージャーの必要性をなくすため、パワーピストンを一方側に、コンプレッサピストンを反対側に有して構成してもよい。当該構成では、コンプレッサの排出口はエアダクトによってパワーシリンダの吸気口に結合される。コンプレッサピストンは、スーパーチャージャーによる過給をもたらすために、パワーピストンより直径が大きくてもよい。したがって、対向する一対のピストンの一方はパワーピストンとして動作可能であり得、対の他方のピストンは、パワーピストンのシリンダよりボア径が大きいシリンダを有するコンプレッサピストンなどのコンプレッサピストンとして動作可能であり、コンプレッサシリンダは、吸気口ポートおよび排出口ポートを任意に有し、コンプレッサシリンダのポートの各々はリード弁によって制御される。そのような配置において、吸入ストローク中のコンプレッサシリンダの吸気口ポートは大気に対して開かれ、その排出口ポートは閉じられ、圧縮ストローク中にその吸気口ポートは閉じられ得、その排出口ポートは圧縮空気がパワーシリンダの吸気口に運ばれることが可能であり、ダクトは、パワーシリンダの吸気口ポートが閉じた後で圧縮空気溜まりとして作用することが可能となる容積を有する。
図面の簡単な説明
添付の図面を参照して本発明の好ましい実施の形態を説明する。
本発明の2気筒対向型2ストローク内燃機関構成の第1の実施の形態の外観図である。 図1のエンジンの部分的に区分された斜視図である。 図1のエンジンの断面図である。 図1のエンジンのそれぞれの構成要素の等角図である。 図1のエンジンのそれぞれの構成要素の等角図である。 図1のエンジンのそれぞれの構成要素の等角図である。 図1のエンジンのそれぞれの構成要素の等角図である。 発明の第2の実施の形態に係るエンジン機構のためのサブアセンブリの断面図である。 図8のエンジンのそれぞれの構成要素の等角図である。 図8のエンジンのそれぞれの構成要素の等角図である。 図8のエンジンのそれぞれの構成要素の等角図である。 発明の第3の実施の形態に係るエンジン機構のためのサブアセンブリの断面図である。 図9のエンジンのサブアセンブリの等角断面図である。 図9のエンジンの構成要素の等角図である。 図9aに示されたサブアセンブリの等角断面図である。 点火サイクルにおける連続した90度間隔で構成要素の位置を示す、発明に係るエンジンの背面図である。 点火サイクルにおける連続した90度間隔で構成要素の位置を示す、発明に係るエンジンの背面図である。 点火サイクルにおける連続した90度間隔で構成要素の位置を示す、発明に係るエンジンの背面図である。 点火サイクルにおける連続した90度間隔で構成要素の位置を示す、発明に係るエンジンの背面図である。 発明に係るエンジンの好ましい形態による好ましい操作のグラフ表示である。 発明の第4の実施の形態に係る4気筒2ストロークエンジンを示す図である。 発明の第5の実施の形態に係るエンジンの等角断面図である。 図16のエンジンの構成要素の等角斜視図である。 発明に係る2ストロークエンジンの第6の実施の形態についての組立てられていない構成要素の等角斜視図である。 組立て後の図18の構成要素の等角断面図である。 図19に対応するが、発明に係る2ストロークエンジンの第7の実施の形態についての図18の配置の変形例の組立てられた構成要素を示す図である。 発明に係る2ストロークエンジンの第8の実施の形態の断面図である。 図21に対応するが、異なる位置決めで第8の実施の形態のエンジンを示す図である。
詳細な説明
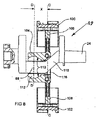
図1は、本発明の第1の実施の形態に係るエンジン10の外側配置を例示する。エンジン10は、一体型ヘッドを有する2つのシリンダ14および16が、水平に配置されたボクサー配置で対向面18および20上にそれぞれ搭載されたクランクケース12を有する。前面カバー22は、バランスギヤ(図示せず)を包囲し、クランクシャフト24を密閉する。送風機またはスーパーチャージャー26を適切な位置に搭載して、分岐したマニホルド28によってシリンダ14および16のそれぞれの吸気口ポート30および32に空気を充填することを可能にする。スーパーチャージャー26は、通常はベルトまたはチェーン(図示せず)によってエンジン10のクランクシャフト24によって駆動され得る駆動軸34を有する。しかし、そのような駆動装置の代わりに、軸34の独立駆動のために電動モータまたは油圧モータが使用され得る。オイルサンプ36は、エンジン10の包囲を完成させる。点火プラグ38およびダイレクトフューエルインジェクタ40は、各シリンダ14および16のヘッドに嵌合される。
図2〜図7は、内部駆動アセンブリおよびエンジン10の主要な構成要素を共同して例示する。これらの図は、ジャーナル軸受42および44によってクランクケース12にジャーナル支持され、クランクケース12に対抗してスラスト軸受46および48によって軸方向に配置されるクランクシャフト24を示す。外側球面軸受面52を有する分割型ヨーク50は、クランクシャフト24のクランクピン54上でジャーナル支持される。ヨーク50の部品50aおよび50bは、部品50aおよび50bの位置合せされたボア50cに挿入されたピン(図示せず)によって分割面上で接合される。ヨーク50は、軸受56によって、クランクシャフト24のクランクピン54上で回転可能であり、かつクランクピン54に沿って摺動可能である。ヨーク50は、ヨーク50の球面52に相補的な、中心に配置された球状の噛合い面60を有する2つの部品からなるクロスヘッド58内に接近して嵌合される。ピン62および64はヨーク50とクロスヘッド58とを連結し、エンジンシリンダ14および16の中心線軸B−Bと平行に、かつ距離Xだけ中心線軸B−Bからオフセットされた軸A−Aに沿って、クロスヘッド58に対してヨーク50が旋回することを可能にする。ピン62および64は、クロスヘッド58の対向端上に固定され、ヨーク50のピン接続66および68にジャーナル支持されてもよい。軸A−Aは、軸B−Bと平行であり、かつクランクピン54に対して垂直な面内にある。
ある配置では、ヨークは球状の外面を有し、クロスヘッドによって規定される相補的な球状形態のキャビティに収容可能である。当該配置では、ヨークは、横からキャビティに収容可能であってもよく、その場合ヨークは、クランクピンによってヨークのボアの位置合せに必要なだけ回転される。
クロスヘッド58は、反対方向に延在するアーム70および72を有し、各々の上にそれぞれのピストン74および76が搭載される。ピストン74および76の各々は、各アームの外端をピストン74および76上に固定されたそれぞれの搭載ブロック82および84に旋回可能に結合するそれぞれのガジョンピン78および80によって互いに対向する関係で搭載される。ガジョンピン78および80の軸は互いに平行であり、クランクシャフト24の軸に対して垂直である。ガジョンピン78および80、ならびにピストン74および76への接続それぞれにより、クランクシャフト24に対して垂直な面内でのパワーストローク中のクロスヘッドのなんらかの歪曲または曲げが可能となり、過重負荷がピストン74および76のスカート上にかかるのを防ぐ。
各ピストン74および76は、図7のピストン74について最も明白に分かる形態のクラウン86を有する。ピストン74および76の各々について、クラウン86の周囲は、2つの正反対に対向するアーチ形のスカート88を有し、スカート88は、エンジンにおいて所望される非対称性によって決まる、クラウン86上方におけるある高さを有する。2つのスカート88のうちアーチ形の短い方のスカートは、後で本明細書に記載され、図18に示されるように、ある設計では除去され得る。スカート88どうしの間には吸気口スロット90と、スロット90に正反対に対向して排出口スロット92とがある。またクラウン86は、スロット90から径方向内方に、かつスロット90を横切って、半円として示されるディフレクタバー94を有するが、線形などの他の細長い形態とすることができる。バー94は吸気口ポート90の反対側に配置され、スカベンジングポンプ(スーパーチャージャー)26からの流入給気をそらせて、排気ガスを掃気することと、それぞれのシリンダに新鮮な空気を充填することとを支援する。スロット90および92いずれかの側のスカート88は、所望の非対称性に応じて異なる高さを有することができる。
動作の際、ピストン74および76の各々は、クランクシャフト24の軸からのクランクピン54の行程によって決まるストロークを有する。ピストン74および76はクロスヘッド58によって接続され、軸B−Bに沿って連動してそれぞれのシリンダ14および16内で振動する。ピストン74および76の動きは、ヨーク50を介して、かつヨーク50の軸B−Bと軸A−Aとの間のオフセットXによって、クランクシャフト24に伝えられる。この動きにより、ピストン74および76が上死点から下死点位置まで移動するにつれて、ピストン74および76の対称的な楕円経路が生じる。実際には、ピストン74および76は、それらが軸B−Bに沿った往復運動のサイクルを完了すると、オフセットXによって決まる角度によって軸B−Bの周りを周方向に振動する。この動きによって、各ピストン74および76の各吸気口スロット90が吸気口ポート30および32上を回転可能かつ直線的に掃引し、移動することが可能となり、同様に、排出口スロット92が、シリンダ14および16の下部部分に配置されたそれぞれの排気口ポート96および98上を回転可能かつ直線的に掃引することが可能となる。ピストンスロット90および92の位置決めに関連したシリンダ14の吸気口ポート30および排気口ポート96の位置決めは、2ストロークエンジン10が所望の非対称ポートタイミングを実現し、かつそれによって最適な燃費およびパワーアウトプットの増大を実現することが可能となるように選択される。望ましい非対称ポートタイミングにより、ピストンの下り経路上の吸気口ポートの排気が可能となる。ピストンの上り経路上では、排気口ポートがまず閉じ、次いで吸気口ポートが閉じる。この動作によって、シリンダを完全に空気で充填することができることが確実となり、エンジンをスーパーチャージャーによって過給することが可能となる。次いで、ダイレクトフューエルインジェクションを適用し、従来のエンジン管理システムによって点火プラグから点火することができる。
図13を参照して、非対称ポートタイミングをさらに説明する。
図8、図8a、図8b、および図8cは、発明の第2の実施の形態に係る2ストロークエンジンのためのサブアセンブリ99を例示する。サブアセンブリ99の全体的な細部は、先の図のエンジン10に関連する説明から理解されるであろう。エンジン10の対応する構成要素と比較して、サブアセンブリ99の主な相違は、クランクシャフト24へのピストン接続とクロスヘッドおよびヨークの形態とについての代替的な配置にある。他の点では、第2の実施の形態に係るエンジンはエンジン10と同じとすることができる。
サブアセンブリ99において、ピストン100および102は、ピストン100および102が往復運動する軸C−Cに沿って、一対のポスト106および108のそれぞれの上で、2つの部品からなる対称的なクロスヘッド104に、ボルトなどによって堅く接続される。クロスヘッド104は、互いから離間された対向する一対のオフセットされた雌円錐面110を有し、それらの軸は、ピストン100および102が往復運動することができる軸C−Cに平行であり、かつ軸C−Cからオフセットされた軸D−Dと一致する。表面110は、ヨーク112がクロスヘッド104に対して回転可能となるように、2つの部品からなる円錐形のヨーク112の、対向して面する相補的な円錐面112aと噛合う。円錐形のヨーク112は、クランクピン68上で回転することができ、かつクランクピン68に沿って摺動することができる軸受114によって、クランクシャフト24上でジャーナル支持される。クロスヘッドの一方側の形作られた開口部116により、クランクシャフト24の回転とともにクロスヘッド104が垂直および水平に揺動するため、クランクシャフト24の曲がった延長部分118のための遊隙が可能となる。
サブアセンブリ99のピストン100および102は、エンジン10のピストン74および76と同様であり、機能的に同じである。サブアセンブリ99に基づく第2の実施の形態に係るエンジンの作用および利点は、エンジン10と同じである。
図9a、図9b、図9c、および図9dは、本発明の第3の実施の形態に係る2ストロークエンジンのためのサブアセンブリ117を示す。全体的な細部はエンジン10の説明から理解されるであろう。エンジン10の構成要素と比較した主な相違は、クランクシャフトへのピストン接続と、クロスヘッドおよびヨークの形態とのための代替的な配置にある。他の点では、第3の実施の形態に係るエンジンは、エンジン10と同じであり得る。
第3の実施の形態のサブアセンブリ117において、ピストン120および122は、ピストン120および122が往復運動することができる軸E−Eに沿って、2つの部品からなる対称的なクロスヘッド124のそれぞれのアーム126および128に接合されたピンである。クロスヘッド124は、対向する一対のオフセットされた雌型円筒状軸受面130を有し、雌型円筒状軸受面130は各々、2つの部品からなるヨーク132の対向して延在するスタブアクスル132aのそれぞれ一方と回転可能に噛合う。ヨーク32の各スタブアクスル132aは、クロスヘッド124の表面130に相補的な部分円筒面を有する。クロスヘッド132は、軸E−Eに平行であり、かつ軸E−Eから距離Xだけオフセットされた軸F−F上で、かつ軸F−Fに沿って回転可能となるように、ヨーク132と回転可能に噛合う。クランクピン68上で回転することができ、かつクランクピン68に沿って摺動することができる軸受134によって、ヨーク132がクランクシャフト24上でジャーナル支持される。
図9cはさらに、クロスヘッド124の大きな開口部136を補強して、クランクシャフト24の曲がった延長部分118の揺動を可能にする方法を例示する。第2および第3の実施の形態に記載されるクロスヘッドの質量を最小化するために、アルミニウムといった軽量材料でクロスヘッド104および124を作製することができる。しかし、クロスヘッド124の開口部の周囲は、ピストン動作の中心線に直接沿っており、軸C−CおよびE−Eは、鋼またはチタニウム合金といった、より強い材料による補強を必要とし得る。図示のように、軸E−Eに対して垂直にクロスヘッド124の固体部分に挿入された2つの鋼管138および140によって補強が行われる。鋼で作製することもできる2本のサイドバー142および144が、一体型のピン146とともに管138および140の中空セクションに挿入され、ねじ148によってクロスヘッド124の側面に取付けられ、補強「リング」を完成させる。
球状のヨーク、円錐形のヨークおよび平坦なヨーク、ならびにクロスヘッドの相補的な噛合い面の他の組合せを、発明に係るエンジンの実施の形態または構成において用いてもよい。また、多様な異なる配置を用いて、ピストンとクロスヘッドとの間に接続をもたらすことができる。
図2、図4、および図10〜図13は、対向する2気筒ボクサーエンジンのための均衡要件を例示する。この種類のエンジンについての一般的な要件は、2本のバランスシャフトに関するものであり、2本のバランスシャフトは、エンジン回転数でクランクシャフトの反対方向に動作しており、ピストン移動の面に対して垂直な面においてクランクシャフトの反対側に配置される。
図2、図3および図10に示されるように、ギヤ150はクランクシャフト24の前面に固定され、同じ直径の2つの他のギヤ152および154を駆動する。ギヤ152および154は、それぞれのバランスシャフト156および158に取付けられており、クランクシャフト24の反対側においてクランクケース(図示せず)上でジャーナル支持される。バランスウエイト162および162は、それぞれのバランスシャフト156および158と一体である。クランクシャフト24は、クランクピン54の反対側に一体型のバランスウエイト164および166を有する。バランスウエイト164および166は、クランクピン54の効果と、ヨーク50、クロスヘッド58、ピストン74および76、搭載ブロック82および84、ガジョンピン78および80を備える往復運動する構成要素に加えて、いずれかのジャーナル軸受、往復運動するアセンブリの一部を形成するピニング要素またはボルト締め要素の揺れる力をオフセットするために必要とされるバランスの半分とを均衡させるように設計される。なお、揺れる力は軸B−Bにのみ沿って作用し、したがって、クランクシャフト24が軸B−Bから90度離れる方に移動すると、バランスウエイト164および166の効果は打ち消されなければならないことに注目すべきである。
図10〜図13は、これらの図に見られる方位における左回り方向への90度ごとのクランクシャフト24の回転を表し、クランクシャフト24上のバランスウエイトの位置と、バランスシャフト156および158の位置とを示す。図10は、ピストン74が上死点にある時、F4で示される往復運動する構成要素の組合された力は、それぞれF2、F3およびF1(164プラス166)で表わされるバランスウエイト160、162、164、および166の組合された力によって均衡されることを示す。なお、ウエイト164および166によって表わされるF1は、F2+F3と等しい。また、バランスウエイト160および162は大きさが等しい。
図11に示されるように、ピストン74がストローク中であり、クランクシャフト24が図10の位置から90度だけ左回りに回転した状態では、往復運動力F4はゼロであり、したがってバランスウエイトの効果もゼロとなるはずである。この位置では、バランスウエイト160および162は、クランクシャフト24上でバランスウエイト164および166に対して右回りに移動しており、F1−F2−F3の総効果はゼロに等しい。
図12に示されるように、ピストン74が下死点にあり、クランクシャフトが図11の位置からさらに90度回転した状態では、往復運動力F4は反対方向においてその最大値にある。この位置では、バランスウエイト160および162はさらに90度右回りに回転しており、バランス力F2およびF3の方向は、力F1と一致し、力F4を打ち消す。
図13は、クランクシャフト24が図12の位置からさらに90度回転した後のストローク中のピストン74を例示し、ピストン74はストローク中である。往復運動する構成要素の力F4はゼロであり、力F1は、力F3+力F2との組合せによって均衡される。
いくつかの用途では、クロスヘッドとヨークとの界面の質量が2本のピストンの組合せた質量に近似する場合、収容可能なレベルの不均衡を依然として実現しつつバランスシャフトの必要性をなくすことが可能である。
図14は、エンジンの1回転と吸気口ポートおよび排気口ポートの開閉位置とによる本発明に係るエンジンにおける各ピストンの真の正弦波状の運動を示す。ピストンの楕円運動と、ピストンクラウンの周りに吸気スロットおよび排気スロットを位置決めすることとにより、吸気口ポートおよび排気口ポートの開閉期間が決まる。これらの位置は、ピストンの下方運動時に吸気口ポートより先に排気口ポートが開き、ピストンの上方運動時に吸気口ポートより先に排気口ポートが閉じるように設計される。この条件は非対称ポートタイミングと称され、効率的な2ストロークエンジンについての必要な特徴である。
図15は、本発明のエンジン210の4気筒バージョンであり、エンジン10において説明したような2つの完全なエンジンが背中合わせに接続され、それぞれのクランクシャフト324のクランクピン368は180度変位されている。この配置では、バランスウエイト360を有する1本のバランスシャフト356のみが必要である。
多気筒構成は、正面どうしの取り付けと、さらなるシリンダバンクとによって実現することもできる。
2ストロークエンジンを参照して本発明を説明したが、4ストロークエンジンに当該機構を適用して、小型ボクサーエンジンレイアウトを製造することもできると理解されるべきである。そのような4ストロークエンジンでは、ポペットバルブおよびカムシャフト駆動装置と関連付けられたヘッドを従来のやり方で設けることができる。
さらなる実施の形態では、図16はエンジン210を示し、クランク224はクランクピン226を有し、クランクピン226は、クロスヘッド230のアーム236およびヨーク228によってピストン232および234に接続する。先の実施の形態から明らかなように、そのような接続を実現する多数の構造的な方法がある。図16によって例示される主な相違は、図17により完全に示されるクランクシャフト224がクランクケース240において一端においてのみ支持される点である。図17に見られるように、クランクシャフト224は、クランクピン226がそこから突出する1つのジャーナル支持された端部セクションのみを有し、当該端部セクションは、離間されて適切な支持をもたらす2つのジャーナル軸受242および244によって支持される。その上、2つのジャーナル軸受242と244との間の空間は、エンジン10において説明したのと同様のやり方で2つのバランスシャフトに駆動ギヤを提供するために用いられる。
図16の片側だけの実施の形態についてのさらなる構造的な方法を、図18〜図20に示す。図18および図19は、通常のやり方でガジョンピン250によってピストン248に連結された一体型のクロスヘッド246を示す。同様のピストン(図示せず)が反対側に取付けられている。部分的に球状の外面252aを有する一体型の環状ヨーク252は、クロスヘッド246のキャビティ254の部分的に球状の内面254aに途中まで切込まれた2本のスロット256によってクロスヘッド246のキャビティ254に、図示されるように横から挿入される。ヨーク252がクロスヘッド246のキャビティ254に挿入されると、次いでヨーク252が回転して、ヨーク252のボア258をクランクシャフト(図示せず)と整列させる。この位置では、ヨーク252は球状のキャビティ254に取込まれ、エンジンにおけるクロスヘッド246の移動によって必要とされるように、全方向に移動することが可能とされる。
図20は、図19の配置の代替例を示す。図20の配置は、図19の配置のように、2本のピストン(図示せず)に連結された一体型のクロスヘッド262を有する。しかし、このインスタンスでは、図19の球状ヨーク252は、所要角度だけ移動し、ピン264および266によってクロスヘッド262に配置されることができる平坦な軸受ヨーク260で置換されている。
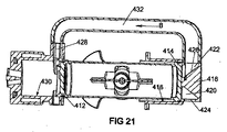
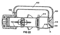
図21および図22のさらなる実施の形態では、一方側にパワーピストン412を、反対側に、別個のエンジン駆動型スーパーチャージャーの必要性をなくすコンプレッサピストン414とを有するエンジン410が示される。パワーピストン412の機能は図1〜図7に記載したエンジン10と同様である。コンプレッサピストン414はボア416内で振動し、パワーピストン412のボアよりボア径が大きくてもよい。コンプレッサシリンダ416のヘッド418は、2つのポート420および422を含む。ポート420は吸気口ポートであり、ポート422は排出口ポートである。ポート420およびポート422の開閉は、リード弁424および426によってそれぞれ制御される。
吸入ストローク中に、吸気口ポート420におけるリード弁424が開かれ、排出口ポート422におけるリード弁426が閉じられる。次いで、好適なフィルタ(図示せず)によって(図22において矢印Aで示されるように)大気を誘導する。図21に示される圧縮ストローク中に、リード弁424が閉じられ、排出口ポート422におけるリード弁426が圧縮空気の圧力下で開かれる。(矢印Bによって示される)ダクト432に沿った流れによって、パワーシリンダ430の吸気口ポート428に圧縮空気が運ばれる。パワーシリンダ430の吸気口ポート428が閉じた後、ダクト432の内部の容積が圧縮空気溜まりとしても作用する。この構成では、外部スカベンジングポンプおよびスーパーチャージャーを使用することなく小型エンジンが構成される。
本明細書に記載した様々な実施の形態は、2ストローク内燃機関に適した対向型シリンダ機構の提供を可能にするが、4ストローク内燃機関での使用にも適合可能である。各々の場合、発明は、非対称ポートタイミングの実現を容易にしつつ、エンジンの用途の範囲を拡大する多くの比較的単純な配置でこれを実現する。

Claims (20)

  1. エンジン機構を有する内燃であって、前記エンジン機構は、クランクピンを有するクランクシャフトを含み、対向する一対のピストンの各ピストンは前記クランクピンに接続され、それによって前記ピストンは、軸方向に直列のシリンダのうちそれぞれ1つにおいて往復運動可能であり、前記エンジン機構はさらに、対向端を有するクロスヘッドを含み、前記対向端の各々上に前記ピストンのそれぞれ1つが搭載され、前記エンジン機構はさらに、前記クロスヘッドと前記クランクピンとの間に連結部を含み、それによって前記ピストンは、前記ピストンが駆動されて往復運動するにつれて周方向に振動させられる、内燃。
  2. 前記クロスヘッドと前記クランクピンとの間の連結部は、前記クランクピン上に嵌合され、前記クランクピンに沿って移動することができる連結部材によって提供される、請求項1に記載の機関。
  3. 前記連結部材は、前記クランクピンがそこを通って延在するボアを規定するヨークの形態であり、前記ヨークと前記クランクピンとの間のボアに軸受が設けられる、請求項2に記載の機関。
  4. 前記ヨークは、前記クランクピン上に嵌合されることを可能にする2つの部品からなる形態である、請求項3に記載の機関。
  5. 前記ヨークは一体型構造であり、前記クランクピンを縦に収容することができるボアを規定する、請求項3に記載の機関。
  6. 前記クロスヘッドと前記クランクピンとの間の連結部は、前記ピストンが往復運動することができる軸に平行でありかつ、当該軸から横方向にオフセットされた軸上で前記クロスヘッドに対して可逆的に回転可能となるように、前記クランクピンに沿って可逆的に移動可能であり、かつ前記クロスヘッドと係合する、請求項1〜5のうちいずれか1項に記載の機関。
  7. 前記機構は、オフセットされたクロスヘッドによって堅く接続された1対のピストンを有し、前記ピストンは、前記ピストンの往復運動軸からオフセットされたヨーク部材によって前記クランクシャフト上でジャーナル支持される、請求項1〜6のうちいずれか1項に記載の機関。
  8. 前記機構は、単連クランクシャフトなどのクランクシャフトを有し、前記クランクシャフト上で、対向する少なくとも1対のピストンは、オフセットされたクロスヘッドによって柔軟に接続され、前記ピストンは、前記ピストンが往復運動する軸からオフセットされたヨーク部材によって前記クランクシャフト上でジャーナル支持される、請求項1〜6のうちいずれか1項に記載の機関。
  9. 前記ヨーク部材は、球面軸受面によって前記クロスヘッドと係合する、請求項7または請求項8に記載の機関。
  10. 前記ヨーク部材は、円錐ころ軸受面によって前記クロスヘッドと係合する、請求項7または請求項8に記載の機関。
  11. 前記ヨーク部材は、平坦な軸受面によって前記クロスヘッドと係合する、請求項7または請求項8に記載の機関。
  12. 前記クロスヘッドおよび前記連結部は、前記直列のシリンダ内で往復運動するにつれて前記ピストンに部分的な回転運動を与えるように動作可能であり、それにより前記ピストンの全体的な動作は、それぞれのシリンダにおいて各ピストンのための楕円経路を生じさせる、請求項1〜11のうちいずれか1項に記載の機関。
  13. 複数の対の直列のシリンダのボクサー配置を有し、前記複数の対のインラインシリンダは各々、それぞれのクロスヘッドおよび連結部によって前記クランクシャフトの少なくとも1つのクランクピンに接続されたそれぞれの対の対向するピストンを有する、請求項1〜12のうちいずれか1項に記載の機関。
  14. 前記機関は2ストロークモードで動作可能である、請求項1〜13のうちいずれか1項に記載の機関。
  15. 前記機関は4ストロークモードで動作可能である、請求項1〜13のうちいずれか1項に記載の機関。
  16. 各ピストンはクラウンを有し、吸気口ポートおよび排気口ポートと共働して非対称ポートタイミングを可能にする構造を有する、請求項1〜15のうちいずれか1項に記載の機関。
  17. 前記構造は、前記クラウンを越えて突出し、前記クラウンの対向する側において2つのアーチ形の周方向に離間されたスカートをもたらすセグメント化されたスカート構造を含み、対向する開口部は吸気口および排出口を形成し、各開口部は、2組の前記スカートの近い方の端部のうちそれぞれ1つの間にある、請求項16に記載の機関。
  18. 前記ヨークは、前記クロスヘッドによって規定されたキャビティに横から収容可能であり、次いで前記クランクピンによって前記ヨークのボアの位置合せのために必要なだけ回転される、請求項9に記載の機関。
  19. 前記対向する一対のピストンの一方はパワーピストンとして動作可能であり、前記対の他方のピストンは、前記パワーピストンのシリンダよりボア径が大きいシリンダを有するコンプレッサピストンなどのコンプレッサピストンとして動作可能であり、前記コンプレッサシリンダは、吸気口ポートおよび排出口ポートを任意に有し、前記コンプレッサシリンダのポートの各々はリード弁によって制御される、請求項1〜18のうちいずれか1項に記載の機関。
  20. 吸入ストローク中のコンプレッサシリンダの吸気口ポートは大気およびその排出口ポートに対して開かれ、圧縮ストローク中にその吸気口ポートは閉じられ、その排出口ポートは圧縮空気の圧力下で開かれ、前記機関は、圧縮空気をパワーシリンダの吸気口ポートに伝えることができるダクトを含み、前記ダクトは、前記パワーシリンダの吸気口ポートが閉じた後で圧縮空気溜まりとして作用することが可能となる容積を有する、請求項20に記載の機関。
JP2015543212A 2012-11-22 2013-11-21 非対称ポートタイミングによる内燃機関 Expired - Fee Related JP6242909B2 (ja)

Applications Claiming Priority (3)

Application Number Priority Date Filing Date Title
AU2012905081A AU2012905081A0 (en) 2012-11-22 Internal Combustion Engine
AU2012905081 2012-11-22
PCT/AU2013/001340 WO2014078894A1 (en) 2012-11-22 2013-11-21 Internal combustion engine with asymmetric port timing

Publications (2)

Publication Number Publication Date
JP2016504518A true JP2016504518A (ja) 2016-02-12
JP6242909B2 JP6242909B2 (ja) 2017-12-06

Family

ID=50775303

Family Applications (1)

Application Number Title Priority Date Filing Date
JP2015543212A Expired - Fee Related JP6242909B2 (ja) 2012-11-22 2013-11-21 非対称ポートタイミングによる内燃機関

Country Status (6)

Country Link
US (1) US9631550B2 (ja)
EP (1) EP2923053B1 (ja)
JP (1) JP6242909B2 (ja)
CN (1) CN104919155B (ja)
AU (1) AU2013350310B2 (ja)
WO (1) WO2014078894A1 (ja)

Cited By (1)

* Cited by examiner, † Cited by third party
Publication number Priority date Publication date Assignee Title
WO2018074143A1 (ja) * 2016-10-18 2018-04-26 ヤンマー株式会社 出力取り出し装置、及びスターリングエンジン

Families Citing this family (4)

* Cited by examiner, † Cited by third party
Publication number Priority date Publication date Assignee Title
GB2528748B (en) * 2014-06-03 2016-08-17 Pattakos Manousos Asymmetric transfer and intake in two-strokes
WO2017035593A1 (en) 2015-09-03 2017-03-09 Chan Joy Yin Multi-rotor roto-craft flying machine
PL236109B1 (pl) * 2018-05-24 2020-12-14 3Dgence Spolka Z Ograniczona Odpowiedzialnoscia Silnik dwusuwowy
US10690126B2 (en) * 2018-08-01 2020-06-23 KISS-Engineering Inc. Dual engine-compressor system

Citations (13)

* Cited by examiner, † Cited by third party
Publication number Priority date Publication date Assignee Title
US1716971A (en) * 1929-06-11 Power-transmission mechanism
US2480854A (en) * 1944-09-01 1949-09-06 Utah Scient Res Foundation Motion transforming mechanism
US2666420A (en) * 1949-12-16 1954-01-19 Henning Nielsen Device having slidable and rotary parts
US2698394A (en) * 1950-06-06 1954-12-28 Arthur E Brown Electrical power unit
US2828906A (en) * 1954-12-30 1958-04-01 Hardman James Abraham Engine
GB1028471A (en) * 1961-05-05 1966-05-04 Kenneth Gordon Wynne Brown Improvements in reciprocatory engines and pumps
US3250931A (en) * 1962-12-31 1966-05-10 James A Hardman Piston-ported volume displacement means accommodating multiple, work effecting components
US3374683A (en) * 1965-03-10 1968-03-26 Jesse Gerhard Helmut Transmission devices for converting rotary motion into reciprocating motion
US3398728A (en) * 1965-08-06 1968-08-27 James A. Hardman Two piston sleeve port engine
US4015915A (en) * 1972-11-20 1977-04-05 Hardman James A Oil free compressor
WO1995033927A1 (de) * 1994-06-03 1995-12-14 Willibald Hiemer Kompressorlader für brennkraftmaschine
JPH08510313A (ja) * 1993-05-14 1996-10-29 アンデルセン,アンデルス ピストン及び内燃機関
WO1996035041A1 (de) * 1995-05-04 1996-11-07 Gerd Grass Hubkolbenmaschine, insbesondere hubkolbenbrennkraftmaschine

Family Cites Families (6)

* Cited by examiner, † Cited by third party
Publication number Priority date Publication date Assignee Title
GB861811A (en) * 1956-10-02 1961-03-01 Wilfred John Lewington Improvements in internal combustion engines
GB1027637A (en) * 1962-03-22 1966-04-27 James Abraham Hardman Improvements in or relating to motion-transforming mechanisms and to reciprocating-piston machines
FR1336691A (fr) * 1962-05-12 1963-09-06 Mécanisme d'entraînement pour la transformation du mouvement de translation des pistons d'un moteur à pistons à combustion interne en nouvement de rotation de l'arbre de sortie
US5572904A (en) * 1995-01-05 1996-11-12 Minculescu; Mihai C. Oscillation lever arm engine
US6170443B1 (en) * 1998-09-11 2001-01-09 Edward Mayer Halimi Internal combustion engine with a single crankshaft and having opposed cylinders with opposed pistons
ITMI20032493A1 (it) * 2003-12-17 2005-06-18 Nuovo Pignone Spa Manovellismo per un compressore alternativo.

Patent Citations (13)

* Cited by examiner, † Cited by third party
Publication number Priority date Publication date Assignee Title
US1716971A (en) * 1929-06-11 Power-transmission mechanism
US2480854A (en) * 1944-09-01 1949-09-06 Utah Scient Res Foundation Motion transforming mechanism
US2666420A (en) * 1949-12-16 1954-01-19 Henning Nielsen Device having slidable and rotary parts
US2698394A (en) * 1950-06-06 1954-12-28 Arthur E Brown Electrical power unit
US2828906A (en) * 1954-12-30 1958-04-01 Hardman James Abraham Engine
GB1028471A (en) * 1961-05-05 1966-05-04 Kenneth Gordon Wynne Brown Improvements in reciprocatory engines and pumps
US3250931A (en) * 1962-12-31 1966-05-10 James A Hardman Piston-ported volume displacement means accommodating multiple, work effecting components
US3374683A (en) * 1965-03-10 1968-03-26 Jesse Gerhard Helmut Transmission devices for converting rotary motion into reciprocating motion
US3398728A (en) * 1965-08-06 1968-08-27 James A. Hardman Two piston sleeve port engine
US4015915A (en) * 1972-11-20 1977-04-05 Hardman James A Oil free compressor
JPH08510313A (ja) * 1993-05-14 1996-10-29 アンデルセン,アンデルス ピストン及び内燃機関
WO1995033927A1 (de) * 1994-06-03 1995-12-14 Willibald Hiemer Kompressorlader für brennkraftmaschine
WO1996035041A1 (de) * 1995-05-04 1996-11-07 Gerd Grass Hubkolbenmaschine, insbesondere hubkolbenbrennkraftmaschine

Cited By (3)

* Cited by examiner, † Cited by third party
Publication number Priority date Publication date Assignee Title
WO2018074143A1 (ja) * 2016-10-18 2018-04-26 ヤンマー株式会社 出力取り出し装置、及びスターリングエンジン
JP2018066299A (ja) * 2016-10-18 2018-04-26 ヤンマー株式会社 出力取り出し装置、及びスターリングエンジン
EP3530920A4 (en) * 2016-10-18 2019-10-09 Yanmar Co., Ltd. OUTPUT DEVICE AND STIRLING ENGINE

Also Published As

Publication number Publication date
EP2923053B1 (en) 2017-08-30
US9631550B2 (en) 2017-04-25
CN104919155A (zh) 2015-09-16
US20150300242A1 (en) 2015-10-22
AU2013350310B2 (en) 2016-11-24
EP2923053A4 (en) 2016-08-03
AU2013350310A1 (en) 2015-06-11
JP6242909B2 (ja) 2017-12-06
EP2923053A1 (en) 2015-09-30
WO2014078894A1 (en) 2014-05-30
CN104919155B (zh) 2018-05-29

Similar Documents

Publication Publication Date Title
US7650870B2 (en) Crankshaft beam piston engine or machine
US4011842A (en) Piston machine
US5535715A (en) Geared reciprocating piston engine with spherical rotary valve
CA2261596C (en) Opposed piston combustion engine
US5076220A (en) Internal combustion engine
US20110146601A1 (en) Self-Aspirated Reciprocating Internal Combustion Engine
EP0357291A2 (en) Crankless reciprocating machine
KR20150032603A (ko) 내연 기관
JP6242909B2 (ja) 非対称ポートタイミングによる内燃機関
AU686204B2 (en) Dwelling scotch yoke engine
US9016256B2 (en) Concentric cylinder engine
US20120037129A1 (en) Opposed piston engine
JPS598648B2 (ja) タイコウピストンガタドウリヨクキカン
US7063065B1 (en) Four cycle, piston-driven, rotary ported intake and exhaust super atmospherically charged on demand internal combustion engine
US6098578A (en) Internal combustion engine with improved gas exchange
US7210446B2 (en) V-twin configuration having rotary mechanical field assembly
WO1982001913A1 (en) Internal combustion engine
EP3708770A1 (en) Internal combustion engine with opposed pistons and a central drive shaft
US7188598B2 (en) Rotary mechanical field assembly
WO2007047494A9 (en) Engine having axiallyy opposed cylinders
WO2022269644A1 (en) Output helical shaft of internal combustion engines
CA3186118A1 (en) Reciprocating mechanism
WO2014209149A1 (ru) Двигатель внутреннего сгорания
GB2559995A (en) Reciprocating piston rotary engine
JPS6312833A (ja) 対向ピストンエンジン

Legal Events

Date Code Title Description
A529 Written submission of copy of amendment under article 34 pct

Free format text: JAPANESE INTERMEDIATE CODE: A529

Effective date: 20150717

A621 Written request for application examination

Free format text: JAPANESE INTERMEDIATE CODE: A621

Effective date: 20160614

A977 Report on retrieval

Free format text: JAPANESE INTERMEDIATE CODE: A971007

Effective date: 20170529

A131 Notification of reasons for refusal

Free format text: JAPANESE INTERMEDIATE CODE: A131

Effective date: 20170606

A521 Request for written amendment filed

Free format text: JAPANESE INTERMEDIATE CODE: A523

Effective date: 20170828

TRDD Decision of grant or rejection written
A01 Written decision to grant a patent or to grant a registration (utility model)

Free format text: JAPANESE INTERMEDIATE CODE: A01

Effective date: 20171010

A61 First payment of annual fees (during grant procedure)

Free format text: JAPANESE INTERMEDIATE CODE: A61

Effective date: 20171108

R150 Certificate of patent or registration of utility model

Ref document number: 6242909

Country of ref document: JP

Free format text: JAPANESE INTERMEDIATE CODE: R150

R250 Receipt of annual fees

Free format text: JAPANESE INTERMEDIATE CODE: R250

R250 Receipt of annual fees

Free format text: JAPANESE INTERMEDIATE CODE: R250

LAPS Cancellation because of no payment of annual fees