JP2016149259A - 端子および電気コネクタ - Google Patents

端子および電気コネクタ Download PDF

Info

Publication number
JP2016149259A
JP2016149259A JP2015025705A JP2015025705A JP2016149259A JP 2016149259 A JP2016149259 A JP 2016149259A JP 2015025705 A JP2015025705 A JP 2015025705A JP 2015025705 A JP2015025705 A JP 2015025705A JP 2016149259 A JP2016149259 A JP 2016149259A
Authority
JP
Japan
Prior art keywords
terminal
housing
contact
inclined surface
electrical connector
Prior art date
Legal status (The legal status is an assumption and is not a legal conclusion. Google has not performed a legal analysis and makes no representation as to the accuracy of the status listed.)
Granted
Application number
JP2015025705A
Other languages
English (en)
Other versions
JP5920502B1 (ja
Inventor
善光 橋本
Yoshimitsu Hashimoto
善光 橋本
正吾 陣内
Shogo Jinnouchi
正吾 陣内
Current Assignee (The listed assignees may be inaccurate. Google has not performed a legal analysis and makes no representation or warranty as to the accuracy of the list.)
I Pex Inc
Original Assignee
Dai Ichi Seiko Co Ltd
Priority date (The priority date is an assumption and is not a legal conclusion. Google has not performed a legal analysis and makes no representation as to the accuracy of the date listed.)
Filing date
Publication date
Application filed by Dai Ichi Seiko Co Ltd filed Critical Dai Ichi Seiko Co Ltd
Priority to JP2015025705A priority Critical patent/JP5920502B1/ja
Application granted granted Critical
Publication of JP5920502B1 publication Critical patent/JP5920502B1/ja
Publication of JP2016149259A publication Critical patent/JP2016149259A/ja
Expired - Fee Related legal-status Critical Current
Anticipated expiration legal-status Critical

Links

Images

Landscapes

  • Details Of Connecting Devices For Male And Female Coupling (AREA)

Abstract

【課題】相手方端子を確実に摺動することで、接触信頼性を向上させることができる端子および電気コネクタを提供する。
【解決手段】短絡用端子120は、第1電気コネクタのインナーハウジング110の内部に配置される。短絡用端子120は、第1検知用端子221と接触する第1短絡用端子140と、第2検知用端子222に接触する第2短絡用端子150とを備えている。第1短絡用端子140の第1弾性部は、ロックアームの撓みに連動する。第1弾性部と連続している第1接触部141は、ロックアームが撓んだ後に、元の位置に戻り、第1弾性部が復帰するときに、第1検知用端子221の表面に接触する傾斜面141aを備えている。
【選択図】図18

Description

本発明は、相手側の電気コネクタとの電気的接続を検知するための端子およびこの端子を備えた電気コネクタに関するものである。
電気コネクタは、雄側と雌側とで、しっかり嵌合して電気信号を伝達することが重要である。特に、安全装置に使用される電気コネクタでは、不完全な嵌合状態により電気信号が伝達できないと、安全装置の作動に不具合が生じるため、本来の信号用接続端子に加えて、相手側の電気コネクタの検知用端子との電気的接続を検知する短絡用端子を備えている。更に、この検知用端子と短絡用端子との接続を確実なものとするために、安全装置に使用される電気コネクタには、相手側の電気コネクタとの嵌合時に、相手側の電気コネクタに係止するロックアーム部に連動して、検知用端子をワイピングと称されるセルフクリーニングする機構が形成されている。このような電気コネクタとして、例えば、特許文献1に記載されたものが知られている。
図23および図24に示すように、特許文献1に記載の電気コネクタは、メスコネクタの検知用メスコンタクト1007が、オスコネクタの検知用オスコンタクト1072に接触して電気的接続を検知するものである。
検知用衝突バネ片1021の先端部1033には、検知用オスコンタクト1072に対して接触する接触部1034が形成されている。検知用オスコンタクト1072は、接触部1034が接触する接触面1075を有する。
検知用メスコンタクト1007には、接触部1034が対向する接触面1075との間に隙間GPができるように、検知用衝突バネ片1021を弾性変形させたときに、検知用衝突バネ片1021と物理的に干渉する干渉部1050が形成されている。
検知用衝突バネ片1021と、検知用オスコンタクト1072とが接触するときには、図示しないロックアームに押圧されて、検知用衝突バネ片1021の先端部1033は干渉部1050の傾斜面1050aに接触するまで直線的に変位する。このとき、先端部1033は、干渉部1050の傾斜面1050aに沿って傾斜面1050a上を滑るように略円弧状に変位する。
メスコネクタとオスコネクタとが正規に嵌合して、ロックアームの押圧が解除されると、検知用衝突バネ片1021の先端部1033は、干渉部1050の傾斜面1050aから離れて、検知用衝突バネ片1021のバネ復元力により元の位置に向かって直線的に戻ろうとする。このときの軌跡U1を二点鎖線で示す。先端部1033の接触部1034は、軌跡U1に沿って復元し始めると共に、間もなく検知用オスコンタクト1072の接続部1072bの接触面1075に対して斜めに衝突する。
接触部1034が接触面1075に対して斜めに衝突することで、上記衝突後、接触部1034は、接触面1075に対して接触しながら接触面1075上を復元しようと検知用衝突バネ片1021と検知用通常バネ片(図示せず)が並べられた並列方向に移動する。そして、この復元により、接触部1034が接触面1075に対して摺動することで、ワイピングする。
特開2013−175326号公報
特許文献1に記載の電気コネクタでは、検知用衝突バネ片1021の先端部1033が、干渉部1050によって高さ方向に移動しながら並列方向に横移動することで、接触面1075に対して斜めに衝突させている。しかし、接触部1034が元の位置に向かって変位するときの隙間GPの距離が大きかったり、検知用衝突バネ片1021のばね性が強かったりすると、接触部1034が元の位置に戻る際の軌跡が不安定となるおそれがあり、ワイピング効果が期待できない。特に、接触部1034が、隙間GPを移動している間に、並列方向に移動して、元の位置に、直接戻ってしまうと、接触部1034が接触面1075に摺動しないため、接触部1034によるワイピング効果が得られない。
従って、検知用衝突バネ片1021が検知用オスコンタクト1072に接触しているにも関わらず、非接触状態であると誤認するおそれがある。
そこで本発明は、相手方端子を確実に摺動することで、接触信頼性を向上させることができる端子および電気コネクタを提供することを目的とする。
本発明は、電気コネクタの第一ハウジングの内部に配置される端子であって、前記第一ハウジングには、当該第一ハウジングが第二ハウジングと嵌合するときに、弾性的に撓んだ後に復帰して、前記第二ハウジングに係止するロックアームが形成されており、前記端子は、前記第一ハウジングが前記第二ハウジングと嵌合したときに、前記第二ハウジングに設けられた相手方端子と電気的に接触し、前記端子は、前記第一ハウジングに取り付けられるベース部と、前記ベース部と連続しており、前記ロックアーム部の撓みに連動して撓む弾性部と、前記弾性部と連続している接触部と、からなり、前記接触部は、前記第一ハウジングと第二ハウジングとが相互に嵌合する第一方向と交差する面内において形成され、前記弾性部が復帰するときに前記相手方端子の表面に接触する傾斜面を備えていることを特徴とする。
また、本発明の電気コネクタは、前記第一ハウジングと、前記第一ハウジングと第二ハウジングとの嵌合時に、弾性的に撓んだ後に復帰して、前記第二ハウジングに係止するロックアームと、前記第一ハウジングが前記第二ハウジングと嵌合したときに、前記第二ハウジングに設けられた相手方端子と電気的に接続する本発明の端子と、からなるものである。
本発明によれば、第一ハウジングが第二ハウジングと嵌合するときに、第二ハウジングに係止するロックアームが弾性的に撓んだ後に復帰する。このロックアームの撓みに連動して弾性部が撓む。この弾性部に連続した接触部に形成された傾斜面は、弾性部が復帰するときに相手方端子の表面に接触する。従って、ロックアームに連動させて弾性部が復帰するときに傾斜面を相手方端子に摺動させることができる。
前記傾斜面が前記相手方端子の表面に接触しながら、前記弾性部が復帰するときに、前記弾性部が前記相手方端子から離れる方向へ変形することが望ましい。
弾性部が相手方端子から離れる方向へ変形すると、傾斜面による相手方端子への押圧力を緩和させることができるので、傾斜面により相手方端子に大きな傷が付くことを軽減することができる。
前記接触部には前記相手方端子が通過可能な開口部が形成されており、前記傾斜面は前記開口部の内縁に形成されていることが望ましい。
傾斜面が開口部の内縁に形成されていることで、開口部の傾斜面以外の残余の部分により傾斜面の両端部を補強することができるため、接触部の強度を向上させることができる。
前記第一方向およびその逆方向の少なくとも一つの方向に延びる延長部が前記傾斜面に連続して前記接触部の一部を折り曲げることにより形成されていることが望ましい。
延長部が傾斜面に形成されていることで、延長部が幅広く相手方端子を摺動するため、相手方端子の表面の汚れや腐食を幅広く除去することができる。
前記弾性部は、先端側より基端側が細く形成されていることが望ましい。そうすることで、弾性部を撓ませやすくすることができる。
前記端子の少なくとも何れか一方の側において前記端子と並列して形成された少なくとも一つの第二端子をさらに備えており、前記第二端子は、前記ベース部と連続している第二弾性部と、前記第二弾性部と連続し、前記第二ハウジングに設けられた第二の相手方端子と接触する第二接触部と、からなるものであることが望ましい。
前記端子の少なくとも何れか一方の側に備えた、端子と並列して形成された少なくとも一つの第二端子が、第二の相手方端子と接触することで、相手方端子と接触する端子と、第二の相手方端子と接触する第二端子とがベース部を介して短絡した状態とすることができる。従って、第一ハウジングと第二ハウジングとの嵌合が正規な状態である否かの判定を、相手方端子と第二の相手方端子との間で検知することがきる。
前記第二弾性部は、先端側が基端側より細く形成され、前記第二弾性部は、前記弾性部と同一面内において並列するように配置されていることが望ましい。
先端側が基端側より細く形成された第二弾性部を、先端側より基端側が細く形成された弾性部に、同一面内において並列するように配置することで、第二弾性部の細い先端側が弾性部の太い先端側に、第二弾性部の太い先端側が弾性部の細い先端側に並べられるため、それぞれを接近させて配置することができる。
前記端子は一枚の金属板からなるものであることが望ましい。各部が分離したものを接合して形成する場合と比較して、接合工程が不要であるため、容易に前記端子を作製することができる。
本発明の電気コネクタは、前記第二ハウジングと、前記第二ハウジングが第一ハウジングと嵌合したときに、前記第一ハウジングに設けられた請求項1記載の端子と電気的に接続する相手方端子とを備え、前記相手方端子は、前記端子の傾斜面が接触しながら、前記端子の弾性部が復帰するときに、前記傾斜面から離れる方向へ変形することを特徴とする。
本発明の電気コネクタによれば、相手方端子が傾斜面から離れる方向へ変形しながら、接触部が復帰方向へ移動することにより、傾斜面による相手方端子への押圧力を調整することができる。従って、傾斜面により相手方端子に大きな傷が付くことを軽減することができる電気コネクタとすることができる。
本発明は、ロックアームに連動させて弾性部が復帰するときに傾斜面を相手方端子に摺動させることができるので、相手方端子と確実に摺動し、接触信頼性を向上させることができる。
本発明の実施の形態に係る第1電気コネクタと第2電気コネクタとを示す斜視図である。 図1に示す第1電気コネクタの正面図である。 図2に示す第1電気コネクタのIII−III線断面図である。 図2に示す第1電気コネクタのIV−IV線断面図である。 図4に示す第1電気コネクタの短絡用端子の斜視図である。 図5に示す短絡用端子の側面図である。 図5に示す短絡用端子の平面図である。 図1に示す第2電気コネクタの正面図である。 図8に示す第2電気コネクタのIX−IX線断面図である。 図1に示す第1電気コネクタと第2電気コネクタとの嵌合動作を説明するための図であり、ロックアームの突起部と、アウターハウジングの係止用爪部とが対向した状態の断面図である。 図10に示す第1電気コネクタと第2電気コネクタとの嵌合動作を説明するための図のXI−XI線断面図である。 図10に続く、ロックアームの突起部と、アウターハウジングの係止用爪部とが摺動した状態の断面図である。 図12に示す第1電気コネクタと第2電気コネクタとの嵌合動作を説明するための図のXIII−XIII線断面図である。 図12に続く、ロックアームが最下点に位置した状態の断面図である。 図14に示す第1電気コネクタと第2電気コネクタとの嵌合動作を説明するための図のXV−XV線断面図である。 図14に続く、ロックアームが弾性復帰した状態の断面図である。 図16に示す第1電気コネクタと第2電気コネクタとの嵌合動作を説明するための図のXVII−XVII線断面図である。 図17に示す短絡用端子と検知用端子の接触状態の一部拡大図である。 短絡用端子の変形例を示す斜視図である。 図19に示す短絡用端子の側面図である。 図19に示す短絡用端子の正面図である。 図19に示す短絡用端子の平面図である。 特許文献1に記載された電気コネクタの検知用メスコンタクトの斜視図である。 図23に示す電気コネクタの検知用メスコンタクトの動作を説明するための図である。
本発明の実施の形態に係る電気コネクタを図面に基づいて説明する。なお、以下の説明においての「前後」という表現は、相手側の電気コネクタに挿入する側を「前」とし、その反対方向を「後」として表現したものである。また、本実施の形態では、上下の方向を、ロックアーム側を上、その反対側を下として説明している。
図1に示す雌側の電気コネクタである第1電気コネクタ100と、雄側の電気コネクタである第2電気コネクタ200とは、安全装置の一例である車両のエアバッグを始動させる電気配線に使用される電気コネクタである。第1電気コネクタ100と第2電気コネクタ200は、それぞれ2本の信号用の接触端子を有している。
まず、第1電気コネクタ100を、図面に基づいて説明する。
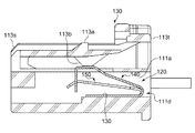
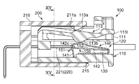
図2から図4に示すように、第1電気コネクタ100は、第2電気コネクタ200と嵌合する本発明の第一ハウジングであるインナーハウジング110と、インナーハウジング110の内部に配置され、第2電気コネクタ200の後述する検知用端子と接触して、第2電気コネクタ200との電気的接続を検知する本発明の端子である短絡用端子120と、雌側の信号用接続端子である雌側接触端子(図示せず)を備えている。
インナーハウジング110は、直方体状の本体111と、この本体111の天面に形成された一対の案内部112と、嵌合状態のときに第2電気コネクタ200からの抜けを防止するためのロックアーム113とを備えた樹脂成形品である。
本体111には、短絡用端子120を配置するための端子収容室111aが形成されている。本体111の前面には、第2電気コネクタ200の後述する検知用端子を差し込むための挿入孔111bが形成されている。また、本体111の前面には、第2電気コネクタ200の雄型端子を差し込むための挿入孔111m(図1参照)が形成されている。
ロックアーム113は、前端部113sが本体111に繋がり、後端部113tは自由端とすることで、前端部113sを連結部として、後端部113t側が揺動するように形成されている。ロックアーム113の前端部113sは、板ばねを介在させて本体111と接続することが可能であり、板ばねが樹脂製の場合は、本体111とロックアーム113とを一体的に形成することで、ロックアーム113の後端部に付勢力を持たせることができる。
ロックアーム113には、第2電気コネクタ200のアウターハウジングとの嵌合時に、弾性的に撓んで沈み込んだ後に復帰して、アウターハウジングに突起部113aが形成されている。また、ロックアーム113には、中央部の短絡用端子120側に、短絡用端子120を押圧するための押圧部113bが形成されている。
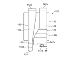
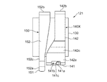
図5から図7に示すように、短絡用端子120は、1枚の金属板を打ち抜き、折り曲げ加工することで形成されている。
短絡用端子120は、インナーハウジング110に取り付けられるベース部130と、ベース部130に並ぶようにして配置された第1短絡用端子140および第2短絡用端子150とを備えている。
ベース部130は、図3および図4に示すように、インナーハウジング110の端子収容室111aに形成されたスロット部に固定される。短絡用端子120は、インナーハウジング110の後端部111dから挿入され、ベース部130をスロット部に差し込んで、端子収容室111aを前方に進めて配置される。
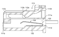
第1短絡用端子140(端子)は、検知用端子に接触する第1接触部141と、ロックアーム113の撓みに連動する第1弾性部142とを備えている。
第1接触部141(接触部)は、第1弾性部142の先端部142aから垂下するように設けられ、第1弾性部142に連続して形成されている。第1接触部141は、インナーハウジング110とアウターハウジング210とが相互に嵌合する第一方向F1(図1参照)と交差する面内において形成され、第1弾性部142が復帰するときに、相手方端子である検知用端子の表面に接触する傾斜面141aを備えている。
第1弾性部142(弾性部)は、基端部142bがベース部130からU字状に折り曲げられて前方へ向いた後、頂部142cまで徐々に上り傾斜となり、頂部142cから先端部142aに向かって下り傾斜となって第1接触部141に繋がっている。
第1弾性部142の頂部142cは、ロックアーム113の押圧部113bにより押圧される。
第2短絡用端子150(第二端子)は、検知用端子に接触する第2接触部151と、弾性的に撓む第2弾性部152とを備えている。
第2接触部151は、第2弾性部152の先端部152aに設けられ、検知用端子側が膨出するように折り曲げられて形成されている。
第2弾性部152(第二弾性部)は、基端部152bがベース部130からU字状に折り曲げられて前方へ向いた後、頂部152cまで緩やかに上り傾斜となり、頂部152cから先端部152aに向かって下り傾斜となって第2接触部151に繋がっている。
雌側接触端子は、図1に示す第1電気コネクタ200の雄側接触端子230を挟み込むようにして接触する金属薄板による板ばねを有している。雌側接触端子は、雌側接触端子の後端部で、本体111からまっすぐ突出したケーブルCと連結される。
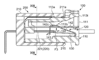
次に、第2電気コネクタ200について、図1,図8および図9に基づいて説明する。
第2電気コネクタ200は、第1電気コネクタ100と嵌合するアウターハウジング210と、第1電気コネクタ100の短絡用端子120(図1参照)と接触して、第1電気コネクタ100との電気的接続を検知する検知用端子220と、雄側の信号用接続端子である雄側接触端子230とを備えている。
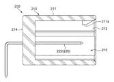
アウターハウジング210(第二ハウジング)は、矩形箱状に形成された樹脂成形品である。アウターハウジング210には、天面部211と、一対の側壁部212と、底壁部213と、奥壁部214とにより囲まれた嵌合穴215が形成されている。
天面部211の内側面には、一対の係止用爪部211aが形成されている。
係止用爪部211aは、ロックアーム113の突起部113a(図1参照)に引っ掛けるために、突起部113aの位置に対応させて嵌合穴215の開口部に形成されている。
奥壁部214には、検知用端子220が、嵌合穴215の開口部に向かって真っ直ぐに突出している。
検知用端子220は、挿抜方向に沿って延びる断面矩形状の針状端子である。検知用端子220は、基板と接続するために逆L字状に折り曲げられている。検知用端子220は、第1短絡用端子140と接続する第1検知用端子221(相手方端子)と、第2短絡用端子150と接続する第2検知用端子222(第二の相手方端子)とを備えている。
一対の検知用端子220(第1検知用端子221,第2検知用端子222)は、導通状態であれば、一対の検知用端子220が短絡用端子120により短絡させられていると判断でき、第1電気コネクタ100と第2電気コネクタ200との嵌合が正規な状態であると判定することができる。
図8および図9に示すように、雄側接触端子230は、検知用端子220両側に配置されている。雄側接触端子230は、嵌合穴215に針状の接触部231が、奥壁部214から突出して形成されていると共に、奥壁部214を貫通して逆L字状に延びる信号用基板端子部232が形成されている。
次に、本実施の形態に係る第1電気コネクタ100と第2電気コネクタ200との嵌合動作および使用状態を図面に基づいて説明する。
まず、第1電気コネクタ100の前部を第2電気コネクタ200の嵌合穴215に合わせて挿入して進行させる。図10および図11に示すように、インナーハウジング110を、アウターハウジング210の嵌合穴215に向かって、相互に嵌合する方向に進行させると、相対的に第2電気コネクタ200の検知用端子220がインナーハウジング110の挿入孔111bに差し込まれて、短絡用端子120へ向かって進行する。
インナーハウジング110の案内部112が嵌合穴215の内壁に沿って奥側へ進行することで、インナーハウジング110が嵌合穴215にまっすぐに挿入される。この状態では、ロックアーム113の突起部113aは、アウターハウジング210の係止用爪部211aと対向した状態である。
突起部113aと係止用爪部211aとが対向して、押し合っていない初期状態では、ロックアーム113の押圧部113bは、第1短絡用端子140の第1弾性部142を押圧していない状態である。
また、第1検知用端子221と第2検知用端子222とは、接触位置まで到達していないため、それぞれが第1短絡用端子140と第2短絡用端子150とに接触していない状態である。
図12および図13に示すように、係止用爪部211aの前側斜面が、突起部113aの前側斜面に突き当たった状態から、更にインナーハウジング110を進行させると、第2検知用端子222は、第2短絡用端子150の第2接触部151に接触し始める。
また、突起部113aが係止用爪部211aの前側斜面に摺動しながら押され、ロックアーム113が短絡用端子120側に押し下げられる。このときロックアーム113は、前端部113sが本体111に繋がり、後端部113tが自由端であるため、後端部113t側は前端部113sにより押し上げの付勢力を受けながら、前端部113sを支点として後端部113tが沈み込む。また、ロックアーム113の押圧部113bが短絡用端子120側に移動することで、押圧部113bが第1短絡用端子140の第1弾性部142の頂部142cを押圧する。
この押圧部113bによる押圧により、第1弾性部142の頂部142cがベース部130側へ押し下げられることで、第1接触部141もベース部130側へ下がる。
第1接触部141がベース部130側へ移動することで、傾斜面141aも移動する。
傾斜面141aは、図18に示すように、一側となる先端部141sから他側となる基端部141t側に向かって、図12および図18に示すように押圧部113bによる押圧方向F2(第1接触部141の移動方向)と直交する方向における第1検知用端子221との距離が長くなるように傾斜している。
第1接触部141が第1検知用端子221と接触していない状態で、第1接触部141がベース部130側へ移動することで、第1接触部141の傾斜面141aは第1検知用端子221と非接触状態で、更に第1検知用端子221から離間する。従って、傾斜面141aは第1検知用端子221と非接触状態を維持する。
続いて、図14および図15に示すように、突起部113aと係止用爪部211aとの前側斜面同士の摺動が過ぎ、突起部113aと係止用爪部211aとの天面同士が対峙した位置にあるときが、ロックアーム113が最も撓んだ状態(ロックアーム113の押圧部113bの最下点)となる。
第2短絡用端子150の第2接触部151は、インナーハウジング110とアウターハウジング210との嵌合が進むことで、第2検知用端子222の基端部側へ摺動しながら移動する。この第2接触部151と第2検知用端子222とが摺動することで、第2接触部151と第2検知用端子222とはワイピング効果を得ることができる。
ロックアーム113の押圧部113bが最下点に位置した状態では、第1短絡用端子140の第1接触部141は、更に下がった位置にある。従って、第1接触部141の傾斜面141aは、更に第1検知用端子221から離間した状態となるため、第1検知用端子221と非接触状態を維持したままである。
続いて、図16および図17に示すように、係止用爪部211aが突起部113aを越えると、ロックアーム113が弾性復帰することで、係止用爪部211aの後端面と突起部113aの後端面とが対面し係止する。この係止により、第1電気コネクタ100が第2電気コネクタ200から抜去されることを防止する。
更に、インナーハウジング110とアウターハウジング210との嵌合が進むことで、第2短絡用端子150の第2接触部151の接触位置は、更に第2検知用端子222の基端側へ摺動しながら移動する。
ロックアーム113の弾性復帰によりロックアーム113が、前端部113sを支点として後端部113tが浮き上がり、嵌合前の元の位置に戻る。ロックアーム113が元の位置に戻ることで、ロックアーム113の押圧部113bが上昇して第1短絡用端子140から離間するため、第1短絡用端子140への押圧が解除される。
押圧部113bによる押圧が解除されることで、第1短絡用端子140の第1弾性部142は、弾性復帰する。
第1弾性部142の弾性復帰により、第1接触部141は、押圧方向とは反対方向(復帰方向F3)へ移動する。この移動により、傾斜面141aは徐々に第1検知用端子221に、接近し、そして接触して摺動し始める。
この第1接触部141の傾斜面141aが第1検知用端子221に摺動することで、第1接触部141と第1検知用端子221とはワイピング効果を得ることができる。
図18に示すように、更に、傾斜面141aの第1検知用端子221への摺動位置が復帰方向F3へ移動すると、傾斜面141aによる第1検知用端子221への押圧力が高くなる。そのため、変形しない第1検知用端子221に押され、第1接触部141は、第1検知用端子221から離れる方向(離間方向F4)へ第1弾性部142が変形することで移動する。
第1弾性部142は、先端側(先端部142a)より基端側(基端部142b)が細く形成されているため、離間方向F4へ変形しやすく形成されている。従って、第1検知用端子221より先に、第1弾性部142を変形させることができる。
第1接触部141が、強く第1検知用端子221を押圧しても、復帰方向F3へ移動しつつ、第1弾性部142が変形して離間方向F4へ移動することで、傾斜面141aによる第1検知用端子221への押圧力を緩和させることができる。従って、傾斜面141aにより第1検知用端子221に大きな傷が付くことを軽減することができる。
このようにして、第1短絡用端子140と第1検知用端子221とが接触し、および第2短絡用端子150と第2検知用端子222とが接触した状態で、第1電気コネクタ100と第2電気コネクタ200との嵌合が完了する。
従って、第1電気コネクタ100と第2電気コネクタ200とが正常に嵌合したか否かを、第1検知用端子221と第2検知用端子222との導通により、判定することができる。
以上のように本実施の形態に係る第1電気コネクタ100と第2電気コネクタ200によれば、インナーハウジング110とアウターハウジング210との嵌合時に、ロックアーム113が撓むと、この撓みに連動して、第1短絡用端子140の第1弾性部142が第1接触部141を押圧方向F2に、第1検知用端子221と非接触状態のまま押し下げる。そして、ロックアーム113が復帰すると、この復帰に連動して、第1短絡用端子140の第1弾性部142が第1接触部141を復帰方向へ移動する。その際に、第1接触部141の傾斜面141aが第1検知用端子221を摺動するため、確実に摺動させることができる。
従って、第1短絡用端子140や第1検知用端子221に汚れや腐食があっても、相互の摺動による摩擦によって第1短絡用端子140や第1検知用端子221の汚れや腐食が除去されるので、第1短絡用端子140および第1検知用端子221の接触信頼性を著しく向上させることができる。
なお、本実施の形態では、第1弾性部142が変形することで、第1接触部141が、復帰方向F3へ移動しつつ、離間方向F4へ移動していたが、傾斜面141aが第1検知用端子221に摺動しながら復帰方向F3へ移動することで、第1弾性部142の代わりに第1検知用端子221が変形してもよい。
そうすることで、第1検知用端子221が傾斜面141aから離れる方向へ変形しながら、第1接触部141が復帰方向F3へ移動することにより、傾斜面141aによる第1検知用端子221への押圧力を緩和させることができる。従って、傾斜面141aにより第1検知用端子221に大きな傷が付くことを軽減することができる。
ここで、短絡用端子の変形例について、図面に基づいて説明する。なお、図19から図22においては、図5から図7と同じ構成のものは同符号を付して説明を省略する。
図19から図22に示すように、短絡用端子121は、第1短絡用端子140Xの第1接触部141Xが環状に形成されていることで、相手方端子である第1検知用端子221(図9参照)が通過可能な開口部141bが形成されている。そして、傾斜面141aを開口部141bの内縁に形成している。
第1接触部141Xを、開口部141bを有する環状とすることで、傾斜面141a以外の残余の部分が傾斜面141aの両端部を補強するため、傾斜面141aが第1検知用端子221に接触する第1接触部141Xの強度を向上させることができる
また、第1接触部141Xは、第一方向F1(図1参照)となる第1検知用端子221の挿入方向に延びる延長部141cが、傾斜面141aに連続して形成されている。
この延長部141cは、第1接触部141Xの一部を折り曲げることにより形成することができる。
このように、傾斜面141aに連続して延長部141cを形成することで、第1検知用端子221との摺動面積を広くすることができるので、第1検知用端子221の表面の汚れや腐食を幅広く除去することができる。
なお、延長部141cは、第1検知用端子221の挿入方向に延びるように形成されているが、その反対方向に延びるように形成してもよい。しかし、第1弾性部142の向きが変わり、延長部141cの先端部が第1検知用端子221の挿入に障害となるおそれがあるため、延長部141cは第1検知用端子221の挿入方向に延びるように形成されている方が望ましい。
図7に示す第1短絡用端子140および図22に示す第1短絡用端子140Xの第1弾性部142は、先端側(先端部142a)より基端側(基端部142b)が細く形成されている。また、第1短絡用端子140または第1短絡用端子140Xに並ぶ第2短絡用端子150の第2弾性部152は、先端側(先端部152a)が基端側(基端部152b)より細く形成されている。そして、第2短絡用端子150の第2弾性部152は、第1短絡用端子140または第1短絡用端子140Xの第1弾性部142と同一面内において並列するように配置されている。
従って、第1弾性部142の細い基端部142bを、第2弾性部152の太い基端部152bに配置させ、第1弾性部142の太い先端部142aを、第2弾性部152の細い先端部152aに配置させると、それぞれを接近させて配置することができる。従って、短絡用端子120,121を小型化することができる。
また、短絡用端子120,121は、1枚の金属板を打ち抜き、折り曲げ加工することで形成されているため、各部が分離したものを接合して形成する場合と比較して、接合工程が不要であるため、容易に作製することができる。
本発明は、電気信号を導通する電線の接続手段として、自動車産業、電気電子機器産業あるいは各種機械産業などの分野において広く利用される電気コネクタに好適である。特に、本発明は、安全装置に使用される電気コネクタに最適である。
100 第1電気コネクタ(電気コネクタ)
110 インナーハウジング(第一ハウジング)
111 本体
111a 端子収容室
111b 挿入孔
111d 後端部
111m 挿入孔
112 案内部
113 ロックアーム
113a 突起部
113b 押圧部
113s 前端部
113t 後端部
120,121 短絡用端子(端子)
130 ベース部
140,140X 第1短絡用端子
141,141X 第1接触部
141a 傾斜面
141b 開口部
141c 延長部
141s 先端部
141t 基端部
142 第1弾性部(弾性部)
142a 先端部
142b 基端部
142c 頂部
150 第2短絡用端子
151 第2接触部(第二接触部)
152 第2弾性部(第二弾性部)
152a 先端部
152b 基端部
152c 頂部
200 第2電気コネクタ
210 アウターハウジング
211 天面部
211a 係止用爪部
212 側壁部
213 底壁部
214 奥壁部
215 嵌合穴
220 検知用端子
221 第1検知用端子(相手方端子)
222 第2検知用端子(第二の相手方端子)
230 雄側接触端子
231 接触部
232 信号用基板端子部
F1 第一方向
F2 押圧方向
F3 復帰方向
F4 離間方向
本発明は、電気コネクタの第一ハウジングの内部に配置される端子であって、前記第一ハウジングには、当該第一ハウジングが第二ハウジングと嵌合するときに、弾性的に撓んだ後に復帰して、前記第二ハウジングに係止するロックアームが形成されており、前記端子は、前記第一ハウジングが前記第二ハウジングと嵌合したときに、前記第二ハウジングに設けられた相手方端子と電気的に接触し、前記端子は、前記第一ハウジングに取り付けられるベース部と、前記ベース部と連続しており、前記ロックアーム部の押圧部に押圧されることで、前記ロックアーム部の撓みに連動して撓む弾性部と、前記弾性部と連続している接触部と、からなり、前記接触部は、前記第一ハウジングと第二ハウジングとが相互に嵌合する第一方向と交差する面内において形成され、前記弾性部が元の位置に復帰するときに前記相手方端子の表面に接触する一つの傾斜面を備えており、前記傾斜面は、前記押圧部の押圧方向における先端部から基端部側に向かって、前記押圧方向と直交する方向における前記相手方端子との距離が長くなるように傾斜していることを特徴とする。
前記弾性部は、当該弾性部が元の位置に復帰するときに、前記傾斜面が前記相手方端子の表面に接触して、前記傾斜面による前記相手方端子への押圧力が高まることで、前記相手方端子に押され、前記相手方端子から離れる方向へ変形することが望ましい。
弾性部が相手方端子から離れる方向へ変形すると、傾斜面による相手方端子への押圧力を緩和させることができるので、傾斜面により相手方端子に大きな傷が付くことを軽減することができる。
本発明の電気コネクタは、前記第二ハウジングと、前記第二ハウジングが第一ハウジングと嵌合したときに、前記第一ハウジングに設けられた請求項1記載の端子と電気的に接続する相手方端子とを備え、前記相手方端子は、前記弾性部が復帰するときに、前記端子の傾斜面が接触して、前記傾斜面による前記相手方端子への押圧力が高まることで、前記傾斜面から離れる方向へ変形することを特徴とする。
前記第一方向およびその逆方向の少なくとも一つの方向に延びる延長部が前記傾斜面に連続して前記接触部の一部に設けられていることが望ましい。
延長部が傾斜面に設けられていることで、延長部が幅広く相手方端子を摺動するため、相手方端子の表面の汚れや腐食を幅広く除去することができる。

Claims (10)

  1. 電気コネクタの第一ハウジングの内部に配置される端子であって、
    前記第一ハウジングには、当該第一ハウジングが第二ハウジングと嵌合するときに、弾性的に撓んだ後に復帰して、前記第二ハウジングに係止するロックアームが形成されており、
    前記端子は、前記第一ハウジングが前記第二ハウジングと嵌合したときに、前記第二ハウジングに設けられた相手方端子と電気的に接触し、
    前記端子は、
    前記第一ハウジングに取り付けられるベース部と、
    前記ベース部と連続しており、前記ロックアーム部の撓みに連動して撓む弾性部と、
    前記弾性部と連続している接触部と、
    からなり、
    前記接触部は、前記第一ハウジングと第二ハウジングとが相互に嵌合する第一方向と交差する面内において形成され、前記弾性部が復帰するときに前記相手方端子の表面に接触する傾斜面を備えていることを特徴とする端子。
  2. 前記傾斜面が前記相手方端子の表面に接触しながら、前記弾性部が復帰するときに、前記弾性部が前記相手方端子から離れる方向へ変形することを特徴とする請求項1記載の端子。
  3. 前記接触部には前記相手方端子が通過可能な開口部が形成されており、前記傾斜面は前記開口部の内縁に形成されていることを特徴とする請求項1記載の端子。
  4. 前記第一方向およびその逆方向の少なくとも一つの方向に延びる延長部が前記傾斜面に連続して前記接触部の一部を折り曲げることにより形成されていることを特徴とする請求項1記載の端子。
  5. 前記弾性部は、先端側より基端側が細く形成されている請求項1記載の端子。
  6. 前記端子の少なくとも何れか一方の側において前記端子と並列して形成された少なくとも一つの第二端子をさらに備えており、
    前記第二端子は、
    前記ベース部と連続している第二弾性部と、
    前記第二弾性部と連続し、前記第二ハウジングに設けられた第二の相手方端子と接触する第二接触部と、
    からなるものであることを特徴とする請求項5記載の端子。
  7. 前記第二弾性部は、先端側が基端側より細く形成され、
    前記第二弾性部は、前記弾性部と同一面内において並列するように配置されていることを特徴とする請求項6記載の端子。
  8. 前記端子は一枚の金属板からなるものであることを特徴とする請求項1乃至7の何れか一項に記載の端子。
  9. 前記第一ハウジングと、
    前記第一ハウジングと第二ハウジングとの嵌合時に、弾性的に撓んだ後に復帰して、前記第二ハウジングに係止するロックアームと、
    前記第一ハウジングが前記第二ハウジングと嵌合したときに、前記第二ハウジングに設けられた相手方端子と電気的に接続する請求項1乃至8の何れか一項に記載の端子と、
    からなる電気コネクタ。
  10. 前記第二ハウジングと、
    前記第二ハウジングが第一ハウジングと嵌合したときに、前記第一ハウジングに設けられた請求項1記載の端子と電気的に接続する相手方端子とを備え、
    前記相手方端子は、前記端子の傾斜面が接触しながら、前記端子の弾性部が復帰するときに、前記傾斜面から離れる方向へ変形することを特徴とする電気コネクタ。
JP2015025705A 2015-02-12 2015-02-12 端子および電気コネクタ Expired - Fee Related JP5920502B1 (ja)

Priority Applications (1)

Application Number Priority Date Filing Date Title
JP2015025705A JP5920502B1 (ja) 2015-02-12 2015-02-12 端子および電気コネクタ

Applications Claiming Priority (1)

Application Number Priority Date Filing Date Title
JP2015025705A JP5920502B1 (ja) 2015-02-12 2015-02-12 端子および電気コネクタ

Publications (2)

Publication Number Publication Date
JP5920502B1 JP5920502B1 (ja) 2016-05-18
JP2016149259A true JP2016149259A (ja) 2016-08-18

Family

ID=55974048

Family Applications (1)

Application Number Title Priority Date Filing Date
JP2015025705A Expired - Fee Related JP5920502B1 (ja) 2015-02-12 2015-02-12 端子および電気コネクタ

Country Status (1)

Country Link
JP (1) JP5920502B1 (ja)

Families Citing this family (1)

* Cited by examiner, † Cited by third party
Publication number Priority date Publication date Assignee Title
CN117347680B (zh) * 2023-12-06 2024-02-13 淮安市文善电子有限公司 一种电子元器件检测装置及其操作方法

Family Cites Families (1)

* Cited by examiner, † Cited by third party
Publication number Priority date Publication date Assignee Title
JP3264305B2 (ja) * 1995-01-09 2002-03-11 矢崎総業株式会社 結合検知装置を備えたコネクタ

Also Published As

Publication number Publication date
JP5920502B1 (ja) 2016-05-18

Similar Documents

Publication Publication Date Title
US7591665B2 (en) Connector
US7458835B2 (en) Connector and a connector assembly
JPH1041018A (ja) 短絡用端子金具
JP4548272B2 (ja) コネクタ
US9876295B2 (en) Electric connector
CN101335396B (zh) 连接器及其组装方法
CN102332649B (zh) 具有结合检测单元的连接器
US9300089B2 (en) Electric connector and detection terminal included therein
CN107919564B (zh) 连接器
US6422894B1 (en) Connector fitting detection construction
JP5247902B1 (ja) 電気コネクタ
US11417990B2 (en) Connector that includes assembly detecting portion
JP5920502B1 (ja) 端子および電気コネクタ
JP7567561B2 (ja) コネクタ
CN107809027B (zh) 具有短路端子的连接器
JP5949970B1 (ja) 電気コネクタ
CN113228425A (zh) 连接器
JP5811154B2 (ja) 電気コネクタおよび短絡用端子の製造方法
WO2017026245A1 (ja) 嵌合検知機能を有する電気接続装置
JP6203665B2 (ja) 一方にシャッターを備えた一対の電気コネクタ
JP6270156B2 (ja) コネクタ
JP2009146673A (ja) 嵌合検知機能付コネクタ装置、コネクタパーツ、およびコネクタ用の金属製ロックアーム
JP4010531B2 (ja) 半嵌合検知コネクタ
JP2009117193A (ja) コネクタ及び検知端子
KR20250062177A (ko) 커넥터 어셈블리

Legal Events

Date Code Title Description
A521 Request for written amendment filed

Free format text: JAPANESE INTERMEDIATE CODE: A523

Effective date: 20160223

A521 Request for written amendment filed

Free format text: JAPANESE INTERMEDIATE CODE: A523

Effective date: 20160301

TRDD Decision of grant or rejection written
A01 Written decision to grant a patent or to grant a registration (utility model)

Free format text: JAPANESE INTERMEDIATE CODE: A01

Effective date: 20160315

A61 First payment of annual fees (during grant procedure)

Free format text: JAPANESE INTERMEDIATE CODE: A61

Effective date: 20160328

R150 Certificate of patent or registration of utility model

Ref document number: 5920502

Country of ref document: JP

Free format text: JAPANESE INTERMEDIATE CODE: R150

R250 Receipt of annual fees

Free format text: JAPANESE INTERMEDIATE CODE: R250

R250 Receipt of annual fees

Free format text: JAPANESE INTERMEDIATE CODE: R250

R250 Receipt of annual fees

Free format text: JAPANESE INTERMEDIATE CODE: R250

R250 Receipt of annual fees

Free format text: JAPANESE INTERMEDIATE CODE: R250

LAPS Cancellation because of no payment of annual fees