JP2016017289A - Seismic isolation structure and seismic isolation method - Google Patents

Seismic isolation structure and seismic isolation method Download PDF

Info

Publication number
JP2016017289A
JP2016017289A JP2014139218A JP2014139218A JP2016017289A JP 2016017289 A JP2016017289 A JP 2016017289A JP 2014139218 A JP2014139218 A JP 2014139218A JP 2014139218 A JP2014139218 A JP 2014139218A JP 2016017289 A JP2016017289 A JP 2016017289A
Authority
JP
Japan
Prior art keywords
existing
seismic isolation
foundation
piles
columns
Prior art date
Legal status (The legal status is an assumption and is not a legal conclusion. Google has not performed a legal analysis and makes no representation as to the accuracy of the status listed.)
Granted
Application number
JP2014139218A
Other languages
Japanese (ja)
Other versions
JP6336835B2 (en
Inventor
太 井之上
Futoshi Inoue
太 井之上
裕美 鈴木
Hiromi Suzuki
裕美 鈴木
藤村 太史郎
Tashiro Fujimura
太史郎 藤村
Current Assignee (The listed assignees may be inaccurate. Google has not performed a legal analysis and makes no representation or warranty as to the accuracy of the list.)
Taisei Corp
Original Assignee
Taisei Corp
Priority date (The priority date is an assumption and is not a legal conclusion. Google has not performed a legal analysis and makes no representation as to the accuracy of the date listed.)
Filing date
Publication date
Application filed by Taisei Corp filed Critical Taisei Corp
Priority to JP2014139218A priority Critical patent/JP6336835B2/en
Publication of JP2016017289A publication Critical patent/JP2016017289A/en
Application granted granted Critical
Publication of JP6336835B2 publication Critical patent/JP6336835B2/en
Active legal-status Critical Current
Anticipated expiration legal-status Critical

Links

Images

Landscapes

  • Foundations (AREA)
  • Working Measures On Existing Buildindgs (AREA)

Abstract

【課題】免震装置の設置台数を削減できる免震構造を提供する。
【解決手段】免震構造1は、複数並んで設けられた既存杭11と、これら複数の既存杭11の上に設けられた最下階の複数の既存柱12と、既存柱12の柱脚部同士を連結する既存の基礎梁13と、を備える既存建物2を免震化する。この免震構造1は、複数の既存杭11の杭頭部の一部が撤去されて、複数の既存杭11の残る杭頭部に跨がって構築された耐圧盤20と、既存の基礎梁13に沿って延びてこの既存の基礎梁13を補強する基礎補強梁30と、複数の既存柱12のうちの一部の直下でかつ基礎補強梁30と耐圧盤20との間に、減衰装置を設置可能な間隔を空けて設けられた免震装置40と、を備える。
【選択図】図4
To provide a seismic isolation structure capable of reducing the number of installed seismic isolation devices.
A seismic isolation structure (1) includes a plurality of existing piles (11) arranged side by side, a plurality of existing columns (12) on the lowest floor provided on the plurality of existing piles (11), and a column base of the existing columns (12). The existing building 2 provided with the existing foundation beam 13 connecting the parts is seismically isolated. This seismic isolation structure 1 includes a pressure-resistant panel 20 constructed by straddling the pile heads in which a plurality of existing piles 11 are partially removed, and existing foundations. A foundation reinforcing beam 30 that extends along the beam 13 to reinforce the existing foundation beam 13 and a part of the plurality of existing columns 12 directly below and between the foundation reinforcing beam 30 and the pressure platen 20 are attenuated. And a seismic isolation device 40 provided at an interval at which the device can be installed.
[Selection] Figure 4

Description

本発明は、既存建物を免震化する免震構造およびこの免震化方法に関する。   The present invention relates to a seismic isolation structure for isolating an existing building and a seismic isolation method.

従来より、既存建物を免震化する免震レトロフィット工事が知られている。この免震レトロフィット工事は、既存建物の基礎部分や特定の階層の各既存柱に免震装置を設置し、外観、内装、設備などを損なうことなく、既存建物を免震建物に変更する方法である(特許文献1、2参照)。   Conventionally, seismic isolation retrofit construction for isolating existing buildings is known. This seismic isolation retrofit work is a method of installing existing seismic isolation devices on the foundations of existing buildings and existing pillars at specific levels, and changing existing buildings to seismic isolation without damaging the exterior, interior, or equipment. (See Patent Documents 1 and 2).

この免震レトロフィット工事によれば、免震化することで、地震による強い揺れをゆっくりとした揺れに変えて加速度を抑えるので、免震化されたレベルより上の部分の補強は不要になるか、あるいは大幅に少なくできる、というメリットがある。   According to this seismic isolation retrofit construction, the seismic isolation changes the strong shaking caused by the earthquake into a slow shaking and suppresses the acceleration, so that the reinforcement above the seismic isolation level is unnecessary. Or has the merit that it can be greatly reduced.

特許第5285850号公報Japanese Patent No. 5285850 特開2013−32684号公報JP 2013-32684 A

上述のように、以上の免震レトロフィット工事では、各既存柱に免震装置を設置するので、免震装置の設置台数が多くなり、施工コストが増大する、という問題があった。   As described above, in the above seismic isolation retrofit work, since the seismic isolation devices are installed on each existing pillar, there is a problem that the number of seismic isolation devices increases and the construction cost increases.

本発明は、免震装置の設置台数を削減できる免震構造および免震化方法を提供することを目的とする。   An object of this invention is to provide the seismic isolation structure and seismic isolation method which can reduce the number of installation of a seismic isolation apparatus.

本発明者は、既存建物の免震化方法として、全ての既存柱の直下に免震装置を設けるのではなく、減衰装置を配置できるだけの間隔を空けて免震装置や減衰装置を設けることによって、少ない免震装置を用いた免震構造を実現できることに着眼し、免震装置および減衰装置を組み合わせた既存建物の免震構造を発明するに至った。   The present inventor does not provide seismic isolation devices directly under all existing columns as a method of seismic isolation of existing buildings, but by providing seismic isolation devices and attenuation devices with sufficient spacing to arrange the attenuation devices. In view of the fact that a seismic isolation structure using a small number of seismic isolation devices can be realized, the inventors have invented a seismic isolation structure for an existing building that combines a seismic isolation device and an attenuation device.

本発明の免震構造(例えば、後述の免震構造1)は、複数並んで設けられた既存杭(例えば、後述の既存杭11)と、当該複数の既存杭の上に設けられた最下階の複数の既存柱(例えば、後述の既存柱12)と、当該既存柱の柱脚部同士を連結する既存の基礎梁(例えば、後述の既存の基礎梁13)と、を備える既存建物(例えば、後述の既存建物2)を免震化する免震構造であって、前記複数の既存杭の杭頭部の一部が撤去されて、当該複数の既存杭の残る杭頭部に跨がって構築された耐圧盤(例えば、後述の耐圧盤20)と、前記既存の基礎梁を補強した基礎補強梁(例えば、後述の基礎補強梁30)と、前記複数の既存柱の少なくとも一部の直下でかつ前記基礎補強梁と前記耐圧盤との間に、減衰装置(例えば、後述の減衰装置48)を設置可能な間隔を空けて設けられた免震装置(例えば、後述の免震装置40)と、を備えることを特徴とする。   The seismic isolation structure of the present invention (for example, a seismic isolation structure 1 described later) includes a plurality of existing piles (for example, a later-described existing pile 11) provided in a row and a bottom provided on the plurality of existing piles. An existing building comprising a plurality of existing columns (for example, an existing column 12 described later) and an existing foundation beam (for example, an existing foundation beam 13 described later) that connects the column bases of the existing columns. For example, a seismic isolation structure for seismic isolation of an existing building 2) described later, wherein a part of the pile heads of the plurality of existing piles is removed and straddled across the pile heads where the plurality of existing piles remain. A pressure platen (for example, a pressure platen 20 described later), a foundation reinforcing beam (for example, a foundation reinforcing beam 30 described later) reinforced with the existing foundation beam, and at least a part of the plurality of existing columns. And a damping device (for example, a damping device 48 described later) between the foundation reinforcing beam and the pressure platen. Seismic isolation device that is provided at a locatable intervals (e.g., isolator 40 described later), characterized in that it comprises a a.

免震装置とは、既存建物を所定の振幅内で水平移動可能に支持する装置であり、減衰装置とは、既存建物の水平方向の加速度を減衰させる装置である。
減衰装置を設置可能な間隔とは、例えば、免震装置の軸径(積層ゴムの直径)の略5倍以上である。
The seismic isolation device is a device that supports an existing building so as to be horizontally movable within a predetermined amplitude, and the attenuation device is a device that attenuates the acceleration in the horizontal direction of the existing building.
The space | interval which can install a damping device is about 5 times or more of the shaft diameter (diameter of laminated rubber) of a seismic isolation device, for example.

また、耐圧盤は、建物の自重および積載荷重を地盤に伝えるものであり、地盤からの反力に耐えうるように強固に構築された鉄筋コンクリート造である。この耐圧盤は、最下階の床スラブとは別に構築されており、基礎スラブに地中梁が接合されたものでもよいし、基礎スラブのみとしてもよい。   In addition, the pressure platen is a reinforced concrete structure that transmits the building's own weight and load to the ground and is firmly constructed so as to withstand the reaction force from the ground. This pressure-resistant panel is constructed separately from the floor slab on the lowest floor, and may be one in which underground beams are joined to the foundation slab or only the foundation slab.

この発明によれば、既存の基礎梁の下で杭頭部に跨がって耐圧盤を構築し、さらに、既存の基礎梁を基礎補強梁で補強して、この基礎補強梁と耐圧盤との間に免震装置を設けた。これにより、既存建物を免震化できる。
ここで、全ての既存柱の直下には免震装置を設けず、一部の既存柱の直下にのみ免震装置を設けた。つまり、免震装置を集約して配置した。これにより、免震装置の設置台数を削減して、施工コストを低減できる。
According to the present invention, a pressure plate is constructed across the pile head under the existing foundation beam, and the existing foundation beam is reinforced with the foundation reinforcement beam. A seismic isolation device was installed in between. As a result, the existing building can be seismically isolated.
Here, seismic isolation devices were not installed directly below all existing columns, but seismic isolation devices were installed only directly below some existing columns. In other words, seismic isolation devices have been consolidated and arranged. Thereby, the installation number of seismic isolation devices can be reduced and construction cost can be reduced.

また、免震装置を集約して配置することにより、基礎梁は、免震装置を直下に設けない既存柱を丘立ち柱として支持することになる。本明細書において、丘立ち柱とは、既存柱の直下に、壁や柱などの躯体あるいは免震装置を設けるのではなく、隙間が形成されて、これにより、力学的に鉛直力の伝達が分断されている。
この基礎梁は、補強梁を付加して断面を増大させ、基礎梁のせん断耐力および曲げ剛性が増大させ、既存柱の固定度(回転拘束度)を高めることで、既存柱の直下に免震装置を設けない場合であっても、基礎梁によって上部構造を支持できるから、支持スパンを大きくできる。
In addition, by arranging the seismic isolation devices in an integrated manner, the foundation beam supports an existing column that does not have a seismic isolation device directly below as a hill column. In this specification, a hill pillar means that a vertical space is dynamically transmitted by forming a gap directly below an existing pillar, rather than providing a wall or pillar, or a seismic isolation device. It is divided.
This foundation beam is added with a reinforcing beam to increase the cross-section, increase the shear strength and bending rigidity of the foundation beam, and increase the degree of fixation (rotational restraint) of the existing column, making it seismically isolated directly under the existing column. Even when no device is provided, the support structure can be supported by the foundation beam, so that the support span can be increased.

さらに本発明の免震構造は、前記基礎補強梁は、前記免震装置に支持され、前記既存の基礎梁の両側面および/または下面に接合された長尺部材であり、当該長尺材部の内部に設けられた梁主筋は、既存の基礎スラブ(例えば、後述の既存の基礎スラブ14)に定着されていることを特徴とする。   Furthermore, the seismic isolation structure of the present invention is a long member in which the foundation reinforcing beam is supported by the seismic isolation device and joined to both side surfaces and / or the lower surface of the existing foundation beam, The main beam provided inside is fixed to an existing foundation slab (for example, an existing foundation slab 14 described later).

基礎補強梁を設けることで、基礎補強梁で補強された基礎梁は、補強前の基礎梁に比べて、曲げ耐力および曲げ剛性がともに大きくなり、地震荷重が作用した際、建物の抵抗機構が変化する。したがって、新たに基礎補強梁が負担する曲げモーメントおよびせん断力を評価し、その後、耐震安全性を検証して、部材配筋等を設計する必要がある。よって、詳細な構造検討を踏まえて、構造設計を実施することになる。
しかしながら、この発明によれば、既存の基礎梁を補強する基礎補強梁を、既存の基礎梁と免震装置との間に配置して、双方を連結させる機能に限定させている。したがって、基礎補強梁を設けても、基礎梁のせん断抵抗機構が変化することはなく、簡易な接合構造でかつ既存の基礎梁の耐力および剛性を変化させないことで、新たな構造設計は不要となるから、施工コストを削減できる。
By providing foundation reinforcement beams, foundation beams reinforced with foundation reinforcement beams have both higher bending strength and flexural rigidity than the foundation beams before reinforcement, and the resistance mechanism of the building is reduced when an earthquake load is applied. Change. Therefore, it is necessary to newly evaluate the bending moment and shear force borne by the foundation reinforcing beam, and then verify the seismic safety and design the member reinforcement. Therefore, the structural design is carried out based on the detailed structural examination.
However, according to this invention, the foundation reinforcement beam which reinforces the existing foundation beam is arrange | positioned between the existing foundation beam and the seismic isolation apparatus, and is limited to the function which connects both. Therefore, even if a foundation reinforcement beam is provided, the shear resistance mechanism of the foundation beam does not change, and a new structure design is not required because it has a simple joint structure and does not change the strength and rigidity of the existing foundation beam. Therefore, construction costs can be reduced.

基礎補強梁と既存建物の最下階の床躯体は、各コンクリート躯体同士を当接させてもよいし、各コンクリート躯体同士の間に隙間を設けてもよい。
なお、耐圧盤と既存杭は、既存杭の杭周辺部にグラウト充填して接合し、一体とする。
The foundation reinforcement beam and the floor frame on the lowermost floor of the existing building may be brought into contact with each other, or a gap may be provided between the concrete frames.
In addition, the pressure platen and the existing pile are grout-filled around the pile periphery of the existing pile and joined together.

また、本発明では、前記既存杭の残る杭頭部の一部と、前記耐圧盤とは、接合されていないことが好ましい。   Moreover, in this invention, it is preferable that a part of pile head with which the said existing pile remains, and the said pressure | voltage resistant board are not joined.

既存杭の杭頭部と耐圧盤とを接合させると、既存建物の基礎構造による地震力に対する抵抗機構が変化するため、新たに構造設計を行う必要が生じる。
しかしながら、既存杭の杭頭部と耐圧盤とが接合されていない場合には、新たな構造設計が不要となり、施工コストを削減できる。
When the pile head and the pressure platen of the existing pile are joined, the resistance mechanism against the seismic force due to the foundation structure of the existing building changes, so a new structural design is required.
However, when the pile head of the existing pile and the pressure platen are not joined, a new structural design becomes unnecessary, and the construction cost can be reduced.

また、さらに本発明の免震化構造は、前記免震装置の軸径(例えば、後述の積層ゴム42の直径)は、前記既存柱の外径よりも大きいことを特徴とする。   Furthermore, the seismic isolation structure of the present invention is characterized in that the seismic isolation device has a shaft diameter (for example, a diameter of a laminated rubber 42 described later) larger than the outer diameter of the existing column.

柱間隔が約6m以内の場合、全ての柱の直下に免震装置を設けると、以下のような問題がある。
柱間隔が比較的狭いので、各柱が負担する軸力は低く、軸径の小さい免震装置しか設置できない。よって、各免震装置の限界変形率を200〜300%程度としても、免震層自体の限界変形量を大きく設定することはできないので、せん断力を免震層で吸収できず、既存建物に大きなせん断力が作用することになる。したがって、免震化により既存建物の長周期化は困難となるとともに、既存建物に補強が必要となる可能性が高い。
また、柱間隔が狭いので、免震装置間に減衰装置を配置することは困難となる。
When the column spacing is within about 6 m, the following problems arise if seismic isolation devices are installed directly below all columns.
Since the column spacing is relatively narrow, the axial force borne by each column is low, and only seismic isolation devices with a small shaft diameter can be installed. Therefore, even if the limit deformation rate of each seismic isolation device is about 200 to 300%, the limit deformation amount of the seismic isolation layer itself cannot be set large, so the shear force cannot be absorbed by the seismic isolation layer, A large shearing force will act. Therefore, seismic isolation makes it difficult to increase the period of existing buildings, and it is highly likely that reinforcement will be required for existing buildings.
In addition, since the column spacing is narrow, it is difficult to dispose the damping device between the seismic isolation devices.

そこで、柱間隔が約6m以内の場合には、全ての柱に直下に免震装置を設けるのではなく、免震装置を集約させる。これにより、免震装置に作用する圧縮軸力が大きくなるので、軸径の大きい免震装置を設置できる。よって、せん断力を免震層で吸収でき、既存建物に大きなせん断力が作用するのを防止できる。また、免震装置の安定性が増すとともに、浮き上がりを防止できる。   Therefore, in the case where the distance between the columns is within about 6 m, the seismic isolation devices are gathered instead of providing the seismic isolation devices directly below all the columns. Thereby, since the compression axial force which acts on a seismic isolation apparatus becomes large, a seismic isolation apparatus with a large shaft diameter can be installed. Therefore, the shear force can be absorbed by the seismic isolation layer, and a large shear force can be prevented from acting on the existing building. In addition, the stability of the seismic isolation device can be increased and the floating can be prevented.

また、柱間隔が約6mを超える場合には、全ての柱の直下に免震装置を設けても、軸径の大きい免震装置を設置でき、少ない免震装置にて、上部建物に作用するせん断力を低減できる。   Also, if the column spacing exceeds about 6m, seismic isolation devices with large shaft diameters can be installed even if seismic isolation devices are installed directly under all columns, and it acts on the upper building with fewer seismic isolation devices. Shear force can be reduced.

また、さらに本発明の免震化方法は、複数並んで設けられた既存杭と、当該複数の既存杭の上に設けられた最下階の複数の既存柱と、当該既存柱の柱脚部同士を連結する既存の基礎梁と、を備える既存建物を免震化する方法であって、前記複数の既存杭の杭頭部に跨がって耐圧盤を構築する工程(例えば、後述のステップS1、S2)と、前記既存の基礎梁に沿って当該既存の基礎梁を基礎補強梁として補強する工程(例えば、後述のステップS3)と、前記耐圧盤から前記既存の基礎梁を仮支持して、当該複数の既存杭の一部を撤去する工程(例えば、後述のステップS4、S5)と、前記複数の既存柱のうちの少なくとも一部の直下でかつ前記基礎補強梁と前記耐圧盤との間に、減衰装置を設置可能な間隔を空けて免震装置を設ける工程(例えば、後述のステップS6)と、を備えることを特徴とする。   Further, the seismic isolation method of the present invention includes a plurality of existing piles provided side by side, a plurality of existing columns on the lowest floor provided on the plurality of existing piles, and a column base portion of the existing columns. A method of seismically isolating an existing building comprising existing foundation beams that connect each other, and a step of constructing a pressure plate across the pile heads of the plurality of existing piles (for example, steps described later) S1, S2), a step of reinforcing the existing foundation beam as a foundation reinforcing beam along the existing foundation beam (for example, step S3 described later), and temporarily supporting the existing foundation beam from the pressure platen And the process (for example, below-mentioned step S4, S5) which removes a part of the said some existing pile, and the said foundation reinforcement beam and the said pressure-resistant board directly under at least one part of the said some existing pillars The process of installing a seismic isolation device with an interval where an attenuation device can be installed between For example, characterized in that it comprises a step S6) will be described later.

この発明によれば、耐圧盤から既存の基礎梁を仮支持して状態で、既存杭の一部を撤去するとともに、一部の既存柱の直下に免震装置を設けた。よって、既存杭を撤去して免震装置を据え付けるまでの工事期間中、仮支持材によって建物の水平移動を拘束して、既存建物の水平保有耐力を確保することが可能である。   According to this invention, while temporarily supporting the existing foundation beam from the pressure platen, a part of the existing pile is removed, and the seismic isolation device is provided directly below some of the existing columns. Therefore, during the construction period until the existing pile is removed and the seismic isolation device is installed, the horizontal movement of the building can be restrained by the temporary support material, and the horizontal holding strength of the existing building can be secured.

本発明によれば、既存の基礎梁の下で杭頭部に跨がって耐圧盤を構築し、さらに、既存の基礎梁を基礎補強梁で補強して、この基礎補強梁と耐圧盤との間に免震装置を設けた。これにより、既存建物を免震化できる。ここで、全ての既存柱の直下には免震装置を設けず、一部の既存柱の直下にのみ免震装置を設けた。つまり、免震装置を集約して配置した。これにより、免震装置の設置台数を削減して、施工コストを低減できる。本発明は、細い柱が多数立設された既存建物の免震化に適している。   According to the present invention, a pressure plate is constructed across the pile head under the existing foundation beam, and the existing foundation beam is reinforced with the foundation reinforcement beam. A seismic isolation device was installed in between. As a result, the existing building can be seismically isolated. Here, seismic isolation devices were not installed directly below all existing columns, but seismic isolation devices were installed only directly below some existing columns. In other words, seismic isolation devices have been consolidated and arranged. Thereby, the installation number of seismic isolation devices can be reduced and construction cost can be reduced. The present invention is suitable for seismic isolation of an existing building in which many thin columns are erected.

本発明の第1実施形態に係る免震構造により免震化の対象となる既存建物(改修前の建物)の基礎の縦断面図である。It is a longitudinal cross-sectional view of the foundation of the existing building (building before repair) used as the object of seismic isolation by the seismic isolation structure which concerns on 1st Embodiment of this invention. 図1のA−A断面図である。It is AA sectional drawing of FIG. 前記実施形態に係る免震構造が適用されて免震化された既存建物(改修後の建物)の基礎の横断面図である。It is a cross-sectional view of the foundation of an existing building (renovated building) to which the seismic isolation structure according to the embodiment has been applied to make the base isolation. 図3のB−B断面図である。It is BB sectional drawing of FIG. 図4のC−C断面図である。It is CC sectional drawing of FIG. 前記実施形態に係る免震装置の縦断面図である。It is a longitudinal cross-sectional view of the seismic isolation apparatus which concerns on the said embodiment. 前記実施形態に係る免震化方法のフローチャートである。It is a flowchart of the seismic isolation method which concerns on the said embodiment. 前記実施形態に係る免震化方法の手順を説明するための縦断面図(その1)である。It is a longitudinal cross-sectional view (the 1) for demonstrating the procedure of the seismic isolation method which concerns on the said embodiment. 前記実施形態に係る免震化方法の手順を説明するための縦断面図(その2)である。It is a longitudinal cross-sectional view (the 2) for demonstrating the procedure of the seismic isolation method which concerns on the said embodiment. 前記実施形態に係る免震化方法の手順を説明するための縦断面図(その3)である。It is a longitudinal cross-sectional view (the 3) for demonstrating the procedure of the seismic isolation method which concerns on the said embodiment. 本発明の第2実施形態に係る免震構造が適用されて免震化された既存建物の基礎の縦断面図である。It is a longitudinal cross-sectional view of the foundation of the existing building by which the seismic isolation structure which concerns on 2nd Embodiment of this invention was applied, and was seismically isolated.

本発明では、全ての既存柱に免震装置を設けるのではなく、一部の既存柱の直下のみに免震装置を配置し、残る既存柱は基礎梁に立設させるだけで、この既存柱の下に断絶空間を設けた既存建物の免震化構造である。
各既存柱は、既存の基礎梁を補強した補強後の基礎梁上から立設しており、補強後の基礎梁により大スパンを実現し、その大スパンの支承部のみに免震装置を配置する構成により、免震装置の数を減らすことを可能とした。
In the present invention, the seismic isolation device is not provided for all existing columns, but the seismic isolation device is disposed only directly below some existing columns, and the remaining existing columns are erected on the foundation beam. It is a seismic isolation structure for an existing building with a disconnect space underneath.
Each existing column is erected from the reinforced foundation beam reinforced with the existing foundation beam. A large span is realized by the reinforced foundation beam, and a seismic isolation device is placed only on the support part of the large span. This configuration makes it possible to reduce the number of seismic isolation devices.

以下、本発明の実施形態を図面に基づいて説明する。なお、以下の実施形態の説明にあたって、同一構成要件については同一符号を付し、その説明を省略もしくは簡略化する。
〔第1実施形態〕
図1は、本発明の第1実施形態に係る免震構造1により免震化の対象となる既存建物2の基礎10の縦断面図である。図2は、図1のA−A断面図である。
Hereinafter, embodiments of the present invention will be described with reference to the drawings. In the following description of the embodiments, the same constituent elements are denoted by the same reference numerals, and the description thereof is omitted or simplified.
[First Embodiment]
FIG. 1 is a vertical cross-sectional view of a foundation 10 of an existing building 2 that is subject to seismic isolation by the seismic isolation structure 1 according to the first embodiment of the present invention. FIG. 2 is a cross-sectional view taken along the line AA of FIG.

既存建物2の基礎10は、複数並んで設けられた既存杭11と、これら複数の既存杭11の上に設けられた最下階の複数の既存柱12と、これら複数の既存杭11の杭頭同士を連結する既存の基礎梁13と、基礎梁13に沿って延びる既存の基礎スラブ14と、を備える。
ここで、既存杭11および既存柱12の間隔は、ここでは6m以内である。
The foundation 10 of the existing building 2 includes a plurality of existing piles 11 arranged side by side, a plurality of existing pillars 12 on the lowest floor provided on the plurality of existing piles 11, and a pile of the plurality of existing piles 11 An existing foundation beam 13 that connects the heads to each other and an existing foundation slab 14 that extends along the foundation beam 13 are provided.
Here, the space | interval of the existing pile 11 and the existing pillar 12 is 6 m or less here.

また、既存の基礎梁13の上端には、最下階の既存床スラブ15が設けられ、基礎梁13の下端には、既存耐圧盤16が設けられる。
既存杭11の杭頭部は、既存耐圧盤16に接合され、既存柱12は、既存の基礎梁13から上方に延びている。
In addition, an existing floor slab 15 on the lowest floor is provided at the upper end of the existing foundation beam 13, and an existing pressure-resistant panel 16 is provided at the lower end of the foundation beam 13.
The pile head of the existing pile 11 is joined to the existing pressure-resistant panel 16, and the existing column 12 extends upward from the existing foundation beam 13.

図3は、免震構造1が適用されて免震化された既存建物2の基礎10Aの横断面図である。図4は、図3のB−B断面図であり、図5は、図4のC−C断面図である。
免震構造1は、新設の耐圧盤20、基礎補強梁30、免震装置40、および減衰装置48を備える。
FIG. 3 is a cross-sectional view of the foundation 10 </ b> A of the existing building 2 that is seismically isolated by applying the seismic isolation structure 1. 4 is a cross-sectional view taken along the line BB of FIG. 3, and FIG. 5 is a cross-sectional view taken along the line CC of FIG.
The seismic isolation structure 1 includes a new pressure-resistant panel 20, a foundation reinforcing beam 30, a seismic isolation device 40, and a damping device 48.

免震装置40は、既存柱12のうちの一部、ここでは、既存柱12Aの直下に位置しており、残る既存柱12の直下には設けられていない。よって、基礎梁13は、残る既存柱12を丘立ち柱として支持する。
これにより、免震装置40同士の間隔は、減衰装置48を設置可能な間隔となっているが、ここでは、免震装置の積層ゴム42の直径の略5倍である。
The seismic isolation device 40 is located in a part of the existing pillars 12, here, directly under the existing pillars 12 </ b> A, and is not provided directly under the remaining existing pillars 12. Therefore, the foundation beam 13 supports the remaining existing pillar 12 as a hill pillar.
Thereby, although the space | interval of seismic isolation devices 40 is a space | interval which can install the attenuation | damping apparatus 48, here is about 5 times the diameter of the laminated rubber 42 of a seismic isolation device.

耐圧盤20は、鉄筋コンクリート造であり、複数の既存杭11の杭頭部の一部が撤去されて、これら複数の既存杭11の残る杭頭部に跨がって構築されている。
既存杭11の残る杭頭部と耐圧盤20とは、機械的には接合されていない状態である。
また、この耐圧盤20の上面のうち免震装置40が設置される部分には、鉄筋コンクリート造の下側免震基礎21が構築されている。
The pressure platen 20 is made of reinforced concrete, and a part of the pile heads of the plurality of existing piles 11 is removed, and is built across the pile heads where the plurality of existing piles 11 remain.
The pile head where the existing pile 11 remains and the pressure platen 20 are not mechanically joined.
Moreover, the lower seismic isolation foundation 21 of the reinforced concrete structure is constructed | assembled in the part in which the seismic isolation apparatus 40 is installed among the upper surfaces of this pressure-resistant board 20.

基礎補強梁30は、既存の基礎梁13の両側面および下面に接合された長尺材であり、既存の基礎梁13に沿って延びて、この既存の基礎梁13を補強するものである。この基礎補強梁30は、鉄筋コンクリート造であり、既存の基礎梁13の両側面および下面を覆う断面凹形状である。
既存の基礎梁13の両側面および下面には、アンカー17が打設されており、これにより、基礎補強梁30と既存の基礎梁13とは、強固に一体化されている。
The foundation reinforcing beam 30 is a long material joined to both side surfaces and the lower surface of the existing foundation beam 13, and extends along the existing foundation beam 13 to reinforce the existing foundation beam 13. The foundation reinforcing beam 30 is made of reinforced concrete and has a concave cross-sectional shape that covers both side surfaces and the lower surface of the existing foundation beam 13.
Anchors 17 are provided on both side surfaces and the lower surface of the existing foundation beam 13, whereby the foundation reinforcing beam 30 and the existing foundation beam 13 are firmly integrated.

この基礎補強梁30の上面と既存床スラブ15とは、当接しているが、機械的には接合されていない状態である。
また、基礎補強梁30の下面のうち免震装置40が設置される部分には、鉄筋コンクリート造の上側免震基礎31が構築されている。
The upper surface of the foundation reinforcing beam 30 and the existing floor slab 15 are in contact with each other, but are not mechanically joined.
In addition, an upper seismic isolation base 31 made of reinforced concrete is constructed in a portion of the lower surface of the foundation reinforcing beam 30 where the seismic isolation device 40 is installed.

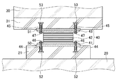
図6は、免震装置40の縦断面図である。
免震装置40は、下側フランジ41と、この下側フランジ41の上に設けられた積層ゴム42と、この積層ゴム42の上に設けられた上側フランジ43と、を備える。
積層ゴム42は、鋼板とゴムとが交互に積層されたものである。この積層ゴム42の直径は、既存柱12の外径よりも大きくなっている。
上下のフランジ41、43には、周縁部に沿って所定間隔おきに、ボルトを挿通するためのボルト挿通孔44、45が設けられている。
FIG. 6 is a longitudinal sectional view of the seismic isolation device 40.
The seismic isolation device 40 includes a lower flange 41, a laminated rubber 42 provided on the lower flange 41, and an upper flange 43 provided on the laminated rubber 42.
The laminated rubber 42 is obtained by alternately laminating steel plates and rubber. The diameter of the laminated rubber 42 is larger than the outer diameter of the existing pillar 12.
The upper and lower flanges 41 and 43 are provided with bolt insertion holes 44 and 45 for inserting bolts at predetermined intervals along the peripheral edge.

下側免震基礎21の上面には、下側ベースプレート50が打ち込まれており、上側免震基礎31の下面には、上側ベースプレート51が打ち込まれている。
これらベースプレート50、51の周縁部には、円環状の所定間隔おきに、雌ねじ52、53が設けられている。
A lower base plate 50 is driven into the upper surface of the lower base isolation base 21, and an upper base plate 51 is driven into the lower surface of the upper base isolation base 31.
Female screws 52 and 53 are provided on the peripheral portions of these base plates 50 and 51 at predetermined annular intervals.

免震装置40の下側フランジ41は、下側ベースプレート50の上に載置される。この状態で、下側フランジ41のボルト挿通孔44にボルト46を挿通して、このボルト46を下側ベースプレート50の雌ねじ52に締め付けて固定する。これにより、免震装置40が下側免震基礎21に接合される。   The lower flange 41 of the seismic isolation device 40 is placed on the lower base plate 50. In this state, the bolt 46 is inserted into the bolt insertion hole 44 of the lower flange 41, and the bolt 46 is fastened and fixed to the female screw 52 of the lower base plate 50. Thereby, the seismic isolation device 40 is joined to the lower seismic isolation base 21.

また、免震装置40の上側フランジ43は、上側ベースプレート51に当接して配置される。この状態で、上側フランジ43のボルト挿通孔45にボルト47を挿通して、このボルト47を上側ベースプレート51の雌ねじ53に締め付けて固定する。これにより、免震装置40が上側免震基礎31に接合される。   Further, the upper flange 43 of the seismic isolation device 40 is disposed in contact with the upper base plate 51. In this state, the bolt 47 is inserted into the bolt insertion hole 45 of the upper flange 43, and the bolt 47 is fastened and fixed to the female screw 53 of the upper base plate 51. Thereby, the seismic isolation device 40 is joined to the upper seismic isolation base 31.

図7は、本発明の免震化方法のフローチャートである。
ステップS1では、図8に示すように、既存の基礎梁13の下を掘削する。この掘削により、既存杭11の杭頭部および既存耐圧盤16が露出する。
ステップS2では、図8に示すように、新設の耐圧盤20を構築する。
FIG. 7 is a flowchart of the seismic isolation method of the present invention.
In step S1, as shown in FIG. 8, the bottom of the existing foundation beam 13 is excavated. By this excavation, the pile head of the existing pile 11 and the existing pressure-resistant panel 16 are exposed.
In step S2, a new pressure-resistant panel 20 is constructed as shown in FIG.

ステップS3では、図9に示すように、既存の基礎梁13を基礎補強梁30として補強する。
具体的には、図5にも示すように、既存の基礎スラブ14および既存の基礎梁13のうち基礎補強梁30に接合される面には、目荒らし処理を施して、アンカー17を打設しておく。そして、基礎補強梁30として補強して、この基礎補強梁30と、既存の基礎スラブ14および既存の基礎梁13と、を一体化させる。この基礎補強梁30に設けられた梁主筋は、既存の基礎スラブ14に定着されている。
In step S <b> 3, as shown in FIG. 9, the existing foundation beam 13 is reinforced as a foundation reinforcement beam 30.
Specifically, as shown in FIG. 5, the surface of the existing foundation slab 14 and the existing foundation beam 13 to be joined to the foundation reinforcing beam 30 is subjected to a roughening process, and the anchor 17 is driven. Keep it. And it reinforces as the foundation reinforcement beam 30, This foundation reinforcement beam 30, and the existing foundation slab 14 and the existing foundation beam 13 are integrated. The beam reinforcement provided on the foundation reinforcing beam 30 is fixed to the existing foundation slab 14.

ステップS4では、図10に示すように、平面視で既存杭11の直上に、仮設支柱60を設置して、新設の耐圧盤20から基礎補強梁30を支持する。   In step S <b> 4, as shown in FIG. 10, a temporary support column 60 is installed immediately above the existing pile 11 in plan view, and the foundation reinforcing beam 30 is supported from the newly installed pressure platen 20.

ステップS5では、図10に示すように、既存杭11の杭頭部の一部、具体的には、既存杭11の杭頭部のうち新設の耐圧盤20よりも上側の部分を切断して、撤去する。これにより、基礎梁13から上の部分の荷重は、仮設支柱60を介して耐圧盤20に伝達される。
また、このとき、既存耐圧盤16を撤去するとともに、既存の基礎スラブ14の一部を撤去する。
In step S5, as shown in FIG. 10, a part of the pile head of the existing pile 11, specifically, a portion of the pile head of the existing pile 11 above the newly installed pressure platen 20 is cut. , Remove. Thereby, the load of the upper part from the foundation beam 13 is transmitted to the pressure | voltage resistant board 20 via the temporary support | pillar 60. FIG.
At this time, the existing pressure platen 16 is removed and a part of the existing foundation slab 14 is removed.

ステップS6では、図10に示すように、既存柱12Aの直下でかつ基礎補強梁30と新設の耐圧盤20との間に、免震装置40を設置する。具体的には、耐圧盤20の上面に下側免震基礎21を構築するとともに、基礎補強梁30の下面に上側免震基礎31を設けて、免震装置40を設置する。   In step S6, as shown in FIG. 10, the seismic isolation device 40 is installed immediately below the existing column 12A and between the foundation reinforcing beam 30 and the newly installed pressure platen 20. Specifically, the lower seismic isolation foundation 21 is constructed on the upper surface of the pressure platen 20, and the upper seismic isolation foundation 31 is provided on the lower surface of the foundation reinforcing beam 30, and the seismic isolation device 40 is installed.

ステップS7では、仮設支柱60を撤去する。これにより、既存の基礎梁13から上の部分の荷重は、免震装置40を介して、耐圧盤20に伝達される。   In step S7, the temporary support column 60 is removed. Thereby, the load of the upper part from the existing foundation beam 13 is transmitted to the pressure | voltage resistant board 20 via the seismic isolation apparatus 40. FIG.

本実施形態によれば、以下のような効果がある。
(1)既存の基礎梁13の下で杭頭部に跨がって耐圧盤20を構築し、さらに、既存の基礎梁13を基礎補強梁30で補強して、この基礎補強梁30と耐圧盤20との間に免震装置40を設けた。これにより、既存建物を免震化できる。
ここで、全ての既存柱12の直下には免震装置を設けず、一部の既存柱12Aの直下にのみ免震装置40を設けた。つまり、免震装置40を集約して配置した。これにより、免震装置40の設置台数を削減して、施工コストを低減できる。
According to this embodiment, there are the following effects.
(1) The pressure-resistant panel 20 is constructed across the pile head under the existing foundation beam 13, and the existing foundation beam 13 is reinforced with the foundation reinforcement beam 30, and the foundation reinforcement beam 30 and the pressure resistance A seismic isolation device 40 was provided between the board 20 and the base 20. As a result, the existing building can be seismically isolated.
Here, the seismic isolation device 40 is not provided immediately below all the existing columns 12, and the seismic isolation device 40 is provided only directly below some existing columns 12 </ b> A. That is, the seismic isolation devices 40 are arranged in a concentrated manner. Thereby, the number of installation of the seismic isolation apparatus 40 can be reduced, and construction cost can be reduced.

また、免震装置40を集約して配置することにより、基礎梁13は、残る既存柱12を丘立ち柱として支持することになる。
この基礎梁13は、基礎補強梁30を付加して断面を増大させ、基礎梁13のせん断耐力および曲げ剛性が増大させ、既存柱12の固定度(回転拘束度)を高めることで、既存柱12の直下に免震装置を設けない場合であっても、基礎梁13によって上部構造を支持できるから、支持スパンを大きくできる。
Moreover, the base beam 13 will support the remaining existing pillar 12 as a hill pillar by arrange | positioning the seismic isolation apparatus 40 collectively.
The foundation beam 13 is added with a foundation reinforcing beam 30 to increase the cross section, the shear strength and bending rigidity of the foundation beam 13 are increased, and the degree of fixation (rotational constraint) of the existing column 12 is increased. Even if the seismic isolation device is not provided directly below 12, the upper structure can be supported by the foundation beam 13, so that the support span can be increased.

(2)既存の基礎梁13を補強する基礎補強梁30を、既存の基礎梁13と免震装置40との間に配置して、双方を連結させる機能に限定させている。したがって、基礎補強梁30を設けても、基礎梁13のせん断抵抗機構が変化することはなく、簡易な接合構造でかつ既存の基礎梁13の耐力および剛性を変化させないことで、新たな構造設計は不要となるから、施工コストを削減できる。   (2) The foundation reinforcing beam 30 that reinforces the existing foundation beam 13 is arranged between the existing foundation beam 13 and the seismic isolation device 40, and is limited to the function of connecting both. Therefore, even if the foundation reinforcing beam 30 is provided, the shear resistance mechanism of the foundation beam 13 does not change, and a new structure design is achieved by a simple joint structure and without changing the proof stress and rigidity of the existing foundation beam 13. The construction cost can be reduced.

(3)既存杭11の杭頭部と耐圧盤20とを接合しないので、新たな構造設計が不要となり、施工コストを削減できる。   (3) Since the pile head of the existing pile 11 and the pressure | voltage resistant board 20 are not joined, a new structural design becomes unnecessary and construction cost can be reduced.

(4)軸径の大きい免震装置40を設置したので、せん断力を免震層で吸収でき、既存建物2に大きなせん断力が作用するのを防止できる。また、免震装置40の安定性が増すとともに、浮き上がりを防止できる。   (4) Since the seismic isolation device 40 having a large shaft diameter is installed, the shearing force can be absorbed by the seismic isolation layer, and it is possible to prevent the large shearing force from acting on the existing building 2. In addition, the stability of the seismic isolation device 40 is increased, and lifting can be prevented.

〔第2実施形態〕
図11は、本発明の第2実施形態に係る免震構造1Aの断面図である。
本実施形態では、基礎補強梁30Aの構造が、第1実施形態と異なる。
すなわち、基礎補強梁30Aは、H形鋼からなり、既存の基礎梁13の下面に沿って延びている。また、このH形鋼である基礎補強梁30Aには、上下のフランジおよびウエブに接合されるスチフナ32が設けられている。
本実施形態によれば、上述の(1)〜(4)と同様の効果がある。
[Second Embodiment]
FIG. 11 is a cross-sectional view of the seismic isolation structure 1A according to the second embodiment of the present invention.
In the present embodiment, the structure of the foundation reinforcing beam 30A is different from that of the first embodiment.
That is, the foundation reinforcing beam 30 </ b> A is made of an H-shaped steel and extends along the lower surface of the existing foundation beam 13. Further, a stiffener 32 joined to the upper and lower flanges and the web is provided on the foundation reinforcing beam 30A which is an H-shaped steel.
According to this embodiment, there are the same effects as the above-mentioned (1) to (4).

なお、本発明は前記実施形態に限定されるものではなく、本発明の目的を達成できる範囲での変形、改良等は本発明に含まれるものである。
例えば、第1実施形態では、基礎補強梁30を鉄筋コンクリート造とし、第2実施形態では、基礎補強梁30AをH形鋼としたが、これに限らず、基礎補強梁をポストテンション方式のプレストレストコンクリート造としてもよい。
It should be noted that the present invention is not limited to the above-described embodiment, and modifications, improvements, etc. within a scope that can achieve the object of the present invention are included in the present invention.
For example, in the first embodiment, the foundation reinforcing beam 30 is a reinforced concrete structure, and in the second embodiment, the foundation reinforcing beam 30A is an H-shaped steel. It may be made.

1、1A…免震構造
2…既存建物
10、10A…基礎
11…既存杭
12、12A…既存柱
13…既存の基礎梁
14…既存の基礎スラブ
15…既存床スラブ
16…既存耐圧盤
17…アンカー
20…新設の耐圧盤
21…下側免震基礎
30、30A…基礎補強梁
31…上側免震基礎
32…スチフナ
40…免震装置
41…下側フランジ
42…積層ゴム
43…上側フランジ
44、45…ボルト挿通孔
46、47…ボルト
50…下側ベースプレート
51…上側ベースプレート
52、53…雌ねじ
60…仮設支柱
DESCRIPTION OF SYMBOLS 1, 1A ... Seismic isolation structure 2 ... Existing building 10, 10A ... Foundation 11 ... Existing pile 12, 12A ... Existing pillar 13 ... Existing foundation beam 14 ... Existing foundation slab 15 ... Existing floor slab 16 ... Existing pressure slab 17 ... Anchor 20 ... New pressure-resistant panel 21 ... Lower seismic isolation base 30, 30A ... Foundation reinforcing beam 31 ... Upper seismic isolation foundation 32 ... Stiffener 40 ... Seismic isolation device 41 ... Lower flange 42 ... Laminated rubber 43 ... Upper flange 44, 45 ... Bolt insertion hole 46, 47 ... Bolt 50 ... Lower base plate 51 ... Upper base plate 52, 53 ... Female screw 60 ... Temporary support

Claims (4)

複数並んで設けられた既存杭と、当該複数の既存杭の上に設けられた最下階の複数の既存柱と、当該既存柱の柱脚部同士を連結する既存の基礎梁と、を備える既存建物を免震化する免震構造であって、
前記複数の既存杭の杭頭部の一部が撤去されて、当該複数の既存杭の残る杭頭部に跨がって構築された耐圧盤と、
前記既存の基礎梁を補強した基礎補強梁と、
前記複数の既存柱の少なくとも一部の直下でかつ前記基礎補強梁と前記耐圧盤との間に、減衰装置を設置可能な間隔を空けて設けられた免震装置と、を備えることを特徴とする免震構造。
A plurality of existing piles arranged side by side, a plurality of existing columns on the lowest floor provided on the plurality of existing piles, and an existing foundation beam that connects the column bases of the existing columns A seismic isolation structure for seismic isolation of existing buildings,
A part of the pile heads of the plurality of existing piles have been removed, and the pressure platen constructed across the pile heads of the plurality of existing piles,
A foundation reinforcing beam obtained by reinforcing the existing foundation beam;
A seismic isolation device provided immediately below at least a part of the plurality of existing columns and between the foundation reinforcing beam and the pressure platen, with a spacing capable of installing a damping device. Seismic isolation structure.
前記基礎補強梁は、前記免震装置に支持され、前記既存の基礎梁両側面および/または下面に接合された長尺部材であり、
当該長尺部材の内部に設けられた梁主筋は、既存の基礎スラブに定着されていることを特徴とする請求項1に記載の免震構造。
The foundation reinforcing beam is a long member supported by the seismic isolation device and joined to both side surfaces and / or the lower surface of the existing foundation beam,
The seismic isolation structure according to claim 1, wherein the main beam bars provided inside the long member are fixed to an existing foundation slab.
前記免震装置の軸径は、前記既存柱の外径よりも大きいことを特徴とする請求項1または2に記載の免震構造。   The seismic isolation structure according to claim 1 or 2, wherein an axis diameter of the seismic isolation device is larger than an outer diameter of the existing column. 複数並んで設けられた既存杭と、当該複数の既存杭の上に設けられた最下階の複数の既存柱と、当該既存柱の柱脚部同士を連結する既存の基礎梁と、を備える既存建物を免震化する方法であって、
前記複数の既存杭の杭頭部に跨がって耐圧盤を構築する工程と、
前記既存の基礎梁を基礎補強梁として補強する工程と、
前記耐圧盤から前記既存の基礎梁を仮支持して、当該複数の既存杭の一部を撤去する工程と、
前記複数の既存柱の少なくとも一部の直下でかつ前記基礎補強梁と前記耐圧盤との間に、減衰装置を設置可能な間隔を空けて免震装置を設ける工程と、を備えることを特徴とする免震化方法。
A plurality of existing piles arranged side by side, a plurality of existing columns on the lowest floor provided on the plurality of existing piles, and an existing foundation beam that connects the column bases of the existing columns A method for seismic isolation of an existing building,
Constructing a pressure-resistant panel across the pile heads of the plurality of existing piles;
Reinforcing the existing foundation beam as a foundation reinforcing beam;
Temporarily supporting the existing foundation beam from the pressure platen and removing a part of the plurality of existing piles;
A step of providing a seismic isolation device immediately below at least a part of the plurality of existing pillars and between the foundation reinforcing beam and the pressure platen, with an interval capable of installing a damping device. Seismic isolation method to do.
JP2014139218A 2014-07-05 2014-07-05 Seismic isolation structure and seismic isolation method Active JP6336835B2 (en)

Priority Applications (1)

Application Number Priority Date Filing Date Title
JP2014139218A JP6336835B2 (en) 2014-07-05 2014-07-05 Seismic isolation structure and seismic isolation method

Applications Claiming Priority (1)

Application Number Priority Date Filing Date Title
JP2014139218A JP6336835B2 (en) 2014-07-05 2014-07-05 Seismic isolation structure and seismic isolation method

Publications (2)

Publication Number Publication Date
JP2016017289A true JP2016017289A (en) 2016-02-01
JP6336835B2 JP6336835B2 (en) 2018-06-06

Family

ID=55232722

Family Applications (1)

Application Number Title Priority Date Filing Date
JP2014139218A Active JP6336835B2 (en) 2014-07-05 2014-07-05 Seismic isolation structure and seismic isolation method

Country Status (1)

Country Link
JP (1) JP6336835B2 (en)

Citations (4)

* Cited by examiner, † Cited by third party
Publication number Priority date Publication date Assignee Title
US4860507A (en) * 1988-07-15 1989-08-29 Garza Tamez Federico Structure stabilization system
JP2001241207A (en) * 2000-02-29 2001-09-04 Takenaka Komuten Co Ltd Seismic isolation method for structure and seismic isolation construction
JP2001317217A (en) * 2000-05-02 2001-11-16 Shimizu Corp Seismic isolation construction method under existing buildings
JP2006307589A (en) * 2005-05-02 2006-11-09 Taisei Corp Base structure of base-isolated building

Patent Citations (4)

* Cited by examiner, † Cited by third party
Publication number Priority date Publication date Assignee Title
US4860507A (en) * 1988-07-15 1989-08-29 Garza Tamez Federico Structure stabilization system
JP2001241207A (en) * 2000-02-29 2001-09-04 Takenaka Komuten Co Ltd Seismic isolation method for structure and seismic isolation construction
JP2001317217A (en) * 2000-05-02 2001-11-16 Shimizu Corp Seismic isolation construction method under existing buildings
JP2006307589A (en) * 2005-05-02 2006-11-09 Taisei Corp Base structure of base-isolated building

Also Published As

Publication number Publication date
JP6336835B2 (en) 2018-06-06

Similar Documents

Publication Publication Date Title
JP6648990B2 (en) Foundation structure
JP3780816B2 (en) Seismic isolation method for existing buildings
JP6368551B2 (en) Seismic isolation method for existing buildings
JP6357366B2 (en) Horizontal movement restraint method
JP6083788B2 (en) Temporary support method for foundation
JP6336835B2 (en) Seismic isolation structure and seismic isolation method
JP2016079651A (en) Support structure
JP6031626B1 (en) Replacing the seismic isolation device in the pile head seismic isolation structure
JP6334970B2 (en) Temporary support method for foundation
JP2016132948A (en) Connection structure
JP2006002428A (en) Reinforcement method for existing floors and seismic isolation method for existing buildings
JP6302222B2 (en) Horizontal force support structure and method for constructing horizontal force support structure
JP2013181322A (en) Reconstruction method of pile foundation and pile foundation structure
JP5023245B1 (en) Pile head seismic isolation structure
JP6087680B2 (en) Seismic isolation method for existing buildings
JP2006090078A (en) Base-isolated building and construction method for the same
JP4658005B2 (en) Seismic isolation method for existing buildings
JP7106305B2 (en) Structural columns and seismically isolated buildings
JP6708872B2 (en) Expanded pile Pile head seismic isolation structure
JP6832053B2 (en) Seismic retrofitting structure
JP2006022557A (en) Base isolating technique for existing building
JP2005264519A (en) Seismic isolation method for existing building and seismic isolation building
JP2013249708A (en) Base isolation method for existing building
JP2012046980A (en) Building foundation using earth retaining wall
JP6307293B2 (en) Horizontal force support member and horizontal force support structure

Legal Events

Date Code Title Description
A621 Written request for application examination

Free format text: JAPANESE INTERMEDIATE CODE: A621

Effective date: 20170418

A977 Report on retrieval

Free format text: JAPANESE INTERMEDIATE CODE: A971007

Effective date: 20180222

A131 Notification of reasons for refusal

Free format text: JAPANESE INTERMEDIATE CODE: A131

Effective date: 20180226

A521 Request for written amendment filed

Free format text: JAPANESE INTERMEDIATE CODE: A523

Effective date: 20180309

TRDD Decision of grant or rejection written
A01 Written decision to grant a patent or to grant a registration (utility model)

Free format text: JAPANESE INTERMEDIATE CODE: A01

Effective date: 20180423

A61 First payment of annual fees (during grant procedure)

Free format text: JAPANESE INTERMEDIATE CODE: A61

Effective date: 20180507

R150 Certificate of patent or registration of utility model

Ref document number: 6336835

Country of ref document: JP

Free format text: JAPANESE INTERMEDIATE CODE: R150

R250 Receipt of annual fees

Free format text: JAPANESE INTERMEDIATE CODE: R250

R250 Receipt of annual fees

Free format text: JAPANESE INTERMEDIATE CODE: R250