JP2015137690A - 多角形座金を有する親子フィラー - Google Patents

多角形座金を有する親子フィラー Download PDF

Info

Publication number
JP2015137690A
JP2015137690A JP2014008970A JP2014008970A JP2015137690A JP 2015137690 A JP2015137690 A JP 2015137690A JP 2014008970 A JP2014008970 A JP 2014008970A JP 2014008970 A JP2014008970 A JP 2014008970A JP 2015137690 A JP2015137690 A JP 2015137690A
Authority
JP
Japan
Prior art keywords
washer
child
parent
anchor bolt
base plate
Prior art date
Legal status (The legal status is an assumption and is not a legal conclusion. Google has not performed a legal analysis and makes no representation as to the accuracy of the status listed.)
Pending
Application number
JP2014008970A
Other languages
English (en)
Inventor
耕平 大沼
Kohei Onuma
耕平 大沼
吉雄 竹沢
Yoshio Takezawa
吉雄 竹沢
收二 村崎
Shuji Murasaki
收二 村崎
Current Assignee (The listed assignees may be inaccurate. Google has not performed a legal analysis and makes no representation or warranty as to the accuracy of the list.)
KOZO KOGAKU KENKYUSHO KK
Original Assignee
KOZO KOGAKU KENKYUSHO KK
Priority date (The priority date is an assumption and is not a legal conclusion. Google has not performed a legal analysis and makes no representation as to the accuracy of the date listed.)
Filing date
Publication date
Application filed by KOZO KOGAKU KENKYUSHO KK filed Critical KOZO KOGAKU KENKYUSHO KK
Priority to JP2014008970A priority Critical patent/JP2015137690A/ja
Publication of JP2015137690A publication Critical patent/JP2015137690A/ja
Pending legal-status Critical Current

Links

Images

Landscapes

  • Foundations (AREA)
  • Joining Of Building Structures In Genera (AREA)
  • Connection Of Plates (AREA)
  • Bolts, Nuts, And Washers (AREA)

Abstract

【課題】親子フィラーのフランジ部を多角形に形成したことにより、ベースプレートの位置決めを正確にすることができる多角形座金を有する親子フィラーを提供する。
【解決手段】ベースプレート2に形成されたアンカーボルト4のボルト孔3を覆い、アンカーボルト4が貫通する貫通孔6,8が偏心して形成され、ベースプレート2にアンカーボルト4とナット9とにより固定される多角形座金を有する親子フィラー1であって、ボルト孔3を覆うフランジ部11,13とボルト孔3に挿入されるスカート部12,14とが形成された親座金5と子座金7とを有し、親座金5のフランジ部11と子座金7のフランジ部13との形状が多角形であり、フランジ部11,13を回転させることにより、ベースプレート2の位置を調整することができる。
【選択図】図1

Description

本発明は、アンカーボルトを貫通し、ベースプレートに固定される多角形座金を有する親子フィラーに関する。
従来から、建築土木における構造体を接合するアンカーボルトは、基礎コンクリートに定着され、ベースプレートに形成された比較的大きな孔を貫通させ、ボルトの上端側に座金とナットを用いて基礎コンクリートとの接合に供されている。そして、ベースプレートに形成された孔径とアンカーボルトの径が大きく相違するため、孔内にベースモルタル等の積め物を充填して構造体からのせん断力のせん断抵抗を負担させていた。
特許文献1には、ベースプレートに形成されたアンカーボルト貫通孔に挿入するスカート部の上端にフランジ部を有する親座金と、この親座金の変心位置に形成した貫通孔に挿入されるスカート部とこのスカート部の上端にあるフランジ部とからなり、その変心位置に形成したアンカーボルト挿入孔とからなる子座金とからなる親子フィラーが開示されている。
両スカート部の下端面が、ベースプレートを設置する設置面に実質的に支持されることを特徴とする親子フィラーと、ベースプレートと設置面との間に間隙を設けて、親子フィラーを介して、アンカーボルトによりベースプレートを設置し、次に間隙に非圧縮性充填材を注入して、ペースプレート下面及び両スカートの下端面と設置面との間に充満させる。
特開2010−48408号公報
しかし、特許文献1に開示された技術では、ベースプレートが正確な位置に設置されていない場合、ベースプレートを正確な位置に動かすため、レッカーで吊った状態で合わせる方法があるが、吊った状態のため調整が難しく、建方作業に時間を要するという問題点があった。
また、ハンマーで叩いて移動させる方法では、軽微なベースプレートにしか対応できないという問題点があった。
さらに、シノを突っ込んでこじる方法では、アンカーボルトを痛めてしまうという問題点があった。
本発明は、前記課題を解決するためのものであり、その目的とするところは、親子フィラーのフランジ部を多角形に形成したことにより、ベースプレートの位置決めを正確にすることができる多角形座金を有する親子フィラーを提供することである。
かかる目的を達成するために、本発明は、以下の特徴を有する。
本発明に係る多角形座金を有する親子フィラーは、ベースプレートに形成されたアンカーボルトのボルト孔を覆い、前記アンカーボルトが貫通する貫通孔が偏心して形成され、前記ベースプレートに前記アンカーボルトとナットとにより固定される多角形座金を有する親子フィラーであって、前記ボルト孔を覆うフランジ部と前記ボルト孔に挿入されるスカート部とが形成された親座金と子座金とを有し、前記親座金のフランジ部と前記子座金のフランジ部との形状が多角形であり、前記フランジ部を回転させることにより、前記ベースプレートの位置を調整することができることを特徴とする。
本発明によれば、親子フィラーのフランジ部を多角形に形成したことにより、ベースプレートの位置決めを正確にすることができる。
本実施形態に係る親子フィラーを示す分解斜視図である。 本実施形態に係る親子フィラーがベースプレートに固定されたことを示す斜視図である。 本実施形態に係るアンカーボルトを示す上面図である。 本実施形態に係る親座金を示す図である。 本実施形態に係る子座金を示す図である。 本実施形態に係る親子フィラーを示す側面図である。 本実施形態に係る親子フィラーのスカート部を示す断面図である。 親座金と子座金とを回転させた場合、アンカーボルトの移動を示す図である。 親座金を回転させず、子座金のみを回転させた場合、アンカーボルトの移動を示す図である。 子座金を回転させず、親座金のみを回転させた場合、アンカーボルトの移動を示す図である。 本実施形態に係るベースプレート位置調整器具を示す上面図である。
以下、本実施形態について図面により詳細に説明する。
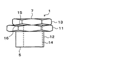
図1は、本実施形態に係る親子フィラー1を示す分解斜視図である。図2は、本実施形態に係る親子フィラー1がベースプレート2に固定されたことを示す斜視図である。
ベースプレート2に形成された孔3にアンカーボルト4が貫通し、アンカーボルト4は基礎コンクリートに定着されている。アンカーボルト4には、親座金5の貫通孔6と子座金7の貫通孔8とが貫通し、親子フィラー1はナット9でベースプレート2に固定される。
図3は、本実施形態に係るアンカーボルト4を示す上面図である。アンカーボルト4はベースプレート2に形成された孔3の中心に設置され、アンカーボルト4の直径はベースプレート2の孔3の直径より小さい。
図4は、本実施形態に係る親座金5を示す図であり、(a)は上面図、(b)は側面図である。図5は、本実施形態に係る子座金7を示す図であり、(a)は上面図、(b)は側面図である。
親座金5はフランジ部11とスカート部12とを有し、上部が六角形に形成されたフランジ部11であり、下部が円柱形のスカート部12である。フランジ部11の角部の上下面にテーパー15が形成されている。
スカート部12の直径はフランジ部11の長手方向の幅より小さい。親座金5には、アンカーボルト4が貫通する貫通孔6が偏心して形成されている。スカート部12は、ベースプレート2に形成された孔3に挿入される。
子座金7はフランジ部13とスカート部14とを有し、上部が六角形に形成されたフランジ部13であり、下部が円柱形のスカート部14である。フランジ部13の角部の上下面にテーパー16が形成されている。
スカート部14の直径はフランジ部13の長手方向の幅より小さい。子座金7には、アンカーボルト4が貫通する貫通孔8が偏心して形成されている。子座金7のフランジ部13は親座金5のフランジ部11より面積が小さい。なお、フランジ部11,13の形状は六角形に限定されず、多角形であればよい。
子座金7のスカート部14は、親座金5の貫通孔6に挿入される。ナット9は子座金7のフランジ部13より小さく、アンカーボルト4に螺合され、子座金7のフランジ部13の上面を固定する。
図6は、本実施形態に係る親子フィラー1を示す側面図である。従来技術では経年による発錆や、施工時のモルタル付着等で親座金5のフランジ部11と子座金7のフランジ部13とが固着した場合の取り外し機能がなく、リユースができないという問題があった。
しかし、本実施形態では、フランジ部11,13が六角形に形成されていることにより、経年によって固着したフランジ部11,13をスパナで回転させて緩めることが可能である。
また、フランジ部11,13の角部の上下面にテーパー15,16を形成して隙間を作り、工具が入り込むことができるようにし、マイナスドライバーなどを隙間に挿入することで親座金5と子座金7とを容易に取り外すことができる。
また、親座金5と子座金7とを一体化させ、フランジ部11,13に貫通孔6,8を偏心して形成したことにより、フランジ部11,13を小さくする効果がある。
さらに、親座金5の貫通孔6に子座金7のスカート部14を挿入することにより、フランジに曲げ応力を発生させず、せん断力で応力伝達を可能にし、フランジ部11,13の板厚を薄くすることができる。
図7は、本実施形態に係る親子フィラー1のスカート部12,14を示す断面図である。図7(a)は、親座金5と子座金7の両方をC形にした場合であり、回転力を掛けた時に開先部分で衝突し、有効な回転力が伝達できない。ベースプレート2に形成された孔3に親座金5のスカート部12が挿入され、親座金5の貫通孔6に子座金7のスカート部14が挿入される。アンカーボルト4は、子座金7の貫通孔8を貫通している。
図7(b)は、親座金5と子座金7の両方をO形にした場合であり、デットスペースが大きくなり、合理的でない。
図7(c)は親座金5をC形、子座金7をO形にした場合であり、親座金5の開先部に子座金7が入り込んでしまうため、回転力が上手く伝達できない。また、ルーズホールの加工で用いるガス、プラズマ、レーザーなどでは孔内部に溶断のバリが発生するため、このバリが親座金5に引っ掛かり回転性が損なわれるという不具合がある。
図7(d)は親座金5をO形、子座金7をC形にすることで、有効な回転が得られ、かつデットスペースもミニマムにする効果がある。図7(a)〜(c)の全ての問題を解決することができる。
親座金5と子座金7との貫通孔6,8が偏心して形成されているため、親座金5と子座金7が回転し、親座金5と子座金7との貫通孔6,8をアンカーボルト4に貫通させながら、親座金5のスカート部12をベースプレート2に形成された孔3に挿入することができる。
また、アンカーボルト4がベースプレート2に形成された孔3の中心からずれて設置された場合でも、親座金5と子座金7が回転し、親座金5と子座金7との貫通孔6,8をアンカーボルト4に貫通させながら、親座金5のスカート部12をベースプレート2に形成された孔3に挿入することができる。
図8は親座金5と子座金7とを回転させた場合、アンカーボルト4の移動を示す図である。2本のレンチを使い、親座金5と子座金7とを同時に逆方向に同角度量で回転させる。親座金5の位置は移動させず、子座金7とアンカーボルト4を移動させる場合を想定している。
図8(a)はアンカーボルト4が中心に位置している。図8(b)は親座金5を反時計回りに回転させ、子座金7を時計回りに回転させている。アンカーボルト4は右方向に移動している。図8(c)は親座金5を反時計回りに回転させ、子座金7を時計回りに回転させている。アンカーボルト4は右方向に移動している。
図8(d)は親座金5を反時計回りに回転させ、子座金7を時計回りに回転させている。アンカーボルト4は右方向に移動している。図8(a)の位置から親座金5と子座金7とを90°回転させた状態である。図8(e)は図8(a)〜(d)のアンカーボルト4の移動した位置を示し、アンカーボルト4は右方向に移動している。
図9は親座金5を回転させず、子座金7のみを回転させた場合、アンカーボルト4の移動を示す図である。1本のレンチを使い、子座金7を時計回りに回転させる。親座金5と子座金7との位置は移動させず、アンカーボルト4を移動させる場合を想定している。
図9(a)はアンカーボルト4が中心に位置している。図9(b)は子座金7を時計回りに回転させると、アンカーボルト4の中心は右下方向に移動している。図9(c)は子座金7を時計回りに回転させると、アンカーボルト4の中心は下方向に移動している。
図9(d)は子座金7を時計回りに回転させると、アンカーボルト4は左下方向に移動している。図9(a)の位置から子座金7を180°回転させた状態である。図9(e)は図9(a)〜(d)のアンカーボルト4の移動した位置を示し、アンカーボルト4は下方向に移動している。
図10は子座金7を回転させず、親座金5のみを回転させた場合、アンカーボルト4の移動を示す図である。1本のレンチを使い、親座金5を反時計回りに回転させる。親座金5の位置は移動させず、子座金7とアンカーボルト4とを移動させる場合を想定している。
図10(a)はアンカーボルト4が中心に位置している。図10(b)は親座金5を反時計回りに回転させると、アンカーボルト4の中心は右上方向に移動している。図10(c)は親座金5を反時計回りに回転させると、アンカーボルト4の中心は上方向に移動している。
図10(d)は親座金5を反時計回りに回転させると、アンカーボルト4は左上方向に移動している。図10(a)から親座金5を180°回転させた状態である。図10(e)は図10(a)〜(d)のアンカーボルト4の移動した位置を示し、アンカーボルト4は上方向に移動している。
このように、親座金5と子座金7の両方または一方を回転させることにより、アンカーボルト4を動かすことができる力が発生する。本実施形態では、アンカーボルト4が基礎コンクリートに固定されているので、親座金5と子座金7の両方または一方を回転させると、親座金5のスカート部12の側面がベースプレート2の孔3の側面を押す力が発生する。したがって、ベースプレート2を移動させることにより、ベースプレート2の位置決めをすることができる。
次に、ベースプレート位置調整器具について説明する。図11は、本実施形態に係るベースプレート位置調整器具21を示す上面図である。このベースプレート位置調整器具は、親座金5と子座金7を同時に逆方向に同角度量で回転させることができる。
図11(a)に示すように、ベースプレート位置調整器具21は、上下のアーム22,23を有し、上下アーム22,23の中心にはヒンジ24,25が設置されている。上下アーム22,23は、それぞれヒンジ24,25を支点にして開閉することができる。
上アーム22の先端は、上アーム22が子座金7のフランジ部13を固定できるように、六角形の形状の穴26が形成されている。下アーム23の先端は、下アーム23が親座金5のフランジ部を固定できるように、六角形の形状の穴27が形成されている。
上下アーム22,23の後端は、ヒンジ28で固定され、握り部29が取り付けられている。上下アーム22,23の後端は、それぞれヒンジ28を支点にして開閉することができる。
図11(b)に示すように、握り部29を握って前方向に押し出すことにより、上下アーム22,23の中心のヒンジを支点に上下アーム22,23がそれぞれ閉じられて、上下アーム22,23の後端はヒンジ28を支点に開いていくので、上下アーム22,23の先端に固定された子座金7のフランジ部13と親座金5のフランジ部11がそれぞれ反対方向に回転する。この時、親座金5のスカート部12の側面がベースプレート2に形成された孔3の側面を押す力が発生し、ベースプレート2は移動する。
さらに、図11(c)に示すように、握り部29を握って前方向に押し出すことにより、上下アーム22,23の中心のヒンジを支点に上下アーム22,23がそれぞれ閉じられて、上下アーム22,23の後端はヒンジ28を支点に開いていくので、上下アーム22,23の先端に固定された子座金7のフランジ部13と親座金5のフランジ部11がそれぞれ反対方向に回転する。この時、親座金5のスカート部12の側面がベースプレート2に形成された孔3の側面を押す力が発生し、ベースプレート2は移動する。
本実施形態によれば、親子フィラーのフランジ部を多角形に形成したことにより、ベースプレートの位置決めを正確にすることができる。
なお、上述した実施の形態は、本発明の好適な実施の形態の一例を示すものであり、本発明はそれに限定されることなく、その要旨を逸脱しない範囲内において、種々変形実施が可能である。
1 親子フィラー
2 ベースプレート
3 孔
4 アンカーボルト
5 親座金
6 貫通孔
7 子座金
9 ナット
11 フランジ部
12 スカート部
21 ベースプレート位置調整器具
22 上アーム
23 下アーム

Claims (4)

  1. ベースプレートに形成されたアンカーボルトのボルト孔を覆い、前記アンカーボルトが貫通する貫通孔が偏心して形成され、前記ベースプレートに前記アンカーボルトとナットとにより固定される多角形座金を有する親子フィラーであって、
    前記ボルト孔を覆うフランジ部と前記ボルト孔に挿入されるスカート部とが形成された親座金と子座金とを有し、
    前記親座金のフランジ部と前記子座金のフランジ部との形状が多角形であり、
    前記フランジ部を回転させることにより、前記ベースプレートの位置を調整することができることを特徴とする多角形座金を有する親子フィラー。
  2. 前記フランジ部は、多角形の角部の上下面にテーパーが形成され、
    前記親座金および前記子座金は、前記テーパーの隙間に工具を挿入することにより、取り外されることを特徴とする請求項1記載の多角形座金を有する親子フィラー。
  3. 前記親座金のスカート部はO形に形成され、前記子座金のスカート部はC形に形成されたことを特徴とする請求項1または2記載の多角形座金を有する親子フィラー。
  4. 前記フランジ部は、先端に多角形の穴が形成された器具の前記穴に嵌められ、回転されることを特徴とする請求項1から3のいずれか1項に記載の多角形座金を有する親子フィラー。
JP2014008970A 2014-01-21 2014-01-21 多角形座金を有する親子フィラー Pending JP2015137690A (ja)

Priority Applications (1)

Application Number Priority Date Filing Date Title
JP2014008970A JP2015137690A (ja) 2014-01-21 2014-01-21 多角形座金を有する親子フィラー

Applications Claiming Priority (1)

Application Number Priority Date Filing Date Title
JP2014008970A JP2015137690A (ja) 2014-01-21 2014-01-21 多角形座金を有する親子フィラー

Publications (1)

Publication Number Publication Date
JP2015137690A true JP2015137690A (ja) 2015-07-30

Family

ID=53768834

Family Applications (1)

Application Number Title Priority Date Filing Date
JP2014008970A Pending JP2015137690A (ja) 2014-01-21 2014-01-21 多角形座金を有する親子フィラー

Country Status (1)

Country Link
JP (1) JP2015137690A (ja)

Cited By (2)

* Cited by examiner, † Cited by third party
Publication number Priority date Publication date Assignee Title
JP2017218796A (ja) * 2016-06-08 2017-12-14 東日本旅客鉄道株式会社 固定器具及び構造体の施工方法
JP7785268B1 (ja) * 2024-07-22 2025-12-15 株式会社構造工学研究所 入れ子座金の装着方法及び入れ子座金

Citations (3)

* Cited by examiner, † Cited by third party
Publication number Priority date Publication date Assignee Title
JPS5926107U (ja) * 1982-08-10 1984-02-18 株式会社日本アルミ 建物下地材の位置調整具
JP2006064064A (ja) * 2004-08-26 2006-03-09 Nippon Pop Rivets & Fasteners Ltd 連結装置
JP2012193850A (ja) * 2012-04-18 2012-10-11 Fuso Kiko Kk ベースプレート設置構造とその施工方法

Patent Citations (3)

* Cited by examiner, † Cited by third party
Publication number Priority date Publication date Assignee Title
JPS5926107U (ja) * 1982-08-10 1984-02-18 株式会社日本アルミ 建物下地材の位置調整具
JP2006064064A (ja) * 2004-08-26 2006-03-09 Nippon Pop Rivets & Fasteners Ltd 連結装置
JP2012193850A (ja) * 2012-04-18 2012-10-11 Fuso Kiko Kk ベースプレート設置構造とその施工方法

Cited By (2)

* Cited by examiner, † Cited by third party
Publication number Priority date Publication date Assignee Title
JP2017218796A (ja) * 2016-06-08 2017-12-14 東日本旅客鉄道株式会社 固定器具及び構造体の施工方法
JP7785268B1 (ja) * 2024-07-22 2025-12-15 株式会社構造工学研究所 入れ子座金の装着方法及び入れ子座金

Similar Documents

Publication Publication Date Title
EP2792804B1 (de) Ankervorrichtung für eine Betondecke, Betondecke und Installationsverfahren
US9694478B1 (en) Blind bolt and tool combination
CN106662132B (zh) 地脚螺栓
JP2015137690A (ja) 多角形座金を有する親子フィラー
JP6338093B2 (ja) 柱梁接合構造
US20210071800A1 (en) Press seal with an elastomer body and a tensioning bolt
KR20160071137A (ko) 스틸박스거더 연결구조
JP4949180B2 (ja) 締結具
CN108290277B (zh) 用于拧紧螺纹紧固件的设备
JP2009062775A (ja) 木造建築構造材の接合・固定方法
JP2001355287A (ja) 木造建造物の構造部材の接合構造及びその接合方法
JP6108255B1 (ja) タイル剥離装置
JP2017515058A (ja) 固定方法
JP6425670B2 (ja) 枠構造体、および枠構造体組立方法
JP2014095248A (ja) 挿入定着部材の取付け用治具
JP6074312B2 (ja) 楔金具の装着具及び楔金具の装着方法
JP6373646B2 (ja) 柱脚金物
JP2012041722A (ja) 足場固定具
JP2014145154A (ja) 後施工曲折アンカーボルトとその施工方法
JP2014020120A (ja) アンカー筋及びこれを用いたスラブ接合構造
KR20060068283A (ko) 폐단면 내에서 체결이 가능한 스터드 볼트 체결 구조
JP2004132518A (ja) 固定具
KR20160093941A (ko) 앵커볼트 시공용 공구
JP3131604U (ja) 建物用筋交い
JP2006016807A (ja) ドリフトピンの打込み方法、木材接合構造及びドリフトピン

Legal Events

Date Code Title Description
A621 Written request for application examination

Free format text: JAPANESE INTERMEDIATE CODE: A621

Effective date: 20161215

RD04 Notification of resignation of power of attorney

Free format text: JAPANESE INTERMEDIATE CODE: A7424

Effective date: 20170130

RD02 Notification of acceptance of power of attorney

Free format text: JAPANESE INTERMEDIATE CODE: A7422

Effective date: 20170203

A977 Report on retrieval

Free format text: JAPANESE INTERMEDIATE CODE: A971007

Effective date: 20170830

A131 Notification of reasons for refusal

Free format text: JAPANESE INTERMEDIATE CODE: A131

Effective date: 20170907

A02 Decision of refusal

Free format text: JAPANESE INTERMEDIATE CODE: A02

Effective date: 20180329