JP2015114643A - 液晶表示装置 - Google Patents

液晶表示装置 Download PDF

Info

Publication number
JP2015114643A
JP2015114643A JP2013258959A JP2013258959A JP2015114643A JP 2015114643 A JP2015114643 A JP 2015114643A JP 2013258959 A JP2013258959 A JP 2013258959A JP 2013258959 A JP2013258959 A JP 2013258959A JP 2015114643 A JP2015114643 A JP 2015114643A
Authority
JP
Japan
Prior art keywords
liquid crystal
crystal display
display panel
light source
source device
Prior art date
Legal status (The legal status is an assumption and is not a legal conclusion. Google has not performed a legal analysis and makes no representation as to the accuracy of the status listed.)
Pending
Application number
JP2013258959A
Other languages
English (en)
Inventor
誠司 浅田
Seiji Asada
誠司 浅田
Current Assignee (The listed assignees may be inaccurate. Google has not performed a legal analysis and makes no representation or warranty as to the accuracy of the list.)
Japan Display Inc
Original Assignee
Japan Display Inc
Priority date (The priority date is an assumption and is not a legal conclusion. Google has not performed a legal analysis and makes no representation as to the accuracy of the date listed.)
Filing date
Publication date
Application filed by Japan Display Inc filed Critical Japan Display Inc
Priority to JP2013258959A priority Critical patent/JP2015114643A/ja
Priority to US14/570,168 priority patent/US20150168784A1/en
Publication of JP2015114643A publication Critical patent/JP2015114643A/ja
Pending legal-status Critical Current

Links

Images

Classifications

    • GPHYSICS
    • G02OPTICS
    • G02FOPTICAL DEVICES OR ARRANGEMENTS FOR THE CONTROL OF LIGHT BY MODIFICATION OF THE OPTICAL PROPERTIES OF THE MEDIA OF THE ELEMENTS INVOLVED THEREIN; NON-LINEAR OPTICS; FREQUENCY-CHANGING OF LIGHT; OPTICAL LOGIC ELEMENTS; OPTICAL ANALOGUE/DIGITAL CONVERTERS
    • G02F1/00Devices or arrangements for the control of the intensity, colour, phase, polarisation or direction of light arriving from an independent light source, e.g. switching, gating or modulating; Non-linear optics
    • G02F1/01Devices or arrangements for the control of the intensity, colour, phase, polarisation or direction of light arriving from an independent light source, e.g. switching, gating or modulating; Non-linear optics for the control of the intensity, phase, polarisation or colour 
    • G02F1/13Devices or arrangements for the control of the intensity, colour, phase, polarisation or direction of light arriving from an independent light source, e.g. switching, gating or modulating; Non-linear optics for the control of the intensity, phase, polarisation or colour  based on liquid crystals, e.g. single liquid crystal display cells
    • G02F1/133Constructional arrangements; Operation of liquid crystal cells; Circuit arrangements
    • G02F1/1333Constructional arrangements; Manufacturing methods
    • G02F1/1335Structural association of cells with optical devices, e.g. polarisers or reflectors
    • G02F1/1336Illuminating devices
    • G02F1/133602Direct backlight
    • G02F1/133608Direct backlight including particular frames or supporting means
    • GPHYSICS
    • G02OPTICS
    • G02FOPTICAL DEVICES OR ARRANGEMENTS FOR THE CONTROL OF LIGHT BY MODIFICATION OF THE OPTICAL PROPERTIES OF THE MEDIA OF THE ELEMENTS INVOLVED THEREIN; NON-LINEAR OPTICS; FREQUENCY-CHANGING OF LIGHT; OPTICAL LOGIC ELEMENTS; OPTICAL ANALOGUE/DIGITAL CONVERTERS
    • G02F1/00Devices or arrangements for the control of the intensity, colour, phase, polarisation or direction of light arriving from an independent light source, e.g. switching, gating or modulating; Non-linear optics
    • G02F1/01Devices or arrangements for the control of the intensity, colour, phase, polarisation or direction of light arriving from an independent light source, e.g. switching, gating or modulating; Non-linear optics for the control of the intensity, phase, polarisation or colour 
    • G02F1/13Devices or arrangements for the control of the intensity, colour, phase, polarisation or direction of light arriving from an independent light source, e.g. switching, gating or modulating; Non-linear optics for the control of the intensity, phase, polarisation or colour  based on liquid crystals, e.g. single liquid crystal display cells
    • G02F1/133Constructional arrangements; Operation of liquid crystal cells; Circuit arrangements
    • G02F1/1333Constructional arrangements; Manufacturing methods
    • G02F1/1335Structural association of cells with optical devices, e.g. polarisers or reflectors
    • G02F1/133504Diffusing, scattering, diffracting elements
    • GPHYSICS
    • G02OPTICS
    • G02FOPTICAL DEVICES OR ARRANGEMENTS FOR THE CONTROL OF LIGHT BY MODIFICATION OF THE OPTICAL PROPERTIES OF THE MEDIA OF THE ELEMENTS INVOLVED THEREIN; NON-LINEAR OPTICS; FREQUENCY-CHANGING OF LIGHT; OPTICAL LOGIC ELEMENTS; OPTICAL ANALOGUE/DIGITAL CONVERTERS
    • G02F1/00Devices or arrangements for the control of the intensity, colour, phase, polarisation or direction of light arriving from an independent light source, e.g. switching, gating or modulating; Non-linear optics
    • G02F1/01Devices or arrangements for the control of the intensity, colour, phase, polarisation or direction of light arriving from an independent light source, e.g. switching, gating or modulating; Non-linear optics for the control of the intensity, phase, polarisation or colour 
    • G02F1/13Devices or arrangements for the control of the intensity, colour, phase, polarisation or direction of light arriving from an independent light source, e.g. switching, gating or modulating; Non-linear optics for the control of the intensity, phase, polarisation or colour  based on liquid crystals, e.g. single liquid crystal display cells
    • G02F1/133Constructional arrangements; Operation of liquid crystal cells; Circuit arrangements
    • G02F1/1333Constructional arrangements; Manufacturing methods
    • G02F1/1335Structural association of cells with optical devices, e.g. polarisers or reflectors
    • G02F1/133528Polarisers
    • G02F1/133536Reflective polarizers

Landscapes

  • Physics & Mathematics (AREA)
  • Nonlinear Science (AREA)
  • Mathematical Physics (AREA)
  • Chemical & Material Sciences (AREA)
  • Crystallography & Structural Chemistry (AREA)
  • General Physics & Mathematics (AREA)
  • Optics & Photonics (AREA)
  • Liquid Crystal (AREA)
  • Planar Illumination Modules (AREA)

Abstract

【課題】 液晶表示パネルを湾曲形成し、この液晶表示パネルに平面光源装置からの光を投射させて画像表示を行う場合に、効率よく輝度を向上させることが難しかったが、輝度ムラや輝度の低下を抑制可能な液晶表示装置を提供する。
【解決手段】 湾曲面状に形成された液晶表示パネル13の表示領域12面を平面光源装置14に対して離間する方向に曲面状に配置するとともに、液晶表示パネル13と平面光源装置14との間に偏光反射部材15を配置する。
【選択図】 図2

Description

本発明は、表示面が湾曲した液晶表示パネルと平面型の平面光源装置を備えた液晶表示装置に関する。
現在、液晶表示装置は、薄型軽量化や低消費電力などの点から、カラーテレビやパーソナルコンピュータ及び映像表示用モニターや携帯電話などに広く採用されている。このような液晶表示装置においては、液晶表示パネルと、この液晶表示パネルの裏面側に配置した面光源装置との組合せで構成されており、液晶表示パネルにて面光源装置から投射される光を透過もしくは遮断することにより、液晶表示パネルの表示面に画像を表示させている。
このような液晶表示装置では、一般的には表示面が平面状の液晶表示パネルが使用されているが、近年では多用途向けとして表示面が湾曲された液晶表示パネルが開発されている。この湾曲した液晶表示パネルには、同様に湾曲した面光源装置が組み合わされて使用されるが、液晶表示パネルのみを湾曲形成させておいて、この液晶表示パネルと面光源装置を平面状に形成した平面光源装置とを組み合わせた液晶表示装置が特許文献1や特許文献2に記載されている。
特開2010−217702号公報 特開2004−46254号公報
このように湾曲形成された液晶表示パネルと平面光源装置とを単に組み合わせて使用すると輝度斑が発生するために、液晶表示パネルと平面光源装置との間に拡散板を介在させることが想定されるが、液晶表示パネルと平面光源装置との間に拡散板を介在させることにより、平面光源装置の正面から液晶表示パネルに入射した光が拡散板によって上下左右に拡散されてしまい、輝度斑の改善には寄与する反面、正面輝度が低下するという問題がある。
実施形態の解決しようとする課題は、湾曲された液晶表示パネルと平面状の平面光源装置とを組み合わせて使用する際に、輝度斑を改善させつつ正面輝度の低下を改善させることが可能な液晶表示装置を提供することにある。
実施形態の液晶表示装置は、少なくとも表示領域部分を曲面状に形成された液晶表示パネルと、この液晶表示パネルの裏面から光を出射する平面光源装置と、を備える液晶表示装置において、前記液晶表示パネルの表示面を前記平面光源装置に対して離間する方向に曲面状に配置されるとともに、前記液晶表示パネルと前記平面光源装置との間に偏光反射部材が配置されている液晶表示装置である
実施形態の液晶表示装置を模式的に示す分解斜視図である。 実施形態の液晶表示装置を示す断面図である。 実施形態の液晶表示装置を構成する反射偏光部材の構成を模式的に示す断面図である。 実施形態の液晶表示装置の平面光源装置から液晶表示装置に入射される光の進行状態を説明するための説明図である。 実施形態の偏光反射部材の設定角度を変更させた場合の光の進行状態を説明するための説明図である。 実施形態の液晶表示装置を構成する平面光源装置の他の構成例を示す断面図である。
以下、図面を参照して実施形態に係る液晶表示装置について詳細に説明する。
実施形態の液晶表示装置として、表示領域が平面光源装置に対して外側方向(視認側)に突出する湾曲面を有する液晶表示パネルと平面状の平面光源装置とを組み合わせた液晶表示装置について説明する。
この液晶表示装置は、図1に示すように、周辺に額縁領域11が形成され、この額縁領域11によって囲まれた表示領域12を有し、表示領域12が正面外側方向(視認方向側)に突状に湾曲している液晶表示パネル13を有し、液晶表示パネル13の背面(反視認側)側には平面光源装置(バックライト)14が配置されている。そして、これら液晶表示パネル13と平面光源装置14との間には、偏光反射部材15が介在されている。
なお、図中で液晶表示パネル13と偏光反射部材15に描かれている湾曲した実線は、夫々液晶表示パネル13と偏光反射部材15とが長軸及び短軸の両方の実線方向に湾曲していることを示しているものであり、長軸あるいは短軸のいずれか一方の方向にのみ湾曲した構成とすることも可能である。
この液晶表示パネル13は、ガラス材や合成樹脂材などの可撓性材料から構成される透明絶縁基板16の主面上に、酸化インジウムスズ(ITO)などからなる表示画素17を構成する透明画素電極18がマトリクス状に配置されている。また、これら画素電極18の行方向には複数の走査線19が、画素電極18の列方向には複数本の信号線20が配設されている。
この画素電極18に対応して走査線19及び信号線20の交差位置近傍には、スイッチング素子として複数のTFT21を有している。このTFT21は、画素電極18の行に沿って形成される走査線19とゲート電極が接続され、また画素電極18の列に沿って形成される信号線20にソース電極もしくはドレイン電極が接続されており、走査線駆動回路(図示せず)から走査線19を介して供給される駆動電圧によってTFT21が導通し、信号線駆動回路(図示せず)からの信号線20を通して供給される信号電圧をTFT21のソース・ドレイン通路を通して画素電極18に印加するように動作する。
さらに、この画素電極18には、保持容量22の一方端が並列に接続されており、この保持容量22の他方端は共通電極23と接続、あるいは補助容量線または前後段の走査線に接続されており、画素電極18と共通電極23との間に液晶層24が配置されている。これらTFT21や画素電極18、走査線19や信号線20などの駆動線の上面には、さらにポリイミドなどから構成される配向膜(図示せず)が設けられてアレイ基板25が構成されている。
また、このアレイ基板25と対向する対向基板26は、同様にガラス材や合成樹脂材などの可撓性材料から構成される透明絶縁基板27と、この透明絶縁基板27のアレイ基板25と対向する主面上には、その周辺部分に黒色の遮光膜(図示せず)が設けられるとともに、ITOなどから構成される透明共通電極23が設けられ、この共通電極23の上面には、さらにポリイミドなどからなる配向膜(図示せず)が設けられている。
この遮光膜に囲まれた絶縁基板27部分には,アクリル材などから構成される三原色カラーフィルタ(図示せず)、並びに配線間の隙間からの漏光を遮断するためのブラックマトリクス(図示せず)が設けられて対向基板26を構成している。なお、カラーフィルタはアレイ基板25側に形成することも可能である。
このアレイ基板25と対向基板26は,所定の間隙を持って対向配置されるとともにシール材(図示せず)を介して貼り合わされており、この間隙部には液晶部材が封止されて液晶層24を形成している。この液晶層24の厚さは、アレイ基板25と対向基板26間に介在されるスペーサ(図示せず)によって規定されて、湾曲された表示領域12を有する液晶表示パネル13が構成されている。
一方、アレイ基板25側の裏面には、偏光層(DBEF:Dual Brightness Enhanced Film)31を拡散フィルム層32、33によって挟み込んだシート状の偏光反射部材15が配置されている。この偏光層31は薄く形成されるために、偏光層31の両面側から拡散フィルム層32,33によってサンドイッチ状に挟むことで偏光層31を補強するとともに、傷付きを抑制することが可能となる。
また、拡散フィルム層32,33を使用することによって、拡散によって視角の差を低減し視野角を広くすることが可能となるばかりでなく、ギラギラ感が出てしまう表示を抑制することも可能で、さらに輝度ムラの改善も図ることが可能となる。
この偏光反射部材15の液晶表示パネル13とは反対側となる裏面側には、平面状の平面光源装置14が配置されている。
この平面光源装置14は、図2及び図6に示すように、LED及びリフレクタなどからなる光源41からの光を導入して面状の光として出射する平板状に構成された導光板42と、この導光板42の出射面側に順次配置された拡散シート43、レンズシート44などの光学シート45を備えている。光学シート45として、拡散シート43及びレンズシート44の2枚のシートで構成しているが、その順番を入れ替えたり、いずれかのシートを省略することも可能であり、また、更に偏光シートなどの別のシートを追加することも可能であって、その種類や構成には特に限定はされない。平面光源装置14としては、このような導光板42を使用した形態以外にも、LEDを平面状に多数並列に配置した構成や、EL素子からなる平面光源装置14として形成することも可能であり、平面光源装置14としての構成には制限を受けない。
一方、導光板42の非出射面側には反射シート46(図6参照)が配置されており、これら反射シート46、導光板42及び光学シート45、光源41などは一括して箱状のバックケース47内に収納され、これら発光構成部材をバックケース47内に固定保持するためのフロントケース48がバックケース47の開放面側から嵌合されており、フロントケース48の中央部分は開口49として発光された光を偏光反射部材15を通して液晶表示パネル13側に通過させるように構成されている。
この反射シート46を、図6に示すように、導光板42の底面部分のみならず、光源41を除く導光板42の各側面にまで配置することにより、光の利用効率を更に向上させることが可能となる。
このフロントケース48の液晶表示パネル13面側、即ち開口49縁部の外表面は、湾曲状に形成されている液晶表示パネル13の曲面形状に沿うように湾曲形成されている。このフロントケース48は、内側ではバックケース47を保持することから、開口49縁部は、その内側面側がフロントケース48側面と略直角となるように形成し、開口49縁部の外側面側が湾曲するように合成樹脂などの材料で一体に形成することで容易に形成することが可能である。
しかしながら、この一体成形にて形成する代わりに、フロントケース48の開口49縁部の肉厚が一定となるように形成しておいて、この開口49縁部の外側に別体として形成される湾曲面を有する枠体(図示せず)を被せる、あるいは接着などの方法にて一体化させて曲面を有する開口49縁部として構成することも可能である。
この開口49縁部の外面、即ち液晶表示パネル13側の面上には、偏光反射部材15が両面接着テープ50などにて取着されている。この偏光反射部材15全体は曲面を有する液晶表示パネル13の曲面に沿うような曲面をもって形成されている。従って、シート状に成形加工されていることが使用上で利便性があるものと考えられる。
この偏光反射部材15は、図1にて液晶表示装置の概要を説明した際にも説明を行っているが、より詳細には図3に示すように構成されている。
即ち、樹脂層34に反射粒子35を混入した材料をPETフィルムなどの基材36に塗布して形成した偏光層(DBEF)(31)を中心に、その両面側を拡散フィルム層32,33にて挟み込んだ構成として形成されている。この反射粒子35は偏光軸と同じ方向(平行)の光、例えばP偏光を通過させ、その偏光軸と異なる方向の光、例えばS偏光に対しては反射させるような材料から形成されている。ここで反射された光は、光学シート45、導光板42方向に戻されて各部材の反射、あるいは反射シート46によって反射され、再度偏光反射部材15に到達して透過、または反射の動作を繰り返すことにより光効率の改善が図られる。
ここでの説明では、基材36を使用することで偏光層31を形成するように説明しているが、基材36を省略して拡散フィルム層32または33のフィルム面に直接塗布して形成するように構成することも可能である。
このように偏光反射部材15を構成することによって、傷に弱い偏光層31は拡散フィルム層32,33によって保護されると同時に機械的にも補強することが可能となり、また広視野角化も可能でしかも輝度ムラの改善も図ることが可能である。また、視角の差を低減しギラツキ感を抑制した表示を可能とし得るものである。
この偏光反射部材15は、同様な曲面を備えた保持ケース51によってフロントケース48の開口49縁部外面上に位置固定される。この保持ケース51はフロントケース48の側板52に沿う側板53と、この側板53の一端液晶表示パネル13側の端部に形成した縁部54から構成されている。この縁部54は内外面が液晶表示パネル13の曲面とほぼ同じ曲面形状になるように形成されている。
即ち、フロントケース48の開口49縁部と保持ケース51の縁部54との間に偏光反射部材15を保持し、保持ケース51の縁部54外面上に液晶表示パネル13を両面接着テープ55などによって固定配置している。この結果、液晶表示パネル13の湾曲曲面と偏光反射部材15の湾曲曲面とは、ほぼ液晶表示パネル13の表示領域12部分と偏光反射部材15の光透過部分との間隔を一定にすることを可能としている。
なお、バックケース47とフロントケース48とは、一方に形成した鉤状部(図示せず)と、他方に形成した開口部(図示せず)との嵌合構造によって両者を一体化させる構成とすることができ、フロントケース48と保持ケース51とを同様に嵌合させる構成を採ることも可能である。
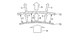
このような構成を採用することによって、図4に示すように、平面光源装置14から出射された光aは偏光反射部材15に入射されるが、拡散フィルム層32,33を備えているので、正面から入射した光aは偏光反射部材15の曲面に応じて夫々鉛直方向に光を出射させていくので、正面から入射した光aを湾曲形成された液晶表示パネル13方向に矢印b,cのように均等に放出させることが可能となる。
しかしながら、図5に示すように、液晶表示パネル13と偏光反射部材15との間隔l1が均等でないl2のような場合には、偏光反射部材15から出射された鉛直の光aは液晶表示パネル13に垂直に入射されずに光を減少させる結果となり、この現象が液晶表示パネル13全体として捉えた場合には、光の密の部分と粗の部分とが混在する結果となり、輝度ムラや輝度の低下を助長する原因となっている。
そこで、湾曲している液晶表示パネル13と偏光反射部材15との間隔を、l1=l2、もしくはl1≒l2として実質的に等しい間隔とすることで、換言すれば、液晶表示パネル13と偏光反射部材15との対向している面の曲率を等しく、あるいはほぼ等しくなるように実質的に等しく設定させることで、輝度ムラや輝度の低下を抑制することが可能となる。
この偏光反射部材15を液晶表示パネル13と同じ曲面形状とするために、偏光層(DBEF)31を拡散フィルム層32,33にて挟持させる構成を採っているので、光を均等に伝達させる効果の他にも湾曲形状を形成させる上で極めて有利な構成となっている。この結果として、光源装置として湾曲形成された液晶表示パネル13に対して平面状の平面光源装置14を適用させることが可能となり、光源装置を液晶表示パネル13と同様に湾曲させて構成することがないので、光源装置として簡略化させることが可能となり、従来の平面光源装置のフロントケース48部分を小修整するだけで、基本的な構成をそのまま流用することも可能となるなどの効果を発揮させることが可能となる。
また、この偏光反射部材15をフロントケース48と保持ケース51とで保持させている形態を採用した場合について説明してきたが、偏光反射部材15を直接液晶表示パネル13に両面接着テープ(図示せず)などによって固定化するように構成することも可能であり、この構成の場合には、液晶表示パネル13と偏光反射部材15との間隔を殆ど無視することができるので、より光の損失を軽減することが可能となる。
さらに、この構成を採る場合には、保持ケース51もしくはフロントケース48の何れか一方を省略し、他方の機能を兼用させる構成とすることによって、より簡略化された構成とすることが可能となる。
また、アレイ基板25や対向基板26の構成は、上記説明の構成以外のものでも適用が可能であり、その他、本発明の趣旨を逸脱しない範囲での追加や変更は適宜成し得るものである。
12…表示領域
13…液晶表示パネル
14…平面光源装置
15…偏光反射部材
31…偏光層
32,33…拡散フィルム層
34…樹脂層
35…反射粒子
46…反射シート

Claims (4)

  1. 少なくとも表示領域部分を曲面状に形成された液晶表示パネルと、
    この液晶表示パネルの裏面から光を出射する平面光源装置と、
    を備える液晶表示装置において、
    前記液晶表示パネルの表示面を前記平面光源装置に対して離間する方向に曲面状に配置されるとともに、
    前記液晶表示パネルと前記平面光源装置との間に偏光反射部材が配置されていることを特徴とする液晶表示装置。
  2. 前記液晶表示パネルと前記偏光反射部材との距離を、前記液晶表示パネルの表示領域部分内で実質的に等しく設定されていることを特徴とする請求項1記載の液晶表示装置。
  3. 前記偏光反射部材は、反射材を有する反射部材と、この反射部材を挟持する複数の拡散フィルム層からなることを特徴とする請求項1記載の液晶表示装置。
  4. 前記液晶表示パネルと前記偏光反射部材とが一体的に組み立てられていることを特徴とする請求項1記載の液晶表示装置。
JP2013258959A 2013-12-16 2013-12-16 液晶表示装置 Pending JP2015114643A (ja)

Priority Applications (2)

Application Number Priority Date Filing Date Title
JP2013258959A JP2015114643A (ja) 2013-12-16 2013-12-16 液晶表示装置
US14/570,168 US20150168784A1 (en) 2013-12-16 2014-12-15 Liquid crystal display device

Applications Claiming Priority (1)

Application Number Priority Date Filing Date Title
JP2013258959A JP2015114643A (ja) 2013-12-16 2013-12-16 液晶表示装置

Publications (1)

Publication Number Publication Date
JP2015114643A true JP2015114643A (ja) 2015-06-22

Family

ID=53368249

Family Applications (1)

Application Number Title Priority Date Filing Date
JP2013258959A Pending JP2015114643A (ja) 2013-12-16 2013-12-16 液晶表示装置

Country Status (2)

Country Link
US (1) US20150168784A1 (ja)
JP (1) JP2015114643A (ja)

Cited By (3)

* Cited by examiner, † Cited by third party
Publication number Priority date Publication date Assignee Title
WO2017107302A1 (zh) * 2015-12-23 2017-06-29 深圳市华星光电技术有限公司 曲面电视及其固定底座
JP2017142918A (ja) * 2016-02-08 2017-08-17 ミネベアミツミ株式会社 面状照明装置
JP2018137156A (ja) * 2017-02-22 2018-08-30 ミネベアミツミ株式会社 面状照明装置

Families Citing this family (3)

* Cited by examiner, † Cited by third party
Publication number Priority date Publication date Assignee Title
CN107329301B (zh) * 2016-04-29 2020-10-16 群创光电股份有限公司 显示装置
CN114415405B (zh) * 2021-12-21 2024-01-30 武汉华星光电技术有限公司 显示装置及其制作方法
TWI820976B (zh) * 2022-10-20 2023-11-01 達擎股份有限公司 顯示裝置

Family Cites Families (3)

* Cited by examiner, † Cited by third party
Publication number Priority date Publication date Assignee Title
KR100500715B1 (ko) * 1998-06-26 2005-07-12 미츠비시덴키 가부시키가이샤 액정표시장치 및 그 제조방법
US7572490B2 (en) * 2004-04-27 2009-08-11 Samsung Electronics Co., Ltd. Brightness enhancement film for liquid crystal display and manufacturing method thereof
JP5094250B2 (ja) * 2007-07-10 2012-12-12 株式会社ジャパンディスプレイイースト 表示装置

Cited By (3)

* Cited by examiner, † Cited by third party
Publication number Priority date Publication date Assignee Title
WO2017107302A1 (zh) * 2015-12-23 2017-06-29 深圳市华星光电技术有限公司 曲面电视及其固定底座
JP2017142918A (ja) * 2016-02-08 2017-08-17 ミネベアミツミ株式会社 面状照明装置
JP2018137156A (ja) * 2017-02-22 2018-08-30 ミネベアミツミ株式会社 面状照明装置

Also Published As

Publication number Publication date
US20150168784A1 (en) 2015-06-18

Similar Documents

Publication Publication Date Title
US10976582B2 (en) Display
CN107357063B (zh) 显示装置与包括该显示装置的拼接显示设备
US10180534B2 (en) Borderless display device including display module
JP5933509B2 (ja) 液晶表示装置
JP5775128B2 (ja) 液晶表示装置
KR102395088B1 (ko) 백라이트 유닛 및 이를 포함하는 액정 표시 장치
US20170127166A1 (en) Lighting device and display device
US20140043848A1 (en) Backlight device and display device including the same
CN103901642A (zh) 液晶显示装置
JP2015114643A (ja) 液晶表示装置
JP2016009686A (ja) 表示装置
US20170192292A1 (en) Display
JP5604342B2 (ja) 額縁被覆部材
JP2012150366A (ja) 導光部材およびそれを備えるマルチディスプレイ装置
KR102511041B1 (ko) 백라이트 유닛 및 그를 가지는 액정 표시 모듈
KR20120057388A (ko) 백라이트 유닛 및 이를 구비한 액정표시장치
JP5538267B2 (ja) システムフレーム
KR102167144B1 (ko) 액정 표시 장치
JP2014142379A (ja) 平面表示装置
KR102192474B1 (ko) 액정 표시 장치
KR102082679B1 (ko) 액정표시장치 및 그 제조방법
KR102230717B1 (ko) 가이드 패널과 이를 포함하는 백라이트 유닛
WO2012141084A1 (ja) 照明装置、表示装置、及びテレビ受信装置
JP5806908B2 (ja) 画像表示装置
KR102554719B1 (ko) 발광다이오드 어셈블리와 이를 포함하는 백라이트 유닛 및 이를 포함하는 액정표시장치