JP2015114139A - パラフィンブロック作成用トレイ - Google Patents

パラフィンブロック作成用トレイ Download PDF

Info

Publication number
JP2015114139A
JP2015114139A JP2013254655A JP2013254655A JP2015114139A JP 2015114139 A JP2015114139 A JP 2015114139A JP 2013254655 A JP2013254655 A JP 2013254655A JP 2013254655 A JP2013254655 A JP 2013254655A JP 2015114139 A JP2015114139 A JP 2015114139A
Authority
JP
Japan
Prior art keywords
paraffin
tray
specimen
cassette
microscope
Prior art date
Legal status (The legal status is an assumption and is not a legal conclusion. Google has not performed a legal analysis and makes no representation as to the accuracy of the status listed.)
Granted
Application number
JP2013254655A
Other languages
English (en)
Other versions
JP6319682B2 (ja
Inventor
村角 英彦
Hidehiko Murakado
英彦 村角
Current Assignee (The listed assignees may be inaccurate. Google has not performed a legal analysis and makes no representation or warranty as to the accuracy of the list.)
Murazumi Industrial Co Ltd
Original Assignee
Murazumi Industrial Co Ltd
Priority date (The priority date is an assumption and is not a legal conclusion. Google has not performed a legal analysis and makes no representation as to the accuracy of the date listed.)
Filing date
Publication date
Application filed by Murazumi Industrial Co Ltd filed Critical Murazumi Industrial Co Ltd
Priority to JP2013254655A priority Critical patent/JP6319682B2/ja
Publication of JP2015114139A publication Critical patent/JP2015114139A/ja
Application granted granted Critical
Publication of JP6319682B2 publication Critical patent/JP6319682B2/ja
Active legal-status Critical Current
Anticipated expiration legal-status Critical

Links

Images

Landscapes

  • Sampling And Sample Adjustment (AREA)

Abstract

【課題】顕微鏡標本の取り違えを防止し検査の信頼性を高めるためのパラフィンブロック作成具を提供する。【解決手段】パラフィン収容部2とその周縁に設けられたカセット載置部3とからなり、検体をパラフィンで包埋したパラフィンブロックを作成するためのトレイであって、前記パラフィン収容部3の平面視の形状を異にする複数のトレイ1からなることを特徴とするパラフィンブロック作成用トレイである。【選択図】図1

Description

本発明は、パラフィンブロック作成用トレイに関し、更に詳しくは、顕微鏡標本の取り違えを防止して検査の信頼性を高めるための顕微鏡標本を提供するためのパラフィンブロック作成用トレイに関する。
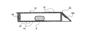
従来のこの種の顕微鏡標本の作成に用いられる医療検査用カセット(以下、単にカセットと称することがある)11は、図6および図7に示すように、耐薬品性合成樹脂からなるカセット本体12と蓋体13とを具備してなる。カセット本体12は、上面を開放した方形の容器で、底面部に多数の透孔14を有し、短辺側の一側壁の外側に底面部に向かって末広がり状に傾斜した板状の記録部12aを設けている。蓋体13は、着脱可能な板状体で、板面に多数の透孔14を有している。15は蓋体13とカセット本体12との係止部である。
上記カセット11を使用して顕微鏡標本を作製するには、まず、図7に示すように、採取した検体Sをカセット本体12内に収容して蓋体13を取り付け、記録部12aに被検者を特定するための氏名や記号等を記録しておく。
続いて、蓋体13の透孔14を通じて、検体Sを水洗し、アルコールにより検体Sの水分を除去し、キシレンにより検体Sの脂肪分を除去するとともに後述する液状パラフィンとの親和性を付与する。
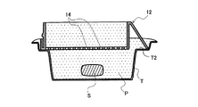
次に、図8に示すようなステンレス製のトレイT内に液状パラフィンPを入れ、検体Sをカセット本体12から取り出して前記トレイTの中に移し替え、トレイTの中で検体Sに液状パラフィンを浸透させ検体Sを仮固定する。続いて、図9に示すように、トレイTのカセット載置部T2にカセット本体12を載せ、更に、カセット本体12が液状パラフィンPに浸るまで、更に液状パラフィンPを検体S上に注ぎ足す。
次いで、図10に示すように、液状パラフィンPが固化した後トレイTを取り去ることにより、検体Sを包埋したパラフィンPがカセット本体12の底面部に付着してなるパラフィンブロックBを得る。
次に、図示しないが、ミクロトーム上にパラフィンブロックBを裏返して載せて、ミクロトームに設置されたアダプターをパラフィンブロックBに係合することにより、パラフィンブロックBをミクロトームに固定する。続いて、パラフィンPの検体Sを包埋した部分をスライスし、得られた薄片に染色、その他の所定の処理を施すことにより、図11に示すような顕微鏡標本Hを得る。
ところで、上記のように、カセット本体12の記録部12aには、被検者の氏名や記号等を記録されているが、得られた顕微鏡標本Hはカセット本体12とは完全に分離されるため、しばしば、被検者を取り違えるといった深刻なトラブルが発生する。
このようなトラブルを解消するために、カセットの蓋の表面に番号、アルファベット等の識別表示を突設したカセットが提案されている(例えば、特許文献1参照)。
しかしながら、この蓋も顕微鏡標本とは完全に分離されるため、検体を取り違えるといったトラブルは解消されない。
本発明はかかる実情に鑑み、従来の顕微鏡標本作成における上記課題を解消するためのパラフィンブロック作成用トレイを提供するものである。
特許第4402265号公報
本発明者は上記従来技術の課題を解消せんとして鋭意検討の結果、顕微鏡標本にトレイのパラフィン収容部の形状を転写して顕微鏡標本自体を転写した形状により識別可能とすれば、顕微鏡標本(検体)と識別表示とは不離一体となり、取り違えのトラブルが根絶されることを知見し、本発明を完成するに至ったものである。
即ち、本発明の特徴は、パラフィン収容部とその周縁に設けられたカセット載置部とからなり、検体をパラフィンで包埋したパラフィンブロックを作成するためのトレイであって、前記パラフィン収容部の平面視の形状を異にする複数のトレイからなることを特徴とするパラフィンブロック作成用トレイである。
本発明の他の特徴は、パラフィンが着色されたパラフィンであることを特徴とするパラフィンブロック作成用トレイである。
本発明のパラフィンブロック作成用トレイによれば、得られるパラフィンブロックはトレイのパラフィン収容部の形状が転写された形状からなるので、このパラフィンブロックをスライスすれば、薄切された検体を含むパラフィンの薄片は、トレイのパラフィン収容部の形状(輪郭)からなり、そしてパラフィン収容部の形状はトレイ毎に異なっているため、薄片の形状(輪郭)も全て異なるものとなる。この結果、これを染色等の処理をして得られる顕微鏡標本はいずれも形状(輪郭)を異にするとともに、その内部に検体を内包し不離一体であるため、この形状(輪郭)を識別表示とすることにより、顕微鏡標本を取り違えるといったトラブルが解消される。
また、パラフィンに着色したパラフィンを用いることにより、上記パラフィン収容部の形状と組み合わせることにより、多数の顕微鏡標本の識別表示とすることができる。
本発明におけるトレイの一例を示すもので、(a)は断面図、(b)は平面図、(c)は該トレイを用いて得られる顕微鏡標本の概略図である。 本発明におけるトレイの他の例を示す平面図である。 本発明におけるトレイの更に他の例を示す平面図である。 図2のトレイを用いた得られる顕微鏡標本の概略図である。 図3のトレイを用いた得られる顕微鏡標本の概略図である。 医療検査用カセットの一例を示す斜視図である。 図6の医療検査用カセット検体を収容した状態を示す概略断面図である。 従来のトレイの一例を示す斜視図である。 図8のトレイを用いてパラフィンブロックを作成する状態を示す概略断面図である。 図9で得られるパラフィンブロックを示す概略断面図である。 図10のパラフィンブロックをスライスして得られる顕微鏡標本を示す上面図である。
本発明のパラフィンブロック作成用トレイは、パラフィン収容部とその周縁に設けられたカセット載置部とからなり、検体をパラフィンで包埋したパラフィンブロックを作成するためのトレイであって、前記パラフィン収容部の平面視の形状(以下、単に形状と記す)を異にする複数のトレイからなることを特徴とする。
図1は本発明におけるトレイの一例を示すもので(a)は断面図、(b)は平面図である。
これらの図において、トレイ1は平面視の形状が方形の容器からなるパラフィン収容部2と、その周縁に設けられたカセット載置部3とからなり、通常、額縁部4が設けられ、必要に応じ、額縁部4の対向する2辺には把持部が突設される。
トレイ1の素材としては、ステンレス、銅、アルミ等の金属、ABS樹脂、AS樹脂、ポリスチレン樹脂、ポリメチル(メタ)アクリレート樹脂、ポリアセタール樹脂、ポリアミド樹脂、ポリエステル樹脂、ポリカーボネート樹脂等の樹脂が挙げられる。
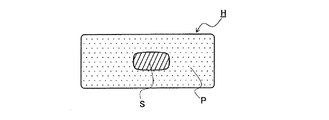
図1(c)は、上記トレイ1を用いて得られる顕微鏡標本Hを示す。
トレイ1を用いてカセットブロックを作成する方法は、上記従来の方法と同様で、医療検査用カセットを用いて作成される。医療検査用カセットとしては、図6に示したように、カセット本体と蓋体とからなり、多数の透孔を有するものであればよい。即ち、図6のカセットはカセット本体に記録部を有するが、このような記録部を有していないカセットや、またカセット本体と蓋体との係合構造も図示したものと異なる係合構造のカセットであってもよい。
カセットブロックを作成するには、背景技術で記載したのと同様にして、水洗、薬液処理等を施した検体Sをカセット本体からトレイ1のパラフィン収容部2に移し替え、トレイ1のカセット載置部3にカセット本体を載せ、カセット本体の上部まで液状パラフィンPを注ぐ。
次いで、液状パラフィンPが固化した後、トレイ1を取り去り、検体Sを包埋したパラフィンブロックが得られる。
次いで、背景技術で記載した如く、ミクロトーム上にパラフィンブロックを裏返して固定し、検体Sを包埋したパラフィンPの部分をスライスすると、図1(c)に示すように、トレイ1のパラフィン収容部2の形状からなるパラフィンPの中に検体Sを包埋した薄片が得られ、これに染色等の処理を施すことにより顕微鏡標本Hが得られる。
本発明におけるパラフィンブロック作成用トレイは、パラフィン収容部の形状を異にする複数のトレイからなる。本発明において、複数のトレイとは、2個以上のトレイであり、同時に、即ち、取り違えの生じる恐れのある顕微鏡標本の数である。
パラフィン収容部の形状は、複数のトレイの各々がパラフィンブロックをスライスして薄片とした際に互いに視覚的に区別でき、識別表示として使用できるものであればよい。また、パラフィン収容部は、パラフィン固化後にトレイを取り外し易いように、底部に向って小さくなるようにテーパー状に形成される。図1に示したパラフィン収容部の形状の他に、図2、図3にその代表例を示す。
図2は、図1に示したトレイ1において、パラフィン収容部2の形状を円形、楕円形、半円形、5角形、6角形、3角形等に変更したトレイを示す平面図である。
図3は、図1に示したトレイ1において、パラフィン収容部2の形状をハート、クラブ、スペード、ダイヤの各形状に変更したトレイを示す平面図である。
図4は、図2のトレイ1を用いて得られる顕微鏡標本Hを示し、図5は、図3のトレイ1を用いて得られる顕微鏡標本Hを示す。
これらの顕微鏡標本Hは、いずれもトレイのパラフィン収容部2の形状(輪郭)からなるパラフィンPの中に検体Sを包埋してなる。
本発明のパラフィンブロック作成用トレイ1は、上記のようにパラフィン収容部2の形状を異にする複数個のトレイ1からなるので、これらのトレイ1から得られる複数の顕微鏡標本Hもパラフィン収容部の形状が転写された形状からなる。従って、得られる顕微鏡標本Hはいずれも互いに異なる形状を有しており、しかもこの形状は検体Sと不離一体であり、分離されることがない。
かくして、顕微鏡標本Hは、それらの形状を識別表示とすることにより明確に区別されるので、顕微鏡標本H(検体S)を取り違えるといったトラベルは根絶される。
尚、使用するパラフィンを着色し、これを識別表示とすることにより、上記形状と組み合わせて多数の顕微鏡標本H(検体S)を識別することができる。
例えば、図1〜図3では、パラフィン収容部2を異にするトレイ1を13個示し、これらのトレイ1を用いて13個の形状の異なる標本H(検体S)が得られる。この場合において、使用するパラフィンを、例えば赤色に着色すれば形状と色とで更に13個(合計26個)の顕微鏡標本H(検体S)が識別され、更に、例えば、青色に着色すれば更に13個(合計39個)の顕微鏡標本H(検体S)が識別ざれることになる。このように、トレイの数は一定の数nとした場合、パラフィンの色を変えるだけで2n(色が2個)、3n(色が3個)、4n(色が4個)・・・の顕微鏡標本H(検体S)が識別可能となる。従って、多数の顕微鏡標本H(検体S)を一度に処理しても取り違えることはなくなり、検査の信頼性が確保される。
尚、パラフィンの色を変える場合は、トレイの数が少なくても多数の顕微鏡標本Hを検査できるので、トレイの数を減らすことができる。従って、トレイの製造コストが低減され、また在庫管理等も容易である。
叙上のとおり、本発明のパラフィンブロック作成用トレイによれば、検体と不離一体の識別表示を含む顕微鏡標本が得られるので、顕微鏡標本を取り違えるといった深刻なトラブルが防止され、検体の信頼性が向上する。
1 トレイ
2 パラフィン収容部
3 カセット載置部
4 額縁部
S 検体
H 顕微鏡標本
11 医療検査用カセット
12 カセット本体
12a 記録部
13 蓋体
14 透孔
15 係止部
T 従来のトレイ
T1 額縁部
T2 カセット載置部
P パラフィン
B パラフィンブロック

Claims (2)

  1. パラフィン収容部とその周縁に設けられたカセット載置部とからなり、検体をパラフィンで包埋したパラフィンブロックを作成するためのトレイであって、
    前記パラフィン収容部の平面視の形状を異にする複数のトレイからなることを特徴とするパラフィンブロック作成用トレイ。
  2. パラフィンが着色されたパラフィンであることを特徴とする請求項1記載のパラフィンブロック作成用トレイ。
JP2013254655A 2013-12-10 2013-12-10 パラフィンブロック作成用トレイ Active JP6319682B2 (ja)

Priority Applications (1)

Application Number Priority Date Filing Date Title
JP2013254655A JP6319682B2 (ja) 2013-12-10 2013-12-10 パラフィンブロック作成用トレイ

Applications Claiming Priority (1)

Application Number Priority Date Filing Date Title
JP2013254655A JP6319682B2 (ja) 2013-12-10 2013-12-10 パラフィンブロック作成用トレイ

Publications (2)

Publication Number Publication Date
JP2015114139A true JP2015114139A (ja) 2015-06-22
JP6319682B2 JP6319682B2 (ja) 2018-05-09

Family

ID=53528075

Family Applications (1)

Application Number Title Priority Date Filing Date
JP2013254655A Active JP6319682B2 (ja) 2013-12-10 2013-12-10 パラフィンブロック作成用トレイ

Country Status (1)

Country Link
JP (1) JP6319682B2 (ja)

Cited By (5)

* Cited by examiner, † Cited by third party
Publication number Priority date Publication date Assignee Title
CN105699142A (zh) * 2016-02-18 2016-06-22 石河子大学 用于质地紧密坚硬植物材料的石蜡切片制作方法
CN106053177A (zh) * 2016-07-28 2016-10-26 江苏农林职业技术学院 一种用于观察空气凤梨叶片解剖结构的标本制作方法
JP2018040784A (ja) * 2016-09-08 2018-03-15 閤康生物科技股▲フン▼有限公司 埋設試料ブロック及び試料シートの作製方法
JP2018059892A (ja) * 2016-10-05 2018-04-12 ▲コウ▼康科技股▲フン▼有限公司 試料作製システムおよび作製方法
GB2595693A (en) * 2020-06-03 2021-12-08 Rocktype Ltd Puck and puck holder

Citations (7)

* Cited by examiner, † Cited by third party
Publication number Priority date Publication date Assignee Title
JPS5513028U (ja) * 1978-07-10 1980-01-28
JPS61502560A (ja) * 1984-06-19 1986-11-06 マクレ−ン,ウイリアム 組織標本識別のための方法と器具
JPH0161660U (ja) * 1987-10-14 1989-04-19
JPH0310245U (ja) * 1989-06-15 1991-01-31
US5416029A (en) * 1993-09-27 1995-05-16 Shandon Inc. System for identifying tissue samples
JPH11194076A (ja) * 1997-12-27 1999-07-21 Murazumi Kogyo Kk ミクロトーム用カセットクランプ
JP2012073157A (ja) * 2010-09-29 2012-04-12 Seiko Instruments Inc チルトステージ、チルトステージリンクシステム、薄切片作製システム、及び薄切片作製方法

Patent Citations (7)

* Cited by examiner, † Cited by third party
Publication number Priority date Publication date Assignee Title
JPS5513028U (ja) * 1978-07-10 1980-01-28
JPS61502560A (ja) * 1984-06-19 1986-11-06 マクレ−ン,ウイリアム 組織標本識別のための方法と器具
JPH0161660U (ja) * 1987-10-14 1989-04-19
JPH0310245U (ja) * 1989-06-15 1991-01-31
US5416029A (en) * 1993-09-27 1995-05-16 Shandon Inc. System for identifying tissue samples
JPH11194076A (ja) * 1997-12-27 1999-07-21 Murazumi Kogyo Kk ミクロトーム用カセットクランプ
JP2012073157A (ja) * 2010-09-29 2012-04-12 Seiko Instruments Inc チルトステージ、チルトステージリンクシステム、薄切片作製システム、及び薄切片作製方法

Cited By (8)

* Cited by examiner, † Cited by third party
Publication number Priority date Publication date Assignee Title
CN105699142A (zh) * 2016-02-18 2016-06-22 石河子大学 用于质地紧密坚硬植物材料的石蜡切片制作方法
CN105699142B (zh) * 2016-02-18 2018-04-03 石河子大学 用于质地紧密坚硬植物材料的石蜡切片制作方法
CN106053177A (zh) * 2016-07-28 2016-10-26 江苏农林职业技术学院 一种用于观察空气凤梨叶片解剖结构的标本制作方法
JP2018040784A (ja) * 2016-09-08 2018-03-15 閤康生物科技股▲フン▼有限公司 埋設試料ブロック及び試料シートの作製方法
JP2018059892A (ja) * 2016-10-05 2018-04-12 ▲コウ▼康科技股▲フン▼有限公司 試料作製システムおよび作製方法
GB2595693A (en) * 2020-06-03 2021-12-08 Rocktype Ltd Puck and puck holder
WO2021245414A1 (en) * 2020-06-03 2021-12-09 Rocktype Ltd Sample block and sample block holder
GB2595693B (en) * 2020-06-03 2022-08-10 Rocktype Ltd Puck and puck holder

Also Published As

Publication number Publication date
JP6319682B2 (ja) 2018-05-09

Similar Documents

Publication Publication Date Title
JP6319682B2 (ja) パラフィンブロック作成用トレイ
EP3675743B1 (en) Biopsy tissue sample cassette and related systems and methods
US20030086830A1 (en) Method and apparatus for transporting biological samples
JP6302299B2 (ja) 組織サンプル処理方法
EP2851671B1 (en) Cassette
US12337322B2 (en) Cassette assembly and processing method
EP0215792A1 (en) METHOD AND APPARATUS FOR IDENTIFYING HISTOLOGICAL SAMPLES.
JP4058709B2 (ja) 病理組織試料用カセットとそれを用いた包埋ブロックの成形方法
JP4425421B2 (ja) 医療検査用カセット
WO2004031736A1 (ja) 病理組織試料用バリ無し包埋皿と包埋枠とカセットおよび包埋方法
US9810611B2 (en) Processing method and cassette
EP3642591B1 (en) Pathology assembly
JP2002005800A (ja) 医療検査用カセット
JP2018136128A (ja) パラフィンブロック及びパラフィンブロックの作製方法
JP6473314B2 (ja) パラフィンブロック作成具
JP2013246076A (ja) 医療検査用カセット
JP3159663U (ja) 医療検査用カセット
JP6392071B2 (ja) パラフィンブロック作成用トレイ及び該トレイを用いたパラフィンブロックの作成方法
US20210088542A1 (en) Equipment for the traceability of biological samples
JP2018194480A (ja) パラフィンブロックの作製方法
CN201159697Y (zh) 包埋模具
JP2017053700A (ja) 形態観察用試料の調製方法及びそれに用いる液体処理用器具、試料台
JP3213828U (ja) パラフィンブロック作製キット
JP2001289755A (ja) 医療検査用カセット
JP4659104B2 (ja) 医療検査用カセット

Legal Events

Date Code Title Description
A621 Written request for application examination

Free format text: JAPANESE INTERMEDIATE CODE: A621

Effective date: 20161107

A977 Report on retrieval

Free format text: JAPANESE INTERMEDIATE CODE: A971007

Effective date: 20170809

A131 Notification of reasons for refusal

Free format text: JAPANESE INTERMEDIATE CODE: A131

Effective date: 20170912

A521 Request for written amendment filed

Free format text: JAPANESE INTERMEDIATE CODE: A523

Effective date: 20171020

TRDD Decision of grant or rejection written
A01 Written decision to grant a patent or to grant a registration (utility model)

Free format text: JAPANESE INTERMEDIATE CODE: A01

Effective date: 20180313

RD02 Notification of acceptance of power of attorney

Free format text: JAPANESE INTERMEDIATE CODE: A7422

Effective date: 20180323

A61 First payment of annual fees (during grant procedure)

Free format text: JAPANESE INTERMEDIATE CODE: A61

Effective date: 20180323

R150 Certificate of patent or registration of utility model

Ref document number: 6319682

Country of ref document: JP

Free format text: JAPANESE INTERMEDIATE CODE: R150

R250 Receipt of annual fees

Free format text: JAPANESE INTERMEDIATE CODE: R250

R250 Receipt of annual fees

Free format text: JAPANESE INTERMEDIATE CODE: R250

R250 Receipt of annual fees

Free format text: JAPANESE INTERMEDIATE CODE: R250

R250 Receipt of annual fees

Free format text: JAPANESE INTERMEDIATE CODE: R250

R250 Receipt of annual fees

Free format text: JAPANESE INTERMEDIATE CODE: R250