JP2014228564A - 光学表示デバイスの生産システム - Google Patents

光学表示デバイスの生産システム Download PDF

Info

Publication number
JP2014228564A
JP2014228564A JP2013105589A JP2013105589A JP2014228564A JP 2014228564 A JP2014228564 A JP 2014228564A JP 2013105589 A JP2013105589 A JP 2013105589A JP 2013105589 A JP2013105589 A JP 2013105589A JP 2014228564 A JP2014228564 A JP 2014228564A
Authority
JP
Japan
Prior art keywords
bonding
sheet
optical member
sheet piece
liquid crystal
Prior art date
Legal status (The legal status is an assumption and is not a legal conclusion. Google has not performed a legal analysis and makes no representation as to the accuracy of the status listed.)
Granted
Application number
JP2013105589A
Other languages
English (en)
Other versions
JP6193618B2 (ja
Inventor
幹士 藤井
Kanji Fujii
幹士 藤井
大充 田中
Hiromitsu Tanaka
大充 田中
Current Assignee (The listed assignees may be inaccurate. Google has not performed a legal analysis and makes no representation or warranty as to the accuracy of the list.)
Sumitomo Chemical Co Ltd
Original Assignee
Sumitomo Chemical Co Ltd
Priority date (The priority date is an assumption and is not a legal conclusion. Google has not performed a legal analysis and makes no representation as to the accuracy of the date listed.)
Filing date
Publication date
Application filed by Sumitomo Chemical Co Ltd filed Critical Sumitomo Chemical Co Ltd
Priority to JP2013105589A priority Critical patent/JP6193618B2/ja
Priority to PCT/JP2014/063048 priority patent/WO2014185513A1/ja
Priority to TW103117260A priority patent/TW201506491A/zh
Publication of JP2014228564A publication Critical patent/JP2014228564A/ja
Application granted granted Critical
Publication of JP6193618B2 publication Critical patent/JP6193618B2/ja
Active legal-status Critical Current
Anticipated expiration legal-status Critical

Links

Images

Classifications

    • GPHYSICS
    • G02OPTICS
    • G02FOPTICAL DEVICES OR ARRANGEMENTS FOR THE CONTROL OF LIGHT BY MODIFICATION OF THE OPTICAL PROPERTIES OF THE MEDIA OF THE ELEMENTS INVOLVED THEREIN; NON-LINEAR OPTICS; FREQUENCY-CHANGING OF LIGHT; OPTICAL LOGIC ELEMENTS; OPTICAL ANALOGUE/DIGITAL CONVERTERS
    • G02F1/00Devices or arrangements for the control of the intensity, colour, phase, polarisation or direction of light arriving from an independent light source, e.g. switching, gating or modulating; Non-linear optics
    • G02F1/01Devices or arrangements for the control of the intensity, colour, phase, polarisation or direction of light arriving from an independent light source, e.g. switching, gating or modulating; Non-linear optics for the control of the intensity, phase, polarisation or colour 
    • G02F1/13Devices or arrangements for the control of the intensity, colour, phase, polarisation or direction of light arriving from an independent light source, e.g. switching, gating or modulating; Non-linear optics for the control of the intensity, phase, polarisation or colour  based on liquid crystals, e.g. single liquid crystal display cells
    • G02F1/1303Apparatus specially adapted to the manufacture of LCDs
    • GPHYSICS
    • G02OPTICS
    • G02FOPTICAL DEVICES OR ARRANGEMENTS FOR THE CONTROL OF LIGHT BY MODIFICATION OF THE OPTICAL PROPERTIES OF THE MEDIA OF THE ELEMENTS INVOLVED THEREIN; NON-LINEAR OPTICS; FREQUENCY-CHANGING OF LIGHT; OPTICAL LOGIC ELEMENTS; OPTICAL ANALOGUE/DIGITAL CONVERTERS
    • G02F1/00Devices or arrangements for the control of the intensity, colour, phase, polarisation or direction of light arriving from an independent light source, e.g. switching, gating or modulating; Non-linear optics
    • G02F1/01Devices or arrangements for the control of the intensity, colour, phase, polarisation or direction of light arriving from an independent light source, e.g. switching, gating or modulating; Non-linear optics for the control of the intensity, phase, polarisation or colour 
    • G02F1/13Devices or arrangements for the control of the intensity, colour, phase, polarisation or direction of light arriving from an independent light source, e.g. switching, gating or modulating; Non-linear optics for the control of the intensity, phase, polarisation or colour  based on liquid crystals, e.g. single liquid crystal display cells
    • G02F1/133Constructional arrangements; Operation of liquid crystal cells; Circuit arrangements
    • G02F1/1333Constructional arrangements; Manufacturing methods
    • G02F1/1335Structural association of cells with optical devices, e.g. polarisers or reflectors
    • G02F1/133504Diffusing, scattering, diffracting elements
    • G02F1/133507Films for enhancing the luminance
    • GPHYSICS
    • G02OPTICS
    • G02FOPTICAL DEVICES OR ARRANGEMENTS FOR THE CONTROL OF LIGHT BY MODIFICATION OF THE OPTICAL PROPERTIES OF THE MEDIA OF THE ELEMENTS INVOLVED THEREIN; NON-LINEAR OPTICS; FREQUENCY-CHANGING OF LIGHT; OPTICAL LOGIC ELEMENTS; OPTICAL ANALOGUE/DIGITAL CONVERTERS
    • G02F1/00Devices or arrangements for the control of the intensity, colour, phase, polarisation or direction of light arriving from an independent light source, e.g. switching, gating or modulating; Non-linear optics
    • G02F1/01Devices or arrangements for the control of the intensity, colour, phase, polarisation or direction of light arriving from an independent light source, e.g. switching, gating or modulating; Non-linear optics for the control of the intensity, phase, polarisation or colour 
    • G02F1/13Devices or arrangements for the control of the intensity, colour, phase, polarisation or direction of light arriving from an independent light source, e.g. switching, gating or modulating; Non-linear optics for the control of the intensity, phase, polarisation or colour  based on liquid crystals, e.g. single liquid crystal display cells
    • G02F1/133Constructional arrangements; Operation of liquid crystal cells; Circuit arrangements
    • G02F1/1333Constructional arrangements; Manufacturing methods
    • G02F1/1335Structural association of cells with optical devices, e.g. polarisers or reflectors
    • G02F1/133528Polarisers
    • GPHYSICS
    • G02OPTICS
    • G02FOPTICAL DEVICES OR ARRANGEMENTS FOR THE CONTROL OF LIGHT BY MODIFICATION OF THE OPTICAL PROPERTIES OF THE MEDIA OF THE ELEMENTS INVOLVED THEREIN; NON-LINEAR OPTICS; FREQUENCY-CHANGING OF LIGHT; OPTICAL LOGIC ELEMENTS; OPTICAL ANALOGUE/DIGITAL CONVERTERS
    • G02F1/00Devices or arrangements for the control of the intensity, colour, phase, polarisation or direction of light arriving from an independent light source, e.g. switching, gating or modulating; Non-linear optics
    • G02F1/01Devices or arrangements for the control of the intensity, colour, phase, polarisation or direction of light arriving from an independent light source, e.g. switching, gating or modulating; Non-linear optics for the control of the intensity, phase, polarisation or colour 
    • G02F1/13Devices or arrangements for the control of the intensity, colour, phase, polarisation or direction of light arriving from an independent light source, e.g. switching, gating or modulating; Non-linear optics for the control of the intensity, phase, polarisation or colour  based on liquid crystals, e.g. single liquid crystal display cells
    • G02F1/133Constructional arrangements; Operation of liquid crystal cells; Circuit arrangements
    • G02F1/1333Constructional arrangements; Manufacturing methods
    • G02F1/1335Structural association of cells with optical devices, e.g. polarisers or reflectors
    • G02F1/13363Birefringent elements, e.g. for optical compensation

Landscapes

  • Physics & Mathematics (AREA)
  • Nonlinear Science (AREA)
  • Liquid Crystal (AREA)
  • Engineering & Computer Science (AREA)
  • Manufacturing & Machinery (AREA)
  • Chemical & Material Sciences (AREA)
  • Crystallography & Structural Chemistry (AREA)
  • General Physics & Mathematics (AREA)
  • Optics & Photonics (AREA)
  • Devices For Indicating Variable Information By Combining Individual Elements (AREA)
  • Polarising Elements (AREA)
  • Electroluminescent Light Sources (AREA)

Abstract

【課題】表示領域周辺の額縁部を縮小して表示エリアの拡大及び機器の小型化を図ることができる光学表示デバイスの生産システムを提供する。【解決手段】光学表示デバイスの生産システム(フィルム貼合システム1)は、光学表示部品Pの表裏両面に光学表示部品Pの表示領域よりも大きい光学部材シートF1,F2,F3のシート片をそれぞれ貼合する貼合装置13,15,18と、シート片と液晶パネルPとの貼合面の外周縁を検出する検出装置と、光学表示部品Pの表裏両面にそれぞれ貼合された前記シート片から貼合面に対応する部分の外側に配置された余剰部分を、外周縁に沿って切り離し、前記表示領域に対応する大きさの前記光学部材を光学表示部品Pの表裏両面にそれぞれ形成する切断手段40と、を備えている。【選択図】図1

Description

本発明は、光学表示デバイスの生産システムに関するものである。
従来、液晶ディスプレイ等の光学表示デバイスの生産システムにおいて、液晶パネル(光学表示部品)に貼合する偏光板等の光学部材は、長尺フィルムから液晶パネルの表示領域に合わせたサイズのシート片に切り出され、梱包されて別ラインに搬送された後、液晶パネルに貼合されることがある(例えば、特許文献1参照)。
特開2003−255132号公報
しかし、上記従来の構成では、液晶パネル及びシート片の各寸法バラツキ、並びに液晶パネルに対するシート片の貼合バラツキ(位置ズレ)を考慮して、表示領域よりも若干大きめのシート片を切り出している。そのため、表示領域の周辺部に余分な領域(額縁部)が形成され、機器の小型化が阻害されるという問題がある。
本発明の目的は、表示領域周辺の額縁部を縮小して表示エリアの拡大及び機器の小型化を図ることができる光学表示デバイスの生産システムを提供することにある。
本発明の光学表示デバイスの生産システムは、光学表示部品に光学部材を貼合してなる光学表示デバイスの生産システムであって、前記光学表示部品の表裏両面に前記光学表示部品の表示領域よりも大きい光学部材シートのシート片をそれぞれ貼合して貼合体とする貼合手段と、前記貼合体において、前記シート片と前記光学表示部品との貼合面の外周縁を検出する検出装置と、前記貼合体において、前記光学表示部品の表裏両面にそれぞれ貼合された前記シート片から、前記貼合面に対応する部分の外側に配置された余剰部分を、前記外周縁に沿って切り離し、前記貼合面に対応する大きさの前記光学部材を前記光学表示部品の表裏両面にそれぞれ形成する切断手段と、を備えている。
ここで、「シート片と光学表示部品との貼合面」とは、光学表示部品においてシート片と対向する面を指し、「貼合面の外周縁」とは、具体的には、光学表示部品においてシート片が貼合された側の基板の外周縁を指す。
また、シート片の「貼合面に対応する部分」とは、シート片において、シート片と対向する光学表示部品の表示領域の大きさ以上、光学表示部品の外形状(平面視における輪郭形状)の大きさ以下の領域であって、かつ光学表示部品における電気部品取付部等の機能部分を避けた領域を指す。同様に「貼合面に対応する大きさ」とは、光学表示部品の表示領域の大きさ以上、光学表示部品の外形状(平面視における輪郭形状)の大きさ以下の大きさであって、かつ光学表示部品における電気部品取付部等の機能部分を避けた大きさを指す。
前記光学部材シートの光学軸方向の検査データに基づき、前記光学表示部品と前記シート片との相対貼合位置を決定する制御装置を備え、前記貼合手段は、前記制御装置が決定した相対貼合位置に基づき、前記シート片を前記光学表示部品に貼合してもよい。
前記貼合手段は、光学部材シートを原反ロールからセパレータシートと共に巻き出す巻き出し部と、前記光学部材シートを前記セパレータシートを残してカットしてシート片とするカット部と、前記シート片を前記セパレータシートから剥離させる剥離部と、前記シート片を保持面に貼り付けて保持すると共に、前記保持面に保持した前記シート片を前記光学表示部品に貼合する貼合ヘッドと、を有してもよい。
前記光学表示部品の表裏両面に貼合された前記シート片からそれぞれ切り離された前記余剰部分がまとめて前記光学表示部品から剥離されてもよい。
前記切断手段は、前記光学表示部品の表裏一方の面に貼合されたシート片から前記余剰部分を切り離す第一切断装置と、前記光学表示部品の表裏他方の面に貼合されたシート片から前記余剰部分を切り離す第二切断装置と、を有し、前記第一切断装置および前記第二切断装置は、レーザーカッターであり、前記第一切断装置および前記第二切断装置は、同一のレーザー出力装置に接続されており、前記レーザー出力装置から出力されたレーザーが前記第一切断装置および前記第二切断装置に分岐されて供給されてもよい。
本発明によれば、表示領域周辺の額縁部を縮小して表示エリアの拡大及び機器の小型化を図ることができる光学表示デバイスの生産システムを提供することができる。
第一実施形態のフィルム貼合システムの概略を示す側面図である。 光学表示部品の一構成例としての液晶パネルの平面図である。 図2のA−A断面図である。 光学部材シートの断面図である。 フィルム貼合システムの貼合装置の概略を示す側面図である。 液晶パネルに対するシート片の貼合位置の決定方法の一例を示す図である。 第一切断装置によるシート片の切断工程を示す側面図である。 第二切断装置によるシート片の切断工程を示す側面図である。 第二実施形態のフィルム貼合システムに適用される貼合装置の模式図である。 シート片の余剰部分の切断方法を示す平面図である。 貼合面の外周縁を検出する第一検出装置の模式図である。 貼合面の外周縁を検出する第一検出装置の変形例を示す模式図である。 貼合面の外周縁を検出する位置を示す平面図である。 貼合面の外周縁を検出する第二検出装置の模式図である。
以下、本発明の実施形態について図面を参照して説明する。本実施形態では、光学表示デバイスの生産システムとして、その一部を構成するフィルム貼合システムについて説明する。
[第一実施形態]
図1は第一実施形態のフィルム貼合システム1の概略構成図である。フィルム貼合システム1は、例えば液晶パネルや有機ELパネルといったパネル状の光学表示部品に、偏光フィルムや位相差フィルム、輝度上昇フィルムといったフィルム状の光学部材を貼合するもので、前記光学表示部品及び光学部材を含んだ光学表示デバイスを生産する生産システムの一部として構成される。フィルム貼合システム1では、前記光学表示部品として液晶パネルPを用いている。図1では図示都合上、フィルム貼合システム1を上下二段に分けて記載している。
図2は液晶パネルPをその液晶層P3の厚さ方向から見た平面図である。液晶パネルPは、平面視で長方形状をなす第一基板P1と、第一基板P1に対向して配置される比較的小形の長方形状をなす第二基板P2と、第一基板P1と第二基板P2との間に封入された液晶層P3とを備える。液晶パネルPは、平面視で第一基板P1の外形状に沿う長方形状をなし、平面視で液晶層P3の外周の内側に収まる領域を表示領域P4とする。
図3は図2のA−A断面図である。液晶パネルPの表裏面には、長尺帯状の第一、第二及び第三光学部材シートF1,F2,F3(図1参照、以下、光学部材シートFXと総称することがある。)から切り出した第一、第二及び第三光学部材F11,F12,F13(以下、光学部材F1Xと総称することがある。)が適宜貼合される。本実施形態では、液晶パネルPのバックライト側及び表示面側の両面には、偏光フィルムとしての第一光学部材F11及び第三光学部材F13がそれぞれ貼合され、液晶パネルPのバックライト側の面には、第一光学部材F11に重ねて輝度向上フィルムとしての第二光学部材F12がさらに貼合される。
なお、第一、第二及び第三光学部材F11,F12,F13は、後述する第一、第二及び第三シート片F1m,F2m,F3m(以下、シート片FXmと総称することがある。
)から、その表示領域の外側の余剰部分を切り離すことにより形成されたものである。
図4は液晶パネルPに貼合する光学部材シートFXの部分断面図である。光学部材シートFXは、フィルム状の光学部材本体F1aと、光学部材本体F1aの一方の面(図4では上面)に設けられた粘着層F2aと、粘着層F2aを介して光学部材本体F1aの一方の面に分離可能に積層されたセパレータシートF3aと、光学部材本体F1aの他方の面(図4では下面)に積層された表面保護フィルムF4aとを有する。光学部材本体F1aは偏光板として機能し、液晶パネルPの表示領域P4の全域とその周辺領域とにわたって貼合される。なお、図示都合上、図4の各層のハッチングは略す。
光学部材本体F1aは、その一方の面に粘着層F2aを残しつつセパレータシートF3aを分離させした状態で、液晶パネルPに粘着層F2aを介して貼合される。以下、光学部材シートFXからセパレータシートF3aを除いた部分を貼合シートF5という。
セパレータシートF3aは、粘着層F2aから分離されるまでの間に粘着層F2a及び光学部材本体F1aを保護する。表面保護フィルムF4aは、光学部材本体F1aと共に液晶パネルPに貼合される。表面保護フィルムF4aは、光学部材本体F1aに対して液晶パネルPと反対側に配置されて光学部材本体F1aを保護する。表面保護フィルムF4aは、所定のタイミングで光学部材本体F1aから分離される。なお、光学部材シートFXが表面保護フィルムF4aを含まない構成であったり、表面保護フィルムF4aが光学部材本体F1aから分離されない構成であってもよい。
光学部材本体F1aは、シート状の偏光子F6と、偏光子F6の一方の面に接着剤等で接合される第一フィルムF7と、偏光子F6の他方の面に接着剤等で接合される第二フィルムF8とを有する。第一フィルムF7及び第二フィルムF8は、例えば偏光子F6を保護する保護フィルムである。
なお、光学部材本体F1aは、一層の光学層からなる単層構造でもよく、複数の光学層が互いに積層された積層構造でもよい。前記光学層は、偏光子F6の他に、位相差フィルムや輝度向上フィルム等でもよい。第一フィルムF7と第二フィルムF8の少なくとも一方は、液晶表示素子の最外面を保護するハードコート処理やアンチグレア処理を含む防眩などの効果が得られる表面処理が施されてもよい。光学部材本体F1aは、第一フィルムF7と第二フィルムF8の少なくとも一方を含まなくてもよい。例えば第一フィルムF7を省略した場合、セパレータシートF3aを光学部材本体F1aの一方の面に粘着層F2aを介して貼り合わせてもよい。
以下、図1を参照してフィルム貼合システム1について説明する。なお、図中矢印Fは液晶パネルPの搬送方向を示す。以下の説明では、液晶パネルPの搬送方向上流側をパネル搬送上流側、液晶パネルPの搬送方向下流側をパネル搬送下流側という。
フィルム貼合システム1は、第一ロータリインデックス11と、第一ロータリインデックス11の第一ロータリ始発位置11aへ液晶パネルPを搬送する搬送装置12と、第一ロータリインデックス11の周囲に設けられる第一及び第二貼合装置13,15並びにフィルム剥離装置14と、第一ロータリインデックス11のパネル搬送下流側に設けられる第二ロータリインデックス16と、第一ロータリインデックス11の第一ロータリ終着位置11bから第二ロータリインデックス16の第二ロータリ始発位置16aへ液晶パネルPを表裏を反転させつつ搬送する搬送装置17と、第二ロータリインデックス16の周囲に設けられる第三貼合装置18とを備える。
また、フィルム貼合システム1は、第二ロータリインデックス16のパネル搬送下流側に設けられるコンベヤ27と、第二ロータリインデックス16の第二ロータリ終着位置16bからコンベヤ27の始発位置27aへ液晶パネルPを搬送する搬送装置21と、コンベヤ27の搬送経路上に設けられた第一切断装置41と、コンベヤ27の搬送下流側に設けられるコンベヤ28と、コンベヤ27の終着位置27bからコンベヤ28の始発位置28aへ液晶パネルPを表裏を反転させつつ搬送する搬送装置22と、コンベヤ28の搬送経路上に設けられた第二切断装置42とを備える。
第一貼合装置13、第二貼合装置15および第三貼合装置18は、液晶パネルPの表裏両面に液晶パネルPの表示領域P4よりも大きい光学部材シートFXのシート片FXmをそれぞれ貼合する貼合手段を構成する。また、第一切断装置41および第二切断装置42は、液晶パネルPの表裏両面にそれぞれ貼合されたシート片FXmから、液晶パネルPとシート片FXmとの貼合面の外周縁に対応する部分の外側に配置された余剰部分を切り離し、液晶パネルPとシート片FXmとの貼合面の外周縁に対応する大きさの光学部材F1Xを液晶パネルPの表裏両面にそれぞれ形成する切断手段を構成する。
また、詳しくは後述するが、第一切断装置41のパネル搬送上流側には、第一切断装置41におけるカット位置を設定するために用いる検出装置が設けられ、第二切断装置42のパネル搬送上流側には、第二切断装置42におけるカット位置を設定するために用いる検出装置が設けられている。
フィルム貼合システム1は、ロータリインデックス11,16およびコンベヤ27,28が形成するラインを用いて液晶パネルPを搬送しつつ、液晶パネルPに順次所定の処理を施す。液晶パネルPは、その表裏面を水平にした状態でライン上を搬送され、その表裏面に対して、帯状の光学部材シートFXから所定長さに切り出した貼合シートF5のシート片(光学部材F1Xに相当)が貼合される。フィルム貼合システム1の各部は、電子制御装置としての制御装置25により統括制御される。
搬送装置12は、液晶パネルPを保持して垂直方向及び水平方向で自在に搬送する。搬送装置12は、例えば吸着によって保持した液晶パネルPを第一ロータリインデックス11の第一ロータリ始発位置11aへ水平状態のまま搬送し、当該位置で前記吸着を解除して液晶パネルPを第一ロータリインデックス11に受け渡す。
第一ロータリインデックス11は、鉛直方向に沿う回転軸を有する円盤状の回転テーブルであり、搬送装置12からの搬入位置を第一ロータリ始発位置11aとして例えば右回りに回転駆動する。第一ロータリインデックス11は、第一ロータリ始発位置11aから例えば右回りに所定角度だけ回転した位置を第一貼合位置11cとする。この第一貼合位置11cにて、第一貼合装置13によるバックライト側の第一シート片F1mの貼合がなされる。第一シート片F1mは、液晶パネルPの表示領域よりも大きいサイズの第一光学部材シートF1のシート片である。第一貼合装置13により液晶パネルPの表裏一方の面に第一シート片F1mが貼合されることにより、第一光学部材貼合体PA1が形成される。
第一ロータリインデックス11は、第一貼合位置11cから例えば右回りに所定角度だけ回転した位置をフィルム剥離位置11eとする。このフィルム剥離位置11eにて、フィルム剥離装置14による第一シート片F1mの表面保護フィルムF4aの剥離がなされる。
第一ロータリインデックス11は、フィルム剥離位置11eから例えば右回りに所定角度だけ回転した位置を第二貼合位置11dとする。この第二貼合位置11dにて、第二貼合装置15によるバックライト側の第二シート片F2mの貼合がなされる。第二シート片F2mは、液晶パネルPの表示領域よりも大きいサイズの第二光学部材シートF2のシート片である。第二貼合装置15により第一光学部材貼合体PA1の第一シート片F1m側の面に第二シート片F2mが貼合されることにより、第二光学部材貼合体PA2が形成される。
第一ロータリインデックス11は、第二貼合位置11dから例えば右回りに所定角度だけ回転した位置を第一ロータリ終着位置11bとする。この第一ロータリ終着位置11bにて、搬送装置17による第二光学部材貼合体PA2の搬出がなされる。
搬送装置17は、液晶パネルP(第二光学部材貼合体PA2)を保持して垂直方向及び水平方向で自在に搬送する。搬送装置17は、例えば吸着によって保持した液晶パネルPを第二ロータリインデックス16の第二ロータリ始発位置16aへ搬送すると共に、この搬送時に液晶パネルPの表裏を反転し、第二ロータリ始発位置16aで前記吸着を解除して液晶パネルPを第二ロータリインデックス16に受け渡す。
第二ロータリインデックス16は、鉛直方向に沿う回転軸を有する円盤状の回転テーブルであり、搬送装置17からの搬入位置を第二ロータリ始発位置16aとして例えば右回りに回転駆動する。第二ロータリインデックス16は、第二ロータリ始発位置16aから例えば右回りに所定角度だけ回転した位置を第三貼合位置16cとする。この第三貼合位置16cにて、第三貼合装置18による表示面側の第三シート片F3mの貼合がなされる。第三シート片F3mは、液晶パネルPの表示領域よりも大きいサイズの第三光学部材シートF3のシート片である。第三貼合装置18により液晶パネルPの表裏他方の面(第二光学部材貼合体PA2の第一シート片F1mおよび第二シート片F2mが貼合された面とは反対側の面)に第三シート片F3mが貼合されることにより、第三光学部材貼合体PA3が形成される。
ここで、シート片FXm(第一シート片F1m、第二シート片F2mおよび第三シート片F3m)のそれぞれの大きさは、例えば液晶パネルPよりも大きいものとすることができる。なお、シート片FXmにおいて、液晶パネルPの外側にはみ出る部分の大きさ(シート片FXmの余剰部分の大きさ)は、液晶パネルPのサイズに応じて適宜設定される。例えば、シート片FXmを5インチ〜10インチの中小型サイズの液晶パネルPに適用する場合は、シート片FXmの各辺においてシート片FXmの一辺と液晶パネルPの一辺との間の間隔を2mm〜5mmの範囲の長さに設定する。
第二ロータリインデックス16は、第三貼合位置16cから例えば右回りに所定角度だけ回転した位置を第二ロータリ終着位置16bとする。この第二ロータリ終着位置16bにて、搬送装置21による第三光学部材貼合体PA3の搬出がなされる。
搬送装置21は、液晶パネルP(第三光学部材貼合体PA3)を保持して垂直方向及び水平方向で自在に搬送する。搬送装置21は、例えば吸着によって保持した液晶パネルPをコンベヤ27の始発位置27aへ搬送し、始発位置27aで前記吸着を解除して液晶パネルPをコンベヤ27に受け渡す。
コンベヤ27の始発位置27a以降の搬送経路上には、第一切断位置27cが設定されている。この第一切断位置27cにて、第一切断装置41による第三シート片F3mの切断が行われる。第一切断装置41は、液晶パネルPに貼合された第三シート片F3mから液晶パネルPと第三シート片F3mとの貼合面に対応する部分の外側に配置された余剰部分を切り離し、液晶パネルPと第三シート片F3mとの貼合面に対応する大きさの光学部材(第三光学部材F13)を形成する。
第一切断装置41により第三光学部材貼合体PA3から第三シート片F3mの余剰部分が切り離されることにより、液晶パネルPの表裏他方の面に第三光学部材F13が貼合され、且つ、液晶パネルPの表裏一方の面に第一シート片F1mおよび第二シート片F2mが貼合されてなる第四光学部材貼合体PA4が形成される。第三シート片F3mから切り離された余剰部分は、図示略の剥離装置によって液晶パネルPから剥離され回収される。
搬送装置22は、液晶パネルP(第四光学部材貼合体PA4)を保持して垂直方向及び水平方向で自在に搬送する。搬送装置22は、例えば吸着によって保持した液晶パネルPをコンベヤ28の始発位置28aへ搬送し、始発位置28aで前記吸着を解除して液晶パネルPをコンベヤ28に受け渡す。
コンベヤ28の始発位置28a以降の搬送経路上には、第二切断位置28bが設定されている。この第二切断位置28bにて、第二切断装置42よる第一シート片F1mおよび第二シート片F2mの切断が行われる。第二切断装置42は、液晶パネルPに貼合された第一シート片F1m及び第二シート片F2mのそれぞれから液晶パネルPと、第一シート片F1mおよび第二シート片F2mの積層体との貼合面に対応する部分の外側に配置された余剰部分をまとめて切り離し、第一光学部材シートF1からなる第一光学部材F11及び第二光学部材シートF2からなる第二光学部材F12を、液晶パネルPと、第一シート片F1mおよび第二シート片F2mの積層体との貼合面に対応する大きさの光学部材として形成する。
第一シート片F1mと第二シート片F2mを液晶パネルPに貼合した後にまとめてカットすることで、第一光学部材F11と第二光学部材F12との位置ずれがなくなり、表示領域P4の外周縁の形状に合った第一光学部材F11および第二光学部材F12が得られる。また、第一シート片F1mと第二シート片F2mの切断工程も簡略化される。
第二切断装置42により第四光学部材貼合体PA4から第一シート片F1m及び第二シート片F2mの余剰部分が切り離されることにより、液晶パネルPの表裏一方の面に第一光学部材F11および第二光学部材F12が貼合され、且つ、液晶パネルPの表裏他方の面に第三光学部材F13が貼合されてなる第五光学部材貼合体が形成される。第一シート片FX1および第二シート片F2mから切り離された余剰部分は、図示略の剥離装置によって液晶パネルPから剥離され回収される。
ここで、第一切断装置41および第二切断装置42は、例えばCOレーザーカッターである。第一切断装置41および第二切断装置42は、液晶パネルPに貼合されたシート片FXmを表示領域P4の外周縁に沿って無端状に切断する。第一切断装置41と第二切断装置42は、同一のレーザー出力装置43に接続されている。第一切断装置41、第二切断装置42およびレーザー出力装置43によって、シート片FXmから、液晶パネルPとシート片FXmとの貼合面に対応する部分の外側に配置された余剰部分を切り離し、液晶パネルPとシート片FXmとの貼合面に対応する大きさの光学部材F1Xを形成する切断手段40が構成されている。各シート片F1m,F2m,F3mの切断に必要なレーザー出力はそれほど大きくないため、本実施形態では、レーザー出力装置43から出力された高出力のレーザー光を二つに分岐して第一切断装置41と第二切断装置42に供給している。
第二切断位置28b以降の液晶パネルP(第五光学部材貼合体)の搬送経路上には図示略の貼合検査位置が設置されており、この貼合検査位置にて、フィルム貼合がなされたワーク(液晶パネルP)の図示略の検査装置による検査(光学部材F1Xの位置が適正か否か(位置ズレが公差範囲内にあるか否か)等の検査)がなされる。液晶パネルPに対する光学部材F1Xの位置が適正ではないと判定されたワークは、不図示の払い出し手段によりシステム外に排出される。
以上をもってフィルム貼合システム1による貼合工程が完了する。
以下、図5を参照して第一貼合装置13の詳細について説明する。なお、第二及び第三貼合装置15,18も同様の構成を有するものとしてその詳細説明は省略する。
第一貼合装置13は、第一貼合位置11cに搬送された液晶パネルPの上面に対して、第一光学部材シートF1における所定サイズにカットした貼合シートF5のシート片(第一シート片F1m)の貼合を行う。
第一貼合装置13は、第一光学部材シートF1が巻回された原反ロールR1から第一光学部材シートF1を巻き出しつつ第一光学部材シートF1をその長手方向に沿って搬送するシート搬送装置31と、シート搬送装置31が第一光学部材シートF1から切り出した貼合シートF5のシート片(第一シート片F1m)を保持すると共にこのシート片を第一貼合位置11cに搬送された液晶パネルPの上面に貼合する貼合ヘッド32とを備える。
シート搬送装置31は、セパレータシートF3aをキャリアとして貼合シートF5を搬送するもので、帯状の第一光学部材シートF1を巻回した原反ロールR1を保持すると共に第一光学部材シートF1をその長手方向に沿って繰り出す巻き出し部31aと、原反ロールR1から巻き出した第一光学部材シートF1にハーフカットを施すカット部31bと、ハーフカットを施した第一光学部材シートF1を鋭角に巻きかけてセパレータシートF3aから貼合シートF5を分離させるナイフエッジ(剥離部)31cと、ナイフエッジ31cを経て単独となったセパレータシートF3aを巻き取るセパレータロールR2を保持する巻き取り部31dとを有する。
なお、図示は略すが、シート搬送装置31は第一光学部材シートF1を所定の搬送経路に沿うように巻きかける複数のガイドローラを有する。第一光学部材シートF1は、その搬送方向と直交する水平方向(シート幅方向)で、液晶パネルPの表示領域P4の幅(表示領域P4の長辺と短辺のうちいずれか一方の辺の長さ。本実施形態では表示領域P4の長辺長さに相当)よりも広い幅を有している。
シート搬送装置31の始点に位置する巻き出し部31aとシート搬送装置31の終点に位置する巻き取り部31dとは、例えば互いに同期して駆動する。これにより、巻き出し部31aが第一光学部材シートF1をその搬送方向へ繰り出しつつ、巻き取り部31dがナイフエッジ31cを経たセパレータシートF3aを巻き取る。以下、シート搬送装置31における第一光学部材シートF1(セパレータシートF3a)の搬送方向上流側をシート搬送上流側、搬送方向下流側をシート搬送下流側という。
カット部31bは、第一光学部材シートF1が前記シート幅方向と直交する長さ方向で表示領域P4の長さ(表示領域P4の長辺と短辺のうちいずれか他方の辺の長さ。本実施形態では表示領域P4の短辺長さに相当)よりも長い長さが繰り出される毎に、前記シート幅方向に沿って全幅にわたって第一光学部材シートF1の厚さ方向の一部を切断する(ハーフカットを施す)。これにより、第一光学部材シートF1から液晶パネルPの表示領域P4よりも大きい貼合シートF5のシート片(第一シート片F1m)が切り出される。
カット部31bは、第一光学部材シートF1の搬送中に働くテンションによって第一光学部材シートF1(セパレータシートF3a)が破断しないように(所定の厚さがセパレータシートF3aに残るように)、切断刃の進退位置を調整し、粘着層F2aとセパレータシートF3aとの界面の近傍まで前記ハーフカットを施す。なお、切断刃に代わるレーザー装置を用いてもよい。
ハーフカット後の第一光学部材シートF1には、その厚さ方向で光学部材本体F1a及び表面保護フィルムF4aが切断されることにより、第一光学部材シートF1のシート幅方向の全幅にわたる切込線が形成される。第一光学部材シートF1は、前記切込線によって長手方向で表示領域P4の短辺長さ相当の長さを有する区画に分けられる。この区画が、それぞれ貼合シートF5における一つのシート片(第一シート片F1m)となる。
ナイフエッジ31cは、その鋭角状の先端部に第一光学部材シートF1を鋭角に巻きかける。第一光学部材シートF1は、ナイフエッジ31cの先端部で鋭角に折り返す際、第一シート片F1mからセパレータシートF3aを剥離する。このとき、第一シート片F1mの粘着層F2a(液晶パネルPとの貼合面)は下向きとなる。ナイフエッジ31cの先端部の直上はセパレータ剥離位置31eとなり、このナイフエッジ31cの先端部に貼合ヘッド32の円弧状の保持面32aが上方から接することで、第一シート片F1mの表面保護フィルムF4a(貼合面と反対側の面)が貼合ヘッド32の保持面32aに貼着される。
貼合ヘッド32は、前記シート幅方向と平行かつ下方に凸の円弧状の保持面32aを有する。保持面32aは、例えば貼合シートF5の貼合面(粘着層F2a)よりも弱い貼着力を有し、第一シート片F1mの表面保護フィルムF4aを繰り返し貼着、剥離可能とされる。
貼合ヘッド32は、ナイフエッジ31cの上方で前記シート幅方向に沿う軸を中心とするように、前記長さ方向と平行かつ保持面32aの湾曲に沿うように傾動する。貼合ヘッド32の傾動は、第一シート片F1mを貼着保持する際、及び貼着保持した第一シート片F1mを液晶パネルPに貼合する際に適宜なされる。
貼合ヘッド32は、保持面32aを下向きとし、かつ保持面32aの湾曲一端側(図6の右側)が下側となるように傾斜した状態で、保持面32aの湾曲一端側をナイフエッジ31cの先端部に上方から押し付け、セパレータ剥離位置31eにある第一シート片F1mの先端部を保持面32aに貼着させる。その後、第一シート片F1mを繰り出しつつ貼合ヘッド32を傾動させることで、保持面32aに第一シート片F1mの全体が貼着される。
貼合ヘッド32は、セパレータ剥離位置31e及び第一貼合位置11cの上方で所定量昇降可能であり、かつセパレータ剥離位置31eと第一貼合位置11cとの間で適宜移動可能である。貼合ヘッド32は、前記昇降時及び移動時並びに前記傾動時の駆動を可能とする駆動装置33に連結される。
貼合ヘッド32は、保持面32aに第一シート片F1mを貼着させる際には、例えば保持面32aに第一シート片F1mの先端部を貼着させた後に駆動装置33との係合をカットして傾動自在となり、この状態から第一シート片F1mの繰り出しに伴い受動的に傾動する。貼合ヘッド32は、第一シート片F1m全体を保持面32aに貼着させるまで傾動すると、この傾斜姿勢で例えば駆動装置33と係合する等により前記傾動をロックし、この状態で第一貼合位置11cの上方へ移動する。
貼合ヘッド32は、貼着保持した第一シート片F1mを液晶パネルPに貼合する際には、例えば駆動装置33の作動により能動的に傾動し、保持面32aの湾曲に沿って液晶パネルPの上面に第一シート片F1mを押し付けて確実に貼合する。
ナイフエッジ31cの先端部の下方には、当該部位における貼合シートF5のシート搬送下流側の先端を検出する第一検出カメラ34が設けられる。第一検出カメラ34の検出情報は制御装置25に送られる。制御装置25は、例えば第一検出カメラ34が貼合シートF5の下流側端を検出した時点で、シート搬送装置31を一旦停止させ、その後に貼合ヘッド32を下降させてその保持面32aに貼合シートF5の先端部を貼着させる。
制御装置25は、第一検出カメラ34が貼合シートF5の下流側端を検出してシート搬送装置31を一旦停止させたとき、カット部31bによる貼合シートF5のカットを実施する。すなわち、第一検出カメラ34による検出位置(第一検出カメラ34の光軸延長位置)とカット部31bによるカット位置(カット部31bの切断刃進退位置)との間のシート搬送経路に沿う距離が、貼合シートF5のシート片(第一シート片F1m)の長さに相当する。
カット部31bはシート搬送経路に沿って移動可能とされ、この移動により第一検出カメラ34による検出位置とカット部31bによるカット位置との間のシート搬送経路に沿う距離が変化する。カット部31bの移動は制御装置25により制御され、例えばカット部31bによる貼合シートF5の切断後にこれを貼合シートF5のシート片(第一シート片F1m)一つ分だけ巻き出した際、その切断端が所定の基準位置からずれる場合には、このずれをカット部31bの移動により補正する。なお、カット部31bの移動により長さの異なる貼合シートF5のカットに対応してもよい。
第一検出カメラ34は、貼合シートF5に印された欠点マークをも検出する。前記欠点マークは、原反ロールR1製造時に第一光学部材シートF1に発見された欠点箇所に、その表面保護フィルムF4a側からインクジェット等によりマーキングされる。この欠点マークが検出された貼合シートF5(欠点を含む第一シート片F1m)は、貼合ヘッド32に貼着した後、液晶パネルPに貼合せず、第一貼合位置11cを避けた捨貼位置(廃棄位置)に移動して廃材シート等に重ね貼りする。なお、欠点マークを検出した際に貼合シートF5の欠点を含む部分を最小幅でカットし捨貼する工程も有り得る。
なお、光学部材シートFXの欠点は、例えば、光学部材シートFXの内部において固体と液体と気体の少なくとも1つからなる異物が存在する部分や、光学部材シートFXの表面に凹凸やキズが存在する部分、光学部材シートFXの歪や材質の偏り等によって輝点となる部分等である。
貼合ヘッド32がセパレータ剥離位置31eから第一貼合位置11cへ移動する際、保持面32aに貼着保持された第一シート片F1mの例えば前記先端部に対する基端部の両角部は、一対の第二検出カメラ35にそれぞれ撮像される。各第二検出カメラ35の検出情報は制御装置25に送られる。制御装置25は、例えば各第二検出カメラ35の撮像データに基づき、貼合ヘッド32に対する第一シート片F1mの水平方向(貼合ヘッド32の移動方向及びその直交方向並びに垂直軸中心の回転方向)の位置を確認する。貼合ヘッド32及び第一シート片F1mの相対位置にズレがある場合、貼合ヘッド32は第一シート片F1mの位置を所定の基準位置とするべくアライメントを行う。
第一ロータリインデックス11の第一貼合位置11cには、第一貼合位置11c上の液晶パネルPの水平方向のアライメントを行うための一対の第三検出カメラ36が設けられる。第一ロータリインデックス11の第二貼合位置11dには、同じく液晶パネルPの第二貼合位置11d上の水平方向のアライメントを行うための一対の第四検出カメラ(図示略)が設けられ、第二ロータリインデックス16の第三貼合位置16cには、同じく液晶パネルPの第三貼合位置16c上の水平方向のアライメントを行うための一対の第五検出カメラ(図示略)が設けられる。各検出カメラの検出情報は制御装置25に送られる。なお、各検出カメラに代わるセンサを用いることも可能である。
各ロータリインデックス11,16上には、液晶パネルPを載置すると共にその水平方向のアライメントを可能とするアライメントテーブル39が設けられる。アライメントテーブル39は、各検出カメラの検出情報に基づき制御装置25によって駆動制御される。
これにより、各ロータリインデックス11,16(各貼合位置11c,11d,16c)に対する液晶パネルPのアライメントがなされる。
この液晶パネルPに対し、貼合ヘッド32によるアライメントがなされた貼合シートF5(シート片FXm)を貼合することで、光学部材F1Xの貼合バラツキが抑えられ、液晶パネルPに対する光学部材F1Xの光学軸方向の精度が向上し、光学表示デバイスの精彩及びコントラストが高まる。
ここで、光学部材シートFXを構成する偏光子フィルムは、例えば二色性色素で染色したPVAフィルムを一軸延伸して形成されるが、延伸する際のPVAフィルムの厚さのムラや二色性色素の染色ムラ等に起因して、光学部材シートFXの面内に学軸方向のばらつきが生じる場合がある。
そこで、本実施形態では、記憶装置24(図1参照)に予め記憶した光学部材シートFXの各部における光学軸の面内分布の検査データに基づき、制御装置25が、光学部材シートFXに対する液晶パネルPの貼合位置(相対貼合位置)を決定する。そして、各貼合装置13,15,18は、この貼合位置に合わせて、光学部材シートFXから切り出したシート片FXmに対する液晶パネルPのアライメントを行い、シート片FXmに液晶パネルPを貼合する。
液晶パネルPに対するシート片FXmの貼合位置(相対貼合位置)の決定方法は、例えば次のとおりである。
まず、図6(a)に示すように、光学部材シートFXの幅方向に複数の検査ポイントCPを設定し、各検査ポイントCPにおいて光学部材シートFXの光学軸の方向を検出する。光学軸を検出するタイミングは、原反ロールR1の製造時でもよく、原反ロールR1から光学部材シートFXを巻き出してハーフカットするまでの間でもよい。光学部材シートFXの光学軸方向のデータは、光学部材シートFXの位置(光学部材シートFXの長手方向の位置および幅方向の位置)と関連付けられて記憶装置24(図1参照)に記憶される。
制御装置25は、記憶装置24から各検査ポイントCPの光学軸のデータ(光学軸の面内分布の検査データ)を取得し、シート片FXmが切り出される部分の光学部材シートFX(切込線CLによって区画される領域)の平均的な光学軸の方向を検出する。
例えば、図6(b)に示すように、光学軸の方向と光学部材シートFXのエッジラインELとのなす角度(ずれ角)を検査ポイントCP毎に検出し、前記ずれ角のうち最も大きな角度(最大ずれ角)をθmaxとし、最も小さな角度(最小ずれ角)をθminとしたときに、最大ずれ角θmaxと最小ずれ角θminとの平均値θmid(=(θmax+θmin)/2)を平均ずれ角として検出する。そして、光学部材シートFXのエッジラインELに対して平均ずれ角θmidをなす方向を光学部材シートFXの平均的な光学軸の方向として検出する。なお、前記ずれ角は、例えば、光学部材シートFXのエッジラインELに対して左回りの方向を正とし、右回りの方向を負として算出される。
そして、上記の方法で検出された光学部材シートFXの平均的な光学軸の方向が、液晶パネルPの表示領域P4の長辺または短辺に対して所望の角度をなすように、液晶パネルPに対するシート片FXmの貼合位置(相対貼合位置)が決定される。例えば、設計仕様によって光学部材F1Xの光学軸の方向が表示領域P4の長辺または短辺に対して90°をなす方向に設定されている場合には、光学部材シートFXの平均的な光学軸の方向が表示領域P4の長辺又は短辺に対して90°をなすように、シート片FXmが液晶パネルPに貼合される。
図7および図8に示すように、切断装置41,42は、後述する検出装置で検出された、液晶パネルPと、液晶パネルPに貼合されたシート片FXmと、の貼合面の外周縁に沿って、液晶パネルPに貼合されたシート片FXmを無端状に切断する。表示領域P4の外側には、液晶パネルPの第一及び第二基板を接合するシール剤等を配置する所定幅の額縁部Gが設けられており、この額縁部Gの幅内で切断装置41,42によるシート片FXmの切断(カットライン:WCL、図6(b)参照)が行われる。
このような、貼合面の外周縁の検出および切断装置による切断は、詳しくは以下のようにして行う。
図11は、貼合面の外周縁を検出する第一検出装置(検出装置)81の模式図である。本実施形態のフィルム貼合システム1が備える第一検出装置81は、第三光学部材貼合体PA3における、液晶パネルPと、第三シート片F3mとの貼合面(以下、第一貼合面(貼合面)SA1と称することがある。)の外周縁EDの画像を撮像する撮像装置83と、外周縁EDを照明する照明光源84と、撮像装置83で撮像した画像の記憶や、画像に基づいて外周縁EDを検出するための演算を行う制御部85と、を有する。
このような第一検出装置81は、図1における第一切断装置41のパネル搬送上流側であって、コンベヤ27の始発位置27aと第一切断位置27cとの間に設けられている。
撮像装置83は、外周縁EDよりも第一貼合面SA1の内側に固定して配置されており、第一貼合面SA1の法線と、撮像装置83の撮像面83aの法線とが、角度θ(以下、撮像装置83の傾斜角度θと称する)をなすように傾斜した姿勢となっている。撮像装置83は、撮像面83aを外周縁EDに向け、第三光学部材貼合体PA3において第三シート片F1mが貼合された側から外周縁EDの画像を撮像する。
撮像装置83の傾斜角度θは、第一貼合面SA1をなす第二基板P2の外周縁を確実に撮像できるように設定することが好ましい。例えば、液晶パネルPが、マザーパネルを複数枚の液晶パネルに分割する、いわゆる多面取りで形成されている場合、液晶パネルPを構成する第一基板P1と第二基板P2との外周縁にずれが生じ、第一基板P1の端面が第二基板P2の端面よりも外側にずれることがある。このような場合、撮像装置83の傾斜角度θは、撮像装置83の撮像視野内に第一基板P1の外周縁が入り込まないように設定することが好ましい。
このような場合、撮像装置83の傾斜角度θは、第一貼合面SA1と撮像装置83の撮像面83aの中心との間の距離H(以下、撮像装置83の高さHと称する)に適合するように設定されることが好ましい。例えば、撮像装置83の高さHが50mm以上100mm以下の場合、撮像装置83の傾斜角度θは、5°以上20°以下の範囲の角度に設定されることが好ましい。ただし、経験的にずれ量が分かっている場合には、そのずれ量に基づいて撮像装置83の高さH及び撮像装置83の傾斜角度θを求めることができる。本実施形態では、撮像装置83の高さHが78mm、撮像装置83の傾斜角度θが10°に設定されている。
撮像装置83の傾斜角度θは、0°であってもよい。図12は、第一検出装置81の変形例を示す模式図であり、撮像装置83の傾斜角度θが0°である場合の例である。この場合、撮像装置83及び照明光源84の各々が、第一貼合面SA1の法線方向に沿って外周縁EDに重なる位置に配置されていてもよい。
第一貼合面SA1と撮像装置83の撮像面83aの中心との間の距離H1(以下、撮像装置83の高さH1と称する)は、第一貼合面SA1の外周縁EDを検出しやすい位置に設定されることが好ましい。例えば、撮像装置83の高さH1は、50mm以上150mm以下の範囲に設定されることが好ましい。
照明光源84は、第三光学部材貼合体PA3における第三シート片F3mが貼合された側とは反対側に固定して配置されている。照明光源84は、外周縁EDよりも第一貼合面SA1の外側に配置されている。本実施形態では、照明光源84の光軸と撮像装置83の撮像面83aの法線とが平行になっている。
なお、照明光源84は、第三光学部材貼合体PA3における第三シート片F3mが貼合された側(すなわち、撮像装置83と同じ側)に配置されていてもよい。
また、照明光源84から射出される照明光により、撮像装置83が撮像する外周縁EDが照明されていれば、照明光源84の光軸と撮像装置83の撮像面83aの法線とが交差していてもよい。
図13は、貼合面の外周縁を検出する位置を示す平面図である。図に示す第三光学部材貼合体PA3の搬送経路上(コンベヤ27による搬送経路上)には、検査領域CAが設定されている。検査領域CAは、搬送される第三光学部材貼合体PA3における、第一貼合面SA1の外周縁EDに対応する位置に設定されている。図では、検査領域CAは、平面視矩形の第一貼合面SA1の4つの角部に対応する4箇所に設定されており、第一貼合面SA1の角部を外周縁EDとして検出する構成となっている。図では、第一貼合面SA1の外周縁のうち、角部に対応する鉤状の部分を外周縁EDとして示している。
図11の第一検出装置81は、4箇所の検査領域CAにおいて外周縁EDを検出する。具体的には、各検査領域CAには、それぞれ撮像装置83および照明光源84が配置されており、第一検出装置81は、搬送される液晶パネルPごとに第一貼合面SA1の角部を撮像し、撮像データに基づいて外周縁EDを検出する。検出された外周縁EDのデータは、図11に示す制御部85に記憶される。
なお、第一貼合面SA1の外周縁が検出可能であれば、検査領域CAの設定位置はこれに限らない。例えば、各検査領域CAが、第一貼合面SA1の各辺の一部(例えば各辺の中央部)に対応する位置に配置されていてもよい。この場合、第一貼合面SA1の各辺(四辺)を外周縁として検出する構成となる。
また、撮像装置83および照明光源84は、各検査領域CAに配置されている構成に限らず、第一貼合面SA1の外周縁EDに沿うように設定された移動経路を移動可能である構成であってもよい。この場合、撮像装置83と照明光源84とが各検査領域CAに位置した際に外周縁EDを検出する構成とすることで、撮像装置83と照明光源84とがそれぞれ1つずつ設けられていれば、外周縁EDの検出が可能となる。
第一切断装置41による第三シート片F3mについてのカット位置は、第一貼合面SA1の外周縁EDの検出結果に基づいて設定される。
例えば、図11に示す制御部85が、記憶された第一貼合面SA1の外周縁EDのデータに基づいて、形成される第三光学部材F13が液晶パネルPの外側(第一貼合面SA1の外側)にはみ出さない大きさとなるように第三シート片F3mのカット位置を設定する構成とすることができる。また、カット位置の設定は、必ずしも第一検出装置81の制御部85で行う必要はなく、第一検出装置81で検出した外周縁EDのデータを用い、別途計算手段を用いて行うこととしても構わない。
第一切断装置41は、制御部85によって設定されたカット位置において第三シート片F3mを切断する。
図1に戻り、第一切断装置41は、液晶パネルPに貼合された第三シート片F3mのうち第一貼合面SA1に対応する部分と、その外側の余剰部分とを、検出された外周縁EDに基づいて設定されたカット位置に沿って切り離し、第一貼合面SA1に対応する大きさの第三光学部材F13(図3参照)を切り出す。これにより、液晶パネルPの表裏他方の面に第三光学部材F13が貼合され、且つ、液晶パネルPの表裏一方の面に第一シート片F1mおよび第二シート片F2mが貼合されてなる第四光学部材貼合体PA4が形成される。
ここで、「第一貼合面SA1に対応する部分」とは、第三シート片F3mにおいて、対向する液晶パネルPの表示領域の大きさ以上、液晶パネルPの外形状(平面視における輪郭形状)の大きさ以下の領域であって、かつ液晶パネルPにおける電気部品取付部等の機能部分を避けた領域を指す。
本実施形態では、平面視矩形状の液晶パネルPにおける機能部分を除いた三辺では、液晶パネルPの外周縁に沿って余剰部分をレーザーカットし、機能部分に相当する一辺では、液晶パネルPの外周縁から表示領域P4側に適宜入り込んだ位置で余剰部分をレーザーカットする構成を採用できる。例えば、第1基板P1がTFT基板の場合、機能部分に相当する一辺では機能部分を除くよう液晶パネルPの外周縁から表示領域P4側に所定量ずれた位置でカットする構成を採用できる。
また、予め液晶パネルPにおける機能部分を避けた領域に第三シート片F3mを貼合し、その後、平面視矩形状の液晶パネルPにおける機能部分を除いた三辺において、液晶パネルPの外周縁に沿って余剰部分をレーザーカットしてもよい。
図14は、貼合面の外周縁を検出する第二検出装置82の模式図である。本実施形態のフィルム貼合システム1が備える第二検出装置82は、第四光学部材貼合体PA4における、液晶パネルPと、第一シート片F1mおよび第二シート片F2mの積層体と、の貼合面(以下、第二貼合面(貼合面)SA2と称することがある。)の外周縁EDの画像を撮像する撮像装置83と、外周縁EDを照明する照明光源84と、撮像装置83で撮像した画像を記憶し、画像に基づいて外周縁EDを検出するための演算を行う制御部85と、を有する。第二検出装置82は、上述の第一検出装置81と同様の構成を有している。
このような第二検出装置82は、図1における第二切断装置42のパネル搬送上流側であって、コンベヤ28の始発位置28aと第二切断位置28bとの間に設けられている。第二検出装置82は、第四光学部材貼合体PA4の搬送経路上において設定された検査領域において、上述の第一検出装置81と同様にして第二貼合面SA2の外周縁EDを検出する。
第二切断装置42による第一シート片F1mおよび第二シート片F2mの積層体のカット位置は、第二貼合面SA2の外周縁EDの検出結果に基づいて設定される。
例えば、図14に示す制御部85は、記憶された第二貼合面SA2の外周縁EDのデータに基づいて、形成される第一光学部材F11および第二光学部材F12が液晶パネルPの外側(第二貼合面SA2の外側)にはみ出さない大きさとなるように、第一シート片F1mおよび第二シート片F2mの積層体のカット位置を設定する構成とすることができる。また、カット位置の設定は、必ずしも第二検出装置82の制御部85で行う必要はなく、第二検出装置82で検出した外周縁EDのデータを用い、別途計算手段を用いて行うこととしても構わない。
第二切断装置42は、制御部85によって設定されたカット位置において第一シート片F1mおよび第二シート片F2mの積層体を切断する。
第二切断装置42は、液晶パネルPに貼合された第一シート片F1mおよび第二シート片F2mの積層体のうち、第二貼合面SA2に対応する部分と、その外側の余剰部分とを、検出された外周縁EDに沿って切り離し、第二貼合面SA2に対応する大きさの第一光学部材F11および第二光学部材F12(図3参照)を切り出す。
ここで、「第二貼合面SA2に対応する部分」とは、第一シート片F1mおよび第二シート片F2mの積層体において、対向する液晶パネルPの表示領域の大きさ以上、液晶パネルPの外形状(平面視における輪郭形状)の大きさ以下の領域であって、かつ液晶パネルPにおける電気部品取付部等の機能部分を避けた領域を指す。
以上の操作により、液晶パネルPの表裏他方の面に第三光学部材F13が貼合され、且つ、液晶パネルPの表裏一方の面に第一光学部材F11および第二光学部材F12が貼合されてなる第五光学部材貼合体が形成される。
以上説明したように、上記実施形態におけるフィルム貼合システム1は、液晶パネルPの表裏両面に液晶パネルPの表示領域P4よりも大きい光学部材シートFXのシート片FXmをそれぞれ貼合する貼合装置13,15,18と、液晶パネルPの表裏両面にそれぞれ貼合されたシート片FXmから、液晶パネルPとシート片FXmとの貼合面に対応する部分の外側に配置された余剰部分を切り離し、液晶パネルPとシート片FXmとの貼合面に対応する大きさの光学部材F1Xを液晶パネルPの表裏両面にそれぞれ形成する切断装置41,42と、を備えている。そのため、光学部材F1Xを表示領域P4の際まで精度よく設けることが可能となり、表示領域P4外側の額縁部G(図3参照)を狭めて表示エリアの拡大及び機器の小型化が図られる。
また、上記フィルム貼合システム1は、光学部材シートFXの光学軸方向の検査データに基づき、液晶パネルPとシート片FXmとの相対貼合位置を決定する制御装置25を備え、貼合装置13,15,18は、制御装置25が決定した相対貼合位置に基づき、シート片FXmを液晶パネルPに貼合する。そのため、光学部材シートFXの面内において光学軸方向にばらつきが存在する場合でも、その光学軸方向のばらつきに応じて、シート片FXmと液晶パネルPとの相対貼合位置を適切に調整することができる。これにより、液晶パネルPに対する光学部材F1Xの光学軸方向の精度を向上させることができ、光学表示デバイスの精彩及びコントラストを高めることができる。
また、上記フィルム貼合システム1においては、貼合装置13,15,18は、光学部材シートFXを原反ロールR1からセパレータシートF3aと共に巻き出す巻き出し部31aと、光学部材シートFXをセパレータシートF3aを残してカットしてシート片FXmとするカット部31bと、シート片FXmをセパレータシートF3aから剥離させるナイフエッジ31cと、シート片FXmを保持面32aに貼り付けて保持すると共に、保持面32aに保持したシート片FXmを液晶パネルPに貼合する貼合ヘッド32と、を有する。そのため、シート片FXmの連続的な貼合が容易になり、光学表示デバイスの生産効率を高めることができる。また、貼合ヘッド32として円弧状の保持面32aを有するものを用いているため、円弧状の保持面32aの傾動によりシート片FXmをスムーズに保持できると共に、同じく円弧状の保持面32aの傾動によりシート片FXmを液晶パネルPに確実に貼合することができる。
また、上記フィルム貼合システム1においては、第一切断装置41および第二切断装置42は、レーザーカッターであり、第一切断装置41および第二切断装置42は、同一のレーザー出力装置40に接続されており、レーザー出力装置40から出力されたレーザーが第一切断装置41および第二切断装置42に分岐されて供給される。そのため、第一切断装置41と第二切断装置42のそれぞれに別々のレーザー出力装置を接続する場合に比べて、光学表示デバイスの生産システムの小型化を図ることができる。
[第二実施形態]
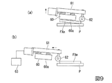
図9は、第二実施形態のフィルム貼合システムに適用される貼合装置の模式図である。
図9(a)は、シート片FXmを貼合ヘッド60に保持した状態を示す図であり、図9(b)は、シート片FXmを液晶パネルPに貼合した状態を示す図である。
本実施形態において第一実施形態と異なる点は、第一実施形態の貼合装置が円弧状の保持面32aを有する貼合ヘッド32を用いたのに対し、本実施形態の貼合装置が平面状の保持面60aを有する貼合ヘッド60を用いている点である。よって、ここでは、貼合ヘッド60の構成を中心に説明し、第一実施形態と共通する構成要素については、同じ符号を付し、詳細な説明は省略する。
本実施形態の貼合装置は、貼合ヘッド60と、貼合ローラ62と、貼合ヘッド60および貼合ローラ62を支持するガイドバー61と、ガイドバー61を液晶パネルPに対して傾動させた状態で水平移動させる駆動装置63と、を有する。図示はしないが、本実施形態の貼合装置には、図5に示したものと同様の巻き出し部、カット部およびナイフエッジ(剥離部)が設けられている。
貼合ヘッド60は、セパレータシートから剥離されたシート片FXmを保持する平面状の保持面60aを有する。保持面60aは、ガイドバー61が傾動することにより、液晶パネルPに対して傾斜する。シート片FXmは、その一端部が保持面60aの外側にはみ出すように位置決めされ、保持面60aに吸着される。シート片FXmの吸着力は弱く、シート片FXmは保持面60aに保持された状態で、保持面60a上を滑るようにして水平方向に移動することができる。
貼合ローラ62は、貼合ヘッド60の側方に配置され、貼合ヘッド60の保持面60aからはみ出したシート片FXmを液晶パネルPに押し付けて貼着する。この状態で駆動装置63によりガイドバー61を水平方向に移動させると、シート片FXmの前記一端部が液晶パネルPに貼着された状態で貼合ヘッド60および貼合ローラ62がシート片FXmの前記一端部側から他端部側に向けて水平移動する。これにより、シート片FXmが貼合ローラ62によって一端部側から徐々に液晶パネルPに貼合される。
貼合ヘッド60は、保持面60aに保持したシート片FXmを、水平方向でヘッド移動方向及びその直交方向並びに回転方向でアライメントする。シート片FXmと液晶パネルPとの貼合位置(相対貼合位置)は、第一実施形態と同様に、光学部材シートFXの光学軸方向の検査データに基づいて制御装置25(図1参照)が決定する。貼合ヘッド60は、制御装置25が決定した相対貼合位置に基づき、保持面60aに保持したシート片FXmを液晶パネルPに貼合する。
よって、本実施形態においても、表示領域周辺の額縁部を縮小して表示エリアの拡大及び機器の小型化を図ることができる光学表示デバイスの生産システムが提供できる。
[第一変形形態]
上記実施形態では、切断装置41,42の一例としてCOレーザーを用いたが、切断装置41,42はこれに限定されない。切断刃などの他の切断手段を切断装置41,42として用いることも可能である。
例えば、図10に示すように、第一基板P1がその外周縁の三辺を第二基板P2の対応する三辺に沿わせると共に、外周縁の残りの一辺を第二基板P2の対応する一辺よりも外側に張り出させるように形成されている場合には、第二基板P2の大きさは表示領域P4の大きさと概ね一致するため、切断刃を第二基板P2の外周に沿って移動させれば、第二基板P2に接合されたシート片F3mを、液晶パネルPとシート片F3mとの貼合面に対応する大きさの光学部材F13として形成することができる。
この場合、シート片F3mの余剰部分は液晶パネルPに対して面で接着される部分が殆どなく、光学部材F13とその周辺の余剰部分とは概ね粘着層F2aの粘着力のみによって接着される。そのため、シート片F3mの余剰部分を液晶パネルPから剥離し回収する装置も余剰部分の端部をつまんで引っ張るだけの簡単な構成でよく、装置構成が簡単になる。また、上記実施形態では、シート片F1m,F2mの余剰部分とシート片F3mの余剰部分とを別々の工程で液晶パネルPから剥離し回収したが、シート片F3mの余剰部分の回収が非常に容易であることから、シート片F1m,F2mの余剰部分を液晶パネルPから剥離し回収する際にシート片F3mの余剰部分をまとめて液晶パネルPから剥離し回収することも可能となる。その場合、余剰部分の剥離装置を2箇所に設ける必要がないので、光学表示デバイスの生産システムを小型化することができる。
[第二変形形態]
上記実施形態では、液晶パネルPに対するシート片FXmの貼合位置(相対貼合位置)の決定方法として、光学部材シートFXの面内の平均的な光学軸の方向を用いる方法を説明した。上記実施形態では、光学部材シートFXの面内の最大ずれ角θmaxと最小ずれ角θminとの平均値θmidを平均ずれ角とした場合に、光学部材シートFXのエッジラインに対して平均ずれ角θmidをなす方向を光学部材シートFXの面内の平均的な光学軸の方向として検出したが、光学部材シートFXの面内の平均的な光学軸の方向の検出方法はこれに限定されない。
例えば、光学部材シートFXの幅方向に設定された複数の検査ポイントCP(図6(a)参照)の中から一または複数の検査ポイントCPを選択し、選択された検査ポイントCP毎に、光学軸の方向と光学部材シートFXのエッジラインELとのなす角度(ずれ角)を検出する。そして、選択された一または複数の検査ポイントCPの光学軸方向のずれ角の平均値を平均ずれ角として検出し、光学部材シートFXのエッジラインELに対して前記平均ずれ角をなす方向を光学部材シートFXの平均的な光学軸の方向として検出してもよい。
[第三変形形態]
上記実施形態では、液晶パネルPにシート片FXmを貼合する方法として貼合ヘッド32,60を用いる方法を説明したが、本発明はこれに限定されない。貼合ヘッド32,60を介さずに、ナイフエッジ31cでセパレータシートF3aから剥離されたシート片FXmを貼合ロールなどで直接液晶パネルPに貼合する方法を用いてもよい。
上記実施形態のフィルム貼合システム1では、検出装置を用いて複数の液晶パネルPごとに貼合面の外周縁を検出し、検出した外周縁に基づいて、個々の液晶パネルPごとに貼合したシート片FXmの切断位置を設定する。これにより、液晶パネルPやシート片FXmの大きさの個体差によらず所望の大きさの光学部材を切り離すことができるため、液晶パネルPやシート片FXmの大きさの個体差による品質バラツキをなくし、表示領域周辺の額縁部を縮小して表示エリアの拡大及び機器の小型化を図ることができる。
1…フィルム貼合システム(光学表示デバイスの生産システム)、13…第一貼合装置(貼合手段)、15…第二貼合装置(貼合手段)、18…第三貼合装置(貼合手段)、25…制御装置、31…シート搬送装置、31a…巻き出し部、31b…カット部、31c…ナイフエッジ(剥離部)、32…貼合ヘッド、32a…保持面、40…切断手段、41…第一切断装置(切断手段)、42…第二切断装置(切断手段)、43…レーザー出力装置、60…貼合ヘッド、60a…保持面、81…第一検出装置(検出装置)、82…第二検出装置(検出装置)、P…液晶パネル(光学表示部品)、P4…表示領域、F1…第一光学部材シート(光学部材シート)、F2…第二光学部材シート(光学部材シート)、F3…第三光学部材シート(光学部材シート)、FX…光学部材シート、F3a…セパレータシート、F11…第一光学部材(光学部材)、F12…第二光学部材(光学部材)、F13…第三光学部材(光学部材)、F1X…光学部材、F1m…第一シート片、F2m…第二シート片、F3m…第三シート片、FXm…シート片、R1…原反ロール、PA3…第三光学部品貼合体(貼合体)、PA4…第四光学部品貼合体(貼合体)、ED…第一貼合面の外周縁、第二貼合面の外周縁、SA1…第一貼合面(貼合面)、SA2…第二貼合面(貼合面)

Claims (5)

  1. 光学表示部品に光学部材を貼合してなる光学表示デバイスの生産システムであって、
    前記光学表示部品の表裏両面に前記光学表示部品の表示領域よりも大きい光学部材シートのシート片をそれぞれ貼合して貼合体とする貼合手段と、
    前記貼合体において、前記シート片と前記光学表示部品との貼合面の外周縁を検出する検出装置と、
    前記貼合体において、前記光学表示部品の表裏両面にそれぞれ貼合された前記シート片から前記貼合面に対応する部分の外側に配置された余剰部分を、前記外周縁に沿って切り離し、前記貼合面に対応する大きさの前記光学部材を前記光学表示部品の表裏両面にそれぞれ形成する切断手段と、を備えている光学表示デバイスの生産システム。
  2. 前記光学部材シートの光学軸方向の検査データに基づき、前記光学表示部品と前記シート片との相対貼合位置を決定する制御装置を備え、
    前記貼合手段は、前記制御装置が決定した相対貼合位置に基づき、前記シート片を前記光学表示部品に貼合する請求項1に記載の光学表示デバイスの生産システム。
  3. 前記貼合手段は、光学部材シートを原反ロールからセパレータシートと共に巻き出す巻き出し部と、前記光学部材シートを前記セパレータシートを残してカットしてシート片とするカット部と、前記シート片を前記セパレータシートから剥離させる剥離部と、前記シート片を保持面に貼り付けて保持すると共に、前記保持面に保持した前記シート片を前記光学表示部品に貼合する貼合ヘッドと、を有する請求項1又は2に記載の光学表示デバイスの生産システム。
  4. 前記光学表示部品の表裏両面に貼合された前記シート片からそれぞれ切り離された前記余剰部分がまとめて前記光学表示部品から剥離される請求項1から3の何れか一項に記載の光学表示デバイスの生産システム。
  5. 前記切断手段は、前記光学表示部品の表裏一方の面に貼合されたシート片から前記余剰部分を切り離す第一切断装置と、前記光学表示部品の表裏他方の面に貼合されたシート片から前記余剰部分を切り離す第二切断装置と、を有し、
    前記第一切断装置および前記第二切断装置は、レーザーカッターであり、
    前記第一切断装置および前記第二切断装置は、同一のレーザー出力装置に接続されており、前記レーザー出力装置から出力されたレーザーが前記第一切断装置および前記第二切断装置に分岐されて供給される請求項1から4の何れか一項に記載の光学表示デバイスの生産システム。
JP2013105589A 2013-05-17 2013-05-17 光学表示デバイスの生産システム Active JP6193618B2 (ja)

Priority Applications (3)

Application Number Priority Date Filing Date Title
JP2013105589A JP6193618B2 (ja) 2013-05-17 2013-05-17 光学表示デバイスの生産システム
PCT/JP2014/063048 WO2014185513A1 (ja) 2013-05-17 2014-05-16 光学表示デバイスの生産システム
TW103117260A TW201506491A (zh) 2013-05-17 2014-05-16 光學顯示設備之生產系統

Applications Claiming Priority (1)

Application Number Priority Date Filing Date Title
JP2013105589A JP6193618B2 (ja) 2013-05-17 2013-05-17 光学表示デバイスの生産システム

Publications (2)

Publication Number Publication Date
JP2014228564A true JP2014228564A (ja) 2014-12-08
JP6193618B2 JP6193618B2 (ja) 2017-09-06

Family

ID=51898488

Family Applications (1)

Application Number Title Priority Date Filing Date
JP2013105589A Active JP6193618B2 (ja) 2013-05-17 2013-05-17 光学表示デバイスの生産システム

Country Status (3)

Country Link
JP (1) JP6193618B2 (ja)
TW (1) TW201506491A (ja)
WO (1) WO2014185513A1 (ja)

Citations (6)

* Cited by examiner, † Cited by third party
Publication number Priority date Publication date Assignee Title
JPH0887007A (ja) * 1994-09-19 1996-04-02 Ookubo Seisakusho:Kk 偏光板の貼り付け装置
JP2005043384A (ja) * 2002-07-04 2005-02-17 Fuji Photo Film Co Ltd 偏光板貼合方法及び装置
WO2006129523A1 (ja) * 2005-05-30 2006-12-07 Sharp Kabushiki Kaisha 液晶表示装置の製造方法および液晶表示装置の製造装置
JP2007288010A (ja) * 2006-04-19 2007-11-01 Lintec Corp シート切断装置及び切断方法
JP2012247714A (ja) * 2011-05-30 2012-12-13 V Technology Co Ltd 基板への光学フィルム貼付装置
JP2016013557A (ja) * 2013-02-13 2016-01-28 住友化学株式会社 レーザー光照射装置及び光学部材貼合体の製造装置

Patent Citations (6)

* Cited by examiner, † Cited by third party
Publication number Priority date Publication date Assignee Title
JPH0887007A (ja) * 1994-09-19 1996-04-02 Ookubo Seisakusho:Kk 偏光板の貼り付け装置
JP2005043384A (ja) * 2002-07-04 2005-02-17 Fuji Photo Film Co Ltd 偏光板貼合方法及び装置
WO2006129523A1 (ja) * 2005-05-30 2006-12-07 Sharp Kabushiki Kaisha 液晶表示装置の製造方法および液晶表示装置の製造装置
JP2007288010A (ja) * 2006-04-19 2007-11-01 Lintec Corp シート切断装置及び切断方法
JP2012247714A (ja) * 2011-05-30 2012-12-13 V Technology Co Ltd 基板への光学フィルム貼付装置
JP2016013557A (ja) * 2013-02-13 2016-01-28 住友化学株式会社 レーザー光照射装置及び光学部材貼合体の製造装置

Also Published As

Publication number Publication date
JP6193618B2 (ja) 2017-09-06
WO2014185513A1 (ja) 2014-11-20
TW201506491A (zh) 2015-02-16

Similar Documents

Publication Publication Date Title
JP5692712B2 (ja) 光学表示デバイスの生産システム
CN104204918B (zh) 光学显示设备的生产系统
TWI661928B (zh) 光學顯示裝置之生產系統
JP5804404B2 (ja) 光学表示デバイスの生産システム及び光学表示デバイスの生産方法
JP5724147B2 (ja) 光学表示デバイスの生産システム
JP6182805B2 (ja) 光学表示デバイスの生産システム
KR102110007B1 (ko) 광학 표시 디바이스의 생산 시스템 및 생산 방법
WO2014129353A1 (ja) 光学表示デバイスの生産システム及び生産方法
JP6223439B2 (ja) 光学表示デバイスの生産システム
JP5618283B2 (ja) 光学表示デバイスの生産システム及び光学表示デバイスの生産方法
JP2014157344A (ja) 光学表示デバイスの生産システム
JP6193618B2 (ja) 光学表示デバイスの生産システム

Legal Events

Date Code Title Description
A621 Written request for application examination

Free format text: JAPANESE INTERMEDIATE CODE: A621

Effective date: 20160502

A131 Notification of reasons for refusal

Free format text: JAPANESE INTERMEDIATE CODE: A131

Effective date: 20170104

A521 Request for written amendment filed

Free format text: JAPANESE INTERMEDIATE CODE: A523

Effective date: 20170203

TRDD Decision of grant or rejection written
A01 Written decision to grant a patent or to grant a registration (utility model)

Free format text: JAPANESE INTERMEDIATE CODE: A01

Effective date: 20170801

A61 First payment of annual fees (during grant procedure)

Free format text: JAPANESE INTERMEDIATE CODE: A61

Effective date: 20170810

R150 Certificate of patent or registration of utility model

Ref document number: 6193618

Country of ref document: JP

Free format text: JAPANESE INTERMEDIATE CODE: R150

S531 Written request for registration of change of domicile

Free format text: JAPANESE INTERMEDIATE CODE: R313531

R350 Written notification of registration of transfer

Free format text: JAPANESE INTERMEDIATE CODE: R350