JP2014123784A - 発光装置およびその製造方法 - Google Patents

発光装置およびその製造方法 Download PDF

Info

Publication number
JP2014123784A
JP2014123784A JP2014075400A JP2014075400A JP2014123784A JP 2014123784 A JP2014123784 A JP 2014123784A JP 2014075400 A JP2014075400 A JP 2014075400A JP 2014075400 A JP2014075400 A JP 2014075400A JP 2014123784 A JP2014123784 A JP 2014123784A
Authority
JP
Japan
Prior art keywords
resin
light
plate
light emitting
transparent plate
Prior art date
Legal status (The legal status is an assumption and is not a legal conclusion. Google has not performed a legal analysis and makes no representation as to the accuracy of the status listed.)
Granted
Application number
JP2014075400A
Other languages
English (en)
Other versions
JP5830561B2 (ja
Inventor
Wakako Shinno
和香子 新野
Kazuhiko Ueno
一彦 上野
Kozaburo Ito
功三郎 伊藤
Current Assignee (The listed assignees may be inaccurate. Google has not performed a legal analysis and makes no representation or warranty as to the accuracy of the list.)
Stanley Electric Co Ltd
Original Assignee
Stanley Electric Co Ltd
Priority date (The priority date is an assumption and is not a legal conclusion. Google has not performed a legal analysis and makes no representation as to the accuracy of the date listed.)
Filing date
Publication date
Application filed by Stanley Electric Co Ltd filed Critical Stanley Electric Co Ltd
Priority to JP2014075400A priority Critical patent/JP5830561B2/ja
Publication of JP2014123784A publication Critical patent/JP2014123784A/ja
Application granted granted Critical
Publication of JP5830561B2 publication Critical patent/JP5830561B2/ja
Active legal-status Critical Current
Anticipated expiration legal-status Critical

Links

Images

Classifications

    • HELECTRICITY
    • H01ELECTRIC ELEMENTS
    • H01LSEMICONDUCTOR DEVICES NOT COVERED BY CLASS H10
    • H01L2224/00Indexing scheme for arrangements for connecting or disconnecting semiconductor or solid-state bodies and methods related thereto as covered by H01L24/00
    • H01L2224/73Means for bonding being of different types provided for in two or more of groups H01L2224/10, H01L2224/18, H01L2224/26, H01L2224/34, H01L2224/42, H01L2224/50, H01L2224/63, H01L2224/71
    • H01L2224/732Location after the connecting process
    • H01L2224/73251Location after the connecting process on different surfaces
    • H01L2224/73253Bump and layer connectors

Landscapes

  • Led Device Packages (AREA)

Abstract

【課題】複数の発光素子を搭載した構成でありながら、輝度ムラや色度ムラが小さく、かつ、光の取り出し効率に優れた発光装置を提供する。
【解決手段】基板上に実装された発光素子の上面を未硬化の樹脂で覆い、その上に板状部材を配置する第1工程と、樹脂および板状部材の側面の周囲に、未硬化の状態で流動性のある反射性樹脂材料を充填することにより、板状部材の側面全体を反射性樹脂材料で覆う第2工程とを行う。このとき板状部材として、上面の周縁に設けられた樹脂這い上がり防止領域と、前記樹脂這い上がり防止領域に囲まれた凹凸加工領域とを備えるものを用いることにより、未硬化の樹脂または未硬化の反射性樹脂材料が板状部材の側面から上面に這い上がることを防止する。
【選択図】図1

Description

本発明は、発光素子からの光を波長変換層で変換する発光装置およびその製造方法に関する。
発光素子からの光の一部を波長変換層により異なる波長の光に変換し、発光素子からの光と混合して出射する発光装置が知られている。例えば、特許文献1には、セラミックや樹脂などの基板上に複数個の発光素子を並べ、発光素子3の真上に蛍光体含有樹脂で形成した波長変換層を配置した発光装置が開示されている。波長変換層の上面には、透明板が搭載されている。特許文献2には、キャビティ内に発光素子を配置し、発光素子の側面および上面を覆うようにキャビティ内に蛍光体含有樹脂を充填した発光装置が開示されている。蛍光体含有樹脂の上面には、透明板が搭載されている。
また、特許文献3には、キャビティを有するケーシング内に複数の発光素子を配置し、キャビティの上部開口を透明板で覆った発光装置が開示されている。透明板の端面から光を出射されるのを防ぐために、透明板の端面の周りの空間が光吸収材料により充填されている。
特表2008−507850号公報 特開2006−48934号公報 特表2009−60113号公報
複数の発光素子を基板やキャビティ内に並べて配置した発光装置は、複数の発光素子を隙間なく配置することができないため、発光素子の間隙部分と、発光素子の直上部分とで輝度ムラや色度ムラが生じやすい。また、単数の発光素子を配置する場合であっても発光素子直上部分と周辺領域においては輝度むらや色度ムラが生じやすい。
この輝度ムラや色度ムラを解決するためには、波長変換層の上面やキャビティの開口に保護等のために配置されている透明板の上面を粗面に加工し、透明板を出射する光を拡散させることが考えられる。しかしながら、透明板の上面を粗面に加工すると、光の拡散効果が得られる反面、液体に対する濡れ性が高くなる。このため、特許文献2のように透明板の下部に蛍光体含有樹脂を充填する構成や、特許文献3のように透明板の端面の周囲に光吸収材を充填する構成では、製造工程で未硬化の蛍光体含有樹脂や光吸収材が透明樹脂の端面から上面に這い上がり、透明板の上面を汚してしまうという問題が生じる。透明板の上面は、光の出射面であるため、這い上がった樹脂で汚染されていると、光の取り出し効率が低下するとともに、光出射パターンに輝度ムラが生じる。
本発明の目的は、輝度ムラや色度ムラが小さく、かつ、光の取り出し効率に優れた発光装置を提供することにある。
上記目的を達成するために、本発明の第1の態様によれば、以下のような発光装置が提供される。すなわち、基板と、基板上に実装された1以上の発光素子と、発光素子上に配置された樹脂層と、樹脂層の上に搭載された板状部材と、樹脂層および板状部材の周囲に充填された反射性樹脂部材とを有する。板状部材は、上面の周縁に設けられた平滑な縁領域と、縁領域に囲まれた凹凸加工領域とを備える。反射性樹脂部材は、板状部材の側面全体を覆っている。
また、本発明の第2の態様によれば、以下のような発光装置が提供される。すなわち、基板と、基板上に実装された1以上の発光素子と、発光素子上に配置された樹脂層と、樹脂層の上に搭載された板状部材と、樹脂層および板状部材の周囲に充填された反射性樹脂部材とを有する。板状部材は、上面の周縁に設けられた、樹脂這い上がり防止領域と、樹脂這い上がり防止領域に囲まれた凹凸加工領域とを備える。反射性樹脂部材は、板状部材の側面全体を覆っている。樹脂這い上がり防止領域には、未硬化の樹脂をはじく材料の層が配置されている。
上述の板状部材の上面には、発光素子の直上部分に、平滑な直上領域がさらに設けられている構成にすることができる。
また、本発明の第3の態様によれば発光装置の製造方法が提供される。すなわち、基板上に実装された発光素子の上面を未硬化の樹脂で覆い、その上に板状部材を配置する第1工程と、樹脂および板状部材の側面の周囲に、未硬化の状態で流動性のある反射性樹脂材料を充填することにより、板状部材の側面全体を前記反射性樹脂材料で覆う第2工程とを有する製造方法である。板状部材として、上面の周縁に設けられた樹脂這い上がり防止領域と、樹脂這い上がり防止領域に囲まれた凹凸加工領域とを備えるものを用いる。
本発明によれば、板状部材の上面の凹凸加工領域を設けることにより、光の散乱により輝度ムラおよび色度ムラを低減できる。しかも、板状部材の上面の周縁の平滑な領域または樹脂這い上がり防止領域が、板状部材の周囲もしくは下部に樹脂を充填する際に未硬化の樹脂が板状部材の上面に這い上がる現象を防ぐ。よって、板状部材の上面の凹凸加工領域の樹脂で汚染することがなく、光の取り出し効率を向上させることができる。
実施形態1の発光装置の(a)上面図、(b)断面図。 図1の透明板1の上面図。 (a)〜(d)実施形態1の発光装置の製造工程を示す断面図。 実施形態2の発光装置に用いる透明板1の上面図。 実施形態1の平滑な縁1bを凹加工1cにより形成した透明板1の断面図。 実施形態2の平滑な縁1bを凹加工1cにより形成した透明板1の断面図。 実施形態3の発光装置に用いる透明板1の上面図。 実施形態3の透明板1に直上領域2を設けた例の上面図。 実施形態4の発光装置の断面図。 (a)〜(d)実施形態4の発光装置の製造工程を示す断面図。
以下、本発明の一実施の形態の発光装置について説明する。
(実施形態1)
図1(a)、(b)に、実施形態1の発光装置の上面図および断面図を示す。上面に配線が形成された実装基板10の上に、1以上のフリップチップタイプの発光素子11が、複数のバンプ12により接合され、実装されている。複数の発光素子11の間には、所定の間隔があけられている。
発光素子11の上面および側面は、波長変換層24で被覆されている。波長変換層24は、蛍光体粒子を樹脂や無機バインダーに混練・分散させた材料によって形成されている。
波長変換層24の上には、発光素子11を保護するために透明板1が搭載されている。図1の発光装置では、波長変換層24と透明板1を上面から見た大きさが同じであり、これらの側面は一致した位置にある。
実装基板10の上面には外周部に沿ってリング16が配置されている。波長変換層24および透明板1の側面と、リング16との間の空間は、拡散反射部材15が配置されている。拡散反射部材15は、樹脂や無機材料のバインダーに光散乱性の粒子を混合した材料を、未硬化の状態で発光素子11と枠体の間の空間に注入し、硬化させることによって形成されている。
拡散反射部材15は、波長変換層24および透明板1の側面全体を覆い、かつ、透明板1上面を越えない厚さであることが望ましい。所望の配光パターンのカットオフラインの形成のためである。拡散反射部材15の厚さは、充填する未硬化の拡散反射部材15の量を調整することにより制御できる。
透明板1の上面(光の出射面側)は、図2に示すように、大部分の領域1aが粗面(凹凸面)に加工されている。発光素子11からの光を拡散して出射するためである。凹凸面の粗さRaは、光拡散の効果を得るためにRa=0.5以上2.0以下の範囲であることが好ましい。透明板1の大きさは、配列された素子11の全体よりも大きいことが望ましい。
透明板1の上面が凹凸面に加工されている場合、透明板1の上面の液体に対する濡れ性が高くなり、製造工程において未硬化の波長変換層24や未硬化の拡散反射部材15を構成する樹脂が、透明板1の上面に這い上がり、透明板1の上面を一部覆ってしまう現象が生じる可能性がある。これを防止するために、本実施形態では、透明板1の上面の縁に、粗面加工を施さない平滑な領域である縁1bを設け、縁1bで囲まれた中央の領域1aのみを凹凸加工を施している。
平滑な縁1bの幅は、平滑な縁1bを乗り越えて未硬化の樹脂が凹凸加工領域1aに到達しない幅であって、かつ、配光パターンに影響を与えない幅に設定することが望ましい。未硬化の波長変換層24や未硬化の拡散反射部材15を構成する樹脂が、平滑な縁1bを乗り越えて這い上がるかどうかは、未硬化の樹脂の粘度や材質ならびに透明板1の材質によって異なるため、予め実験等を行って適切な幅に設定することが望ましい。例えば、透明板1がガラス製であり、未硬化の樹脂がシリコーン樹脂である場合、平滑な縁1bの幅は、10μm以上60μm以下とすることができる。より具体的には10μmに設定することが可能である。
また、透明板1の側面から上面に、未硬化の波長変換層24や未硬化の拡散反射部材15を構成する樹脂が這い上がらないようにするために、透明板1の上端の角部(上面と側面とが交わる角部)は、明確なエッジ(曲率0.1mm以下)であることが望ましい。
透明板1の下面は、空気層等を挟まず波長変換層24と密着していることが望ましい。また、透明板1の屈折率を波長変換層24よりも大きくすることにより、発光素子11から出射された光が透明板1と波長変換層24との界面で全反射されるのを防止することができる。
透明板1は、発光素子11の発光および波長変換層24による変換後の光に対して透明なものを用いる。例えば、ガラス等の無機材料や、シリコーン樹脂、エポキシ樹脂等の透明樹脂製の透明板1を用いることができる。
波長変換層24の蛍光体は、発光素子11からの光を励起光として所望の波長の蛍光を発する蛍光体を用いる。具体的には例えば、青色光を発する発光素子11を用いる場合、青色光により励起されて、黄色蛍光を発する蛍光体(例えばYAG蛍光体等)を用いる。これにより、青色光と黄色光が混色された白色光を発する発光装置を提供できる。波長変換層24のバインダー樹脂としては、シリコーン樹脂、エポキシ等を用いることができる。
拡散反射部材15のバインダー樹脂としては、シリコーン樹脂、エポキシ樹脂、アルキルシリケート、金属アルコラート等の樹脂を用いることができる。散乱材料(粒子)としては、酸化チタン、酸化亜鉛、窒化硼素、窒化アルミ等の金属酸化物を用いることができる。
実装基板10として、例えば、Auなどの配線パターンが形成されたAlNセラミックス製の基板を用いる。バンプ12としては、例えばAuバンプを用いる。発光素子11としては、所望の波長光を出射するものを用意する。例えば、青色光を発するものを用いる。
リング16は、例えばセラミックリングを用いることができる。
本実施形態の発光装置の動作について説明する。発光素子11から上方に出射される光は、波長変換層24に入射し、一部または全部が所定の波長の光に変換され、波長変換層24の上面から出射される。波長変換層24の上面から出射される光は、透明板1に入射し、透明板1の上面の凹凸加工領域1bにおいて散乱されて出射される。これにより、発光素子11と発光素子11の間の間隔等に起因する色度ムラや輝度ムラを低減し、均一な色度および輝度の光を所定の配光パターンで透明板1の上面から出射することができる。
波長変換層24および透明板1において側面方向に進行する光は、側面において拡散反射部材15によって反射されることにより進行方向を上面方向に変え、透明板1の上面において散乱されて出射される。
本実施形態では発光素子11の側面から拡散反射部材15までの距離が短いため、発光素子11から横方向に出射された光が、透明板1の上面に到達するまでの光路長が短く、波長変換層24および透明板1による吸収の影響をほとんど受けず、高い効率で透明板1の上面から出射できる。
また、拡散反射部材15を未硬化の状態で充填するため、発光素子11に接近させて形成することができ、発光面積の小さい発光装置を提供できる。しかも、発光面積が小さいにも関わらず拡散反射部材15によりキャビティを形成しているため、発光素子11の側面から出射された光の多くは、発光素子11の内部に戻されず上面に向かい、光の取り出し効率が向上する。
つぎに、本実施形態の発光装置の製造方法について図3(a)〜(d)を用いて説明する。
透明板1の上面には予め、縁1bを残し、領域1aを所定の粗さRaに凹凸加工を施しておく。凹凸加工方法としては、サンドブラスト等のセラミックス粒子等を透明板の表面に衝突させ物理的に表面に凹凸を付ける方法や、弗酸等で化学的に表面に凹凸を付ける方法等を用いることができる。
まず、図3(a)のように、実装基板10の上面の配線パターンに、フリップチップタイプの発光素子11の素子電極をバンプ12を用いて接合し、実装する。実装基板10上にリング16を固定する。つぎに、蛍光体粒子をバインダーに混練したものを用意し、図3(b)のように印刷法やポッティング法により発光素子11の上面および側面を所定の厚さで被覆して、未硬化の波長変換層24を形成する。
図3(c)のように、波長変換層24が未硬化の状態で透明板1を搭載し、その後、波長変換層24を所定の条件で硬化させることにより、波長変換層24を接着層として透明板1をする。このとき、波長変換層24は未硬化であるが、透明板1の上面に平滑な縁1bが設けられていることと、透明板1の上端の角部のエッジが明確であることから、透明板1の上面へ未硬化の波長変換層24が這い上がらない。
つぎに、散乱粒子をバインダーに混練した未硬化の拡散反射部材15を用意し、図3(d)のように透明板1とリング16との間の空間に充填する。このとき、透明板1の上面と未硬化の拡散反射部材15の液面が同じ高さになるように、充填量をコントロールする。透明板1の上面は領域1aが凹凸加工されているが、平滑な縁1bが設けられていることと、透明板1の上端の角部のエッジが明確であることから、未硬化の拡散反射部材は、透明板1の上面まで這い上がらず、透明板1の上面を覆わない。未硬化の拡散反射部材15の充填後、所定の条件で硬化させる。
以上により、本実施形態1の図1に示した発光装置を製造することができる。
なお、上記の製造方法では、波長変換層24を硬化させた後で拡散反射部材15を充填したが、未硬化の波長変換層24の形状が変化しない程度に粘度を調整しておくことにより、波長変換層24が未硬化の状態のまま次工程に進み、拡散反射部材15を充填し、波長変換層24と拡散反射部材15とを同時に硬化させることも可能である。
また、波長変換層24と透明板1との間に、透明部材層を配置し、透明部材層を接着層として透明板1を固定することも可能である。
実施形態1では、拡散反射部材15を透明板1の搭載後に充填する製造工程を説明したが、予め成形した拡散反射部材15を基板10上に搭載しておくことも可能である。この場合、拡散反射部材15の開口内に、発光素子11を実装し、未硬化の波長変換層24を充填し、透明板1を搭載した後、未硬化の波長変換層24を硬化させる。このとき、本実施形態の透明板1を用いることにより、未硬化の波長変換層24が透明板1の上面に這い上がる現象を防止することができる。
(実施形態2)
実施形態2では、図4のように透明板1の上面において、発光素子11の直上領域2を発光素子11の平滑な面とし、凹凸加工を施さない構成とする。他の構成は、実施形態1と同じであるので説明を省略する。
このように、発光素子11の直上領域2を平滑な面とすることにより、発光素子11から発せられた光のうち、素子直上領域2に到達した光は散乱されずに出射されるため、直上領域2の出射光の輝度を向上させることができる。
また、色度ムラや輝度ムラの生じやすい発光素子11と発光素子11の間隙や素子周辺については、凹凸加工された領域1aにより光が散乱されるため、色度ムラや輝度ムラを低減することができる。
なお、平滑な素子直上領域2の形状は、発光素子11の上面と同形状であっても、発光素子11の上面形状とは異なる円形等であってもよい。平滑な素子直上領域2のサイズは、素子上面よりも小さいことが望ましい。
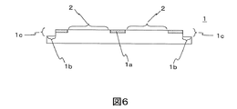
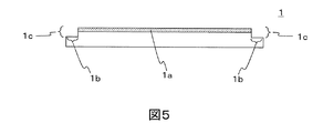
上述の実施形態1、2では、透明板1の縁1bの領域に凹凸加工を施さないことにより、平滑な縁1bを形成したが、平滑な縁1bの形成方法はこの方法に限られるものではない。例えば、透明板1の全面に凹凸加工を施した後、縁1bの表面領域に図5および図6のように凹加工(ざぐり加工)1cを施し除去することにより、縁1bに平滑面を形成することも可能である。図5は、実施形態1の図2の透明板1の断面図であり、図6は実施形態2の図4の透明板1の断面図である。図5および図6のように凹加工1cにより縁1bを平滑にした場合であっても、透明板1の上面への樹脂の這い上がりが防止される作用は、実施形態1および2と同様に生じる。
図5および図6のように平滑な縁1bを凹加工1cを施して形成することにより、大きな板から複数の透明板1を容易に製造できる。具体的には、大きな板の全面に凹凸加工を施した後、各透明板1の縁1bとなる領域に凹加工1cを施して平滑面とし、その後各透明板1のサイズに切断するという工程で複数の透明板1を製造することができる。これにより、透明板1の表面の凹凸加工時に、縁1bの領域を予めマスクで覆う必要がなく、大きな板の透明板1全面に凹凸加工を施せばよく、凹凸加工が容易になる。また、凹加工1cの工程と、切断工程は、連続的に行うことができるため、製造効率を高めることができる。
なお、図6の平滑な素子直上領域2を凹加工1cにより形成することも可能である。
(実施形態3)
実施形態3では、図7のように透明板1の上面の縁に、樹脂の這い上がり防止剤層を形成した領域3を形成する。這い上がり防止剤層形成領域3は、平滑な領域であることがより望ましいが、凹凸加工が施されていてもよい。
這い上がり防止剤層形成領域3の幅は、這い上がり防止剤の材質、波長変換層24および拡散反射部材15の樹脂の材質、ならびに透明板1の表面状態を考慮して決定する。具体的には、この領域を乗り越えて未硬化の樹脂が凹凸加工領域1aに到達しない幅であって、かつ、配光パターンに影響を与えない幅に設定することが望ましい。予め実験等を行って適切な幅に設定することが望ましい。
這い上がり防止剤としては、未硬化の波長変換層24および/または未硬化の拡散反射部材15をはじくもの、例えば純水の接触角が90°以上であるものを用いる。具体的には、ポリテトラフルオロエチレン(PTFE)、四フッ化エチレン・六フッ化プロピレン共重合体(FEP)、テトラフルオロエチレン・パーフルオロアルキルビニルエーテル共重体(PFA)等のフッ素系ポリマーを用いることができる。
這い上がり防止剤層の形成方法としては、刷毛塗り等による塗布や、ゴムプレート等の別部材に這い上がり防止剤を塗布して、この部材を透明板1に押し付けて転写する方法や、ディスペンサ等を用いて射出しながら塗布する方法を用いることが可能である。
また、透明板1には、図8のように、発光素子の直上に平滑な領域2を設けることも可能である。
(実施形態4)
実施形態4では、図9に断面図を示すように、発光素子11側面に近い位置に傾斜した反射面130を有する拡散反射部材15を形成する。
実装基板10上にバンプ12により発光素子11が実装され、周囲にリング16が配置されている。この構造は、実施形態1と同様である。
発光素子11の上面には、傾斜した側面を有する波長変換層24が搭載され、その上に透明板1が搭載されている。透明板1は、実施形態1と同様に、上面に凹凸加工された領域1aと平滑な縁1bとを有する。透明板1の主平面方向の大きさは、配列された発光素子11全体よりも若干大きい。
図9の例では、波長変換層24の側面は、発光素子11側に向かって凸の湾曲面となっている。
発光素子11とリング16との間の空間は拡散反射部材15により充填されている。拡散反射部材15と波長変換層24との境界で形成される傾斜面130が、発光素子11および透明板1の側面方向への出射光を反射する反射面となる。
本実施形態2では、拡散反射部材15は、バンプ12の間を埋めるように、発光素子11の底面と基板10の上面との間の空間も充填している。
拡散反射部材15と波長変換層24との境界の傾斜面130は、図9では、発光素子11側(内側)に向かって凸の曲面であるが、これに限られるものではなく、発光素子11の底面と透明板1の下面を直線的に結ぶ傾斜面、または、外側(リング16側)に凸の曲面であってもよい。
また、傾斜面130の発光素子11側の一端は、必ずしも図9のように発光素子11の底面と同じ高さにある必要はなく、少なくとも発光素子11の側面にあればよい。発光素子11は、基板10にフリップチップ実装されることが好ましい。フリップチップ実装の場合、発光面が発光素子の底面に近い位置にあるため、傾斜面130による反射を最も利用することができるためである。
実施形態2の発光装置の各部の作用について説明する。発光素子11の出射光は、波長変換層24に入射し、一部または全部が所定の波長の光に変換され、波長変換層24の上面から出射される。波長変換層24の上面から出射される光は、透明板1に入射し、透明板1の上面の凹凸加工領域1aにおいて散乱されて出射される。これにより、発光素子11と発光素子11の間に間隔があいていること等に起因する色度ムラや輝度ムラを低減し、均一な色度および輝度の光を所定の配光パターンで透明板1の上面から出射することができる。
発光素子11の側面から出射される光は、側面から波長変換層24に入射し、拡散反射部材15と波長変換層24との境界の傾斜面130によって上方に反射される。これにより、発光素子11の側面から出射される光の多くは、発光素子11の内部に戻されないため、発光素子11によって吸収されない。また、発光素子11の側面と拡散反射部材15までの距離は短いため、波長変換層24による吸収の影響もほとんど受けない。よって、光の取り出し効率が向上する。
つぎに、本実施形態4の発光装置の製造方法について図10(a)〜(d)を用いて説明する。まず、図10(a)のように、実装基板10上に発光素子11をバンプ12を用いて実装する。図10(b)のように、未硬化の波長変換材料24’を発光素子11の上面に塗布(滴下)し、図10(c)のように透明板1を搭載する。これにより、未硬化の波長変換材料24’が発光素子の側面の少なくとも一部を覆いつつ表面張力を保つことによって、発光素子11の側面と透明板1の下面を接続する傾斜面130が形成される。このとき、波長変換材料24’の量が少なければ、発光素子11側に凸の曲面の傾斜面130が形成され、波長変換材料24’の量を増やすと直線的な傾斜面130が形成され、さらに波長変換材料24’の量を増やすと外側に凸の曲面の傾斜面130が形成される。
波長変換材料24’を所定硬化処理により硬化させ、波長変換層24を形成する。なお、この後の工程で波長変換層24の形状が変わらないのであれば、完全に硬化させず、半硬化となる条件で硬化させても良い。
つぎに、未硬化の拡散反射部材15を用意し、図10(d)のように透明板1とリング16との間の空間に充填する。この後、所定の条件により拡散反射部材15を硬化させる。
なお、上述の製造方法において、図10(b)の工程では、発光素子11の上面に未硬化の波長変換材料24’を塗布したが、本実施形態の製造方法はこれに限られるものではない。例えば、透明板1の下面に波長変換材料24’を塗布することも可能であるし、発光素子11の上面と透明板1の下面の両方に波長変換材料24’を塗布することもできる。サブマウント10に実装された発光素子11を下向きにして、波長変換材料24’を発光素子11の下面、または、透明板1の上面、または、発光素子11の下面と透明板1の上面の両方、にそれぞれ塗布する製造方法とすることも可能である。
実施形態4の発光装置において、透明板1として、実施形態2または実施形態3の透明板1を用いることも可能である。
上述の実施形態1〜4において、透明板1の代わりに蛍光体セラミックや蛍光体ガラス等の波長変換機能を備えた板状部材を用いることも可能である。この場合も、実施形態1〜4のように表面に凹凸加工の領域1aを設けることにより色度ムラおよび輝度ムラを防止できる。縁1bや這い上がり防止剤塗布領域3を設けることにより、未硬化の波長変換樹脂や未硬化の拡散防止部材が波長変換機能を備えた板状部材の上面に這い上がる現象を防止できる。なお、波長変換機能を備えた板状部材を用いる場合には、波長変換層の代わりに透明材料層を用いることも可能である。
上述の実施形態1〜4においては透明板1の上面にのみ凹凸加工の形成された領域1aを設けたが、透明板1の下面にも設けることが可能である。
実施形態1〜4において透明板1の領域1aの凹凸形状は、ランダムな粗面であっても、例えば回折格子等の特定の凹凸を繰り返した形状であってもよい。
本発明の発光装置は、一般照明や自動車用灯具等の、波長変換層を備えた発光装置全般として利用することができる。
1…透明板、1a…凹凸加工領域、1b…平滑な縁、2…凹凸加工を施していない素子直上領域、3…這い上がり防止剤塗布領域、10…実装基板、11…発光素子、12…バンプ、15…拡散反射部材、16…リング、24…波長変換層、130…傾斜面
図3(c)のように、波長変換層24が未硬化の状態で透明板1を搭載し、その後、波長変換層24を所定の条件で硬化させることにより、波長変換層24を接着層として透明板1を接着する。このとき、波長変換層24は未硬化であるが、透明板1の上面に平滑な縁1bが設けられていることと、透明板1の上端の角部のエッジが明確であることから、透明板1の上面へ未硬化の波長変換層24が這い上がらない。

Claims (4)

  1. 基板と、該基板上に実装された1以上の発光素子と、前記発光素子上に配置された樹脂層と、前記樹脂層の上に搭載された板状部材と、前記樹脂層および板状部材の周囲に充填された反射性樹脂部材とを有し、
    前記板状部材は、上面の周縁に設けられた平滑な縁領域と、前記縁領域に囲まれた凹凸加工領域とを備え、
    前記反射性樹脂部材は、前記板状部材の側面全体を覆っていることを特徴とする発光装置。
  2. 基板と、該基板上に実装された1以上の発光素子と、前記発光素子上に配置された樹脂層と、前記樹脂層の上に搭載された板状部材と、前記樹脂層および板状部材の周囲に充填された反射性樹脂部材とを有し、
    前記板状部材は、上面の周縁に設けられた、樹脂這い上がり防止領域と、前記樹脂這い上がり防止領域に囲まれた凹凸加工領域とを備え、
    前記反射性樹脂部材は、前記板状部材の側面全体を覆っており、
    前記樹脂這い上がり防止領域には、未硬化の樹脂をはじく材料の層が配置されていることを特徴とする発光装置。
  3. 請求項1または2に記載の発光装置において、前記板状部材の上面には、前記発光素子の直上部分に、平滑な直上領域がさらに設けられていることを特徴とする発光装置。
  4. 基板上に実装された発光素子の上面を未硬化の樹脂で覆い、その上に板状部材を配置する第1工程と、
    前記樹脂および板状部材の側面の周囲に、未硬化の状態で流動性のある反射性樹脂材料を充填することにより、前記板状部材の側面全体を前記反射性樹脂材料で覆う第2工程とを有し、
    前記板状部材として、上面の周縁に設けられた樹脂這い上がり防止領域と、前記樹脂這い上がり防止領域に囲まれた凹凸加工領域とを備えるものを用いることを特徴とする発光装置の製造方法。
JP2014075400A 2014-04-01 2014-04-01 発光装置およびその製造方法 Active JP5830561B2 (ja)

Priority Applications (1)

Application Number Priority Date Filing Date Title
JP2014075400A JP5830561B2 (ja) 2014-04-01 2014-04-01 発光装置およびその製造方法

Applications Claiming Priority (1)

Application Number Priority Date Filing Date Title
JP2014075400A JP5830561B2 (ja) 2014-04-01 2014-04-01 発光装置およびその製造方法

Related Parent Applications (1)

Application Number Title Priority Date Filing Date
JP2010222196A Division JP5518662B2 (ja) 2010-09-30 2010-09-30 発光装置およびその製造方法

Publications (2)

Publication Number Publication Date
JP2014123784A true JP2014123784A (ja) 2014-07-03
JP5830561B2 JP5830561B2 (ja) 2015-12-09

Family

ID=51403971

Family Applications (1)

Application Number Title Priority Date Filing Date
JP2014075400A Active JP5830561B2 (ja) 2014-04-01 2014-04-01 発光装置およびその製造方法

Country Status (1)

Country Link
JP (1) JP5830561B2 (ja)

Cited By (1)

* Cited by examiner, † Cited by third party
Publication number Priority date Publication date Assignee Title
JP2018157045A (ja) * 2017-03-17 2018-10-04 日亜化学工業株式会社 発光装置及びその製造方法

Citations (2)

* Cited by examiner, † Cited by third party
Publication number Priority date Publication date Assignee Title
JP2007317815A (ja) * 2006-05-25 2007-12-06 Matsushita Electric Works Ltd 発光装置
JP2010157638A (ja) * 2008-12-27 2010-07-15 Nichia Corp 発光装置及びその製造方法

Patent Citations (2)

* Cited by examiner, † Cited by third party
Publication number Priority date Publication date Assignee Title
JP2007317815A (ja) * 2006-05-25 2007-12-06 Matsushita Electric Works Ltd 発光装置
JP2010157638A (ja) * 2008-12-27 2010-07-15 Nichia Corp 発光装置及びその製造方法

Cited By (1)

* Cited by examiner, † Cited by third party
Publication number Priority date Publication date Assignee Title
JP2018157045A (ja) * 2017-03-17 2018-10-04 日亜化学工業株式会社 発光装置及びその製造方法

Also Published As

Publication number Publication date
JP5830561B2 (ja) 2015-12-09

Similar Documents

Publication Publication Date Title
JP5518662B2 (ja) 発光装置およびその製造方法
KR102339021B1 (ko) 경사 반사기를 갖는 발광 디바이스 및 그 제조 방법
JP5588368B2 (ja) 発光装置およびその製造方法
JP6097084B2 (ja) 半導体発光装置
JP5622494B2 (ja) 発光装置およびその製造方法
US9576941B2 (en) Light-emitting device and method of manufacturing the same
JP5572013B2 (ja) 発光装置およびその製造方法
CN106058006B (zh) 发光装置及其制造方法
JP5941306B2 (ja) 発光装置およびその製造方法
JP5539849B2 (ja) 発光装置およびその製造方法
KR101934594B1 (ko) 발광장치 및 그의 제조방법
JP2013175531A (ja) 発光装置
US11005008B2 (en) Method for manufacturing light emitting device
JP5736203B2 (ja) 発光装置
JP2012033823A (ja) 発光装置およびその製造方法
KR101923588B1 (ko) 발광장치, 그 제조방법 및 조명장치
CN111384228A (zh) 发光装置以及发光装置的制造方法
TWI741339B (zh) 發光裝置及其製造方法
JP6623577B2 (ja) 発光装置の製造方法
JP6116228B2 (ja) 半導体発光装置及びその製造方法
JP5681532B2 (ja) 発光装置およびその製造方法
JP6005958B2 (ja) 発光装置及びその製造方法
JP6204525B2 (ja) 発光装置およびその製造方法
JP5830561B2 (ja) 発光装置およびその製造方法
JP2015076455A (ja) 発光装置

Legal Events

Date Code Title Description
A521 Request for written amendment filed

Free format text: JAPANESE INTERMEDIATE CODE: A523

Effective date: 20140418

A621 Written request for application examination

Free format text: JAPANESE INTERMEDIATE CODE: A621

Effective date: 20140418

A131 Notification of reasons for refusal

Free format text: JAPANESE INTERMEDIATE CODE: A131

Effective date: 20150113

A521 Request for written amendment filed

Free format text: JAPANESE INTERMEDIATE CODE: A523

Effective date: 20150311

A131 Notification of reasons for refusal

Free format text: JAPANESE INTERMEDIATE CODE: A131

Effective date: 20150331

A521 Request for written amendment filed

Free format text: JAPANESE INTERMEDIATE CODE: A523

Effective date: 20150529

A131 Notification of reasons for refusal

Free format text: JAPANESE INTERMEDIATE CODE: A131

Effective date: 20150728

A521 Request for written amendment filed

Free format text: JAPANESE INTERMEDIATE CODE: A523

Effective date: 20150918

TRDD Decision of grant or rejection written
A01 Written decision to grant a patent or to grant a registration (utility model)

Free format text: JAPANESE INTERMEDIATE CODE: A01

Effective date: 20151006

A61 First payment of annual fees (during grant procedure)

Free format text: JAPANESE INTERMEDIATE CODE: A61

Effective date: 20151026

R150 Certificate of patent or registration of utility model

Ref document number: 5830561

Country of ref document: JP

Free format text: JAPANESE INTERMEDIATE CODE: R150

R250 Receipt of annual fees

Free format text: JAPANESE INTERMEDIATE CODE: R250

R250 Receipt of annual fees

Free format text: JAPANESE INTERMEDIATE CODE: R250

R250 Receipt of annual fees

Free format text: JAPANESE INTERMEDIATE CODE: R250

R250 Receipt of annual fees

Free format text: JAPANESE INTERMEDIATE CODE: R250

R250 Receipt of annual fees

Free format text: JAPANESE INTERMEDIATE CODE: R250

R250 Receipt of annual fees

Free format text: JAPANESE INTERMEDIATE CODE: R250

R250 Receipt of annual fees

Free format text: JAPANESE INTERMEDIATE CODE: R250

R250 Receipt of annual fees

Free format text: JAPANESE INTERMEDIATE CODE: R250