JP2014106901A - 距離算出装置、衝突検出システム、距離算出方法、衝突検出方法、及びプログラム - Google Patents
距離算出装置、衝突検出システム、距離算出方法、衝突検出方法、及びプログラム Download PDFInfo
- Publication number
- JP2014106901A JP2014106901A JP2012261529A JP2012261529A JP2014106901A JP 2014106901 A JP2014106901 A JP 2014106901A JP 2012261529 A JP2012261529 A JP 2012261529A JP 2012261529 A JP2012261529 A JP 2012261529A JP 2014106901 A JP2014106901 A JP 2014106901A
- Authority
- JP
- Japan
- Prior art keywords
- distance
- vehicle
- obstacle
- image
- calculating
- Prior art date
- Legal status (The legal status is an assumption and is not a legal conclusion. Google has not performed a legal analysis and makes no representation as to the accuracy of the status listed.)
- Pending
Links
Images
Landscapes
- Traffic Control Systems (AREA)
- Image Analysis (AREA)
Abstract
【課題】自車と障害物が衝突する可能性があるか否かを精度よく判定する。
【解決手段】画像に写る障害物の位置を示すフレームと、当該障害物についてのオプティカルフローの消失点との距離に基づいて、自車両に対する障害物の相対移動方向に直交する方向についての、自車両と障害物との距離を算出する(ステップS108,S110,S112,S113)。そして、自車両と障害物との距離と、撮影装置と自車両の側面までの距離とを比較することにより、自車両と障害物とが衝突するか否かを判定する(ステップS114)。
【選択図】図6
【解決手段】画像に写る障害物の位置を示すフレームと、当該障害物についてのオプティカルフローの消失点との距離に基づいて、自車両に対する障害物の相対移動方向に直交する方向についての、自車両と障害物との距離を算出する(ステップS108,S110,S112,S113)。そして、自車両と障害物との距離と、撮影装置と自車両の側面までの距離とを比較することにより、自車両と障害物とが衝突するか否かを判定する(ステップS114)。
【選択図】図6
Description
本発明は、距離算出装置、衝突検出システム、距離算出方法、衝突検出方法、及びプログラムに関し、更に詳しくは、車両と障害物との距離を算出するための距離算出装置、距離算出方法及びプログラム、並びに車両と障害物との衝突を検出するための衝突検出システム及び衝突検出方法及びプログラムに関する。
近年、自車の進行方向を撮影するカメラからの画像を用いて、自車に接近する車両を検出する運転支援システムの実用化が進められている(例えば特許文献1乃至3参照)。
特許文献1に記載された装置は、ステレオカメラを用いて車両前方の障害物の検出を試みる。そして、障害物に衝突するまでの衝突予測時間と閾値との比較結果に基づいて、自車のスロットル及びブレーキを制御する。
特許文献2に記載された装置は、単眼カメラに写る障害物の大きさの変化から、衝突予測時間を算出する。そして、算出した衝突予測時間に応じて、ブレーキの制御を行う。
特許文献3に記載された装置は、画像に写る障害物のエッジの位置や大きさの変化に基づいて、自車の前方に位置する障害物を検出する。
上述した装置を用いることで、自車の進行方向に位置する障害物が検出された場合に、車両の速度を減速させたり、衝突の危険性をドライバに報知することが可能となる。
しかしながら、ドライバにストレスを与えることなく運転を支援するためには、自車両の進行方向に位置する障害物を画一的に検出するだけではなく、障害物が自車に衝突する可能性を判定する必要がある。
本発明は、上述の事情の下になされたもので、自車と障害物が衝突する可能性があるか否かを精度よく判定することを目的とする。
上記目的を達成するために、本発明の第1の観点に係る距離算出装置は、
車両の進行方向を順次撮影する撮影手段と、
前記撮影手段によって撮影された第1画像に写る障害物の特徴点を始点とし、前記第1画像が撮影された後に撮影された第2画像に写る障害物の特徴点を終点とする複数のオプティカルフローを算出するオプティカルフロー算出手段と、
前記車両に対して前記障害物が移動する第1方向に直交する第2方向についての、前記オプティカルフローの消失点と前記画像に写る障害物との第1距離に基づいて、前記車両と前記障害物との前記第2方向についての第2距離を算出する距離算出手段と、
を備える。
車両の進行方向を順次撮影する撮影手段と、
前記撮影手段によって撮影された第1画像に写る障害物の特徴点を始点とし、前記第1画像が撮影された後に撮影された第2画像に写る障害物の特徴点を終点とする複数のオプティカルフローを算出するオプティカルフロー算出手段と、
前記車両に対して前記障害物が移動する第1方向に直交する第2方向についての、前記オプティカルフローの消失点と前記画像に写る障害物との第1距離に基づいて、前記車両と前記障害物との前記第2方向についての第2距離を算出する距離算出手段と、
を備える。
本発明の第2の観点に係る衝突検出システムは、
本発明の第1の観点に係る距離算出装置と、
前記距離算出装置によって算出された第2距離に基づいて、前記車両と前記障害物とが衝突するか否かを判定する判定手段と、
を備える。
本発明の第1の観点に係る距離算出装置と、
前記距離算出装置によって算出された第2距離に基づいて、前記車両と前記障害物とが衝突するか否かを判定する判定手段と、
を備える。
本発明の第3の観点に係る距離算出方法は、
車両の進行方向を順次撮影する工程と、
撮影された第1画像に写る障害物の特徴点を始点とし、前記第1画像が撮影された後に撮影された第2画像に写る障害物の特徴点を終点とする複数のオプティカルフローを算出する工程と、
前記車両に対して前記障害物が移動する第1方向に直交する第2方向についての、前記オプティカルフローの消失点と前記画像に写る障害物との第1距離を求める工程と、
前記車両と前記障害物との前記第2方向についての第2距離を算出する工程と、
を含む。
車両の進行方向を順次撮影する工程と、
撮影された第1画像に写る障害物の特徴点を始点とし、前記第1画像が撮影された後に撮影された第2画像に写る障害物の特徴点を終点とする複数のオプティカルフローを算出する工程と、
前記車両に対して前記障害物が移動する第1方向に直交する第2方向についての、前記オプティカルフローの消失点と前記画像に写る障害物との第1距離を求める工程と、
前記車両と前記障害物との前記第2方向についての第2距離を算出する工程と、
を含む。
本発明の第4の観点に係る衝突検出方法は、
本発明の第3の観点に係る距離算出方法によって算出された第2距離に基づいて、前記車両と前記障害物とが衝突するか否かを判定する工程を含む。
本発明の第3の観点に係る距離算出方法によって算出された第2距離に基づいて、前記車両と前記障害物とが衝突するか否かを判定する工程を含む。
本発明の第5の観点に係るプログラムは、
コンピュータに、
車両の前方を撮影することにより得られた第1画像に写る障害物の特徴点を始点とし、前記第1画像が撮影された後に、前記車両の前方を撮影することにより得られた第2画像に写る障害物の特徴点を終点とする複数のオプティカルフローを算出する手順と、
前記車両に対して前記障害物が移動する第1方向に直交する第2方向についての、前記オプティカルフローの消失点と前記画像に写る障害物との第1距離を求める手順と、
前記車両と前記障害物との前記第2方向についての第2距離を算出する手順と、
を実行させる。
コンピュータに、
車両の前方を撮影することにより得られた第1画像に写る障害物の特徴点を始点とし、前記第1画像が撮影された後に、前記車両の前方を撮影することにより得られた第2画像に写る障害物の特徴点を終点とする複数のオプティカルフローを算出する手順と、
前記車両に対して前記障害物が移動する第1方向に直交する第2方向についての、前記オプティカルフローの消失点と前記画像に写る障害物との第1距離を求める手順と、
前記車両と前記障害物との前記第2方向についての第2距離を算出する手順と、
を実行させる。
本発明によれば、車両に対して障害物が移動する第1方向に直交する第2方向についての、車両と障害物との距離を算出することができる。このため、自車両と障害物が衝突するか否かを精度よく判定することが可能となる。
以下、本発明の一実施形態を、図面を参照しつつ説明する。図1は本実施形態に係る衝突判定システム10の構成を示すブロック図である。衝突判定システム10は、自車に接近し衝突する可能性がある物体を検出するためのシステムである。この衝突判定システム10は、図1に示されるように、撮影装置20、判定装置30、及び警報装置40を有している。
撮影装置20は、被写体を所定のフレームレートで撮影するCCDカメラである。そして、撮影により取得した画像を電気信号に変換し、画像情報として出力する。撮影装置20は、例えば図2に示されるように、車両100のフロントウインド上部に取り付けられている。
図3は、車両100と、当該車両100の前方を走行する車両101との相対的な位置関係を示す図である。例えば、車両100の前方を走行する車両101が、車両100に相対的に接近している場合を考える。図3を参照するとわかるように、矢印a1に示される位置にある車両101は、所定の時間が経過すると矢印a2に示される位置に相対的に移動する。この場合には、撮影装置20によって、まず矢印a1に示される位置にある車両101が撮影され、次に矢印a2に示される位置にある車両101が撮影される。
図4は、図3における矢印a1に示される位置にある車両101を撮影することにより得られた画像PH1を示す図である。また、図5は、図3における矢印a2に示される位置にある車両101を撮影することにより得られた画像PH2を示す図である。図4及び図5を参照するとわかるように車両100に車両101が相対的に接近する場合には、画像に写る車両101は、フレーム毎に大きくなる。
本実施形態では、上述の画像PH1,PH2などの画像について、xy座標系を定義する。このxy座標系は、撮影装置20の光学中心に対応する点(撮影装置20の光軸とその画像面との交点である画像中心)を原点Xc(FOE:Focus of Expansion)とする。このxy座標系の原点Xcは、画像PH1,PH2の中心と一致している。
図1に戻り、判定装置30は、CPU(Central Processing Unit)31、主記憶部32、補助記憶部33、表示部34、及びインタフェース部35を有するコンピュータである。
CPU31は、補助記憶部33に記憶されているプログラムに従って、車両100へ衝突する可能性のある車両や、ガードレールなどの障害物を検出する。具体的な処理の内容については後述する。
主記憶部32は、RAM(Random Access Memory)等を有している。主記憶部32は、CPU31の作業領域として用いられる。
補助記憶部33は、例えばROM(Read Only Memory)、半導体メモリ等の不揮発性メモリを有している。補助記憶部33は、CPU31が実行するプログラム、及び各種パラメータなどを記憶している。また、撮影装置20から出力される画像情報、及びCPU31による処理結果などを含む情報を順次記憶する。
表示部34は、LCD(Liquid Crystal Display)などの表示ユニットを有している。表示部34は、CPU31の処理結果などを表示する。
インタフェース部35は、シリアルインタフェースまたはLAN(Local Area Network)インタフェースなどを含んで構成されている。撮影装置20及び警報装置40は、インタフェース部35を介してシステムバス36に接続される。
警報装置40は、判定装置30から出力される警報発令指示を受信すると、車両100のドライバに対して、例えば音声による警報を出力する。
図6のフローチャートは、CPU31によって実行されるプログラムの一連の処理アルゴリズムに対応している。以下、図6を参照しつつ、衝突判定システム10の動作について説明する。図6に示される一連の処理は、車両100のドライバによってイグニッションスイッチがオンにされることによって実行される。
最初のステップS101では、CPU31の衝突判定システム10の起動直後の初期化処理として、不図示のタイマ、フラグ、パラメータ、変数等の初期化を行う。
次のステップS102では、最も新しい1組の画像PHから、オプティカルフローを算出する。
具体的には、CPU31は、画像PH1,画像PH2を構成する画素についての特徴量を算出する。例えば、図4に示される画像PH1を構成する画素M(x、y)それぞれの特徴量f(x、y)は、画像の輝度勾配を示す関数I(x、y)を用いると次式(1)によって表される。
ただし、Ixx、Iyy、Ixyはそれぞれ次式(2)〜(4)によってそれぞれ表される。また、kは定数である。
CPU31は、まず、式(1)を用いて画像PH1を構成する画素M(x、y)についての特徴量f(x、y)を算出する。そして、CPU31は、画素M(x、y)の周囲にある画素の輝度の平均値AVG(x、y)を算出し、特徴量f(x、y)を、輝度の平均値AVG(x、y)を4乗したもので除する。CPU31は、これにより得られた比較値V(=f(x、y)/AVG(x、y)4)を、予め設定された閾値と比較して、比較値Vが閾値以上の場合に、このときの画素M(x、y)を特徴点として抽出する。
これにより、図4に示されるように、画像PH1から特徴点P1〜P4が抽出される。CPU31は、画像PH2に対しても同様の処理を施す。これにより、図5に示されるように、画像PH2から特徴点Q1〜Q4が抽出される。なお、ここでは説明の便宜上、各画像から、特徴点が4つ抽出される場合について述べたが、実際は、1枚の画像から複数の特徴点が抽出される。
画像PH1,PH2から特徴点を抽出すると、CPU31は、画像PH1の特徴点を始点とし、画像PH2の特徴点を終点とするオプティカルフローを規定する。
例えば、画像PH1の特徴点P1は、画像PH2の特徴点Q1に対応する。また、画像PH1の特徴点P2は、画像PH2の特徴点Q2に対応する。また、画像PH1の特徴点P3は、画像PH2の特徴点Q3に対応する。また、画像PH1の特徴点P4は、画像PH2の特徴点Q4に対応する。
そこで、CPU31は、図7に示されるように、xy座標系に、特徴点P1を始点とし、特徴点Q1を終点とするオプティカルフローOP1を規定する。同様に、特徴点P2,P3,P4をそれぞれ始点として、特徴点Q2,Q3,Q4をそれぞれ終点とするオプティカルフローOP2,OP3,OP4をそれぞれ規定する。
図7に示されるように、本実施形態では説明の便宜上、車両101に関するオプティカルフローが4本である場合について説明している。しかしながら、実際は、車両101を撮影した画像からは、数十或いは数百の特徴点が抽出され、数十或いは数百本のオプティカルフローが規定される。
図6に戻り、次のステップS103では、CPU31は、数十或いは数百本のオプティカルフローのうちから、ノイズ成分を多く含むオプティカルフローを除外し、残りのオプティカルフローをグルーピングする。
例えば、車両101が完全な直線運動をしている場合には、各オプティカルフローと一致する直線それぞれは、消失点VPで交わるはずである。そこで、CPU31は、オプティカルフローと一致する直線が、消失点VPから著しく離れている場合に、このオプティカルフローを除外し、残りのオプティカルフローを同一の移動体に関連するオプティカルフローとみなしてグルーピングする。ここでは車両101に関するオプティカルフローOP1〜OP4が、車両101のオプティカルフローとしてグルーピングされる。
次のステップS104では、CPU31は、オプティカルフローを用いて、障害物が車両100に衝突するまでの衝突予測時間TTCを算出する。衝突予測時間TTCを算出する際には、障害物が車両100に対してZ軸方向に相対移動するときと、障害物が車両100に対してZ軸と交差する方向へ相対移動するときとで、異なる処理が行われる。そこで、まず障害物が車両100に対してZ軸方向に相対移動するときに行われる衝突予測時間算出処理について説明する。
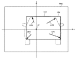
図8は、衝突予測時間の算出手順を説明するための図である。図8における点RP1は、図3において矢印a1に示される位置にある車両101を構成する後部バンパーの右側端部を示す点である。そして、図8における点RQ1は、図3において矢印a2に示される位置にある車両101を構成する後部バンパーの右側端部を示す点である。この点RP1は、特徴点P1に対応し、点RQ1は、特徴点Q1に対応している。以下、説明の便宜上、点RP1、点RQ1それぞれを、対応点RP1、対応点RQ1ともいう。また、車両101を構成する後部バンパーの右側端部を便宜上指標点ともいう。
図8におけるXYZ座標系は、車両100に搭載された撮影装置20の光学中心を原点Oとする直交座標系である。このXYZ座標系におけるZ軸は、撮影装置20の光軸と一致する。Y軸は、図8では不図示であるが、X軸及びZ軸と直交する。XYZ座標系におけるX座標及びY座標は、画像PH1,PH2に規定されたxy座標系におけるx座標及びy座標と一致する。図8における直線LN1は、撮影装置20の画像面IMを含む平面を示している。そして、直線LN2は、車両100の最も+Z側にある部分を含む衝突面を示している。
本実施形態では、XYZ座標系の原点Oは、撮影装置20の光学中心と一致する。したがってXYZ座標系の原点Oから直線LN1までの距離は、撮影装置20の焦点距離fと等しい。また、原点Oと直線LN2との距離はLであるものとする。
画像PH1が撮影されたときに、図3における矢印a1に示される位置にある車両101は、画像PH2が撮影されたときには、図3における矢印a2に示される位置に移動している。この場合、図8を参照するとわかるように、特徴点P1を始点とし、特徴点Q1を終点とするオプティカルフローOP1に対応するXYZ座標系でのベクトルは、始点を対応点RP1とし、終点を対応点RQ1とするベクトルMV0となる。
オプティカルフローOP1は、撮影装置20の画像面IM内における特徴点の移動軌跡を示している。そして、ベクトルMV0は、XYZ座標系における対応点の移動軌跡を示している。車両101が、車両100に対してZ軸に平行に相対移動する場合には、ベクトルMV0はZ軸に平行となる。また、特徴点P1及び対応点RP1は、XYZ座標系において原点Oを通る直線LN3上に配置される。そして、特徴点Q1及び対応点RQ1は、XYZ座標系において原点Oを通る直線LN4上に配置される。
したがって、対応点RQ1と一致している車両101の指標点が、X座標をX1とするX軸上の点CP1に到達するまでの軌跡を示すベクトルMV2の大きさ|MV2|と、特徴点P1のX座標x2と、特徴点Q1のX座標x1と、ベクトルMV0の大きさ|MV0|との幾何学的な関係は、次式(5)で示される。
ここで、ベクトルMV0の大きさ|MV0|は、画像PH1が撮像された時刻から画像PH2が撮像された時刻までの時間Δtと、車両100に対する車両101の相対移動速度Vとの積(=V・Δt)である。また、ベクトルMV2の大きさ|MV2|は、指標点が対応点RQ1からX軸上の点CP1まで移動するのに要する時間TTCcと、相対移動速度Vとの積(=V・TTCc)である。
そこで、上記式(5)の|MV2|に(V・TTCc)を代入し、|MV0|に(V・Δt)を代入して、両辺を相対移動速度Vで除することで、次式(6)が導かれる。
また、車両101の指標点が、対応点RQ1から直線LN2で示される衝突面上の点CP2に到達するまでの軌跡を示すベクトルMV1は、Z軸と平行である。そして、ベクトルMV1の大きさ|MV1|とベクトルMV2の大きさ|MV2|との関係は、X軸から対応点RQ1までの距離Z1と、X軸と点CP2までの距離Lを用いると次式(7)で示される。
ここで、上述したように、ベクトルMV2の大きさ|MV2|は、指標点が対応点RQ1からX軸上の点CP1まで移動するのに要する時間TTCcと、相対移動速度Vとの積(=V・TTCc)である。また、ベクトルMV1の大きさ|MV1|は、指標点が対応点RQ1から直線LN2上の点CP2に到達するまでの衝突予測時間TTCと、相対移動速度Vとの積(=V・TTC)である。
相対移動速度Vは、オプティカルフローOP1〜OP4に関する情報を用いても求めることができない。そこで、上記式(7)の|MV2|に(V・TTCc)を代入し、|MV1|に(V・TTC)を代入して、両辺を相対移動速度Vで除することで、相対移動速度Vを含む項を含まない次式(8)を導く。
上記式(8)のLは、X軸と直線LN2で示される衝突面との距離であり、撮影装置20の取り付け位置と車両100の前端との距離にほぼ等しい既知の値である。このため、CPU31は、X軸と対応点RQ1との距離Z1の値がわかれば、上記式(8)を用いて、車両101が車両100に衝突するまでの衝突予測時間TTCを算出することが可能となる。
そこで、CPU31は、次式(9)を用いて距離Z1を算出する。なお、fは撮影装置20の焦点距離である。また、δは、画像PH1,PH2を構成する画素のy軸方向の配列間隔である。また、hは、車両100が走行する路面と撮影装置20との距離である。また、ybは、図5に示されるように、画像PH2における、特徴点Q1と車両100が走行する路面との距離である。
CPU31は、上記式(9)を用いて、距離Z1を算出すると、算出した距離Z1を上記式(8)に代入して、車両101が車両100に衝突するまでの衝突予測時間TTCを算出する。
次に、障害物が車両100に対してZ軸と交差する方向へ相対移動するときに行われる衝突予測時間算出処理について説明する。
例えば、車両100が+Z方向へ進行し、車両101がZ軸と交差する方向へ進行する場合を考える。この場合、撮影装置20の光学中心を原点OとするXYZ座標系では、車両101は、車両100の進行方向と車両101の進行方向とが合成された方向へ、相対的に移動することになる。
例えば、図9の矢印a1に示される位置にある車両101は、所定の時間が経過すると矢印a2に示される位置に相対的に移動する。この場合には、撮影装置20によって、まず矢印a1に示される位置にある車両101が撮影され、次に矢印a2に示される位置にある車両101が撮影される。
図10には、CPU31によって規定されたオプティカルフローOP1〜OP4が示されている。車両101が、車両100に対してZ軸に交差する方向へ相対的に移動することにより車両100に接近する場合は、オプティカルフローOP1〜OP4の消失点VPは、xy座標系の原点Oと一致しない。
しかしながら、図11を参照するとわかるように、車両100の進行方向と車両101の進行方向が交差する場合にも、オプティカルフローOP1、ベクトルMV0、ベクトルMV2相互間の幾何学的関係は、車両100の進行方向と障害物の移動方向が等しいときのオプティカルフローOP1等との関係と等価である。このため、上記式(5)は成立する。したがって、図9における矢印a2に示される位置にある車両101が、車両100に衝突するまでの衝突予測時間TTCは、上記式(8)で表される。
図11に示されるように、直線LN5は、原点を通り、ベクトルMV0と直交する直線である。また、点CP3は、対応点RQ1と点CP1とを通る直線と、直線LN5との交点である。説明の便宜上、図11では、点CP3と点CP1とが、ある程度離間して記載されている。しかしながら、実際には、点CP3と点CP1との距離は、原点Oと直線LN2で示される衝突面との距離L等に比べて著しく小さい。このため、ベクトルMV2と平行で、対応点RQ1を始点とし、点CP3を終点とするベクトルMV3は、ベクトルMV2と大きさが等価であるものとして取り扱っても差し支えない。
そこで、CPU31は、車両101が直線LN5によって示される面に衝突するまでの時間TTCc0を、時間TTCcの近似値として、次式(10)に基づいて算出する。なお、xvpは消失点VPのX座標である。
CPU31は、上記式(10)で算出した時間TTCc0を、時間TTCcとして、上記式(8)へ代入して、車両101が車両100に衝突するまでの衝突予測時間TTCを算出する。
図6に戻り、次のステップS105では、CPU31は、ステップS104で算出した衝突予測時間TTCが、予め設定された閾値THより大きいか否かを判定する。そして、衝突予測時間TTCが閾値THよりも大きいと判定した場合には(ステップS105:Yes)、ステップS102へ戻る。以降、CPU31は、ステップS105での判定が否定されるまで、ステップS102〜S105の処理を繰り返し実行する。一方、CPU31は、衝突予測時間TTCが閾値TH以下であると判定した場合には(ステップS105:No)、ステップS106へ移行する。
ステップS106では、CPU31は、画像PH2に写る障害物の検出を試みる。具体的には、CPU31は、画像PH2に、障害物の検出を行う領域を規定するフレームFMを設定する。このフレームFMは、図12に示されるように、グルーピングされた1群のオプティカルフローOP1〜OP4を含み、フレームFMによって囲まれる領域が最も小さくなるように設定される。本実施形態では、フレームFMが障害物が位置する領域を示す指標となる。
図12に示される例では、グルーピングされたオプティカルフローOP1〜OP4のうちの3つのオプティカルフローOP1,OP2,OP4の終点によって、フレームFMが規定されている。
CPU31は、フレームFMを設定すると、フレームFMに囲まれる画像に対して、テンプレートのマッチングを行う。マッチングに用いるテンプレートとしては、例えば車両の後部の画像、ガードレールの画像などが考えられる。CPU31は、種々のテンプレートをフレームFMに囲まれる画像に対してマッチングさせて、各テンプレートについての相関値をそれぞれ算出する。
次のステップS107では、CPU31は、ステップS106で算出された相関値から、自車前方に位置する障害物が、ガードレールや標識に代表される静止物であるかいなかを判定する。例えば、自車前方にガードレールが位置していた場合には、ステップS106で算出される相関値は、ガードレールの画像をマッチングさせたときに最も大きくなる。そこで、CPU31は、ガードレールの画像の相関値が、ステップS106で求めた相関値のうちで最も大きく、かつ所定の閾値を上回る場合に、フレームFMに囲まれる画像が、ガードレールなどの静止物の画像であると判定する(ステップS107:Yes)。そして、ステップS108へ移行する。
ステップS108では、CPU31は、距離算出処理1を実行する。この距離算出処理1は、車両100に対する障害物の移動方向に直交する方向における、当該車両100と障害物との距離wxを算出するための処理である。障害物が静止物である場合や、車両100に対する障害物の移動方向が、XYZ座標系におけるZ軸に平行な方向である場合には、距離wxは、車両100と障害物とのX軸方向の距離を表す。
例えば、ガードレールGRのような静止物は、車両100の進行方向に平行な直線に沿って相対移動しながら、車両100に接近する。このため、ガードレールGRが車両100に接近する場合には、図13に示されるように、例えばオプティカルフローOP5〜OP8が規定される。この場合には、フレームFM、オプティカルフローOP5、及びガードレールの移動軌跡を示すベクトルMV5のXYZ座標系における位置関係は、図14に示されるようになる。なお、図14中の、w1は、画像PH2における消失点VPからフレームFMの端までの距離であり、wxは、車両100と障害物との距離である。また、vzは、車両100の速度であり、Sfは、撮影装置20のスケールファクタである。
そこで、CPU31は、次式(11)を用いて、車両100の進行方向に直交する方向(XYZ座標系におけるX軸方向)に関する車両100と障害物との距離wxを算出する。
ステップS107の処理において、ガードレールなどの静止物の画像をマッチングさせたときの相関値が所定の閾値以下となった場合には、CPU31は、フレームFMに囲まれる画像が静止物の画像ではないと判定し(ステップS107:No)、ステップS109へ移行する。
ステップS109では、CPU31は、フレームFMに囲まれる領域に写る障害物と路面との境界の検出を試みる。例えば障害物が、車両100の前方を走行する車両101であって、当該車両101の後方へ直射日光があたっているときには、画像PH2に対して画像処理を実行することにより、当該車両101のタイヤと路面との境界を検出することができる。一方、当該車両101の前方へ直射日光があたると、当該車両101の後方に影ができるため、画像PH2に対して画像処理を実行したとしても、当該車両101のタイヤと路面との境界を検出するのが困難になる。
CPU31は、画像PH2に対する画像処理によって、フレームFMに囲まれる領域に写る障害物と路面との境界が検出できたときには(ステップS109:Yes)、ステップS110へ移行する。
ステップS110では、CPU31は、距離算出処理2を実行する。この距離算出処理2では、ステップS108で実行される距離算出処理1と比較して、演算に用いられる数式が異なる。
例えば図5に示されるように、車両101と路面との路面境界BLが検出された場合は、画像PH2における消失点VPから路面境界までの距離v1と、路面に対する撮影装置20の高さHと、画像PH2における消失点VPからフレームFMまでの距離w1と、車両100と障害物102までの距離wxとの関係は、図15に示されるようになる。そこで、CPU31は、次式(12)を用いて、距離wxを算出する。
ステップS109の処理において、画像PH2に対する画像処理によって、フレームFMに囲まれる領域に写る障害物と路面との境界が検出できなかったときには(ステップS109:No)、CPU31は、ステップS111へ移行する。
ステップS111では、CPU31は、ステップS106で算出された相関値から、車両100の前方に位置する障害物が、車両であるか否かを判定する。例えば、車両100の前方に車両が位置していた場合には、ステップS106で算出される相関値は、車両の画像をマッチングさせたときに最も大きくなる。そこで、CPU31は、車両の画像をマッチングさせたときの相関値が、ステップS106で求めた相関値のうちで最も大きく、かつ所定の閾値を上回る場合に、フレームFMに囲まれる画像が、車両の画像であると判定する(ステップS111:Yes)。そして、ステップS112へ移行する。
ステップS112では、CPU31は、距離算出処理3を実行する。この距離算出処理3では、ステップS108,S110で実行される距離算出処理1,2と比較して、演算に用いられる数式が異なる。
フレームFMに囲まれる画像が車両の画像である場合には、フレームFMの幅は、概ね車両100の前方を走行する前方車両の幅に対応した大きさになる。例えば、図16に示されるように、画像PH2におけるフレームFMの幅をwobjとし、消失点VPからフレームFMまでの距離をw1とする。また、前方車両の幅をWcとすると、車両101までの距離wxは、次式(13)で示される。そこで、CPU31は、次式(13)を用いて、距離wxを算出する。なお、前方車両の幅Wcは、一般的な車両の幅を想定したものであり、例えばその値を1.7mとすることが考えられる。幅Wcの値は、予め設定され、判定装置30に記憶されている。
また、ステップS111の処理において、車両の画像をマッチングさせたときの相関値が所定の閾値以下となった場合には、CPU31は、フレームFMに囲まれる画像が車両の画像ではないと判定し(ステップS111:No)、ステップS113へ移行する。
ステップS113では、CPU31は、距離算出処理4を実行する。この距離算出処理4では、ステップS112で実行される距離算出処理3と比較して、演算に用いられるパラメータが異なる。一般に、走行する車両100の前方に障害物が存在する場合は、この障害物は車両である蓋然性が極めて高い。そこで、CPU31は、上記式(13)のパラメータWcを、当該パラメータWcよりも値が小さいパラメータWukに代えることにより得られる次式(14)を用いて、距離wxを算出する。パラメータWukの値は、前方車両の幅Wcに所定の係数を乗じることにより決定され、例えば所定の係数は1前後とすることが考えられる。パラメータWukの値は、予め設定され、判定装置30に記憶されている。
ステップS113で算出される距離wxは、車両100と障害物との実際の距離よりも小さくなる。このため、衝突が生じる前に余裕をもって、ドライバへ警報等を発令することが可能となる。
次のステップS114では、CPU31は、ステップS108,S110,S112,S113で算出した距離wxに用いて、障害物が車両100に衝突するか否かを判定する。この判定の際には、障害物が車両100の進行方向と平行な方向へ相対移動するときと、障害物が車両の進行方向と交差する方向へ相対移動するときとで、異なる処理が行われる。そこで、まず障害物が車両の進行方向と平行な方向へ相対移動するときに行われる判定処理について説明する。
図17は、XYZ座標系における車両100,101、及びフレームFMとの位置関係を示す図である。図17を参照するとわかるように、車両101が矢印A1に示されるようにZ軸に平行に移動する場合、すなわち、車両100の進行方向と、車両100に接近する障害物の相対的な移動方向が平行な場合には、消失点VPは、XYZ座標系におけるZ軸上に規定される。
この場合CPU31は、撮影装置20から車両100の右側面までの距離Wcr、或いは撮影装置20から車両100の左側面までの距離Wclと、距離wxとを比較する。そして、距離Wcr、或いは距離Wclの値が、距離wxの値より小さい場合には、車両101などの障害物と車両100が衝突する可能性がないと判定する(ステップS114:No)。また、距離Wcr、或いは距離Wclの値が、距離wxの値以上の場合には、車両101などの障害物と車両100が衝突する可能性があると判定する(ステップS114:Yes)。
次に、障害物が車両の進行方向と交差する方向へ相対移動するときに行われる判定処理について説明する。
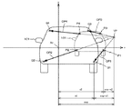
図18は、XYZ座標系における車両100,101、及びフレームFMとの位置関係を示す図である。ベクトルA2に示されるように、車両101が、車両100の進行方向と交差する方向に相対移動しながら、車両100に接近するときは、CPU31は、衝突予測時間TTCが経過したときに車両100に接し、ベクトルA2と平行な2本の直線Lr,Llと、消失点VPを通りベクトルA2に平行な直線Lcとの距離dr,dlを、次式(15)及び(16)を用いてそれぞれ算出する。なお、xvpは、消失点VPのX座標である。また、距離Lcfは、撮影装置20から車両100の前端までの距離であり、距離Lcrは、撮影装置20から車両100の後端までの距離である。
CPU31は、距離dr,dlを算出すると、これらの距離dr,或いは距離dlと、距離wxを比較する。そして、距離dr、或いは距離dlの値が、距離wxの値より小さい場合には、車両101などの障害物と車両100が衝突する可能性がないと判定する(ステップS114:No)。また、距離dr、或いは距離dlの値が、距離w1の値以上の場合には、車両101などの障害物と車両100が衝突する可能性があると判定する(ステップS114:Yes)。
CPU31は、ステップS114で、障害物と車両100が衝突する可能性がないと判定した場合には(ステップS114:No)、ステップS102に戻り、以降ステップS102〜S114の処理を繰り返す。一方、CPU31は、ステップS114で、障害物と車両100が衝突する可能性があると判定した場合には(ステップS114:Yes)、ステップS115へ移行する。
ステップS115では、CPU31は、警報装置40へ警報の発令を指示する。これにより、車両100のドライバに対して、障害物が車両100に衝突する可能性があることが報知される。ステップS115の処理が終了すると、CPU31は、ステップS102へ戻る。そして、ステップS102以降の処理を繰り返し実行する。
以上説明したように、本実施形態では、画像に写る障害物の位置を示すフレームFMと、当該障害物についてのオプティカルフローの消失点VPとの距離w1が求められる。そして、距離w1を用いて、車両100に対する障害物の相対移動方向に直交する方向についての、車両100と障害物との距離wxが算出される(ステップS108,S110,S112,S113)。これにより、距離wxと、車両100に搭載された撮影装置20と車両100の側面までの距離とを比較することにより、車両100と障害物とが衝突するか否かを精度よく判定することができる(ステップS114)。
そして、判定結果に基づいて、障害物と車両100とが衝突する可能性がある場合に限り、車両100のドライバに警報を発令することが可能となる(ステップS115)。したがって、ドライバの運転を、適切に支援することが可能となる。
本実施形態では、画像に写る障害物が静止物か、或いは車両であるか否かが判断される(ステップS107,S109,S111)。そして、判断結果に応じた手順で、消失点VPからフレームFMまでの距離w1が算出される。このため、障害物の種類に応じて、衝突可能性の正確な判定が可能となる。したがって、ドライバの運転を、適切に支援することができる。
以上、本発明の実施形態について説明したが、本発明は上記実施形態によって限定されるものではない。例えば、上記実施形態に係る判定装置30の機能は、ハードウェアによっても実現することができる。
一例として、図19には変形例に係る判定装置30のブロック図が示されている。図19に示されるように、この判定装置30は、記憶部30a,オプティカルフロー算出部30b、予測時間算出部30c、属性判別部30d、距離算出部30e、及び判定部30fを有している。
例えば、オプティカルフロー算出部30bは、図6に示されるステップS102,S103に係る処理を実行する。予測時間算出部30cは、ステップS104,S105に係る処理を実行する。属性判別部30dは、ステップS106,S107,S109,S111に係る処理を実行する。距離算出部30eは、ステップS108,S110,S112,S113に係る処理を実行する。判定部30fは、ステップS114,S115に係る処理を実行する。記憶部30aは、上記各部30b〜30fの処理結果や、撮影装置20から出力される画像情報を記憶する。
第1の実施形態において判定装置30の補助記憶部33に記憶されているプログラムは、フレキシブルディスク、CD−ROM(Compact Disk Read-Only Memory)、DVD(Digital Versatile Disk)、MO(Magneto-Optical disk)等のコンピュータで読み取り可能な記録媒体に格納して配布し、そのプログラムをコンピュータにインストールすることにより、上述の処理を実行する装置を構成することとしてもよい。
また、プログラムをインターネット等の通信ネットワーク上の所定のサーバ装置が有するディスク装置等に格納しておき、例えば、搬送波に重畳させて、コンピュータにダウンロード等するようにしても良い。
なお、本発明は、本発明の広義の精神と範囲を逸脱することなく、様々な実施形態及び変形が可能とされるものである。また、上述した実施形態は、本発明を説明するためのものであり、本発明の範囲を限定するものではない。
本発明の距離算出装置、距離算出方法、及びプログラムは、車両と障害物との距離を算出するのに適している。また、本発明の衝突検出システム、衝突検出方法、及びプログラムは、車両と障害物との衝突の検出に適している。
10 衝突判定システム
20 撮影装置
30 判定装置
30a 記憶部
30b オプティカルフロー算出部
30c 予測時間算出部
30d 属性判別部
30e 距離算出部
30f 判定部
31 CPU
32 主記憶部
33 補助記憶部
34 表示部
35 インタフェース部
40 警報装置
100,101 車両
102 障害物
BL 路面境界
CP1〜CP3 点
FM フレーム
GR ガードレール
IM 画像面
M 画素
MV0〜MV5 ベクトル
OP1〜OP8 オプティカルフロー
PH,PH1,PH2 画像
P1〜P4 特徴点
Q1〜Q4 特徴点
VP 消失点
20 撮影装置
30 判定装置
30a 記憶部
30b オプティカルフロー算出部
30c 予測時間算出部
30d 属性判別部
30e 距離算出部
30f 判定部
31 CPU
32 主記憶部
33 補助記憶部
34 表示部
35 インタフェース部
40 警報装置
100,101 車両
102 障害物
BL 路面境界
CP1〜CP3 点
FM フレーム
GR ガードレール
IM 画像面
M 画素
MV0〜MV5 ベクトル
OP1〜OP8 オプティカルフロー
PH,PH1,PH2 画像
P1〜P4 特徴点
Q1〜Q4 特徴点
VP 消失点
Claims (14)
- 車両の進行方向を順次撮影する撮影手段と、
前記撮影手段によって撮影された第1画像に写る障害物の特徴点を始点とし、前記第1画像が撮影された後に撮影された第2画像に写る障害物の特徴点を終点とする複数のオプティカルフローを算出するオプティカルフロー算出手段と、
前記車両に対して前記障害物が移動する第1方向に直交する第2方向についての、前記オプティカルフローの消失点と前記画像に写る障害物との第1距離に基づいて、前記車両と前記障害物との前記第2方向についての第2距離を算出する距離算出手段と、
を備える距離算出装置。 - 前記距離算出手段は、
前記障害物の前記オプティカルフローによって規定されるフレームと、前記消失点の距離を前記第1距離として、前記第2距離を算出する請求項1に記載の距離算出装置。 - 前記距離算出手段は、
前記第1方向が、前記車両の進行方向に交差する場合には、前記オプティカルフローの消失点を通り前記第1方向に平行な第1直線と前記障害物との距離を、前記第2距離として算出する請求項1又は2に記載の距離算出装置。 - 前記第2画像に写る障害物の属性を判別する判別手段を備え、
前記距離算出手段は、
前記判別手段の判別結果に応じた距離算出手順で、前記第2距離を算出する請求項1乃至3のいずれか一項に記載の距離算出装置。 - 前記距離算出手段は、
前記判別手段によって前記障害物が静止物と判断された場合に、
前記第2画像における前記消失点から前記障害物までの前記第1距離に基づいて、
前記車両と前記障害物が衝突するまでの衝突予測時間と、
前記車両の速度と、
前記撮影手段のスケールファクタと、
を用いて前記第2距離を算出する請求項4に記載の距離算出装置。 - 前記距離算出手段は、
前記判別手段によって前記障害物と前記車両が走行する路面の境界が検出された場合に、
前記第2画像における前記消失点から前記障害物までの前記第1距離に基づいて、
前記第2画像における前記消失点から前記路面までの距離と、
前記路面に対する前記撮影手段の高さと、
を用いて前記第2距離を算出する請求項4又は5に記載の距離算出装置。 - 前記距離算出手段は、
前記判別手段によって前記障害物が前記車両の前方を走行する前方車両と判断された場合に、
前記第2画像における前記消失点から前記障害物までの前記第1距離に基づいて、
前記第2画像における前記前方車両の幅と、
予め想定され設定された車両の幅と、
を用いて前記第2距離を算出する請求項4乃至6のいずれか一項に記載の距離算出装置。 - 前記距離算出手段は、
前記判別手段によって前記障害物の属性が判別できなかった場合に、
前記第2画像における前記消失点から前記障害物までの前記第1距離に基づいて、
前記第2画像における前記障害物の幅と、
予め想定された車両の幅に所定の係数を乗じて得られるパラメータと、
を用いて前記第2距離を算出する請求項4乃至7のいずれか一項に記載の距離算出装置。 - 請求項1乃至8のいずれか一項に記載の距離算出装置と、
前記距離算出装置によって算出された第2距離に基づいて、前記車両と前記障害物とが衝突するか否かを判定する判定手段と、
を備える衝突検出システム。 - 前記障害物の前記オプティカルフローの大きさと、前記第1画像が撮影された時刻から前記第2画像が撮影された時刻までの時間とに基づいて、前記撮影手段の視野内にある物体が前記車両に衝突するまでの予測時間を算出する予測時間算出手段を備え、
前記判定手段は、
前記予測時間が経過したときに前記車両が位置するところを予測し、前記車両に接し前記第1直線と平行な第2直線と前記第1直線との第3距離と、前記第2距離との比較結果に基づいて、前記車両と前記障害物とが衝突するか否かを判定する請求項9に記載の衝突検出システム。 - 車両の進行方向を順次撮影する工程と、
撮影された第1画像に写る障害物の特徴点を始点とし、前記第1画像が撮影された後に撮影された第2画像に写る障害物の特徴点を終点とする複数のオプティカルフローを算出する工程と、
前記車両に対して前記障害物が移動する第1方向に直交する第2方向についての、前記オプティカルフローの消失点と前記画像に写る障害物との第1距離を求める工程と、
前記車両と前記障害物との前記第2方向についての第2距離を算出する工程と、
を含む距離算出方法。 - 請求項11に記載の距離算出方法によって算出された第2距離に基づいて、前記車両と前記障害物とが衝突するか否かを判定する工程を含む衝突検出方法。
- コンピュータに、
車両の前方を撮影することにより得られた第1画像に写る障害物の特徴点を始点とし、前記第1画像が撮影された後に、前記車両の前方を撮影することにより得られた第2画像に写る障害物の特徴点を終点とする複数のオプティカルフローを算出する手順と、
前記車両に対して前記障害物が移動する第1方向に直交する第2方向についての、前記オプティカルフローの消失点と前記画像に写る障害物との第1距離を求める手順と、
前記車両と前記障害物との前記第2方向についての第2距離を算出する手順と、
を実行させるためのプログラム。 - コンピュータに、
前記第2距離に基づいて、前記車両と前記障害物とが衝突するか否かを判定する手順を実行させるための請求項13に記載のプログラム。
Priority Applications (1)
| Application Number | Priority Date | Filing Date | Title |
|---|---|---|---|
| JP2012261529A JP2014106901A (ja) | 2012-11-29 | 2012-11-29 | 距離算出装置、衝突検出システム、距離算出方法、衝突検出方法、及びプログラム |
Applications Claiming Priority (1)
| Application Number | Priority Date | Filing Date | Title |
|---|---|---|---|
| JP2012261529A JP2014106901A (ja) | 2012-11-29 | 2012-11-29 | 距離算出装置、衝突検出システム、距離算出方法、衝突検出方法、及びプログラム |
Publications (1)
| Publication Number | Publication Date |
|---|---|
| JP2014106901A true JP2014106901A (ja) | 2014-06-09 |
Family
ID=51028289
Family Applications (1)
| Application Number | Title | Priority Date | Filing Date |
|---|---|---|---|
| JP2012261529A Pending JP2014106901A (ja) | 2012-11-29 | 2012-11-29 | 距離算出装置、衝突検出システム、距離算出方法、衝突検出方法、及びプログラム |
Country Status (1)
| Country | Link |
|---|---|
| JP (1) | JP2014106901A (ja) |
Cited By (12)
| Publication number | Priority date | Publication date | Assignee | Title |
|---|---|---|---|---|
| JP2017027592A (ja) * | 2015-07-23 | 2017-02-02 | 三菱電機株式会社 | 画像をセグメント化する方法およびシステム |
| CN106846908A (zh) * | 2016-12-27 | 2017-06-13 | 东软集团股份有限公司 | 道路的危险判断方法和装置 |
| JP2017528772A (ja) * | 2014-06-13 | 2017-09-28 | トムトム インターナショナル ベスローテン フエンノートシャップ | 経路データを生成する方法及びシステム |
| JP2017194926A (ja) * | 2016-04-22 | 2017-10-26 | 株式会社デンソー | 車両制御装置、車両制御方法 |
| CN110194152A (zh) * | 2018-02-27 | 2019-09-03 | 株式会社万都 | 用于车辆在十字路口处的自主紧急制动系统和方法 |
| JP2019175439A (ja) * | 2018-02-21 | 2019-10-10 | ホンダ リサーチ インスティテュート ヨーロッパ ゲーエムベーハーHonda Research Institute Europe GmbH | 動的環境における操作および調整のためのオプティカルフローベース支援 |
| JP2020140457A (ja) * | 2019-02-28 | 2020-09-03 | トヨタ自動車株式会社 | 衝突判定サーバ、プログラム及び記録媒体 |
| US10861325B2 (en) | 2014-09-07 | 2020-12-08 | Tomtom Traffic B.V. | Methods and systems for identifying navigable elements affected by weather conditions |
| CN113486836A (zh) * | 2021-07-19 | 2021-10-08 | 安徽江淮汽车集团股份有限公司 | 针对低通度障碍物的自动驾驶操控方法 |
| GB2598082A (en) * | 2020-07-08 | 2022-02-23 | Continental Automotive Gmbh | Road mirror detection system and method |
| US20220080974A1 (en) * | 2020-09-17 | 2022-03-17 | Hyundai Motor Company | Vehicle and method of controlling the same |
| US12307783B2 (en) | 2021-05-24 | 2025-05-20 | Toyota Jidosha Kabushiki Kaisha | Apparatus and method for estimating distance and non-transitory computer-readable medium containing computer program for estimating distance |
-
2012
- 2012-11-29 JP JP2012261529A patent/JP2014106901A/ja active Pending
Cited By (19)
| Publication number | Priority date | Publication date | Assignee | Title |
|---|---|---|---|---|
| US10768006B2 (en) | 2014-06-13 | 2020-09-08 | Tomtom Global Content B.V. | Methods and systems for generating route data |
| US12292298B2 (en) | 2014-06-13 | 2025-05-06 | Tom Tom Global Content B.V. | Methods and systems for generating route data |
| JP2017528772A (ja) * | 2014-06-13 | 2017-09-28 | トムトム インターナショナル ベスローテン フエンノートシャップ | 経路データを生成する方法及びシステム |
| US11740099B2 (en) | 2014-06-13 | 2023-08-29 | Tomtom Global Content B.V. | Methods and systems for generating route data |
| US10861325B2 (en) | 2014-09-07 | 2020-12-08 | Tomtom Traffic B.V. | Methods and systems for identifying navigable elements affected by weather conditions |
| JP2017027592A (ja) * | 2015-07-23 | 2017-02-02 | 三菱電機株式会社 | 画像をセグメント化する方法およびシステム |
| WO2017183668A1 (ja) * | 2016-04-22 | 2017-10-26 | 株式会社デンソー | 車両制御装置、車両制御方法 |
| US11288961B2 (en) | 2016-04-22 | 2022-03-29 | Denso Corporation | Vehicle control apparatus and vehicle control method |
| JP2017194926A (ja) * | 2016-04-22 | 2017-10-26 | 株式会社デンソー | 車両制御装置、車両制御方法 |
| CN106846908A (zh) * | 2016-12-27 | 2017-06-13 | 东软集团股份有限公司 | 道路的危险判断方法和装置 |
| JP2019175439A (ja) * | 2018-02-21 | 2019-10-10 | ホンダ リサーチ インスティテュート ヨーロッパ ゲーエムベーハーHonda Research Institute Europe GmbH | 動的環境における操作および調整のためのオプティカルフローベース支援 |
| CN110194152A (zh) * | 2018-02-27 | 2019-09-03 | 株式会社万都 | 用于车辆在十字路口处的自主紧急制动系统和方法 |
| JP2020140457A (ja) * | 2019-02-28 | 2020-09-03 | トヨタ自動車株式会社 | 衝突判定サーバ、プログラム及び記録媒体 |
| GB2598082A (en) * | 2020-07-08 | 2022-02-23 | Continental Automotive Gmbh | Road mirror detection system and method |
| US20220080974A1 (en) * | 2020-09-17 | 2022-03-17 | Hyundai Motor Company | Vehicle and method of controlling the same |
| US11713044B2 (en) * | 2020-09-17 | 2023-08-01 | Hyundai Motor Company | Vehicle for estimation a state of the other vehicle using reference point of the other vehicle, and method of controlling the vehicle |
| US12307783B2 (en) | 2021-05-24 | 2025-05-20 | Toyota Jidosha Kabushiki Kaisha | Apparatus and method for estimating distance and non-transitory computer-readable medium containing computer program for estimating distance |
| CN113486836A (zh) * | 2021-07-19 | 2021-10-08 | 安徽江淮汽车集团股份有限公司 | 针对低通度障碍物的自动驾驶操控方法 |
| CN113486836B (zh) * | 2021-07-19 | 2023-06-06 | 安徽江淮汽车集团股份有限公司 | 针对低通度障碍物的自动驾驶操控方法 |
Similar Documents
| Publication | Publication Date | Title |
|---|---|---|
| JP2014106901A (ja) | 距離算出装置、衝突検出システム、距離算出方法、衝突検出方法、及びプログラム | |
| JP5944781B2 (ja) | 移動体認識システム、移動体認識プログラム、及び移動体認識方法 | |
| JP6473571B2 (ja) | Ttc計測装置およびttc計測プログラム | |
| CN102194239B (zh) | 用于处理图像数据的方法和系统 | |
| JP6328327B2 (ja) | 画像処理装置及び画像処理方法 | |
| JP2018060326A (ja) | トラッキング装置及びプログラム | |
| JP6139465B2 (ja) | 物体検出装置、運転支援装置、物体検出方法、および物体検出プログラム | |
| JP6816401B2 (ja) | 画像処理装置、撮像装置、移動体機器制御システム、画像処理方法、及びプログラム | |
| EP3193229B1 (en) | Mobile body control device and mobile body | |
| JP2010256995A (ja) | 物体認識装置 | |
| Kim et al. | Vehicle path prediction based on radar and vision sensor fusion for safe lane changing | |
| JP2020118575A (ja) | 車間距離測定装置、誤差モデル生成装置および学習モデル生成装置とこれらの方法およびプログラム | |
| JP2009139324A (ja) | 車両用走行路面検出装置 | |
| JP2012018637A (ja) | 衝突時間算出装置、衝突時間算出方法及びプログラム | |
| JP5832850B2 (ja) | 車線監視システム及び車線監視方法 | |
| JP5717416B2 (ja) | 運転支援制御装置 | |
| JP2006027481A (ja) | 物体警告装置及び物体警告方法 | |
| JP3319383B2 (ja) | 走行路認識装置 | |
| JP4106163B2 (ja) | 障害物検出装置及びその方法 | |
| JP2021148730A (ja) | 位置推定方法、位置推定装置、及び、プログラム | |
| JP6295868B2 (ja) | 車両用表示装置 | |
| JP2004038760A (ja) | 車両用走行路認識装置 | |
| JP6361347B2 (ja) | 車両用表示装置 | |
| JP4075879B2 (ja) | 車両用衝突警報装置及び車両用衝突警報方法 | |
| JP4244887B2 (ja) | 移動位置予測装置、移動位置予測方法、衝突判定装置、及び衝突判定方法 |
